CN218931229U - Prevent paper coiling mechanism of fold - Google Patents
Prevent paper coiling mechanism of fold Download PDFInfo
- Publication number
- CN218931229U CN218931229U CN202222798364.1U CN202222798364U CN218931229U CN 218931229 U CN218931229 U CN 218931229U CN 202222798364 U CN202222798364 U CN 202222798364U CN 218931229 U CN218931229 U CN 218931229U
- Authority
- CN
- China
- Prior art keywords
- paper
- pair
- shaft
- columns
- motor
- Prior art date
- Legal status (The legal status is an assumption and is not a legal conclusion. Google has not performed a legal analysis and makes no representation as to the accuracy of the status listed.)
- Expired - Fee Related
Links
Images
Classifications
-
- Y—GENERAL TAGGING OF NEW TECHNOLOGICAL DEVELOPMENTS; GENERAL TAGGING OF CROSS-SECTIONAL TECHNOLOGIES SPANNING OVER SEVERAL SECTIONS OF THE IPC; TECHNICAL SUBJECTS COVERED BY FORMER USPC CROSS-REFERENCE ART COLLECTIONS [XRACs] AND DIGESTS
- Y02—TECHNOLOGIES OR APPLICATIONS FOR MITIGATION OR ADAPTATION AGAINST CLIMATE CHANGE
- Y02W—CLIMATE CHANGE MITIGATION TECHNOLOGIES RELATED TO WASTEWATER TREATMENT OR WASTE MANAGEMENT
- Y02W30/00—Technologies for solid waste management
- Y02W30/50—Reuse, recycling or recovery technologies
- Y02W30/64—Paper recycling
Landscapes
- Replacement Of Web Rolls (AREA)
Abstract
本实用新型公开了一种防褶皱的纸张收卷装置,涉及纸张收卷装置技术领域。包括平板,所述平板上壁面设有设有门型框,所述门型框内设有升降机构,所述平板上壁面位于所述门型框正下方设有放纸槽,所述放纸槽内设有调节机构,所述平板上壁面设有一对第一立柱和一对第二立柱,一对所述第一立柱之间设有收卷机构,一对所述第二立柱之间设有压纸机构。本实用新型设计了调节机构,较少了人工把纸张插入压纸辊内的操作,节省人力,使该装置更加具有实用性。本实用新型设计了升降机构,通过电热板将热量传到纸张内,使纸张受热变软,容易形变,一旦有褶皱可以受热后压平该纸张,使其达到防褶皱的效果。
The utility model discloses an anti-wrinkle paper rewinding device, which relates to the technical field of paper rewinding devices. It includes a flat panel, the upper wall of the flat panel is provided with a door frame, the door frame is provided with a lifting mechanism, the upper wall of the flat panel is located directly below the door frame, and a paper slot is provided. An adjustment mechanism is provided in the groove, a pair of first columns and a pair of second columns are provided on the upper wall of the flat plate, a winding mechanism is provided between the pair of the first columns, and a winding mechanism is provided between the pair of the second columns. There is a pressing mechanism. The utility model is designed with an adjustment mechanism, which reduces the manual operation of inserting paper into the pressing roller, saves manpower, and makes the device more practical. The utility model is designed with a lifting mechanism, which transmits heat to the paper through the electric heating plate, so that the paper becomes soft and easy to deform.
Description
技术领域technical field
本实用新型涉及纸张收卷装置技术领域,具体为一种防褶皱的纸张收卷装置。The utility model relates to the technical field of paper rewinding devices, in particular to an anti-wrinkle paper rewinding device.
背景技术Background technique
目前,对于大多数的纸张生产商来说,必须要做好纸张的防褶皱工作,壁面因为纸张褶皱影响到纸张的外观,影响到人们的购买该生产商的纸张。公开号为CN207129736U的实用新型,公开了一种防褶皱智能收卷机。包括固定横梁、收卷机外壳体和张力传感器,所述收卷机外壳体的前表面顶端设置有指示灯,所述指示灯的下方设置有铭牌,所述铭牌的左侧设置有调节旋钮,且铭牌的下方设置有显示屏,所述显示屏的下方设置有电源开关。对比文件中的装置存在以下问题:1.该装置需要通过工作人员手动工作,把需要收卷防褶皱的纸张一端穿过两个压纸辊,连接到卷纸辊上进行纸张的收卷工作,这样的操作比较麻烦,缺乏一定的实用性,而且操作起来也比较复杂,一旦拉扯力过大,会使纸张断裂,增加成本。2.该装置只是通过收卷纸张只是用两个压纸辊,从上下两个方向对纸张进行压平,防止褶皱,但是该装置没有设置预先把纸压平的结构,需要工作人员把纸张调整好,以平整的形式把纸放入到两个压纸辊之间,较为耗费人力,不利于实际的使用。At present, for most of the paper manufacturers, it is necessary to do a good job in the anti-wrinkle work of the paper. The paper wrinkle on the wall affects the appearance of the paper and affects people's purchase of the paper of the manufacturer. Publication number is the utility model of CN207129736U, discloses a kind of anti-wrinkle intelligent winding machine. It includes a fixed beam, a winding machine shell and a tension sensor, an indicator light is set on the top of the front surface of the winder shell, a nameplate is set under the light indicator, and an adjustment knob is set on the left side of the nameplate. In addition, a display screen is provided below the nameplate, and a power switch is provided below the display screen. The device in the comparative document has the following problems: 1. The device needs to be manually worked by the staff, and one end of the paper that needs to be rewound to prevent wrinkles passes through two pressure rollers and is connected to the reel roller to perform the rewinding of the paper. Such an operation is cumbersome, lacks certain practicability, and is also relatively complicated to operate. Once the pulling force is too large, the paper will be broken and the cost will be increased. 2. The device only uses two pressure rollers to flatten the paper from the upper and lower directions by rewinding the paper to prevent wrinkles. However, the device does not have a structure to flatten the paper in advance, and the staff needs to adjust the paper. Well, putting the paper between the two pressure rollers in a flat form is more labor-intensive, which is not conducive to practical use.
实用新型内容Utility model content
针对现有技术的不足,本实用新型提供了一种防褶皱的纸张收卷装置,解决了现有的1.该装置需要通过工作人员手动工作,把需要收卷防褶皱的纸张一端穿过两个压纸辊,连接到卷纸辊上进行纸张的收卷工作,这样的操作比较麻烦,缺乏一定的实用性,而且操作起来也比较复杂,一旦拉扯力过大,会使纸张断裂,增加成本。2.该装置只是通过收卷纸张只是用两个压纸辊,从上下两个方向对纸张进行压平,防止褶皱,但是该装置没有设置预先的纸张夹持结构,一旦收卷的拉测力产生偏差,会使纸张以褶皱的形状被收卷,不利于实际的使用。Aiming at the deficiencies of the prior art, the utility model provides an anti-wrinkle paper rewinding device, which solves the existing problem of 1. The device needs to be manually operated by the staff, and one end of the paper that needs to be rewound and anti-wrinkle passes through the two ends. A pressing roller is connected to the winding roller for paper winding. This operation is cumbersome and lacks certain practicability, and the operation is also relatively complicated. Once the pulling force is too large, the paper will be broken and the cost will be increased. . 2. The device only uses two pressure rollers to flatten the paper from the upper and lower directions by rewinding the paper to prevent wrinkles. However, the device does not have a pre-set paper clamping structure. Deviations will cause the paper to be rolled in a wrinkled shape, which is not conducive to actual use.
为实现以上目的,本实用新型通过以下技术方案予以实现:一种防褶皱的纸张收卷装置,包括平板,所述平板上壁面设有设有门型框,所述门型框内设有升降机构,所述平板上壁面位于所述门型框正下方设有放纸槽,所述放纸槽内设有调节机构,所述平板上壁面设有一对第一立柱和一对第二立柱,一对所述第一立柱之间设有收卷机构,一对所述第二立柱之间设有压纸机构。In order to achieve the above purpose, the utility model is realized through the following technical solutions: an anti-wrinkle paper rewinding device, including a flat plate, the upper wall of the flat plate is provided with a door frame, and the door frame is provided with a lift Mechanism, the upper wall of the flat plate is located directly below the door frame and is provided with a paper slot, and an adjustment mechanism is provided in the paper slot, and a pair of first columns and a pair of second columns are arranged on the upper wall of the flat plate, A winding mechanism is provided between the pair of first columns, and a paper pressing mechanism is provided between the pair of second columns.
优选的,所述升降机构包括套杆以及安装在所述门型框上壁面上的加固板,所述加固板侧壁面设有第一电机,所述门型框上壁面位于所述第一电机的正下方设有轴承,所述第一电机驱动端设有转轴,所述转轴下端外侧壁设有螺纹,所述转轴下端旋接在所述套杆内,所述套杆的下端设有电热板,所述电热板两侧壁面设有一对连接块,一对所述连接块上壁面均设有伸缩杆,所述伸缩杆上端与所述门型框下壁面相连接。Preferably, the lifting mechanism includes a sleeve rod and a reinforcement plate installed on the upper wall of the door frame, the side wall of the reinforcement plate is provided with a first motor, and the upper wall of the door frame is located on the first motor A bearing is provided directly below the first motor drive end, a rotating shaft is provided at the driving end of the first motor, threads are provided on the outer wall of the lower end of the rotating shaft, the lower end of the rotating shaft is screwed into the sleeve rod, and an electric heater is provided at the lower end of the sleeve rod. A pair of connection blocks are provided on both side walls of the electric heating plate, telescopic rods are provided on the upper walls of the pair of connection blocks, and the upper ends of the telescopic rods are connected with the lower wall of the door frame.
优选的,所述调节机构包括开设在所述放纸槽内的空腔,所述空腔内设有两对弹簧,两对所述弹簧上端设有顶纸板,所述顶纸板侧壁与所述空腔侧壁面滑动接触,所述顶纸板内设有两对滑道,两对所述滑道内分别滑动安装有夹持片,所述放纸槽一端设有一对卡纸块,所述放纸槽上壁面设有一对加固块,一对所述加固块其中一个的侧壁面上设有旋把,所述旋把一端设有转杆,所述转杆活动插装在一对所述加固块之间,所述转杆上设有搓纸轮。Preferably, the adjustment mechanism includes a cavity opened in the paper slot, and two pairs of springs are arranged in the cavity, and upper ends of the two pairs of springs are provided with top cardboards, and the side walls of the top cardboards are in contact with the The side wall surface of the cavity is in sliding contact, and the top cardboard is provided with two pairs of slideways, and the two pairs of slideways are respectively slidably installed with clamping pieces. A pair of reinforcing blocks is provided on the upper wall of the paper trough, a rotary handle is provided on the side wall of one of the reinforcing blocks, and a rotating rod is provided at one end of the rotating handle, and the rotating rod is movably inserted into the pair of reinforcing blocks. Between the blocks, a pick-up wheel is provided on the rotating rod.
优选的,所述收卷机构包括安装在一对所述第一立柱之间的弧形卷纸壳,一对所述第一立柱其中一个的侧壁面上设有第二电机,所述第二电机驱动端设有第二轴杆,所述第二轴杆活动插装在一对所述第一立柱之间,所述第二轴杆上设有卷纸辊。Preferably, the winding mechanism includes an arc-shaped rolling paper shell installed between a pair of the first columns, a second motor is provided on the side wall of one of the first columns, and the second The driving end of the motor is provided with a second shaft, and the second shaft is movably inserted between the pair of the first columns, and the paper rolling roller is arranged on the second shaft.
优选的,所述压纸机构包括安装在一对所述第二立柱其中一个侧壁面上的第三电机和第四电机,所述第三电机驱动端设有第三轴杆,所述第三轴杆活动插装在一对所述第二立柱之间,所述第三轴杆上设有第二压纸辊,所述第四电机驱动端设有第四轴杆,所述第四轴杆活动插装在一对所述第二立柱之间,所述第四轴杆上设有第一压纸辊。Preferably, the paper pressing mechanism includes a third motor and a fourth motor installed on one of the side walls of the pair of second columns, the driving end of the third motor is provided with a third shaft, and the third The shaft is movably inserted between the pair of the second columns, the third shaft is provided with the second platen roller, the driving end of the fourth motor is provided with the fourth shaft, and the fourth shaft The rod is movably inserted between the pair of the second columns, and the first pressing roller is arranged on the fourth shaft rod.
优选的,所述平板下壁面设有两对支腿。Preferably, two pairs of legs are provided on the lower wall of the plate.
有益效果Beneficial effect
本实用新型提供了一种防褶皱的纸张收卷装置,本实用新型设计了调节机构,旋把旋转带动转杆旋转,转杆旋转带动搓纸轮旋转,搓纸轮旋转会搓起纸,将纸带入到第一压纸辊与第二压纸辊之间,操作简单,较少了人工把纸张插入压纸辊内的操作,节省人力,使该装置更加具有实用性。The utility model provides an anti-wrinkle paper rewinding device. The utility model is designed with an adjustment mechanism. The rotation of the handle drives the rotation of the rotary rod, and the rotation of the rotary rod drives the rotation of the pickup wheel. The rotation of the pickup wheel will pick up the paper, and the The paper is brought into between the first paper pressing roller and the second paper pressing roller, the operation is simple, and the manual operation of inserting the paper into the paper pressing roller is less, which saves manpower and makes the device more practical.
本实用新型提供了一种防褶皱的纸张收卷装置,本实用新型设计了升降机构,推动夹持片对纸张进行轻微夹持,避免太过用力使纸张褶皱,固定纸张,防止纸张因收卷受力脱离原来位置,第一电机旋转带动转轴旋转,转轴旋转带动套杆下移,套杆下移会带动电热板下移,通过电热板将热量传到纸张内,使纸张受热变软,容易形变,一旦有褶皱可以受热后压平该纸张,使其达到防褶皱的效果。The utility model provides an anti-wrinkle paper rewinding device. The utility model is designed with a lifting mechanism, which pushes the clamping piece to slightly clamp the paper, avoids excessive force to make the paper wrinkle, fixes the paper, and prevents the paper from being rolled up due to excessive force. Forced away from the original position, the rotation of the first motor drives the shaft to rotate, and the rotation of the shaft drives the sleeve rod to move down, and the down movement of the sleeve rod will drive the electric heating plate to move down, and the heat is transferred to the paper through the electric heating plate, making the paper soft and easy Deformation, once there are wrinkles, the paper can be flattened after heating to achieve the effect of anti-wrinkle.
附图说明Description of drawings
图1为本实用新型的侧视图。Fig. 1 is a side view of the utility model.
图2为本实用新型的空腔结构示意图。Fig. 2 is a schematic diagram of the cavity structure of the present invention.
图3为本实用新型的升降机构图。Fig. 3 is the lifting mechanism figure of the utility model.
图4为本实用新型的卷纸辊结构侧视图。Fig. 4 is a side view of the paper roll structure of the present invention.
图5为本实用新型的局部放大示意图。Fig. 5 is a partially enlarged schematic diagram of the utility model.
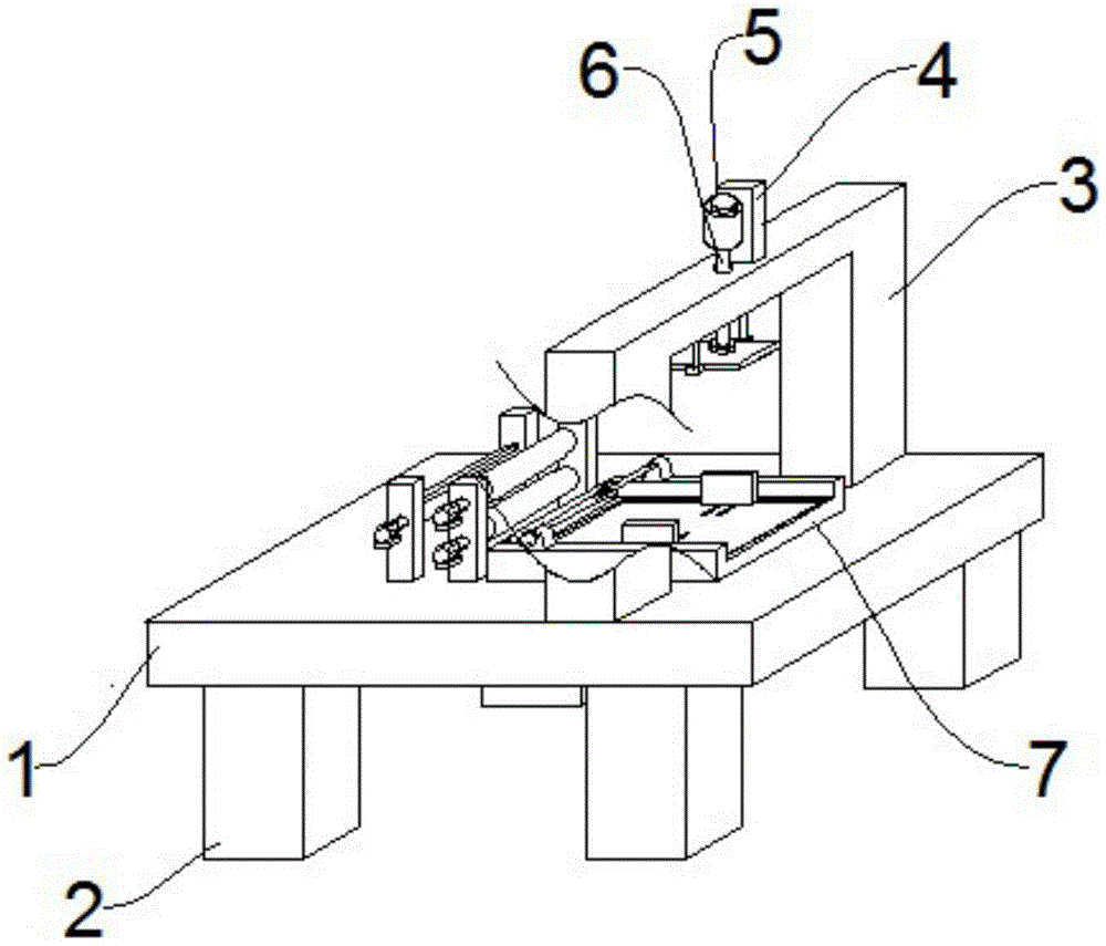
图中:1、平板;2、支腿;3、门型框;4、加固板;5、第一电机;6、转轴;7、放纸槽;8、第二电机;9、第三电机;10、第四电机;11、转把;12、转杆;13、搓纸轮;14、卡纸块;15、夹持片;16、第一立柱;17、第二立柱;18、第一压纸辊;19、第二压纸辊;20、卷纸辊;21、卷纸壳;22、伸缩杆;23、电热板;24、连接块;25、套杆;26、弹簧;27、顶纸板。In the figure: 1. flat plate; 2. legs; 3. door frame; 4. reinforcing plate; 5. first motor; 6. rotating shaft; 7. paper slot; 8. second motor; 9. third motor ;10, the fourth motor; 11, turn the handle; 12, turn the rod; 13, pick up the paper wheel; 14, jam block; One pressing roller; 19, the second pressing roller; 20, roll paper roll; 21, roll paper shell; 22, telescopic rod; 23, electric heating plate; 24, connecting block; , top cardboard.
具体实施方式Detailed ways
下面将结合本实用新型实施例中的附图,对本实用新型实施例中的技术方案进行清楚、完整地描述,显然,所描述的实施例仅仅是本实用新型一部分实施例,而不是全部的实施例。基于本实用新型中的实施例,本领域普通技术人员在没有做出创造性劳动前提下所获得的所有其他实施例,都属于本实用新型保护的范围。The technical solutions in the embodiments of the present invention will be clearly and completely described below in conjunction with the accompanying drawings in the embodiments of the present invention. Obviously, the described embodiments are only part of the embodiments of the present invention, not all of them. example. Based on the embodiments of the present utility model, all other embodiments obtained by persons of ordinary skill in the art without making creative efforts belong to the scope of protection of the present utility model.
请参阅图1-5,本实用新型提供一种技术方案:一种防褶皱的纸张收卷装置,包括平板1,所述平板1上壁面设有设有门型框3,所述门型框3内设有升降机构,所述平板1上壁面位于所述门型框3正下方设有放纸槽7,所述放纸槽7内设有调节机构,所述平板1上壁面设有一对第一立柱16和一对第二立柱17,一对所述第一立柱16之间设有收卷机构,一对所述第二立柱17之间设有压纸机构。该装置结构紧凑,运用调节机构对纸张进行夹持,防止因收卷受力使纸张乱窜。Please refer to Figures 1-5, the utility model provides a technical solution: an anti-wrinkle paper winding device, including a
进一步的,所述升降机构包括套杆25以及安装在所述门型框3上壁面上的加固板4,所述加固板4侧壁面设有第一电机5,所述门型框3上壁面位于所述第一电机5的正下方设有轴承,所述第一电机5驱动端设有转轴6,所述转轴6下端外侧壁设有螺纹,所述转轴6下端旋接在所述套杆25内,所述套杆25的下端设有电热板23,所述电热板23两侧壁面设有一对连接块24,一对所述连接块24上壁面均设有伸缩杆22,所述伸缩杆22上端与所述门型框3下壁面相连接。设置升降机构通过电机旋转将电热板下压,电热板的热量传入到纸张中,使其更容易形变,被压平的效果更好。Further, the lifting mechanism includes a
进一步的,所述调节机构包括开设在所述放纸槽7内的空腔,所述空腔内设有两对弹簧26,两对所述弹簧26上端设有顶纸板27,所述顶纸板27侧壁与所述空腔侧壁面滑动接触,所述顶纸板27内设有两对滑道,两对所述滑道内分别滑动安装有夹持片15,所述放纸槽7一端设有一对卡纸块14,所述放纸槽7上壁面设有一对加固块,一对所述加固块其中一个的侧壁面上设有旋把,所述旋把一端设有转杆12,所述转杆12活动插装在一对所述加固块之间,所述转杆12上设有搓纸轮13。设置调节机构,控制搓纸轮对纸张进行收卷,操作简单,节省人力操作。Further, the adjustment mechanism includes a cavity opened in the
进一步的,所述收卷机构包括安装在一对所述第一立柱16之间的弧形卷纸壳21,一对所述第一立柱16其中一个的侧壁面上设有第二电机8,所述第二电机8驱动端设有第二轴杆,所述第二轴杆活动插装在一对所述第一立柱16之间,所述第二轴杆上设有卷纸辊20。设置收卷机构通过电机旋转将纸张进行收卷,减少人力操作。Further, the winding mechanism includes an arc-shaped
进一步的,所述压纸机构包括安装在一对所述第二立柱17其中一个侧壁面上的第三电机9和第四电机10,所述第三电机9驱动端设有第三轴杆,所述第三轴杆活动插装在一对所述第二立柱17之间,所述第三轴杆上设有第二压纸辊19,所述第四电机10驱动端设有第四轴杆,所述第四轴杆活动插装在一对所述第二立柱17之间,所述第四轴杆上设有第一压纸辊18。设置压纸机构对纸张进行压平,达到防褶皱的效果。Further, the paper pressing mechanism includes a
进一步的,所述平板1下壁面设有两对支腿2。在平板下壁面安装两对支腿加强该装置的支撑稳定效果。Further, two pairs of
其详细连接手段,为本领域公知技术,下述主要介绍工作原理以及过程,具体工作如下。Its detailed connection means is a well-known technology in the art. The following mainly introduces the working principle and process, and the specific work is as follows.
实施例:首先需要工作人员把需要收卷的纸张放置在放纸槽7内,推动一对夹持片15,夹持片15始终在滑道内移动有限行效果,推动夹持片15对纸张进行轻微夹持,避免太过用力使纸张褶皱,同时一对夹持片15夹持住固定纸张,防止纸张因收卷受力脱离原来位置,调节第一电机5旋转,第一电机5旋转带动转轴6旋转,转轴6旋转带动套杆25下移,套杆25下移会带动电热板23下移,由于电热板23两侧壁上有连接块24,连接块24通过伸缩杆22与门型框3下壁面相连接,具有限行效果,通过顶纸板27下面的弹簧26、电热板23、夹持片15对纸张进行多角度固定,启动电热板23,将热量传到纸张内,使纸张受热变软,容易形变,一旦有褶皱可以受热后压平该纸张,使其达到防褶皱的效果。旋转旋把,旋把旋转带动转杆12旋转,转杆12旋转带动搓纸轮13旋转,搓纸轮13旋转会搓起纸,将纸带入到第一压纸辊18与第二压纸辊19之间,启动第三电机9和第四电机10,第三电机9旋转带动第三轴杆旋转,第三轴杆旋转带动第二压纸辊19旋转,第四电机10旋转带动第四轴杆旋转,第四轴杆旋转带动第一压纸辊18旋转,两者旋转方向相反,将纸张压入两者之间的缝隙,对纸张进行压平,调节第二电机8旋转,第二电机8旋转带动第二轴杆旋转,第二轴杆旋转带动卷纸辊20旋转,纸张会在卷纸壳21与卷纸辊20之间被卷入,完成收卷工作。Embodiment: First, the staff needs to place the paper to be rewound in the
需要说明的是,在本文中,诸如第一和第二等之类的关系术语仅仅用来将一个实体或者操作与另一个实体或操作区分开来,而不一定要求或者暗示这些实体或操作之间存在任何这种实际的关系或者顺序。It should be noted that in this article, relational terms such as first and second are only used to distinguish one entity or operation from another entity or operation, and do not necessarily require or imply that there is a relationship between these entities or operations. There is no such actual relationship or order between them.
Claims (6)
Priority Applications (1)
| Application Number | Priority Date | Filing Date | Title |
|---|---|---|---|
| CN202222798364.1U CN218931229U (en) | 2022-10-24 | 2022-10-24 | Prevent paper coiling mechanism of fold |
Applications Claiming Priority (1)
| Application Number | Priority Date | Filing Date | Title |
|---|---|---|---|
| CN202222798364.1U CN218931229U (en) | 2022-10-24 | 2022-10-24 | Prevent paper coiling mechanism of fold |
Publications (1)
| Publication Number | Publication Date |
|---|---|
| CN218931229U true CN218931229U (en) | 2023-04-28 |
Family
ID=86086013
Family Applications (1)
| Application Number | Title | Priority Date | Filing Date |
|---|---|---|---|
| CN202222798364.1U Expired - Fee Related CN218931229U (en) | 2022-10-24 | 2022-10-24 | Prevent paper coiling mechanism of fold |
Country Status (1)
| Country | Link |
|---|---|
| CN (1) | CN218931229U (en) |
-
2022
- 2022-10-24 CN CN202222798364.1U patent/CN218931229U/en not_active Expired - Fee Related
Similar Documents
| Publication | Publication Date | Title |
|---|---|---|
| CN206782934U (en) | A kind of winder | |
| CN212863365U (en) | Rapid winding device for textile machinery with good cloth winding smoothness | |
| CN216917923U (en) | Cloth processing coiling mechanism | |
| CN218931229U (en) | Prevent paper coiling mechanism of fold | |
| CN210795187U (en) | Material collecting device is used in production of environment-friendly textile product | |
| CN211888518U (en) | A kind of sheet metal bending machine with good security | |
| CN217781500U (en) | Fabric wrinkle removing device for garment production | |
| CN220785274U (en) | Bill flattening device | |
| CN218507180U (en) | Winding device for garment material processing | |
| CN115928358A (en) | A textile fabric leveling device | |
| CN215515979U (en) | Coiling mechanism for printing waste plate | |
| CN211251704U (en) | An attachment device for an embossing machine | |
| CN221720847U (en) | Cowhide bleeder vent rolling probe | |
| CN221543496U (en) | A paper collection device for producing colored patterned paper | |
| CN221939646U (en) | Automatic winding device for plastic bag production | |
| CN221720067U (en) | Anti-wrinkle device for paper rewinding | |
| CN111099409B (en) | Winding equipment of cloth dyeing factory | |
| CN218257439U (en) | A data flattening device | |
| CN217534812U (en) | Hot melt adhesive film assists coiling mechanism | |
| CN215047422U (en) | Printed fabric perching and winding device | |
| CN222664957U (en) | Film flanging flattening device | |
| CN221875987U (en) | A pull head spring piece rewinding and unwinding correction device | |
| CN222860689U (en) | A winding device for high-speed slitting machine | |
| CN222486318U (en) | Double-sided lining pressing machine | |
| CN218319738U (en) | Uniform cloth winding device for printing and dyeing |
Legal Events
| Date | Code | Title | Description |
|---|---|---|---|
| GR01 | Patent grant | ||
| GR01 | Patent grant | ||
| CF01 | Termination of patent right due to non-payment of annual fee | ||
| CF01 | Termination of patent right due to non-payment of annual fee |
Granted publication date: 20230428 |
