CN218931204U - An easily adjustable winding device for geotextile production - Google Patents
An easily adjustable winding device for geotextile production Download PDFInfo
- Publication number
- CN218931204U CN218931204U CN202223355011.0U CN202223355011U CN218931204U CN 218931204 U CN218931204 U CN 218931204U CN 202223355011 U CN202223355011 U CN 202223355011U CN 218931204 U CN218931204 U CN 218931204U
- Authority
- CN
- China
- Prior art keywords
- motor
- geotextile
- base
- fork structure
- winding device
- Prior art date
- Legal status (The legal status is an assumption and is not a legal conclusion. Google has not performed a legal analysis and makes no representation as to the accuracy of the status listed.)
- Expired - Fee Related
Links
- 239000004746 geotextile Substances 0.000 title claims abstract description 45
- 238000004804 winding Methods 0.000 title claims abstract description 32
- 230000001681 protective effect Effects 0.000 claims description 3
- 238000000034 method Methods 0.000 abstract description 11
- 239000002994 raw material Substances 0.000 description 3
- 238000011161 development Methods 0.000 description 2
- 238000005516 engineering process Methods 0.000 description 2
- 239000004744 fabric Substances 0.000 description 2
- 239000000463 material Substances 0.000 description 2
- 238000012986 modification Methods 0.000 description 2
- 230000004048 modification Effects 0.000 description 2
- 230000009286 beneficial effect Effects 0.000 description 1
- 238000013461 design Methods 0.000 description 1
- 238000004806 packaging method and process Methods 0.000 description 1
- 238000012545 processing Methods 0.000 description 1
Images
Landscapes
- Winding Of Webs (AREA)
Abstract
本实用新型公开了一种土工布生产用便于调节的收卷装置,包括底座,底座顶部的左侧设置有第一剪刀叉组结构,第一剪刀叉组结构的顶部设置有支撑板,支撑板的顶部设置有第一电机,第一电机的右侧设置第一转轴,第一转轴的外圈套装有转动辊,底座顶部的右侧设置有第二电机,第二电机的左侧设置有连接座,第二电机与连接座之间设置有丝杆,丝杆的外圈螺纹连接有移动块,移动块的顶部设置有第二剪刀叉组结构,第二剪刀叉组结构的顶部设置有平板。该土工布生产用便于调节的收卷装置,根据土工布的宽度,进行左右调整移动块与固定座的位置,从而使得固定座的左侧紧贴土工布,避免土工布在卷取过程中的歪斜,方便进行卷取过程中土工布的固定。
The utility model discloses an easy-to-adjust winding device for geotextile production, which comprises a base, a first scissor-fork structure is arranged on the left side of the top of the base, a support plate is arranged on the top of the first scissor-fork structure, and the support plate The top of the base is provided with a first motor, the right side of the first motor is provided with a first rotating shaft, the outer ring of the first rotating shaft is provided with a rotating roller, the right side of the top of the base is provided with a second motor, and the left side of the second motor is provided with a connection seat, a screw rod is set between the second motor and the connecting seat, the outer ring of the screw rod is threadedly connected with a moving block, the top of the moving block is provided with a second scissor fork structure, and the top of the second scissor fork structure is provided with a flat plate . The easy-to-adjust winding device for geotextile production adjusts the position of the moving block and the fixed seat left and right according to the width of the geotextile, so that the left side of the fixed seat is close to the geotextile, avoiding the geotextile during the winding process. Slanted to facilitate the fixing of the geotextile during the coiling process.
Description
技术领域technical field
本实用新型涉及收卷机技术领域,具体为一种土工布生产用便于调节的收卷装置。The utility model relates to the technical field of winding machines, in particular to an easy-to-adjust winding device for geotextile production.
背景技术Background technique
收卷装置主要用于土工布的收卷和打包,一般安装在土工布加工生产线后面,把原材料通过机械方式收卷成卷料,根据实际工艺要求设计多样化,常见的有简易收卷机,液压收卷机,收卷机一般对材料有卷内径,卷外径,卷材料厚度,宽度都有严格要求,随着科技的发展,土工布生产用便于调节的收卷装置有了很大程度的发展,其种类和数量也正在与日俱增,但是该收卷装置仍然存在收卷辊不方便进行取放调节等问题。The winding device is mainly used for the winding and packaging of geotextiles. It is generally installed behind the geotextile processing production line, and the raw materials are mechanically wound into rolls. According to the actual process requirements, the design is diversified. The common ones are simple winders, Hydraulic winders, winders generally have strict requirements on the inner diameter of the material, the outer diameter of the roll, the thickness and width of the roll material. With the development of science and technology, the easy-to-adjust winding device for geotextile production has a large The development, its type and quantity are also increasing day by day, but this winding device still has problems such as the inconvenient take-and-place adjustment of the winding roller.
公开号为CN214059340U的专利,公开了一种土工布生产用便于调节的收卷装置,包括底座、第二固定座、收卷辊、支撑杆和张力辊,所述底座的顶端固定有支腿,所述支腿的顶端固定有第一固定座,所述第一固定座的一端连接有第一转轴,所述第二固定座通过第一转轴与第一固定座进行连接。该土工布生产用便于调节的收卷装置,拧下螺栓,拉动第二固定座绕着第一转轴进行旋转打开,通过拉动收卷辊的一端脱离固定辊,再取出土工布,然后放置收卷辊在第一固定座上方,使得收卷辊与固定辊进行对接,再反向旋转第二固定座,使得第一连接板和第二连接板进行贴合,再拧紧螺栓,使得螺栓与第一连接板和第二连接板进行贯穿连接,从而固定住收卷辊,进而方便该收卷装置的收卷辊进行更换。然而,在实际使用本装置的过程中,会收卷不同宽度以及不同厚度的原材料,但是本装置缺乏对应的调节机构,因此难以对不同的宽度及厚度的原材料进行收卷,因此装置的适应面较窄,不能满足在工厂中大范围长时间的使用。The patent with the publication number CN214059340U discloses a rewinding device that is easy to adjust for geotextile production, including a base, a second fixed seat, a rewinding roller, a support rod and a tension roller. The top of the base is fixed with a leg, The top end of the leg is fixed with a first fixing base, one end of the first fixing base is connected with a first rotating shaft, and the second fixing base is connected with the first fixing base through the first rotating shaft. The geotextile production is easy to adjust the winding device, unscrew the bolt, pull the second fixed seat to rotate around the first shaft to open, pull one end of the winding roller to separate from the fixed roller, then take out the geotextile, and then place it for winding The roller is above the first fixed seat, so that the winding roller and the fixed roller are docked, and then the second fixed seat is reversely rotated, so that the first connecting plate and the second connecting plate are attached, and then the bolts are tightened so that the bolts are in contact with the first The connecting plate and the second connecting plate are through-connected, so as to fix the winding roller, thereby facilitating the replacement of the winding roller of the winding device. However, in the process of actually using this device, raw materials of different widths and thicknesses will be rewound, but the device lacks a corresponding adjustment mechanism, so it is difficult to rewind raw materials of different widths and thicknesses, so the adaptability of the device It is narrow and cannot be used in a large area for a long time in the factory.
实用新型内容Utility model content
本实用新型的目的在于提供一种土工布生产用便于调节的收卷装置,以解决上述背景技术中提出的问题。The purpose of this utility model is to provide an easy-to-adjust winding device for geotextile production, so as to solve the problems raised in the above-mentioned background technology.
为实现上述目的,本实用新型提供如下技术方案:一种土工布生产用便于调节的收卷装置,包括底座,所述底座顶部的左侧设置有第一剪刀叉组结构,所述第一剪刀叉组结构的顶部设置有支撑板,所述支撑板的顶部设置有第一电机,所述第一电机的右侧设置第一转轴,所述第一转轴的外圈套装有转动辊,所述底座顶部的右侧设置有第二电机,所述第二电机的左侧设置有连接座,所述第二电机与连接座之间设置有丝杆,所述丝杆的外圈螺纹连接有移动块,所述移动块的顶部设置有第二剪刀叉组结构,所述第二剪刀叉组结构的顶部设置有平板,所述平板的顶部设置有固定座,所述转动辊设置在固定座的内腔中,所述转动辊与固定座之间设置有轴套连接。In order to achieve the above purpose, the utility model provides the following technical solutions: an easy-to-adjust winding device for geotextile production, including a base, the left side of the top of the base is provided with a first scissors fork structure, the first scissors The top of the fork structure is provided with a support plate, the top of the support plate is provided with a first motor, the right side of the first motor is provided with a first rotating shaft, and the outer ring of the first rotating shaft is fitted with a rotating roller. The right side of the top of the base is provided with a second motor, the left side of the second motor is provided with a connecting seat, a screw is provided between the second motor and the connecting seat, and the outer ring of the screw is threadedly connected with a moving Block, the top of the moving block is provided with a second scissors fork structure, the top of the second scissors fork structure is provided with a flat plate, the top of the flat plate is provided with a fixed seat, and the rotating roller is arranged on the fixed seat In the inner cavity, a shaft sleeve connection is arranged between the rotating roller and the fixed seat.
优选地,所述第一剪刀叉组结构与第二剪刀叉组结构同时启动与停止,可人为控制。Preferably, the first scissors set structure and the second scissors set structure start and stop at the same time, which can be controlled manually.
优选地,所述底座的顶部开设有滑槽,所述移动块的底部设置有滑块,所述滑块设置在滑槽的内腔中。Preferably, a chute is provided on the top of the base, a slider is provided on the bottom of the moving block, and the slider is arranged in an inner cavity of the chute.
优选地,所述第一电机的外圈设置有保护座。Preferably, the outer ring of the first motor is provided with a protective seat.
优选地,所述底座的正面设置连接杆,所述连接杆之间设置有第二转轴,所述第二转轴的外圈套装有导向辊。Preferably, connecting rods are arranged on the front of the base, a second rotating shaft is arranged between the connecting rods, and a guide roller is set on the outer ring of the second rotating shaft.
优选地,所述固定座与平板之间通过螺栓连接,可人工拆装。Preferably, the fixing seat is connected to the flat plate through bolts, and can be manually disassembled.
与现有技术相比,本实用新型的有益效果是:Compared with the prior art, the beneficial effects of the utility model are:
1、该土工布生产用便于调节的收卷装置,通过固定座和移动块的配合,根据土工布的宽度,进行左右调整移动块与固定座的位置,从而使得固定座的左侧紧贴土工布,避免土工布在卷取过程中的歪斜,方便进行卷取过程中土工布的固定。1. The rewinding device is easy to adjust for the production of geotextiles. Through the cooperation of the fixed seat and the moving block, the positions of the moving block and the fixed seat are adjusted left and right according to the width of the geotextile, so that the left side of the fixed seat is close to the geotextile. Cloth, to avoid the skewing of the geotextile during the coiling process, and to facilitate the fixing of the geotextile during the coiling process.
2、该土工布生产用便于调节的收卷装置,通过第一剪刀叉组结构与第二剪刀叉组的配合,由于卷取过程中,对土工布卷取的厚度要求不一,此时可人为控制第一剪刀叉组结构与第二剪刀叉组结构升高,分别使得支撑板与平板位置的升高,带动第一电机、转动辊与固定座位置的升高,从而使得转动辊离底座的距离增大,从而收纳厚度更大的土工布。2. The easy-to-adjust winding device for geotextile production, through the cooperation of the first scissor-fork group structure and the second scissor-fork group, due to the different requirements for the thickness of the geotextile during the winding process, it can be used at this time Artificial control of the structure of the first scissor fork group and the structure of the second scissor fork group raises the position of the support plate and the flat plate respectively, which drives the position of the first motor, the rotating roller and the fixed seat to rise, so that the rotating roller is separated from the base The distance increases to accommodate thicker geotextiles.
附图说明Description of drawings
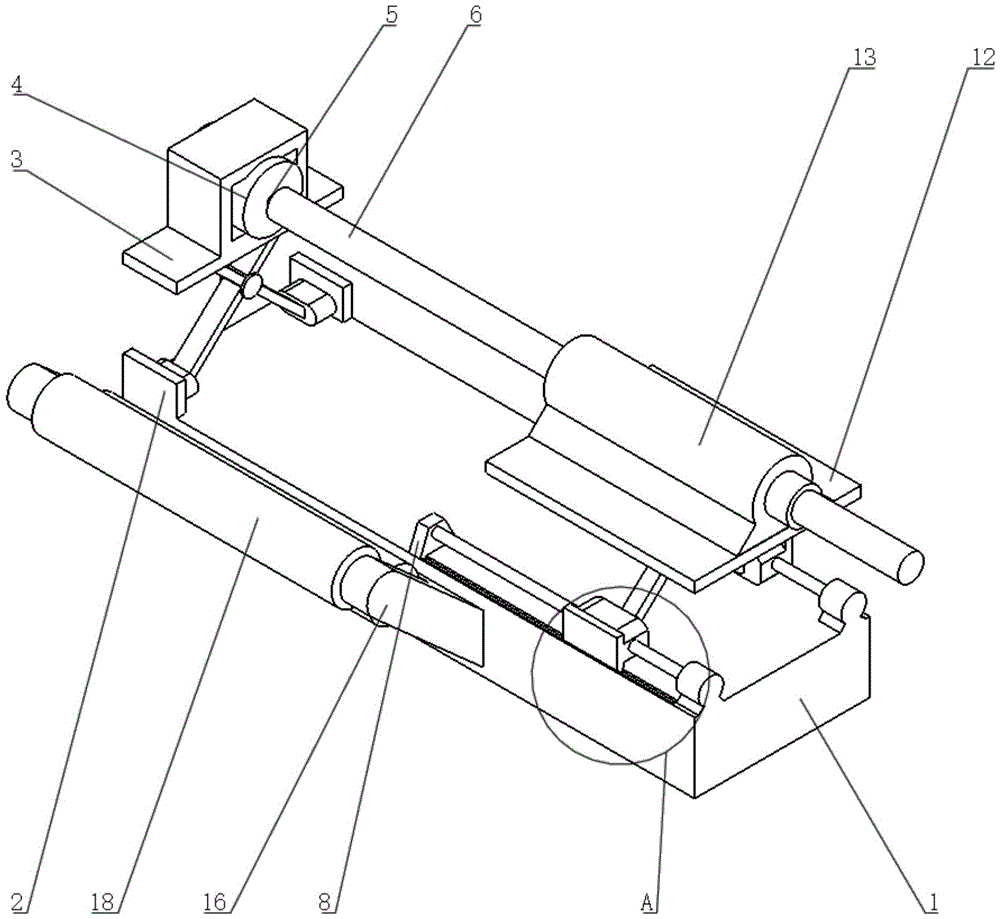
图1为本实用新型结构示意图。Fig. 1 is the structural representation of the utility model.
图2为图1的A处放大图。Figure 2 is an enlarged view of A in Figure 1 .
图3为本实用新型正视图。Fig. 3 is a front view of the utility model.
图4为图3的B处放大图。FIG. 4 is an enlarged view of B in FIG. 3 .
图中:1、底座;2、第一剪刀叉组结构;3、支撑板;4、第一电机;5、第一转轴;6、转动辊;7、第二电机;8、连接座;9、丝杆;10、移动块;11、第二剪刀叉组结构;12、平板;13、固定座;14、滑槽;15、滑块;16、连接杆;17、第二转轴;18、导向辊。In the figure: 1, the base; 2, the structure of the first scissors and forks; 3, the support plate; 4, the first motor; 5, the first rotating shaft; 6, the rotating roller; 7, the second motor; , screw rod; 10, moving block; 11, second scissors fork group structure; 12, flat plate; 13, fixed seat; 14, chute; 15, slider; 16, connecting rod; 17, second rotating shaft; guide roller.
具体实施方式Detailed ways
下面将结合本实用新型实施例中的附图,对本实用新型实施例中的技术方案进行清楚、完整地描述,显然,所描述的实施例仅仅是本实用新型一部分实施例,而不是全部的实施例。基于本实用新型中的实施例,本领域普通技术人员在没有做出创造性劳动前提下所获得的所有其他实施例,都属于本实用新型保护的范围。The technical solutions in the embodiments of the present invention will be clearly and completely described below in conjunction with the accompanying drawings in the embodiments of the present invention. Obviously, the described embodiments are only part of the embodiments of the present invention, not all of them. example. Based on the embodiments of the present utility model, all other embodiments obtained by persons of ordinary skill in the art without making creative efforts belong to the scope of protection of the present utility model.
请参阅图1-4,本实用新型提供一种技术方案:一种土工布生产用便于调节的收卷装置,包括底座1,底座1顶部的左侧设置有第一剪刀叉组结构2,第一剪刀叉组结构2的顶部设置有支撑板3,支撑板3的顶部设置有第一电机4,第一电机4的右侧设置第一转轴5,第一转轴5的外圈套装有转动辊6,底座1顶部的右侧设置有第二电机7,第二电机7的左侧设置有连接座8,第二电机7与连接座8之间设置有丝杆9,丝杆9的外圈螺纹连接有移动块10,移动块10的顶部设置有第二剪刀叉组结构11,第二剪刀叉组结构11的顶部设置有平板12,平板12的顶部设置有固定座13,转动辊6设置在固定座13的内腔中,转动辊6与固定座13之间设置有轴套连接。Please refer to Figures 1-4, the utility model provides a technical solution: an easy-to-adjust winding device for geotextile production, including a base 1, the left side of the top of the base 1 is provided with a first scissors and
其中,第一剪刀叉组结构2与第二剪刀叉组结构11同时启动与停止,可人为控制。Wherein, the first
本实施例中,可人为控制第一剪刀叉组结构2与第二剪刀叉组结构11升高,分别使得支撑板3与平板12位置的升高,带动第一电机4、转动辊6与固定座13位置的升高,从而使得转动辊6离底座1的距离增大,从而收纳厚度更大的土工布。而第一剪刀叉组结构2与第二剪刀叉组结构11同时启动与停止,可以防止转动辊6旋转时的歪斜。In this embodiment, the first scissor-
其中,底座1的顶部开设有滑槽14,移动块10的底部设置有滑块15,滑块15设置在滑槽14的内腔中。Wherein, a
本实施例中,移动块10的底部设置有滑块15,滑块15可以在较为光滑的滑槽14中移动,因此可以限制移动块10的移动方向,使得移动块10移动更加稳定。In this embodiment, a
其中,第一电机4的外圈设置有保护座。Wherein, the outer ring of the first motor 4 is provided with a protective seat.
本实施例中,保护座置于第一电机4的外侧,可以为第一电机4的工作提供保护。In this embodiment, the protection seat is placed outside the first motor 4 to provide protection for the operation of the first motor 4 .
其中,底座1的正面设置连接杆16,连接杆16之间设置有第二转轴17,第二转轴17的外圈套装有导向辊18。Wherein, connecting
本实施例中,土工布从导向辊18之间穿过,并收纳在转动辊6的外圈,导向辊18对土工布的收卷起到导向的作用。In this embodiment, the geotextile passes between the
其中,固定座13与平板12之间通过螺栓连接,可人工拆装。Wherein, the
本实施例中,当土工布的收卷完成时,此时可将固定座13从平板12上拆卸,将转动辊6的右侧机构取下后,可将转动辊6整体移出,便于对转动辊6进行更换置新。In this embodiment, when the winding of the geotextile is completed, the fixed
工作原理:使用装置时,将土工布的一端穿过两组导向辊18之间,并固定在转动辊6上,随后启动第二电机7。第二电机7的启动会带动丝杆9进行转动,随即带动螺纹连接的移动块10进行移动。移动块10的底部设置有滑块15,滑块15可以在较为光滑的滑槽14中移动,因此可以限制移动块10的移动方向,使得移动块10移动更加稳定。移动块10的顶部设置有第二剪刀叉组结构11和固定座13,可根据土工布的宽度,进行左右调整移动块10与固定座13的位置,从而使得固定座13的左侧紧贴土工布,避免土工布在卷取过程中的歪斜,方便进行卷取过程中土工布的固定。固定座13位置确定后,启动第一电机4,带动第一转轴5与转动辊6进行旋转,从而将土工布从导向辊18之间穿过,并收纳在转动辊6的外圈。导向辊18对土工布的收卷起到导向的作用。转动辊6与固定座13之间设置有轴套,轴套可以防止转动辊6与固定座13之间直接接触,避免转动辊6的大量摩擦,从而提高转动辊6的使用寿命。由于卷取过程中,对土工布卷取的厚度要求不一,此时可人为控制第一剪刀叉组结构2与第二剪刀叉组结构11升高,分别使得支撑板3与平板12位置的升高,带动第一电机4、转动辊6与固定座13位置的升高,从而使得转动辊6离底座1的距离增大,从而收纳厚度更大的土工布。而第一剪刀叉组结构2与第二剪刀叉组结构11同时启动与停止,可以防止转动辊6旋转时的歪斜。当土工布的收卷完成时,此时可将固定座13从平板12上拆卸,将转动辊6的右侧机构取下后,可将转动辊6整体移出,便于对转动辊6进行更换置新。Working principle: When using the device, pass one end of the geotextile between two sets of
尽管已经示出和描述了本实用新型的实施例,对于本领域的普通技术人员而言,可以理解在不脱离本实用新型的原理和精神的情况下可以对这些实施例进行多种变化、修改、替换和变型,本实用新型的范围由所附权利要求及其等同物限定。Although the embodiments of the present invention have been shown and described, those skilled in the art can understand that various changes and modifications can be made to these embodiments without departing from the principle and spirit of the present invention , replacements and modifications, the scope of the present utility model is defined by the appended claims and their equivalents.
Claims (6)
Priority Applications (1)
| Application Number | Priority Date | Filing Date | Title |
|---|---|---|---|
| CN202223355011.0U CN218931204U (en) | 2022-12-14 | 2022-12-14 | An easily adjustable winding device for geotextile production |
Applications Claiming Priority (1)
| Application Number | Priority Date | Filing Date | Title |
|---|---|---|---|
| CN202223355011.0U CN218931204U (en) | 2022-12-14 | 2022-12-14 | An easily adjustable winding device for geotextile production |
Publications (1)
| Publication Number | Publication Date |
|---|---|
| CN218931204U true CN218931204U (en) | 2023-04-28 |
Family
ID=86064327
Family Applications (1)
| Application Number | Title | Priority Date | Filing Date |
|---|---|---|---|
| CN202223355011.0U Expired - Fee Related CN218931204U (en) | 2022-12-14 | 2022-12-14 | An easily adjustable winding device for geotextile production |
Country Status (1)
| Country | Link |
|---|---|
| CN (1) | CN218931204U (en) |
Cited By (1)
| Publication number | Priority date | Publication date | Assignee | Title |
|---|---|---|---|---|
| CN116749641A (en) * | 2023-06-19 | 2023-09-15 | 维达纸业(中国)有限公司 | A kind of rewinding printing machine and its technology |
-
2022
- 2022-12-14 CN CN202223355011.0U patent/CN218931204U/en not_active Expired - Fee Related
Cited By (1)
| Publication number | Priority date | Publication date | Assignee | Title |
|---|---|---|---|---|
| CN116749641A (en) * | 2023-06-19 | 2023-09-15 | 维达纸业(中国)有限公司 | A kind of rewinding printing machine and its technology |
Similar Documents
| Publication | Publication Date | Title |
|---|---|---|
| CN102795500A (en) | Device and method for reeling and replacing reel without stop | |
| CN115246591B (en) | A film winding and unwinding device capable of automatically changing rolls and a control method thereof | |
| CN103950779B (en) | A kind of capstan head cutting machine | |
| CN216272239U (en) | Film winding device | |
| CN217626587U (en) | Non-woven fabrics coiling mechanism with leveling mechanism | |
| CN218931204U (en) | An easily adjustable winding device for geotextile production | |
| CN204251028U (en) | Sheet material automatic rolling device | |
| CN110407014B (en) | An easy-to-remove winding device for wool fabric production | |
| CN218988341U (en) | Automatic film winding machine | |
| CN216763678U (en) | Packaging material winding mechanism | |
| CN214241449U (en) | Unwinding device of part packing | |
| CN211998063U (en) | Edge-rectifying tensioning mechanism of automatic winding drum rewinding machine | |
| CN114955663A (en) | Waterproofing membrane rolling machine with adjustable diameter | |
| CN218344851U (en) | Winding device for machining steel wire rope | |
| CN210944148U (en) | A heat shrinkable tape winder with limit device | |
| CN217201117U (en) | Winding mechanism of laminating machine | |
| CN113979166B (en) | Full-automatic rewinder | |
| CN217947030U (en) | Mica paper unreeling device for mica tape production | |
| CN214527187U (en) | Coiled material rewinding device with adjustable rotating speed | |
| CN216514391U (en) | Yarn dividing device of spandex yarn warping machine | |
| CN204714157U (en) | A kind of pressure type reel system | |
| CN211945672U (en) | A winding machine based on textile winding to prevent entanglement | |
| CN211034551U (en) | Saw blade back-rolling device | |
| CN217516307U (en) | Wrap-up machine connection baffle adjustment mechanism | |
| CN223457887U (en) | A rewinding machine for tape production |
Legal Events
| Date | Code | Title | Description |
|---|---|---|---|
| GR01 | Patent grant | ||
| GR01 | Patent grant | ||
| CF01 | Termination of patent right due to non-payment of annual fee |
Granted publication date: 20230428 |
|
| CF01 | Termination of patent right due to non-payment of annual fee |
