CN218902612U - A flour grading and screening device - Google Patents
A flour grading and screening device Download PDFInfo
- Publication number
- CN218902612U CN218902612U CN202223149792.8U CN202223149792U CN218902612U CN 218902612 U CN218902612 U CN 218902612U CN 202223149792 U CN202223149792 U CN 202223149792U CN 218902612 U CN218902612 U CN 218902612U
- Authority
- CN
- China
- Prior art keywords
- fixedly connected
- flour
- screen
- sieve
- cylinder
- Prior art date
- Legal status (The legal status is an assumption and is not a legal conclusion. Google has not performed a legal analysis and makes no representation as to the accuracy of the status listed.)
- Expired - Fee Related
Links
- 235000013312 flour Nutrition 0.000 title claims abstract description 70
- 238000012216 screening Methods 0.000 title claims abstract description 18
- 238000010408 sweeping Methods 0.000 claims description 8
- 239000000843 powder Substances 0.000 claims description 7
- 239000004744 fabric Substances 0.000 claims description 3
- 238000004513 sizing Methods 0.000 claims 5
- 239000002245 particle Substances 0.000 abstract description 20
- 238000001914 filtration Methods 0.000 abstract description 18
- 230000000694 effects Effects 0.000 abstract description 13
- 238000005054 agglomeration Methods 0.000 description 6
- 230000002776 aggregation Effects 0.000 description 6
- 238000005728 strengthening Methods 0.000 description 4
- 238000010586 diagram Methods 0.000 description 2
- 230000002708 enhancing effect Effects 0.000 description 2
- 238000004519 manufacturing process Methods 0.000 description 2
- 238000000034 method Methods 0.000 description 2
- 238000012986 modification Methods 0.000 description 2
- 230000004048 modification Effects 0.000 description 2
- 230000009286 beneficial effect Effects 0.000 description 1
- 230000000903 blocking effect Effects 0.000 description 1
- 239000008187 granular material Substances 0.000 description 1
- 239000012535 impurity Substances 0.000 description 1
- 238000007873 sieving Methods 0.000 description 1
- 239000002699 waste material Substances 0.000 description 1
Images
Landscapes
- Combined Means For Separation Of Solids (AREA)
Abstract
本实用新型涉及面粉加工技术领域,公开了一种面粉分级筛选装置,包括筛箱,所述筛箱的内壁固定连接有第一筛网,所述第一筛网的底部固定连接有排管,所述筛箱的内壁固定连接有支板,所述支板的顶部固定连接有气缸,所述气缸的输出端固定连接有伸缩杆。本实用新型具有以下优点和效果:工作人员将面粉投入筛箱,第一筛网为弹性网,工作人员驱动气缸控制伸缩杆带动弹力球对第一筛网进行击打,从而使第一筛网对面粉进行过滤,第一筛网设置为倾斜面,第一级颗粒的面粉滞留在第一筛网上,从排管排出,便于拿取,提升整体装置的灵活性,便于调节,提升整体装置的工作效率,节省人力成本和工作时间,加强过滤便于分类。
The utility model relates to the technical field of flour processing, and discloses a flour grading and screening device, comprising a sieve box, the inner wall of the sieve box is fixedly connected with a first screen, and the bottom of the first screen is fixedly connected with a row pipe. The inner wall of the screen box is fixedly connected with a support plate, the top of the support plate is fixedly connected with a cylinder, and the output end of the cylinder is fixedly connected with a telescopic rod. The utility model has the following advantages and effects: the staff puts the flour into the sieve box, the first screen is an elastic net, and the staff drives the cylinder to control the telescopic rod to drive the elastic ball to hit the first screen, so that the first screen To filter the flour, the first sieve is set as an inclined surface, and the flour of the first level particles stays on the first sieve and is discharged from the discharge pipe, which is easy to take, improves the flexibility of the whole device, is easy to adjust, and improves the overall device. Work efficiency, save labor cost and working time, strengthen filtering for easy classification.
Description
技术领域technical field
本实用新型涉及面粉加工技术领域,特别涉及一种面粉分级筛选装置。The utility model relates to the technical field of flour processing, in particular to a flour grading and screening device.
背景技术Background technique
在面粉生产加工领域,根据不同的需求,需要得到相应粒度的面粉,这就需要对面粉进行筛选。利用现有的面粉筛滤装置筛体结构通常非常简单,功能有待提升。现在很多面粉加工企业的面粉筛选设备中一个筛箱内只装配有一只筛网,只能单独完成除杂或精筛作业,每次工作完成后还需要更换筛箱进行下一次作业,不仅麻烦,浪费时间,而且需要准备不同的筛箱,增加了设备成本,同时生产的工作效率也比较低。In the field of flour production and processing, according to different needs, it is necessary to obtain flour with corresponding particle size, which requires screening of flour. The structure of the sieve body of the existing flour sifting device is usually very simple, and the function needs to be improved. At present, in the flour screening equipment of many flour processing enterprises, only one sieve is installed in one sieve box, which can only complete the impurity removal or fine sieving operation alone. After each work is completed, the sieve box needs to be replaced for the next operation, which is not only troublesome, but also It is a waste of time, and different screen boxes need to be prepared, which increases the cost of the equipment, and the work efficiency of production is also relatively low.
根据中国专利公开号CN204638519U提供了一种面粉分级筛选装置,涉及面粉加工技术领域。包括筛选箱、筛网、底座、激振器,其特征在于:所述底座的上方通过弹簧连接有筛选箱,所述筛选箱的上端设有进料口,所述筛选箱内从上到下依次安装有多层筛网,所述的多层筛网将所述筛选箱的内部分割成多个筛选腔室,每个筛选腔室的侧壁上分别设有出口并连接有管道,所述的管道中安装有引风机,所述筛选箱底部安装有激振器。本实用新型在使用时通过激振器的振动,使面粉穿过相应的筛网,再通过引风机将不同腔室的面粉引出,就可得到不同粒度的面粉,提高了工作效率。According to Chinese Patent Publication No. CN204638519U, a flour grading and screening device is provided, which relates to the technical field of flour processing. It includes a screening box, a screen, a base, and a vibrator, and is characterized in that: a screening box is connected to the top of the base through a spring, and the upper end of the screening box is provided with a feeding port, and the inside of the screening box is from top to bottom Multi-layer screens are installed sequentially, and the inside of the screening box is divided into multiple screening chambers by the multi-layer screens. The side walls of each screening chamber are respectively provided with outlets and connected with pipelines. An induced draft fan is installed in the pipeline, and a vibrator is installed at the bottom of the screening box. When the utility model is in use, the flour passes through the corresponding sieve through the vibration of the exciter, and then the flour in different chambers is led out by the induced draft fan, so that flour with different particle sizes can be obtained, which improves the working efficiency.
上述专利拥有可得到不同粒度的面粉的效果,但是,整体装置的结构较为单一,整体装置的调节方式不够方便快捷,若有面粉结块较易影响过滤效果。The above-mentioned patent has the effect of obtaining flour with different particle sizes, but the structure of the overall device is relatively simple, and the adjustment method of the overall device is not convenient and fast, and if there is flour agglomeration, it is easy to affect the filtering effect.
实用新型内容Utility model content
本实用新型的目的是提供一种面粉分级筛选装置,具有便于调节,减少面粉结块影响过滤效果,加强过滤与分类的效果。The purpose of the utility model is to provide a flour grading and screening device, which is convenient for adjustment, reduces the influence of flour agglomeration on the filtering effect, and strengthens the effect of filtering and classification.
本实用新型的上述技术目的是通过以下技术方案得以实现的:一种面粉分级筛选装置,包括筛箱,所述筛箱的内壁固定连接有第一筛网,所述第一筛网的底部固定连接有排管,所述筛箱的内壁固定连接有支板,所述支板的顶部固定连接有气缸,所述气缸的输出端固定连接有第一伸缩杆,所述第一伸缩杆的顶部固定连接有弹力球,所述筛箱的内壁设置有第二筛网,所述第二筛网的底部设置有振动电机,所述筛箱的内壁固定连接有承接架。The above-mentioned technical purpose of the utility model is achieved through the following technical solutions: a flour grading and screening device, comprising a sieve box, the inner wall of the sieve box is fixedly connected with a first screen, and the bottom of the first screen is fixed A row pipe is connected, the inner wall of the screen box is fixedly connected with a support plate, the top of the support plate is fixedly connected with a cylinder, the output end of the cylinder is fixedly connected with a first telescopic rod, and the top of the first telescopic rod An elastic ball is fixedly connected, the inner wall of the screen box is provided with a second screen, the bottom of the second screen is provided with a vibration motor, and the inner wall of the screen box is fixedly connected with a receiving frame.
通过采用上述技术方案,工作人员将面粉投入筛箱,第一筛网为弹性网,工作人员驱动气缸控制伸缩杆带动弹力球对第一筛网进行击打,从而使第一筛网对面粉进行过滤,第一筛网设置为倾斜面,第一级颗粒的面粉滞留在第一筛网上,从排管排出,过滤后的面粉通过第一筛网降落至第二筛网上,通过驱动振动电机带动第二筛网振动,从而加强过滤效果,第三级颗粒的面粉通过第二筛网上的过滤网降落至承接架上。By adopting the above technical scheme, the staff puts the flour into the sieve box, the first screen is an elastic net, and the staff drives the cylinder to control the telescopic rod to drive the elastic ball to hit the first screen, so that the first screen can carry out the flour Filtration, the first sieve is set as an inclined surface, the flour of the first grade particles stays on the first sieve, and is discharged from the discharge pipe, the filtered flour falls through the first sieve to the second sieve, and is driven by the vibrating motor The second sieve vibrates, thereby enhancing the filtering effect, and the flour of the third grade particles falls to the receiving frame through the filter on the second sieve.
本实用新型的进一步设置为:所述第二筛网的底部固定连接有第二排管,所述承接架的底部固定连接有第三排管。The utility model is further configured as follows: the bottom of the second screen is fixedly connected with a second row of pipes, and the bottom of the receiving frame is fixedly connected with a third row of pipes.
通过采用上述技术方案,第二级颗粒的面粉滞留在第二筛网从第二排管排出,第三级颗粒的面粉从承接架上的第三排管排出,排管、第二排管和第三排管的管口处分别放置有承接桶,便于拿取,提升整体装置的灵活性,便于调节,提升整体装置的工作效率,节省人力成本和工作时间,加强过滤便于分类,提升整体装置的工作效能。By adopting the above technical scheme, the flour of the second-level particles stays in the second sieve and is discharged from the second row of pipes, and the flour of the third-level particles is discharged from the third row of pipes on the receiving frame. The row of pipes, the second row of pipes and the There are receiving barrels at the nozzles of the third row of pipes, which are easy to take, improve the flexibility of the overall device, facilitate adjustment, improve the working efficiency of the overall device, save labor costs and working hours, strengthen filtration and facilitate classification, and improve the overall device work efficiency.
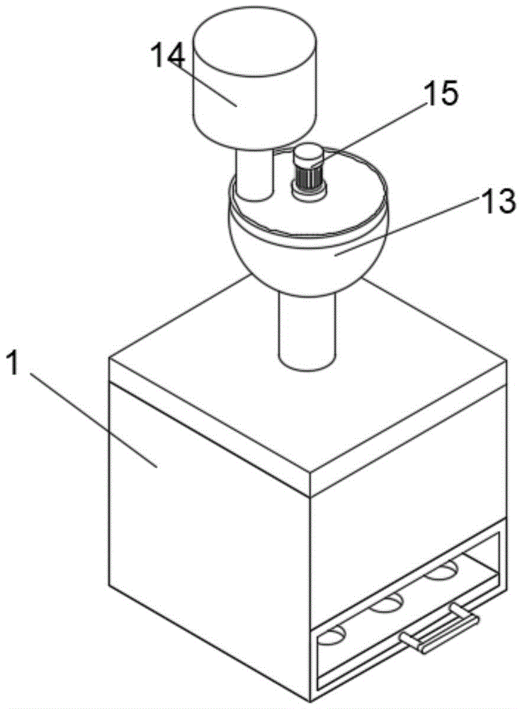
本实用新型的进一步设置为:所述筛箱的顶部设置有投放架,所述投放架的顶部插接有灌粉桶。The utility model is further set as: the top of the sieve box is provided with a feeding rack, and the top of the feeding rack is plugged with a powder filling bucket.
通过采用上述技术方案,灌粉桶便于对投放架进行面粉投放,提升整体装置的便捷度。By adopting the above-mentioned technical scheme, the powder filling bucket is convenient for feeding flour into the feeding rack, and the convenience of the overall device is improved.
本实用新型的进一步设置为:所述投放架的顶部设置有第二气缸,所述第二气缸的输出端固定连接有第二伸缩杆,所述第二伸缩杆的底端贯穿投放架固定连接有支架,所述支架的外表面设置有第二弹力球。The utility model is further set as: the top of the release rack is provided with a second cylinder, the output end of the second cylinder is fixedly connected with a second telescopic rod, and the bottom end of the second telescopic rod is fixedly connected through the release rack There is a bracket, and the outer surface of the bracket is provided with a second elastic ball.
通过采用上述技术方案,工作人员驱动第二气缸带动伸缩杆控制支架下降和上移,从而带动第二弹力球上下弹动,从而对进入投放架内的面粉进行击打,减少面粉结块影响过滤效果,提升整体装置的便捷度,加强整体装置的灵活性,提升整体装置的工作效能。By adopting the above-mentioned technical scheme, the staff drives the second cylinder to drive the telescopic rod to control the lowering and upward movement of the bracket, thereby driving the second elastic ball to bounce up and down, thereby hitting the flour entering the feeding rack, reducing the impact of flour agglomeration on filtration Effect, improve the convenience of the overall device, strengthen the flexibility of the overall device, and improve the working efficiency of the overall device.
本实用新型的进一步设置为:所述第二筛网的外表面固定连接有支撑杆,所述支撑杆的顶部固定连接有调节球。The utility model is further configured as follows: the outer surface of the second screen is fixedly connected with a support rod, and the top of the support rod is fixedly connected with an adjustment ball.
通过采用上述技术方案,支撑杆加强对调节球的固定与连接。By adopting the above technical solution, the support rod strengthens the fixing and connection of the adjusting ball.
本实用新型的进一步设置为:所述调节球的内部设置有空腔,所述调节球的内壁固定连接有电机,所述电机的输出端固定连接有转轴,所述转轴的另一端固定连接有扫架,所述扫架的外表面与调节球转动连接。The utility model is further set as: the interior of the adjusting ball is provided with a cavity, the inner wall of the adjusting ball is fixedly connected with a motor, the output end of the motor is fixedly connected with a rotating shaft, and the other end of the rotating shaft is fixedly connected with a The sweeping frame, the outer surface of the sweeping frame is rotatably connected with the adjusting ball.
通过采用上述技术方案,工作人员驱动电机带动转轴控制扫架扫动,减少面粉堵塞第二筛网,加强过滤和面粉的排出,提升整体装置的工作效率。By adopting the above technical solution, the staff drives the motor to drive the rotating shaft to control the sweeping of the sweeping frame, reducing the flour blocking the second screen, strengthening the filtration and flour discharge, and improving the working efficiency of the overall device.
本实用新型的有益效果是:The beneficial effects of the utility model are:
1、本实用新型,通过筛箱、第一筛网、排管、支板、气缸、第一伸缩杆、弹力球、第二筛网、振动电机和承接架之间的配合设置,能够使得本装置在使用时,工作人员将面粉投入筛箱,第一筛网为弹性网,工作人员驱动气缸控制伸缩杆带动弹力球对第一筛网进行击打,从而使第一筛网对面粉进行过滤,第一筛网设置为倾斜面,第一级颗粒的面粉滞留在第一筛网上,从排管排出,过滤后的面粉通过第一筛网降落至第二筛网上,通过驱动振动电机带动第二筛网振动,从而加强过滤效果,第三级颗粒的面粉通过第二筛网上的过滤网降落至承接架上,第二级颗粒的面粉滞留在第二筛网从第二排管排出,第三级颗粒的面粉从承接架上的第三排管排出,排管、第二排管和第三排管的管口处分别放置有承接桶,便于拿取,提升整体装置的灵活性,便于调节,提升整体装置的工作效率,节省人力成本和工作时间,加强过滤便于分类,提升整体装置的工作效能。1. In the present utility model, through the cooperative setting among the screen box, the first screen, the row pipe, the support plate, the cylinder, the first telescopic rod, the elastic ball, the second screen, the vibration motor and the receiving frame, the present invention can be made When the device is in use, the staff puts the flour into the sieve box, the first screen is an elastic net, and the staff drives the cylinder to control the telescopic rod to drive the elastic ball to hit the first screen, so that the first screen can filter the flour , the first sieve is set as an inclined surface, the flour of the first grade particles stays on the first sieve and is discharged from the discharge pipe, the filtered flour falls through the first sieve to the second sieve, and the second sieve is driven by driving the vibrating motor The second sieve vibrates to enhance the filtering effect. The flour of the third grade particles falls to the receiving frame through the filter mesh on the second sieve, and the flour of the second grade particles stays in the second sieve and is discharged from the second row of pipes. The flour of the tertiary particles is discharged from the third row of pipes on the receiving frame, and the nozzles of the row, second and third rows of pipes are respectively placed with receiving buckets, which are easy to take, improve the flexibility of the overall device, and facilitate Adjustment improves the working efficiency of the overall device, saves labor costs and working hours, strengthens filtration for easy classification, and improves the working efficiency of the overall device.
2、本实用新型,通过投放架、灌粉桶、第二气缸、第二伸缩杆、支架和弹力球之间的配合设置,能够使得本装置在使用时,工作人员驱动第二气缸带动伸缩杆控制支架下降和上移,从而带动第二弹力球上下弹动,从而对进入投放架内的面粉进行击打,减少面粉结块影响过滤效果,提升整体装置的便捷度,加强整体装置的灵活性,提升整体装置的工作效能。2. In this utility model, through the cooperative arrangement among the feeding frame, the powder filling bucket, the second cylinder, the second telescopic rod, the bracket and the elastic ball, the staff can drive the second cylinder to drive the telescopic rod when the device is in use. Control the lowering and upward movement of the bracket, thereby driving the second elastic ball to bounce up and down, so as to hit the flour entering the delivery rack, reduce the impact of flour agglomeration on the filtering effect, improve the convenience of the overall device, and enhance the flexibility of the overall device , to improve the working efficiency of the overall device.
附图说明Description of drawings
为了更清楚地说明本实用新型实施例中的技术方案,下面将对实施例描述中所需要使用的附图作简单地介绍,显而易见地,下面描述中的附图仅仅是本实用新型的一些实施例,对于本领域普通技术人员来讲,在不付出创造性劳动的前提下,还可以根据这些附图获得其他的附图。In order to more clearly illustrate the technical solutions in the embodiments of the present invention, the accompanying drawings that need to be used in the description of the embodiments will be briefly introduced below. Obviously, the accompanying drawings in the following description are only some implementations of the present invention. For example, those of ordinary skill in the art can also obtain other drawings based on these drawings on the premise of not paying creative efforts.
图1为本实用新型结构示意图;Fig. 1 is the structural representation of the utility model;
图2为本实用新型投放架结构示意图;Fig. 2 is a structural schematic diagram of the utility model delivery rack;
图3为本实用新型筛箱结构示意图;Fig. 3 is the utility model screen box structural representation;
图4为本实用新型调节球结构示意图。Fig. 4 is a schematic diagram of the structure of the adjusting ball of the present invention.
图中,1、筛箱;2、第一筛网;3、排管;4、支板;5、气缸;6、第一伸缩杆;7、弹力球;8、第二筛网;9、振动电机;10、承接架;11、第二排管;12、第三排管;13、投放架;14、灌粉桶;15、第二气缸;16、第二伸缩杆;17、支架;18、第二弹力球;19、支撑杆;20、调节球;21、电机;22、转轴;23、扫架。In the figure, 1. screen box; 2. first screen; 3. row pipe; 4. support plate; 5. cylinder; 6. first telescopic rod; 7. elastic ball; 8. second screen; 9. Vibration motor; 10, receiving frame; 11, second row of pipes; 12, third row of pipes; 13, release rack; 14, powder filling bucket; 15, second cylinder; 16, second telescopic rod; 17, bracket; 18, the second elastic ball; 19, the support rod; 20, the adjustment ball; 21, the motor; 22, the rotating shaft; 23, the sweeping frame.
具体实施方式Detailed ways
下面将结合具体实施例对本实用新型的技术方案进行清楚、完整地描述。显然,所描述的实施例仅仅是本实用新型的一部分实施例,而不是全部的实施例。基于本实用新型的实施例,本领域普通技术人员在没有作出创造性劳动前提下所获得的所有其他实施例,都属于本实用新型保护的范围。The technical solutions of the present utility model will be clearly and completely described below in conjunction with specific embodiments. Apparently, the described embodiments are only some of the embodiments of the present invention, but not all of them. Based on the embodiments of the present utility model, all other embodiments obtained by persons of ordinary skill in the art without making creative efforts belong to the scope of protection of the present utility model.
参照图1-4,一种面粉分级筛选装置,包括筛箱1,筛箱1的内壁固定连接有第一筛网2,第一筛网2的底部固定连接有排管3,筛箱1的内壁固定连接有支板4,支板4的顶部固定连接有气缸5,气缸5的输出端固定连接有第一伸缩杆6,第一伸缩杆6的顶部固定连接有弹力球7,筛箱1的内壁设置有第二筛网8,第二筛网8的底部设置有振动电机9,筛箱1的内壁固定连接有承接架10,第二筛网8的底部固定连接有第二排管11,承接架10的底部固定连接有第三排管12,工作人员将面粉投入筛箱1,第一筛网2为弹性网,工作人员驱动气缸5控制第一伸缩杆6带动弹力球7对第一筛网2进行击打,从而使第一筛网2对面粉进行过滤,第一筛网2设置为倾斜面,第一级颗粒的面粉滞留在第一筛网2上,从排管3排出,过滤后的面粉通过第一筛网2降落至第二筛网8上,通过驱动振动电机9带动第二筛网8振动,从而加强过滤效果,第三级颗粒的面粉通过第二筛网8上的过滤网降落至承接架10上,第二级颗粒的面粉滞留在第二筛网8从第二排管11排出,第三级颗粒的面粉从承接架10上的第三排管12排出,排管3、第二排管11和第三排管12的管口处分别放置有承接桶,便于拿取,提升整体装置的灵活性,便于调节,提升整体装置的工作效率,节省人力成本和工作时间,加强过滤便于分类,提升整体装置的工作效能,筛箱1的顶部设置有投放架13,投放架13的顶部插接有灌粉桶14,投放架13的顶部设置有第二气缸15,第二气缸15的输出端固定连接有第二伸缩杆16,第二伸缩杆16的底端贯穿投放架13固定连接有支架17,支架17的外表面设置有第二弹力球18,第二筛网8的外表面固定连接有支撑杆19,支撑杆19的顶部固定连接有调节球20,调节球20的内部设置有空腔,调节球20的内壁固定连接有电机21,电机21的输出端固定连接有转轴22,转轴22的另一端固定连接有扫架23,扫架23的外表面与调节球20转动连接,工作人员驱动第二气缸15带动第二伸缩杆16控制支架17下降和上移,从而带动第二弹力球18上下弹动,从而对进入投放架13内的面粉进行击打,减少面粉结块影响过滤效果,提升整体装置的便捷度,加强整体装置的灵活性,提升整体装置的工作效能。Referring to Figures 1-4, a flour grading and screening device includes a
本实用新型中,通过筛箱1、第一筛网2、排管3、支板4、气缸5、第一伸缩杆6、弹力球7、第二筛网8、振动电机9和承接架10之间的配合设置,能够使得本装置在使用时,工作人员将面粉投入筛箱1,第一筛网2为弹性网,工作人员驱动气缸5控制第一伸缩杆6带动弹力球7对第一筛网2进行击打,从而使第一筛网2对面粉进行过滤,第一筛网2设置为倾斜面,第一级颗粒的面粉滞留在第一筛网2上,从排管3排出,过滤后的面粉通过第一筛网2降落至第二筛网8上,通过驱动振动电机9带动第二筛网8振动,从而加强过滤效果,第三级颗粒的面粉通过第二筛网8上的过滤网降落至承接架10上,第二级颗粒的面粉滞留在第二筛网8从第二排管11排出,第三级颗粒的面粉从承接架10上的第三排管12排出,排管3、第二排管11和第三排管12的管口处分别放置有承接桶,便于拿取,提升整体装置的灵活性,便于调节,提升整体装置的工作效率,节省人力成本和工作时间,加强过滤便于分类,提升整体装置的工作效能,通过投放架13、灌粉桶14、第二气缸15、第二伸缩杆16、支架17和弹力球18之间的配合设置,能够使得本装置在使用时,工作人员驱动第二气缸15带动第二伸缩杆16控制支架17下降和上移,从而带动第二弹力球18上下弹动,从而对进入投放架13内的面粉进行击打,减少面粉结块影响过滤效果,提升整体装置的便捷度,加强整体装置的灵活性,提升整体装置的工作效能。In the utility model, through the
尽管已经示出和描述了本实用新型的实施例,对于本领域的普通技术人员而言,可以理解在不脱离本实用新型的原理和精神的情况下可以对这些实施例进行多种变化、修改、替换和变型,本实用新型的范围由所附权利要求及其等同物限定。Although the embodiments of the present invention have been shown and described, those skilled in the art can understand that various changes and modifications can be made to these embodiments without departing from the principle and spirit of the present invention , replacements and modifications, the scope of the present utility model is defined by the appended claims and their equivalents.
Claims (6)
Priority Applications (1)
| Application Number | Priority Date | Filing Date | Title |
|---|---|---|---|
| CN202223149792.8U CN218902612U (en) | 2022-11-24 | 2022-11-24 | A flour grading and screening device |
Applications Claiming Priority (1)
| Application Number | Priority Date | Filing Date | Title |
|---|---|---|---|
| CN202223149792.8U CN218902612U (en) | 2022-11-24 | 2022-11-24 | A flour grading and screening device |
Publications (1)
| Publication Number | Publication Date |
|---|---|
| CN218902612U true CN218902612U (en) | 2023-04-25 |
Family
ID=86039268
Family Applications (1)
| Application Number | Title | Priority Date | Filing Date |
|---|---|---|---|
| CN202223149792.8U Expired - Fee Related CN218902612U (en) | 2022-11-24 | 2022-11-24 | A flour grading and screening device |
Country Status (1)
| Country | Link |
|---|---|
| CN (1) | CN218902612U (en) |
-
2022
- 2022-11-24 CN CN202223149792.8U patent/CN218902612U/en not_active Expired - Fee Related
Similar Documents
| Publication | Publication Date | Title |
|---|---|---|
| CN204974464U (en) | Cereal coarse classifier | |
| CN207288245U (en) | A kind of dedusting mechanical equipment for seed | |
| CN212018188U (en) | A kind of grain winnowing vibrating screen | |
| CN210816249U (en) | Seed grading and screening device for agriculture | |
| CN206763371U (en) | A kind of oscillating grain-screening machine for being used to clean | |
| CN215784936U (en) | Dual-purpose classifying and screening device for peanuts and peanuts | |
| CN218902612U (en) | A flour grading and screening device | |
| CN206689022U (en) | A kind of wind riddling fanning mill for seed | |
| CN212238197U (en) | Grain fermentation is with reciprocal formula cereal multi-stage screening processing mechanism that trembles | |
| CN211865795U (en) | Dust collector is used in wheat malt production | |
| CN210753793U (en) | Agricultural industry is with high-quality corn oscillating sieving mechanism | |
| CN209680539U (en) | A kind of vibration device for medicinal powder screening | |
| CN111097695B (en) | A wind screen type corn seed cleaning machine with double screen box function | |
| CN208373201U (en) | A kind of regeneration concrete utilizes device with scrap loop | |
| CN219187724U (en) | Soil sieve for soil testing | |
| CN214077130U (en) | Sieving mechanism is used in powder coating processing with multi-stage screening function | |
| CN210080051U (en) | Formula rice screening installation sways | |
| CN210477474U (en) | Multistage accurate partial shipment device of modified plastic granules | |
| CN210474602U (en) | Stone removing machine for corn cleaning | |
| CN210701144U (en) | Negative pressure air-selecting specific gravity machine | |
| CN206535752U (en) | A kind of suction specific-gravity stoner | |
| CN217748126U (en) | Gravity sorting equipment for bean seeds | |
| CN116586295B (en) | High-efficient grain vibration clearance sieve | |
| CN218691588U (en) | Stone removing machine for processing rice | |
| CN220879587U (en) | Multistage sieving mechanism of agricultural seed |
Legal Events
| Date | Code | Title | Description |
|---|---|---|---|
| GR01 | Patent grant | ||
| GR01 | Patent grant | ||
| CF01 | Termination of patent right due to non-payment of annual fee | ||
| CF01 | Termination of patent right due to non-payment of annual fee |
Granted publication date: 20230425 |
