CN218873047U - Metal raw ore conveying and cleaning device - Google Patents
Metal raw ore conveying and cleaning device Download PDFInfo
- Publication number
- CN218873047U CN218873047U CN202320476143.4U CN202320476143U CN218873047U CN 218873047 U CN218873047 U CN 218873047U CN 202320476143 U CN202320476143 U CN 202320476143U CN 218873047 U CN218873047 U CN 218873047U
- Authority
- CN
- China
- Prior art keywords
- water
- storage tank
- conveying
- mesh
- water storage
- Prior art date
- Legal status (The legal status is an assumption and is not a legal conclusion. Google has not performed a legal analysis and makes no representation as to the accuracy of the status listed.)
- Active
Links
- 238000004140 cleaning Methods 0.000 title claims abstract description 28
- 239000002184 metal Substances 0.000 title claims abstract description 18
- XLYOFNOQVPJJNP-UHFFFAOYSA-N water Substances O XLYOFNOQVPJJNP-UHFFFAOYSA-N 0.000 claims abstract description 75
- 235000017166 Bambusa arundinacea Nutrition 0.000 claims abstract description 17
- 235000017491 Bambusa tulda Nutrition 0.000 claims abstract description 17
- 241001330002 Bambuseae Species 0.000 claims abstract description 17
- 235000015334 Phyllostachys viridis Nutrition 0.000 claims abstract description 17
- 239000011425 bamboo Substances 0.000 claims abstract description 17
- 239000010865 sewage Substances 0.000 claims description 12
- 239000007921 spray Substances 0.000 claims description 5
- 238000007599 discharging Methods 0.000 claims description 3
- 239000007788 liquid Substances 0.000 claims description 3
- 230000000149 penetrating effect Effects 0.000 claims 1
- 238000005406 washing Methods 0.000 abstract description 13
- 238000011084 recovery Methods 0.000 abstract 1
- 238000000034 method Methods 0.000 description 4
- 239000002351 wastewater Substances 0.000 description 4
- 230000007547 defect Effects 0.000 description 3
- 230000000694 effects Effects 0.000 description 3
- 238000001914 filtration Methods 0.000 description 3
- 239000012535 impurity Substances 0.000 description 3
- 239000012634 fragment Substances 0.000 description 2
- 238000012986 modification Methods 0.000 description 2
- 230000004048 modification Effects 0.000 description 2
- 230000009286 beneficial effect Effects 0.000 description 1
- 238000010586 diagram Methods 0.000 description 1
- 238000005516 engineering process Methods 0.000 description 1
- 238000004880 explosion Methods 0.000 description 1
Images
Classifications
-
- Y—GENERAL TAGGING OF NEW TECHNOLOGICAL DEVELOPMENTS; GENERAL TAGGING OF CROSS-SECTIONAL TECHNOLOGIES SPANNING OVER SEVERAL SECTIONS OF THE IPC; TECHNICAL SUBJECTS COVERED BY FORMER USPC CROSS-REFERENCE ART COLLECTIONS [XRACs] AND DIGESTS
- Y02—TECHNOLOGIES OR APPLICATIONS FOR MITIGATION OR ADAPTATION AGAINST CLIMATE CHANGE
- Y02P—CLIMATE CHANGE MITIGATION TECHNOLOGIES IN THE PRODUCTION OR PROCESSING OF GOODS
- Y02P10/00—Technologies related to metal processing
- Y02P10/20—Recycling
Landscapes
- Cleaning By Liquid Or Steam (AREA)
Abstract
The utility model relates to the technical field of metal raw ore processing devices, in particular to a metal raw ore conveying and cleaning device, which comprises a supporting component, wherein the supporting component consists of a water storage tank and two top plates fixedly arranged on the water storage tank, a conveying component is arranged between the two top plates and comprises two rotating shafts, the two rotating shafts are connected through a mesh conveying belt, and the tail end of one rotating shaft is coaxially provided with a driving motor; be provided with the washing subassembly on the storage water tank, wash the subassembly and include the booster pump, the end of intaking of booster pump is provided with the inlet tube, and the outlet pipe that passes the roof is installed to the play water end of booster pump, installs two sets of water service pipes about installing on the outlet pipe, installs a plurality of shower nozzles on the water service pipe, and the hose is installed to the one end that the inlet tube stretched into the storage water tank, and the hose is kept away from inlet tube one end and is had a mesh section of thick bamboo, and the fixed surface of a mesh section of thick bamboo installs the filter screen. The utility model discloses can carry out comprehensive washing operation with water recovery, make the washing cleaner, facilitate the use.
Description
Technical Field
The utility model relates to a metal raw ore processingequipment technical field, specifically speaking relates to a metal raw ore transmits belt cleaning device.
Background
When carrying out the exploitation operation of metal raw ore, can use corresponding conveyer belt to carry out the transport operation of ore usually, reach the effect of using manpower sparingly, because in the exploitation of metal raw ore process, still be accompanied by a large amount of earth in the mountain body, and earth can adhere to on the ore, in order to reduce the purity that earth influences the ore, can generally carry out the cleaning operation to the ore at the in-process that the ore exploitation was carried.
Conventional belt cleaning device sets up the shower nozzle that corresponds in the top of conveyer belt support body directly generally when using, because the ore is placed on the conveyer belt, along with water from the shower nozzle after blowout, reach and expose outside the part to the first position of ore on the conveyer belt, the defect that can not wash the lower half position of ore exists, can cause to wash thoroughly inadequately to the ore, influences the cleaning performance, brings inconvenience for the user. In view of this, we propose a metal raw ore conveying and cleaning device.
SUMMERY OF THE UTILITY MODEL
An object of the utility model is to provide a metal raw ore transmits belt cleaning device to solve the not thorough defect inadequately of washing the ore that proposes among the above-mentioned background art.
In order to achieve the above purpose, the utility model provides a following technical scheme:
a metal raw ore conveying and cleaning device comprises a supporting assembly, wherein the supporting assembly consists of a water storage tank and two top plates, the water storage tank is horizontally arranged, the two top plates are mutually symmetrical and are respectively and fixedly installed on the top surfaces of plate bodies on the left side and the right side of the water storage tank, a conveying assembly is arranged between the two top plates, the conveying assembly comprises two rotating shafts, the two rotating shafts are mutually symmetrical and are rotatably connected with the two top plates, the two rotating shafts are connected through mesh conveying belts connected end to end, and the tail end of one rotating shaft is coaxially provided with a driving motor; be provided with on the storage water tank and wash the subassembly, it includes the booster pump to wash the subassembly, the end of intaking of booster pump is provided with and stretches into to inlet tube in the storage water tank, the outlet pipe fixed mounting of booster pump has the outlet pipe that passes the roof, fixed mounting has the water service pipe of two sets of mutual symmetries from top to bottom on the outlet pipe, and is two sets of the water service pipe is located respectively the upper and lower both sides of the upper portion area body of mesh conveyer belt, fixed mounting has a plurality of equidistant shower nozzles of arranging on the water service pipe.
Preferably, the shower nozzle that is located the below is used for from the bottom up washing operation, is located the top the shower nozzle is used for from the top down washing operation.
Preferably, a baffle plate for preventing water from flowing out is fixedly installed between the plate bodies at the rear end parts of the two top plates, and the height of the baffle plate cannot exceed the upper part of the mesh conveying belt.
Preferably, an inclined blanking plate inclining downwards by 15-30 degrees is fixedly mounted on the rear side wall of the water storage tank and used for slowing down debris from directly smashing into the water storage tank.
Preferably, a blanking hole is formed between the front side plate body of the inclined blanking plate and the front side wall of the water storage tank, so that the scraps and the dropped wastewater can enter the water storage tank along the blanking hole.
Preferably, a splash guard for preventing liquid from splashing is fixedly mounted on the top surface of the top plate.
Preferably, a drain pipe for discharging sewage outwards is fixedly installed on the bottom box body of the water storage tank, and a valve is fixedly installed on the drain pipe.
Preferably, the one end fixed mounting that the inlet tube stretched into the storage water tank has the hose, the one end fixed mounting that the inlet tube was kept away from to the hose has a mesh section of thick bamboo, the fixed surface of a mesh section of thick bamboo installs and is used for carrying out filterable filter screen to sewage, fixed mounting has the kickboard on the top barrel of a mesh section of thick bamboo, the kickboard is used for floating on the surface of water, is convenient for utilize a mesh section of thick bamboo and filter screen to realize carrying out filtering operation to waste water, and the kickboard floats on the surface of water, can avoid a mesh section of thick bamboo and sink the impurity contact of bottom.
Compared with the prior art, the beneficial effects of the utility model are that:
1. the utility model discloses a conveying subassembly and the washing subassembly that sets up, set up two sets of shower nozzles respectively in the upper and lower both sides of the upper portion area body of mesh conveyer belt, can realize going on down from the top and up washing operation from the bottom to the ore that is in on the mesh conveyer belt in the upper and lower both sides of mesh conveyer belt, it is more thorough to make to wash the ore, reach and wash more thorough effect, conventional belt cleaning device when using has been solved, generally directly set up the shower nozzle that corresponds in the top of conveyer belt support body, because the ore is placed on the conveyer belt, spout the back from the shower nozzle along with water, reach and expose outer part to the first half of the ore on the conveyer belt and carry out the washing operation, the defect that can not wash the lower half position of ore exists, can cause and wash thoroughly inadequately to the ore, influence the cleaning performance, bring inconvenient problem for the user.
2. The utility model discloses a storage water tank, mesh section of thick bamboo and the filter screen that sets up can realize in the cleaning process drippage to the storage water tank in the water filtration after continue to use again, reach the effect of water cycle use, facilitate the use.
Drawings
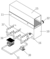
Fig. 1 is a schematic view of the overall structure of the present invention;
fig. 2 is a schematic diagram of the explosion structure of the present invention;
FIG. 3 is a schematic view of a part of the structure of the present invention;
FIG. 4 is a schematic structural view of the cleaning assembly of the present invention;
fig. 5 is a schematic view of the structure of the conveying belt and the water pipe of the present invention.
The meaning of the individual reference symbols in the figures is:
1. a support assembly; 10. a water storage tank; 11. a top plate; 12. a baffle plate; 13. inclining the blanking plate; 14. a blanking hole; 15. a splash guard; 16. a blow-off pipe; 161. a valve;
2. a delivery assembly; 20. a rotating shaft; 21. a mesh conveyor belt; 22. a drive motor;
3. cleaning the assembly; 30. a booster pump; 31. a water inlet pipe; 32. a hose; 33. a mesh cylinder; 34. a filter screen; 35. a floating plate; 36. a water outlet pipe; 37. a water pipe; 38. and (4) a spray head.
Detailed Description
The technical solutions in the embodiments of the present invention will be described clearly and completely with reference to the accompanying drawings in the embodiments of the present invention, and it is obvious that the described embodiments are only some embodiments of the present invention, not all embodiments. Based on the embodiments in the present invention, all other embodiments obtained by a person skilled in the art without creative work belong to the protection scope of the present invention.
Referring to fig. 1-5, the present invention provides a technical solution: a metal raw ore conveying and cleaning device comprises a supporting component 1, wherein the supporting component 1 consists of a water storage tank 10 and two top plates 11 which are arranged in a horizontal shape and are symmetrical to each other and are respectively and fixedly installed on the top surfaces of plate bodies on the left side and the right side of the water storage tank 10, a conveying component 2 is arranged between the two top plates 11, the conveying component 2 comprises two rotating shafts 20 which are symmetrical to each other and are rotatably connected with the two top plates 11, the two rotating shafts 20 are connected through mesh conveying belts 21 which are connected end to end, the mesh conveying belts 21 are in a mesh belt body structure, a driving motor 22 is coaxially arranged at the tail end of one rotating shaft 20, the rotating shaft 20 is fixedly installed at the tail end of an output shaft of the driving motor 22, and the driving motor 22 is fixedly installed on the top plates 11, so that when the device is used, the driving motor 22 can be used for working to drive the mesh conveying belts 21 to rotate to carry out ore conveying operation;
specifically, be provided with on the storage water tank 10 and wash subassembly 3, it includes booster pump 30 to wash subassembly 3, booster pump 30's the end of intaking is provided with the inlet tube 31 that stretches into to the storage water tank 10 in, booster pump 30's outlet end fixed mounting has the outlet pipe 36 that passes roof 11, two sets of mutual symmetry's water service pipe 37 about fixed mounting is gone up to outlet pipe 36, two sets of water service pipe 37 are located the upper and lower both sides of the upper portion area body of mesh conveyer belt 21 respectively, fixed mounting has a plurality of equidistant arrangement's shower nozzle 38 on the water service pipe 37, the shower nozzle 38 that is located the below is used for from up the operation of washing down, the shower nozzle 38 that is located the top is used for from the last operation of washing down, the messenger can carry out comprehensive cleaning operation to the ore, reach better cleaning performance.
In this embodiment, a baffle 12 for preventing water from flowing out during the washing process is fixedly installed between the rear end plate bodies of the two top plates 11, and the height of the baffle 12 cannot exceed the upper belt body of the mesh conveyor belt 21.
Specifically, an inclined blanking plate 13 which inclines downwards by 15 degrees to 30 degrees is fixedly installed on the rear side wall of the water storage tank 10, small fragments can fall from through holes in the mesh conveying belt 21 because the mesh conveying belt 21 is in a mesh belt shape, and the inclined blanking plate 13 is used for slowing down the fragments from directly smashing and falling into the water storage tank 10.
Furthermore, a blanking hole 14 is formed between the front side plate body of the inclined blanking plate 13 and the front side wall of the water storage tank 10, so that the debris and the dropped wastewater can enter the water storage tank 10 along the blanking hole 14.
In addition, a splash guard 15 for preventing liquid from splashing in the cleaning process is fixedly arranged on the top surface of the top plate 11; a sewage discharge pipe 16 for discharging sewage outwards is fixedly arranged on the bottom box body of the water storage tank 10, and a valve 161 is fixedly arranged on the sewage discharge pipe 16, so that the valve 161 can be opened conveniently, and the sewage and the debris can be discharged outwards along the sewage discharge pipe 16.
It is worth explaining, the one end fixed mounting that inlet tube 31 stretches into storage water tank 10 has hose 32, the one end fixed mounting that inlet tube 31 was kept away from to hose 32 has a mesh section of thick bamboo 33, the fixed surface of mesh section of thick bamboo 33 installs and is used for carrying out filterable filter screen 34 to sewage, fixed mounting has kickboard 35 on the top barrel of mesh section of thick bamboo 33, kickboard 35 is used for floating on the surface of water, be convenient for utilize mesh section of thick bamboo 33 and filter screen 34 to realize carrying out filtering operation to waste water, and kickboard 35 floats on the surface of water, can avoid mesh section of thick bamboo 33 and the impurity contact of sinking the bottom, avoid the impurity of sinking the bottom to block up mesh section of thick bamboo 33.
It should be noted that the driving motor 22 and the booster pump 30 in this embodiment are conventional technologies, and will not be described herein.
When the metal raw ore conveying and cleaning device is used, the valve 161 is closed, a proper amount of water is added into the water storage tank 10, then the driving motor 22 is connected with an external power supply and works, the driving motor 22 works, an output shaft on the driving motor rotates to drive the rotating shaft 20 to rotate, the rotating shaft 20 rotates to drive the mesh conveying belt 21 to rotate, and the ore on the mesh conveying belt 21 is continuously conveyed forwards;
in addition, the booster pump 30 is connected with an external power supply and works, the booster pump 30 works to realize that water in the water storage tank 10 is filtered by the filter screen 34 and then is conveyed to the spray heads 38 to be sprayed out, and the upper spray head and the lower spray head 38 can wash ores on the mesh conveyer belt 21 from the top to the bottom and from the bottom to the top, so that the washing is more thorough and convenient to use.
The foregoing shows and describes the general principles, essential features, and advantages of the invention. It should be understood by those skilled in the art that the present invention is not limited by the above embodiments, and the description in the above embodiments and the description is only the preferred embodiments of the present invention, and is not intended to limit the present invention, and that there may be various changes and modifications without departing from the spirit and scope of the present invention, and these changes and modifications all fall within the scope of the present invention as claimed. The scope of the invention is defined by the appended claims and equivalents thereof.
Claims (5)
1. The utility model provides a metal raw ore conveying belt cleaning device, includes supporting component (1), its characterized in that: the supporting assembly (1) consists of a water storage tank (10) which is arranged horizontally and two top plates (11) which are symmetrical to each other and are respectively fixedly installed on the top surfaces of plate bodies on the left side and the right side of the water storage tank (10), a conveying assembly (2) is arranged between the two top plates (11), the conveying assembly (2) comprises two rotating shafts (20) which are symmetrical to each other and are rotatably connected with the two top plates (11), the two rotating shafts (20) are connected through mesh conveying belts (21) which are connected end to end, and the tail end of one rotating shaft (20) is coaxially provided with a driving motor (22); the cleaning device is characterized in that a cleaning component (3) is arranged on the water storage tank (10), the cleaning component (3) comprises a booster pump (30), a water inlet pipe (31) extending into the water storage tank (10) is arranged at a water inlet end of the booster pump (30), a water outlet pipe (36) penetrating through the top plate (11) is fixedly arranged at a water outlet end of the booster pump (30), an upper group and a lower group of water service pipes (37) which are symmetrical to each other are fixedly arranged on the water outlet pipe (36), the two groups of water service pipes (37) are respectively positioned on the upper side and the lower side of the upper part of the mesh conveyor belt (21), and a plurality of spray heads (38) which are arranged at equal intervals are fixedly arranged on the water service pipes (37); an inclined blanking plate (13) inclining downwards by 15-30 degrees is fixedly mounted on the rear side wall of the water storage tank (10), and the inclined blanking plate (13) is used for slowing down debris from being directly smashed into the water storage tank (10); and a blanking hole (14) is formed between the front side plate body of the inclined blanking plate (13) and the front side wall of the water storage tank (10).
2. The metal run conveying and cleaning apparatus of claim 1, wherein: two fixed mounting has baffle (12) that are used for preventing the water outflow between the rear end plate body of roof (11), the upper portion area body of mesh conveyer belt (21) can not surpassed to the height of baffle (12).
3. The metal run conveying and cleaning apparatus of claim 1, wherein: and a splash guard (15) for preventing liquid from splashing is fixedly arranged on the top surface of the top plate (11).
4. The metal run conveying and cleaning apparatus of claim 1, wherein: a sewage discharge pipe (16) for discharging sewage outwards is fixedly arranged on the bottom box body of the water storage tank (10), and a valve (161) is fixedly arranged on the sewage discharge pipe (16).
5. The metal run conveying and cleaning apparatus of claim 1, wherein: one end fixed mounting that inlet tube (31) stretched into storage water tank (10) has hose (32), the one end fixed mounting that inlet tube (31) were kept away from in hose (32) has a mesh section of thick bamboo (33), the fixed surface of mesh section of thick bamboo (33) installs and is used for carrying out filterable filter screen (34) to sewage, fixed mounting has kickboard (35) on the top barrel of mesh section of thick bamboo (33), kickboard (35) are used for floating on the surface of water.
Priority Applications (1)
| Application Number | Priority Date | Filing Date | Title |
|---|---|---|---|
| CN202320476143.4U CN218873047U (en) | 2023-03-14 | 2023-03-14 | Metal raw ore conveying and cleaning device |
Applications Claiming Priority (1)
| Application Number | Priority Date | Filing Date | Title |
|---|---|---|---|
| CN202320476143.4U CN218873047U (en) | 2023-03-14 | 2023-03-14 | Metal raw ore conveying and cleaning device |
Publications (1)
| Publication Number | Publication Date |
|---|---|
| CN218873047U true CN218873047U (en) | 2023-04-18 |
Family
ID=85941237
Family Applications (1)
| Application Number | Title | Priority Date | Filing Date |
|---|---|---|---|
| CN202320476143.4U Active CN218873047U (en) | 2023-03-14 | 2023-03-14 | Metal raw ore conveying and cleaning device |
Country Status (1)
| Country | Link |
|---|---|
| CN (1) | CN218873047U (en) |
Cited By (1)
| Publication number | Priority date | Publication date | Assignee | Title |
|---|---|---|---|---|
| CN117068635A (en) * | 2023-08-30 | 2023-11-17 | 靖安县宏发石料有限责任公司 | A safe transportation device for mining gravel and its transportation method |
-
2023
- 2023-03-14 CN CN202320476143.4U patent/CN218873047U/en active Active
Cited By (1)
| Publication number | Priority date | Publication date | Assignee | Title |
|---|---|---|---|---|
| CN117068635A (en) * | 2023-08-30 | 2023-11-17 | 靖安县宏发石料有限责任公司 | A safe transportation device for mining gravel and its transportation method |
Similar Documents
| Publication | Publication Date | Title |
|---|---|---|
| CN108856093B (en) | Water-saving efficient ore cleaning equipment | |
| CN107874287A (en) | A kind of agricultural byproducts processing bubble washer | |
| CN218873047U (en) | Metal raw ore conveying and cleaning device | |
| CN215958215U (en) | Red date sprays belt cleaning device | |
| CN2910324Y (en) | Micro solid/liquid separator | |
| CN221183949U (en) | Water-saving vibrating ore washer | |
| CN210586077U (en) | Hardware sheet cleaning device | |
| CN209594696U (en) | A kind of high pressure water streaming green walnut decortication cleaning-drying all-in-one machine | |
| CN209901845U (en) | Coal washer | |
| CN112125446A (en) | Tap water purification sedimentation tank and purification method thereof | |
| CN112246007A (en) | Desanding and purifying equipment for constructional engineering | |
| CN217520335U (en) | Device for improving cleaning effect of high-efficiency heat exchange tube | |
| CN217791384U (en) | Waxberry cleaning device for waxberry juice processing | |
| CN212703274U (en) | Cell-phone camera lens belt cleaning device | |
| CN213612894U (en) | Fluorite powder production device capable of pretreating raw materials | |
| CN213407923U (en) | Special dirt separator of sewage preliminary treatment | |
| CN110153076B (en) | Full-automatic cleaning device for realgar ore pulverizer | |
| CN209683297U (en) | A kind of CNC finishing impression equipment central fluid supply cold supply system | |
| CN217797719U (en) | Cleaning equipment | |
| CN216970872U (en) | Convenient vermicelli conveying device | |
| CN221069636U (en) | Material conveying equipment for ferrous metal smelting | |
| CN217550607U (en) | Belt cleaning device is used in black tea processing | |
| CN222239132U (en) | Environment-friendly water-saving equipment | |
| CN214047496U (en) | Pulp removes hair equipment | |
| CN218433903U (en) | Light material continuous automatic clearing device for mine stripping material |
Legal Events
| Date | Code | Title | Description |
|---|---|---|---|
| GR01 | Patent grant | ||
| GR01 | Patent grant |