CN218867875U - Distribution is wiring right angle type corner crane span structure for engineering - Google Patents
Distribution is wiring right angle type corner crane span structure for engineering Download PDFInfo
- Publication number
- CN218867875U CN218867875U CN202222974509.9U CN202222974509U CN218867875U CN 218867875 U CN218867875 U CN 218867875U CN 202222974509 U CN202222974509 U CN 202222974509U CN 218867875 U CN218867875 U CN 218867875U
- Authority
- CN
- China
- Prior art keywords
- corner bridge
- limit
- adjustment seat
- power distribution
- wires
- Prior art date
- Legal status (The legal status is an assumption and is not a legal conclusion. Google has not performed a legal analysis and makes no representation as to the accuracy of the status listed.)
- Active
Links
- 238000012423 maintenance Methods 0.000 abstract description 3
- 238000010586 diagram Methods 0.000 description 3
- 238000003780 insertion Methods 0.000 description 2
- 230000037431 insertion Effects 0.000 description 2
- 238000000034 method Methods 0.000 description 2
- 230000000712 assembly Effects 0.000 description 1
- 238000000429 assembly Methods 0.000 description 1
- 238000005452 bending Methods 0.000 description 1
- 230000009286 beneficial effect Effects 0.000 description 1
- 238000010276 construction Methods 0.000 description 1
- 230000000694 effects Effects 0.000 description 1
- 230000005611 electricity Effects 0.000 description 1
- 238000009434 installation Methods 0.000 description 1
Images
Classifications
-
- Y—GENERAL TAGGING OF NEW TECHNOLOGICAL DEVELOPMENTS; GENERAL TAGGING OF CROSS-SECTIONAL TECHNOLOGIES SPANNING OVER SEVERAL SECTIONS OF THE IPC; TECHNICAL SUBJECTS COVERED BY FORMER USPC CROSS-REFERENCE ART COLLECTIONS [XRACs] AND DIGESTS
- Y02—TECHNOLOGIES OR APPLICATIONS FOR MITIGATION OR ADAPTATION AGAINST CLIMATE CHANGE
- Y02E—REDUCTION OF GREENHOUSE GAS [GHG] EMISSIONS, RELATED TO ENERGY GENERATION, TRANSMISSION OR DISTRIBUTION
- Y02E10/00—Energy generation through renewable energy sources
- Y02E10/50—Photovoltaic [PV] energy
Landscapes
- Details Of Indoor Wiring (AREA)
Abstract
本实用新型涉及一种配电工程用布线直角型拐角桥架,包括拐角桥架,以及拐角桥架顶部安装的盖板,所述拐角桥架的底部内壁安装有两个固定组件和两个限位板,且两个固定组件和两个限位板均为对称设置;本方案通过电线穿过U形槽后,转动转板卡进顶块进行限位,防止转板被顶起,可将线压的更紧,转动转块使螺纹柱插入到限位口的底部,防止转板脱离顶块,电线通过调节座处进行固定,调节座可在横杆上滑动达到合适的位置时通过限位螺母固定,电线走线顺滑;电线经过导线槽时,可保证线的有序排列,卡条具有弹性,可将电线卡住防止翘起,使走线较为美观,比较整洁不会弯折可减少电路出现问题的风险,检修时也比较方便查找。
The utility model relates to a wiring right-angle type corner bridge frame for power distribution engineering, comprising a corner bridge frame and a cover plate installed on the top of the corner bridge frame, two fixing components and two limit plates are installed on the bottom inner wall of the corner bridge frame, and The two fixed components and the two limit plates are symmetrically arranged; in this scheme, after the wire passes through the U-shaped groove, the turning plate is clamped into the top block to limit the position, preventing the rotating plate from being lifted up, and the wire can be pressed more Tighten, turn the rotary block to insert the threaded column into the bottom of the limit port, prevent the rotary plate from detaching from the top block, and fix the wire through the adjustment seat. The wires are routed smoothly; when the wires pass through the wire groove, the orderly arrangement of the wires can be ensured, and the clip is elastic, which can hold the wires to prevent warping, so that the wires are more beautiful, neat and will not bend, which can reduce the occurrence of circuits The risk of the problem is also more convenient to find during maintenance.
Description
技术领域technical field
本实用新型涉及桥架的技术领域,尤其是涉及一种配电工程用布线直角型拐角桥架。The utility model relates to the technical field of bridge frames, in particular to a wiring right-angle corner bridge frame for power distribution engineering.
背景技术Background technique
在很多工程的建设过程中,需要通电以方便机器运行,所以在工程启动时,配电是非常重要的一环。During the construction of many projects, electricity is required to facilitate the operation of the machine, so power distribution is a very important part when the project starts.
在对工程进行配电时,需要用到很多的桥架,桥架大多沿着建筑的墙壁进行铺设,直角的转弯桥架使用数量也非常庞大,通常用于房屋的墙壁拐角处,电线转弯时,不同的电线转弯的距离不同,因此电线经过拐角桥架时经常会杂乱无章,甚至纠缠在一起,常用的桥架只是简单的进行分隔限位,不能很好的进行限位夹持,因此不能解决杂乱的问题。因此,本领域技术人员提供了一种配电工程用布线直角型拐角桥架,以解决提出的问题。When distributing power to the project, a lot of bridges are needed. Most of the bridges are laid along the walls of the building. The number of right-angle turning bridges is also very large. They are usually used at the corners of the walls of the house. When the wires turn, different The turning distance of the wires is different, so the wires are often messy or even entangled when they pass through the corner bridges. The commonly used bridges are simply separated and limited, and cannot be well limited and clamped, so they cannot solve the messy problem. Therefore, those skilled in the art provide a wiring right-angle corner bridge for power distribution engineering to solve the problems raised.
实用新型内容Utility model content
为了解决上述的不能解决电线杂乱问题,本实用新型提供一种配电工程用布线直角型拐角桥架。In order to solve the above-mentioned unresolved problem of messy electric wires, the utility model provides a wiring right-angle type corner bridge for power distribution engineering.
本实用新型提供的一种配电工程用布线直角型拐角桥架采用如下的技术方案:The utility model provides a wiring right-angle corner bridge frame for power distribution engineering, which adopts the following technical scheme:
一种配电工程用布线直角型拐角桥架,包括拐角桥架,以及拐角桥架顶部安装的盖板,所述拐角桥架的底部内壁安装有两个固定组件和两个限位板,且两个固定组件和两个限位板均为对称设置;A wiring right-angle corner bridge for power distribution engineering, including a corner bridge and a cover plate installed on the top of the corner bridge, two fixing components and two limiting plates are installed on the bottom inner wall of the corner bridge, and the two fixing components and the two limiting plates are symmetrically set;
所述固定组件包括调节座,调节座设置在拐角桥架的内部,调节座的顶部设置有多个U形槽,且多个U形槽为均匀设置,调节座的上还开设有限位口,调节座的顶部均匀的固定安装有多个顶块,且顶块位于多个U形槽之间,调节座的顶部边缘通过转轴转动安装有转板,转板的另一端通过螺纹竖向安装有螺纹柱。The fixed assembly includes an adjustment seat, which is arranged inside the corner bridge, and the top of the adjustment seat is provided with a plurality of U-shaped grooves, and the plurality of U-shaped grooves are evenly arranged, and a limit opening is also provided on the adjustment seat, and the adjustment The top of the seat is evenly fixed with a plurality of top blocks, and the top blocks are located between multiple U-shaped grooves. The top edge of the adjustment seat is rotated by a rotating shaft to install a rotating plate, and the other end of the rotating plate is vertically installed with a screw thread. column.
优选的,所述螺纹柱的底端插接在限位口内,且限位口的底部设置有方便螺纹柱插入的圆孔。Preferably, the bottom end of the threaded post is plugged into the limiting opening, and the bottom of the limiting opening is provided with a round hole to facilitate the insertion of the threaded post.
优选的,所述螺纹柱的顶部固定安装有转块,转块的侧面设置有防滑纹。Preferably, a rotary block is fixedly installed on the top of the threaded column, and anti-slip lines are provided on the side of the rotary block.
优选的,所述转板插接在多个顶块之间,且转板的顶部和一侧与顶块的相邻两侧接触,顶块设置为“L”形结构。Preferably, the rotating plate is inserted between a plurality of top blocks, and the top and one side of the rotating plate are in contact with adjacent two sides of the top block, and the top block is arranged in an "L" shape.
优选的,所述调节座上横向活动插接有两个横杆,横杆的两端固定安装有固定块,固定块与拐角桥架的底部内壁固定安装,横杆上通过螺纹安装有两个限位螺母,且两个限位螺母分别位于调节座的两侧并接触。Preferably, two crossbars are inserted and connected laterally on the adjustment seat, fixed blocks are fixedly installed at both ends of the crossbar, the fixed block is fixedly installed with the bottom inner wall of the corner bridge frame, and two limiters are installed on the crossbar through threads. position nuts, and the two limit nuts are respectively located on both sides of the adjustment seat and are in contact with each other.
优选的,所述限位板固定安装在拐角桥架的底部内壁,限位板上均匀开设有导线槽,且导线槽的顶部固定安装有卡条。Preferably, the limiting plate is fixedly installed on the bottom inner wall of the corner bridge, the limiting plate is evenly opened with wire grooves, and the top of the wire grooves is fixedly installed with clamping bars.
综上所述,本实用新型包括以下有益技术效果:In summary, the utility model includes the following beneficial technical effects:
1、电线穿过U形槽后,转动转板卡进顶块进行限位,防止转板被顶起,可将线压的更紧,转动转块使螺纹柱插入到限位口的底部,防止转板脱离顶块,电线通过调节座处进行固定,调节座可在横杆上滑动达到合适的位置时通过限位螺母固定,电线走线顺滑;1. After the wire passes through the U-shaped groove, turn the rotating plate to snap into the top block to limit the position, prevent the rotating plate from being lifted up, and press the wire tighter. Turn the rotating block to insert the threaded column into the bottom of the limit port. To prevent the rotating plate from detaching from the top block, the wires are fixed by the adjustment seat, and the adjustment seat can slide on the crossbar to reach a suitable position and be fixed by the limit nut, and the wires are routed smoothly;
2、电线经过导线槽时,可保证线的有序排列,卡条具有弹性,可将电线卡住防止翘起,使走线较为美观,比较整洁不会弯折可减少电路出现问题的风险,检修时也比较方便查找。2. When the wires pass through the wire groove, the orderly arrangement of the wires can be guaranteed. The clamping strip is elastic, which can hold the wires to prevent them from warping, making the wiring more beautiful, tidy and not bent, which can reduce the risk of circuit problems. It is also easier to find during maintenance.
附图说明Description of drawings
图1是本实用新型实施例中一种配电工程用布线直角型拐角桥架的结构示意图;Fig. 1 is a schematic structural diagram of a wiring right-angle corner bridge for power distribution engineering in an embodiment of the utility model;
图2为图1中的A区域的放大示意图;Fig. 2 is the enlarged schematic diagram of the area A in Fig. 1;
图3是本实用新型实施例中一种配电工程用布线直角型拐角桥架的固定组件结构示意图。Fig. 3 is a structural schematic diagram of a fixing component of a wiring right-angle corner bridge for power distribution engineering in an embodiment of the utility model.
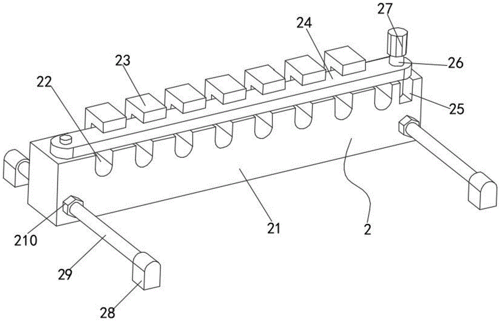
附图标记说明:1、拐角桥架;2、固定组件;3、限位板;11、盖板;21、调节座;22、U形槽;23、顶块;24、转板;25、限位口;26、螺纹柱;27、转块;28、固定块;29、横杆;210、限位螺母;31、导线槽;32、卡条。Description of reference signs: 1, corner bridge; 2, fixed assembly; 3, limit plate; 11, cover plate; 21, adjustment seat; 22, U-shaped groove; 23, top block; 24, turn plate; 26, threaded column; 27, turning block; 28, fixed block; 29, cross bar; 210, limit nut; 31, wire groove;
具体实施方式Detailed ways
以下结合附图1-3对本实用新型作进一步详细说明。Below in conjunction with accompanying drawing 1-3 the utility model is described in further detail.
本实用新型实施例公开一种配电工程用布线直角型拐角桥架。The embodiment of the utility model discloses a wiring right-angle type corner bridge frame for power distribution engineering.
一种配电工程用布线直角型拐角桥架,包括拐角桥架1,以及拐角桥架1顶部安装的盖板11,拐角桥架1的底部内壁安装有两个固定组件2和两个限位板3,且两个固定组件2和两个限位板3均为对称设置;固定组件2包括调节座21,调节座21设置在拐角桥架1的内部,调节座21的顶部设置有多个U形槽22,且多个U形槽22为均匀设置,调节座21的上还开设有限位口25,调节座21的顶部均匀的固定安装有多个顶块23,且顶块23位于多个U形槽22之间,调节座21的顶部边缘通过转轴转动安装有转板24,转板24的另一端通过螺纹竖向安装有螺纹柱26。A right-angled corner bridge frame for power distribution engineering, including a corner bridge frame 1, and a
在图1和图3中:螺纹柱26的底端插接在限位口25内,且限位口25的底部设置有方便螺纹柱26插入的圆孔,可对螺纹柱26进行限位从而对转板24进行限位;螺纹柱26的顶部固定安装有转块27,转块27的侧面设置有防滑纹,方便转动转块27,从而转动螺纹柱26;转板24插接在多个顶块23之间,且转板24的顶部和一侧与顶块23的相邻两侧接触,顶块23设置为“L”形结构,可使转板24与顶块23接触紧密,方便对电线进行限位;调节座21上横向活动插接有两个横杆29,横杆29的两端固定安装有固定块28,固定块28与拐角桥架1的底部内壁固定安装,横杆29上通过螺纹安装有两个限位螺母210,且两个限位螺母210分别位于调节座21的两侧并接触,可调节调节座21的位置,方便对电线进行合理的限位。In Fig. 1 and Fig. 3: the bottom end of the threaded
在图1和图2中:限位板3固定安装在拐角桥架1的底部内壁,限位板3上均匀开设有导线槽31,且导线槽31的顶部固定安装有卡条32,可使电线能整齐的进行放置,方便查找和检修。In Fig. 1 and Fig. 2: the
本实用新型实施例一种配电工程用布线直角型拐角桥架的实施原理为:在线路的铺设过程中,按照固定组件2、限位板3、限位板3和固定组件2的连接顺序进行安装,电线穿过多个U形槽22后,转动转板24使转板24卡进顶块23之间,顶块23设置为“L”形,可对转板24进行限位,防止转板24被顶起,对转杆与转板24的连接处造成损伤,也可将线压的更紧,转动转块27可使得螺纹柱26插入到限位口25的底部对转板24进行限位,防止脱离顶块23,直角型桥架与直桥架进行安装时,连接处的电线会出现弯折,电线通过调节座21处进行固定,当调节座21处与直桥架的距离接近时达到合适的距离时,将不会产生弯折,调节座21可在横杆29上滑动,通过限位螺母210可对调节座21进行固定;电线经过导线槽31时,可保证线的有序排列,卡条32具有弹性,可将电线卡住防止翘起,使得走线较为美观,比较整洁不会弯折可减少电路出现问题的风险,检修时也比较方便。According to the embodiment of the utility model, the implementation principle of a wiring right-angle corner bridge frame for power distribution engineering is as follows: during the laying process of the line, follow the connection sequence of the fixed component 2, the
以上均为本实用新型的较佳实施例,并非依此限制本实用新型的保护范围,故:凡依本实用新型的结构、形状、原理所做的等效变化,均应涵盖于本实用新型的保护范围之内。The above are all preferred embodiments of the present utility model, and do not limit the scope of protection of the present utility model accordingly. Therefore: all equivalent changes made according to the structure, shape and principle of the present utility model should be covered by the utility model. within the scope of protection.
Claims (6)
Priority Applications (1)
| Application Number | Priority Date | Filing Date | Title |
|---|---|---|---|
| CN202222974509.9U CN218867875U (en) | 2022-11-08 | 2022-11-08 | Distribution is wiring right angle type corner crane span structure for engineering |
Applications Claiming Priority (1)
| Application Number | Priority Date | Filing Date | Title |
|---|---|---|---|
| CN202222974509.9U CN218867875U (en) | 2022-11-08 | 2022-11-08 | Distribution is wiring right angle type corner crane span structure for engineering |
Publications (1)
| Publication Number | Publication Date |
|---|---|
| CN218867875U true CN218867875U (en) | 2023-04-14 |
Family
ID=87374036
Family Applications (1)
| Application Number | Title | Priority Date | Filing Date |
|---|---|---|---|
| CN202222974509.9U Active CN218867875U (en) | 2022-11-08 | 2022-11-08 | Distribution is wiring right angle type corner crane span structure for engineering |
Country Status (1)
| Country | Link |
|---|---|
| CN (1) | CN218867875U (en) |
-
2022
- 2022-11-08 CN CN202222974509.9U patent/CN218867875U/en active Active
Similar Documents
| Publication | Publication Date | Title |
|---|---|---|
| CN210957625U (en) | Electric power crane span structure device that electric power engineering used | |
| CN218867875U (en) | Distribution is wiring right angle type corner crane span structure for engineering | |
| CN212209066U (en) | Line pin type porcelain insulator | |
| CN205122809U (en) | Binding post of two positions wiring | |
| CN202817651U (en) | Bus support | |
| CN207530409U (en) | Become platform on 10KV integration columns | |
| CN206677069U (en) | A kind of distribution line push type drainage thread bending press | |
| CN205303130U (en) | Insurable novel binding post in area prevents shifting | |
| CN104267225A (en) | Electric energy meter standard wiring device and using method thereof | |
| CN209930701U (en) | A wiring harness arrangement device for a server | |
| CN209895897U (en) | Low-voltage outlet fixing support for transformer | |
| CN216412977U (en) | Fixed plate convenient for installing circuit breaker | |
| CN215870672U (en) | An easy-to-install busway | |
| CN222750037U (en) | Weak current security engineering comprehensive wiring device | |
| CN217115247U (en) | A mounting structure for an electric power system | |
| CN207926127U (en) | A kind of data center's bus tie plastic fastening | |
| CN221709420U (en) | Novel support | |
| CN204537953U (en) | A kind of binding post for circuit breaker | |
| CN111431086A (en) | A follower block capable of spanning spacer bars | |
| CN218867681U (en) | Power distribution cabinet | |
| CN219498878U (en) | Adjustable telescopic bus duct | |
| CN206524523U (en) | A kind of switch bracket and the three Room isolation ammeter base for being provided with the switch bracket | |
| CN221652206U (en) | A line fixing device for power transmission and transformation | |
| CN221031786U (en) | Intelligent anti-tilt device for electric poles | |
| CN220107517U (en) | Bus duct connector |
Legal Events
| Date | Code | Title | Description |
|---|---|---|---|
| GR01 | Patent grant | ||
| GR01 | Patent grant | ||
| TR01 | Transfer of patent right | ||
| TR01 | Transfer of patent right |
Effective date of registration: 20241113 Address after: No. 201, Gate 7, Kanglongyuan, Binhai New Area, Tianjin 300450 Patentee after: Zhang Yongqiang Country or region after: China Address before: Room 912-915, Block A, Ulan Business Port, No.188 Qianshan Road, Shushan District, Hefei, Anhui Province, 230000 Patentee before: Anhui Jinliyuan Construction Engineering Co.,Ltd. Country or region before: China |
|
| TR01 | Transfer of patent right | ||
| TR01 | Transfer of patent right |
Effective date of registration: 20250123 Address after: 300000 Tianjin Binhai New Area, Zhongxin Tianjin Ecological City, No. 355 Anime East Road, Chuangyan Building, Building 1, 617 Patentee after: Tianjin Yongnai Construction Engineering Co.,Ltd. Country or region after: China Address before: No. 201, Gate 7, Kanglongyuan, Binhai New Area, Tianjin 300450 Patentee before: Zhang Yongqiang Country or region before: China |
