CN218810461U - Filtering device for sewage discharge detection - Google Patents
Filtering device for sewage discharge detection Download PDFInfo
- Publication number
- CN218810461U CN218810461U CN202222495379.0U CN202222495379U CN218810461U CN 218810461 U CN218810461 U CN 218810461U CN 202222495379 U CN202222495379 U CN 202222495379U CN 218810461 U CN218810461 U CN 218810461U
- Authority
- CN
- China
- Prior art keywords
- filter
- sewage
- rectangular
- fixedly connected
- tank
- Prior art date
- Legal status (The legal status is an assumption and is not a legal conclusion. Google has not performed a legal analysis and makes no representation as to the accuracy of the status listed.)
- Expired - Fee Related
Links
Images
Classifications
-
- Y—GENERAL TAGGING OF NEW TECHNOLOGICAL DEVELOPMENTS; GENERAL TAGGING OF CROSS-SECTIONAL TECHNOLOGIES SPANNING OVER SEVERAL SECTIONS OF THE IPC; TECHNICAL SUBJECTS COVERED BY FORMER USPC CROSS-REFERENCE ART COLLECTIONS [XRACs] AND DIGESTS
- Y02—TECHNOLOGIES OR APPLICATIONS FOR MITIGATION OR ADAPTATION AGAINST CLIMATE CHANGE
- Y02W—CLIMATE CHANGE MITIGATION TECHNOLOGIES RELATED TO WASTEWATER TREATMENT OR WASTE MANAGEMENT
- Y02W10/00—Technologies for wastewater treatment
- Y02W10/10—Biological treatment of water, waste water, or sewage
Landscapes
- Sewage (AREA)
Abstract
本实用新型公开了一种用于污水排放检测用过滤装置,包括污水处理箱和水泵,所述污水处理箱的上端左部开有穿通的圆孔,所述污水处理箱的内上壁左部和内上壁右部均开有前端穿通的滑槽,两个所述滑槽内共同滑动连接有过滤垃圾清理机构,所述污水处理箱的上端左部固定连接有污水过滤仓,所述污水过滤仓的外表面左部固定连接有污水进管,所述污水处理箱的上端右部固定连接有支撑架,所述支撑架靠近污水过滤仓的一侧开有限位槽。本实用新型所述的一种用于污水排放检测用过滤装置,不仅能够对污水中的杂质起到有效的过滤,还能够便于人员对过滤箱体内部垃圾进行清理,从而提高了污水排放检测的数据准确性,也提高了装置的使用寿命。
The utility model discloses a filter device for sewage discharge detection, which comprises a sewage treatment box and a water pump. A circular hole is opened on the left upper end of the sewage treatment box. and the right part of the inner upper wall are provided with a chute through which the front end passes through, and a filtering garbage cleaning mechanism is slidably connected in the two chutes, and a sewage filter bin is fixedly connected to the left part of the upper end of the sewage treatment tank, and the sewage The left part of the outer surface of the filter chamber is fixedly connected with a sewage inlet pipe, and the upper right part of the sewage treatment tank is fixedly connected with a support frame, and a limiting groove is opened on the side of the support frame close to the sewage filter chamber. The filter device for sewage discharge detection described in the utility model can not only effectively filter the impurities in sewage, but also facilitate personnel to clean up the garbage inside the filter box, thereby improving the efficiency of sewage discharge detection. The accuracy of the data is improved, and the service life of the device is also improved.
Description
技术领域technical field
本实用新型涉及过滤装置技术领域,特别涉及一种用于污水排放检测用过滤装置。The utility model relates to the technical field of filtering devices, in particular to a filtering device for sewage discharge detection.
背景技术Background technique
污水处理是为了使污水达到排水某一水体或再次使用的水质要求对其进行净化的过程,而污水处理被广泛应用于建筑、农业、交通、城市景观和餐饮等各个领域,其中最广泛的是用于城市污水的排放检测处理,在现有的一种用于污水排放检测用过滤装置在使用过程中至少有以下弊端:1、一般的污水排放检测用的过滤装置在对污水进行消杀处理时大都是露天进行,使得污水中的臭味飘散在空气中,从而对环境造成了空气污染;2、现有的污水排放检测用过滤装置对污水中的垃圾进行过滤后,一般不便于人员对残留的垃圾进行清理。Sewage treatment is the process of purifying sewage to meet the water quality requirements for drainage or reuse, and sewage treatment is widely used in various fields such as construction, agriculture, transportation, urban landscape and catering, among which the most widely used is For the detection and treatment of urban sewage discharge, the existing filter device for sewage discharge detection has at least the following disadvantages in the process of use: 1. The filter device used for general sewage discharge detection is used for disinfection and treatment of sewage Most of them are carried out in the open air, so that the odor in the sewage floats in the air, thereby causing air pollution to the environment; 2. After the existing sewage discharge detection filter device filters the garbage in the sewage, it is generally inconvenient for personnel to clean the sewage. Residual garbage is cleaned up.
实用新型内容Utility model content
本实用新型的主要目的在于提供一种用于污水排放检测用过滤装置,可以有效解决背景技术中的问题。The main purpose of the utility model is to provide a filter device for sewage discharge detection, which can effectively solve the problems in the background technology.
为实现上述目的,本实用新型采取的技术方案为:In order to achieve the above object, the technical scheme that the utility model takes is:
一种用于污水排放检测用过滤装置,包括污水处理箱和水泵,所述污水处理箱的上端左部开有穿通的圆孔,所述污水处理箱的内上壁左部和内上壁右部均开有前端穿通的滑槽,两个所述滑槽内共同滑动连接有过滤垃圾清理机构,所述污水处理箱的上端左部固定连接有污水过滤仓,所述污水过滤仓的外表面左部固定连接有污水进管,所述污水处理箱的上端右部固定连接有支撑架,所述支撑架靠近污水过滤仓的一侧开有限位槽,所述支撑架的上端固定连接有密封装置,且密封装置位于污水过滤仓的上侧,所述水泵通过进水管与污水过滤仓固定连接,所述水泵的输出端固定连接有出水管,所述出水管通过圆孔与污水处理箱固定连接,所述出水管的下端面与污水处理箱的内上壁齐平。A filter device for sewage discharge detection, including a sewage treatment tank and a water pump, the upper left part of the sewage treatment tank has a through hole, the upper left part of the inner upper wall and the right upper inner wall of the sewage treatment tank There are chutes through which the front end penetrates, and a filter garbage cleaning mechanism is slidably connected in the two chutes. The upper left part of the sewage treatment tank is fixedly connected with a sewage filter bin, and the outer surface of the sewage filter bin is The left part is fixedly connected with a sewage inlet pipe, and the right part of the upper end of the sewage treatment tank is fixedly connected with a support frame. device, and the sealing device is located on the upper side of the sewage filter chamber, the water pump is fixedly connected to the sewage filter chamber through the water inlet pipe, and the output end of the water pump is fixedly connected to the water outlet pipe, and the water outlet pipe is fixed to the sewage treatment tank through a round hole connected, the lower end surface of the outlet pipe is flush with the inner upper wall of the sewage treatment tank.
优选的,所述密封装置包括气缸,所述气缸与支撑架的上端固定连接,所述气缸的输出端贯穿支撑架的上端左部并固定连接有密封盖,所述密封盖的外表面右部固定连接有滑块,所述密封盖的内上壁中部固定连接有螺纹柱,所述密封盖通过螺纹柱螺纹连接有杂物过滤组件,所述滑块位于限位槽内滑动连接。Preferably, the sealing device includes a cylinder, the cylinder is fixedly connected to the upper end of the support frame, the output end of the cylinder passes through the left part of the upper end of the support frame and is fixedly connected with a sealing cover, and the right part of the outer surface of the sealing cover A slider is fixedly connected, and the middle part of the inner upper wall of the sealing cover is fixedly connected with a threaded column, and the sealing cover is threaded with a sundry filter assembly through the threaded column, and the slider is located in the limiting groove and is slidably connected.
优选的,所述杂物过滤组件包括锥形过滤框,所述锥形过滤框的内壁上部固定连接有矩形孔过滤网,所述矩形孔过滤网的上端中部固定连接有圆框。Preferably, the sundry filter assembly includes a conical filter frame, the upper part of the inner wall of the conical filter frame is fixedly connected with a filter with rectangular holes, and the middle part of the upper end of the filter with rectangular holes is fixedly connected with a round frame.
优选的,所述圆框与螺纹柱螺纹连接,所述锥形过滤框与污水过滤仓的内壁紧贴但不固定。Preferably, the circular frame is screwed to the threaded column, and the tapered filter frame is in close contact with the inner wall of the sewage filter chamber but is not fixed.
优选的,所述过滤垃圾清理机构包括过滤箱体,所述过滤箱体的上端左部和上端右部均固定连接有矩形滑条,所述过滤箱体的上端左部和上端右部分别开有矩形过滤槽和矩形排水槽,且矩形过滤槽位于矩形排水槽的左部,所述矩形过滤槽和矩形排水槽之间固定连接有隔板,所述隔板的右端下部开有若干个穿通的矩形口,所述矩形过滤槽的内左壁上部与隔板的左端上部共同固定连接有活性炭过滤网,所述过滤箱体的前端右部固定连接有排水管,且排水管位于矩形排水槽的前侧。Preferably, the filter garbage cleaning mechanism includes a filter box, the upper left part and the upper right part of the filter box are fixedly connected with rectangular sliding bars, and the upper left part and the upper right part of the filter box are respectively separated. There are rectangular filter tanks and rectangular drain tanks, and the rectangular filter tanks are located on the left of the rectangular drain tanks. A partition is fixedly connected between the rectangular filter tank and the rectangular drain tank. The upper part of the inner left wall of the rectangular filter tank and the upper part of the left end of the partition are fixedly connected with an activated carbon filter net, and the right part of the front end of the filter box is fixedly connected with a drain pipe, and the drain pipe is located in the rectangular drain tank the front side.
优选的,所述过滤箱体与出水管不接触,所述过滤箱体分别通过两个矩形滑条和两个滑槽与污水处理箱活动连接,所述矩形过滤槽位于出水管的下部,所述活性炭过滤网位于若干个矩形口的左侧上部,所述矩形过滤槽通过若干个矩形口与矩形排水槽的内部相通。Preferably, the filter box is not in contact with the water outlet pipe, and the filter box is movably connected to the sewage treatment tank through two rectangular slide bars and two chutes respectively, and the rectangular filter tank is located at the lower part of the water outlet pipe. The activated carbon filter screen is located at the upper left side of several rectangular openings, and the rectangular filter tank communicates with the inside of the rectangular drainage tank through several rectangular openings.
与现有技术相比,本实用新型具有如下有益效果:Compared with the prior art, the utility model has the following beneficial effects:
1、本实用新型中,通过在密封装置上设有气缸、密封盖、滑块、螺纹柱和杂物过滤组件,使得在气缸的输出端作用下,气缸能推动密封盖通过滑块位于支撑架上开有的限位槽内进行向下方向的限位移动,故密封盖能够能对污水过滤仓起到密封的功能,使得污水中的气味不会散出至污水过滤仓的外部,从而对空气造成污染;1. In the utility model, the sealing device is provided with a cylinder, a sealing cover, a slider, a threaded column and a sundry filter assembly, so that under the action of the output end of the cylinder, the cylinder can push the sealing cover through the slider to be positioned on the support frame. The limit movement in the downward direction is carried out in the limit groove opened on the top, so the sealing cover can play a sealing function on the sewage filter chamber, so that the smell in the sewage will not disperse to the outside of the sewage filter chamber, thereby protecting the sewage filter chamber. air pollution;
2、本实用新型中,通过在过滤垃圾清理机构上设有矩形过滤槽和矩形排水槽,将矩形过滤槽通过隔板右端下部开有若干个穿通的矩形口与矩形排水槽内部相通,使得过滤后的污水从出水管输送至矩形过滤槽内时,在活性炭过滤网的过滤作用下,能够对污水中的异味和小号杂质再次起到过滤和去除的功能,而将污水处理箱通过两个矩形滑条滑动连接在污水处理箱内,故当污水过滤排放结束后,人员可将过滤箱体通过把手从污水处理箱内取出,故能够对过滤箱体内残留的污水垃圾等进行清理,从而使得污水处理箱内部的干净。2. In the utility model, by providing a rectangular filter tank and a rectangular drain tank on the filter garbage cleaning mechanism, the rectangular filter tank is connected to the inside of the rectangular drain tank through several rectangular openings opened at the lower right end of the partition, so that the filter When the final sewage is transported from the outlet pipe to the rectangular filter tank, under the filtering effect of the activated carbon filter, it can filter and remove the peculiar smell and small impurities in the sewage again, and the sewage treatment tank passes through two The rectangular sliding bar is slidably connected in the sewage treatment tank, so when the sewage is filtered and discharged, the personnel can take out the filter box from the sewage treatment tank through the handle, so the residual sewage and garbage in the filter box can be cleaned, so that The inside of the sewage treatment tank is clean.
附图说明Description of drawings
图1为本实用新型一种用于污水排放检测用过滤装置的整体结构示意图;Fig. 1 is a schematic diagram of the overall structure of a filter device used for sewage discharge detection in the present invention;
图2为本实用新型一种用于污水排放检测用过滤装置的密封装置整体结构示意图;Fig. 2 is a schematic diagram of the overall structure of a sealing device for a sewage discharge detection filter device of the present invention;
图3为本实用新型一种用于污水排放检测用过滤装置的杂物过滤组件整体结构示意图;Fig. 3 is a schematic diagram of the overall structure of a sundry filter assembly used for a sewage discharge detection filter device of the present invention;
图4为本实用新型一种用于污水排放检测用过滤装置的过滤垃圾清理机构整体结构示意图。Fig. 4 is a schematic diagram of the overall structure of a filter garbage cleaning mechanism used in a filter device for sewage discharge detection according to the present invention.
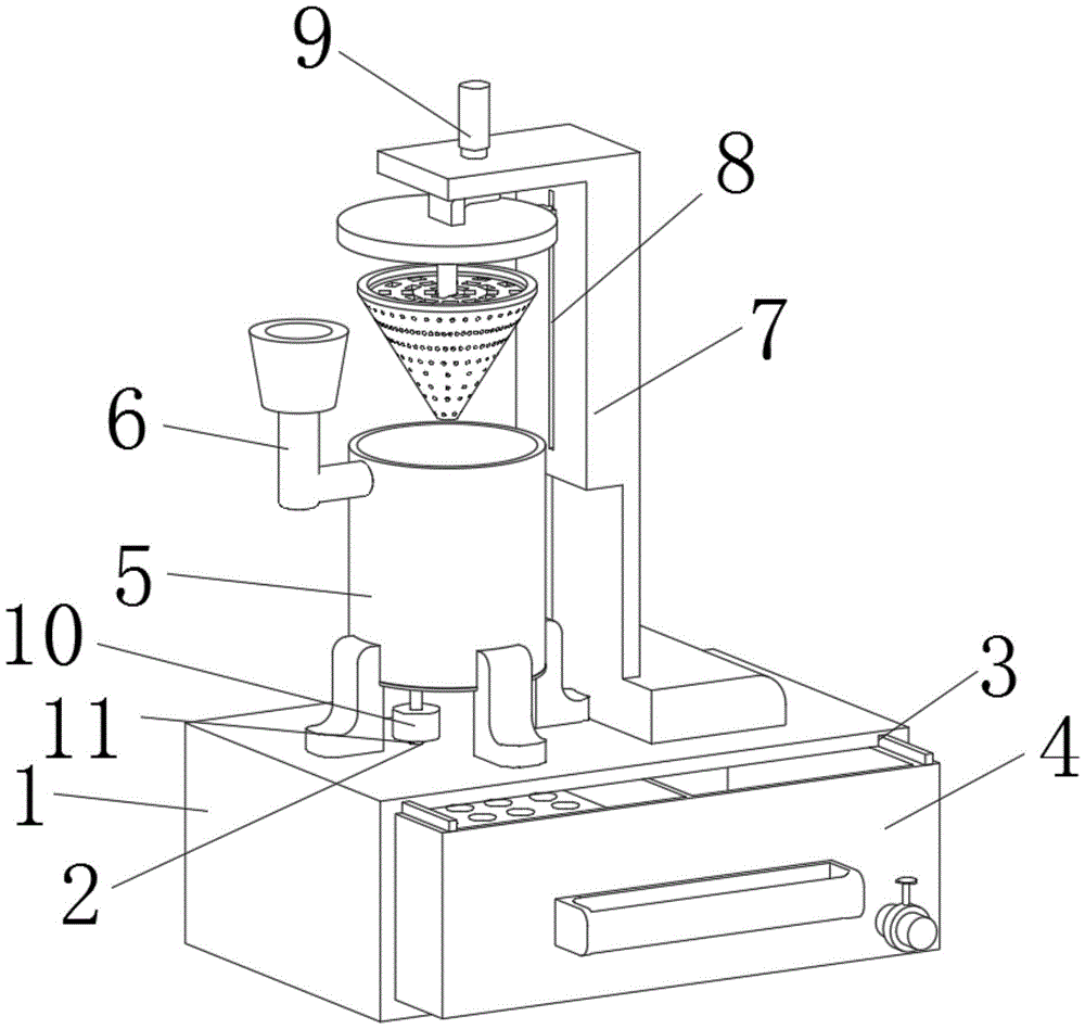
图中:1、污水处理箱;2、圆孔;3、滑槽;4、过滤垃圾清理机构;5、污水过滤仓;6、污水进管;7、支撑架;8、限位槽;9、密封装置;10、水泵;11、出水管;41、过滤箱体;42、隔板;43、矩形口;44、矩形过滤槽;45、矩形排水槽;46、活性炭过滤网;47、排水管;48、矩形滑条;91、气缸;92、密封盖;93、滑块;94、螺纹柱;95、杂物过滤组件;951、锥形过滤框;952、矩形孔过滤网;953、圆框。In the figure: 1. Sewage treatment tank; 2. Round hole; 3. Chute; 4. Filtration garbage cleaning mechanism; 5. Sewage filter bin; 6. Sewage inlet pipe; 7. Support frame; , sealing device; 10, water pump; 11, outlet pipe; 41, filter box; 42, clapboard; 43, rectangular mouth; 44, rectangular filter tank; 45, rectangular drainage tank; 46, activated carbon filter screen; 47, drainage Tube; 48, rectangular slide bar; 91, cylinder; 92, sealing cover; 93, slide block; 94, threaded column; 95, sundry filter assembly; 951, conical filter frame; round frame.
具体实施方式Detailed ways
为使本实用新型实现的技术手段、创作特征、达成目的与功效易于明白了解,下面结合具体实施方式,进一步阐述本实用新型。In order to make the technical means, creative features, goals and effects achieved by the utility model easy to understand, the utility model will be further elaborated below in conjunction with specific embodiments.
在本实用新型的描述中,需要说明的是,术语“上”、“下”、“内”、“外”“前端”、“后端”、“两端”、“一端”、“另一端”等指示的方位或位置关系为基于附图所示的方位或位置关系,仅是为了便于描述本实用新型和简化描述,而不是指示或暗示所指的装置或元件必须具有特定的方位、以特定的方位构造和操作,因此不能理解为对本实用新型的限制。此外,术语“第一”、“第二”仅用于描述目的,而不能理解为指示或暗示相对重要性。In the description of the present utility model, it should be noted that the terms "upper", "lower", "inner", "outer", "front end", "rear end", "both ends", "one end", "another end" The orientation or positional relationship indicated by ", etc. is based on the orientation or positional relationship shown in the drawings, which is only for the convenience of describing the utility model and simplifying the description, rather than indicating or implying that the device or element referred to must have a specific orientation, so as to Specific orientation configurations and operations, therefore, should not be construed as limitations on the invention. In addition, the terms "first" and "second" are used for descriptive purposes only, and should not be understood as indicating or implying relative importance.
在本实用新型的描述中,需要说明的是,除非另有明确的规定和限定,术语“安装”、“设置有”、“连接”等,应做广义理解,例如“连接”,可以是固定连接,也可以是可拆卸连接,或一体地连接;可以是机械连接,也可以是电连接;可以是直接相连,也可以通过中间媒介间接相连,可以是两个元件内部的连通。对于本领域的普通技术人员而言,可以具体情况理解上述术语在本实用新型中的具体含义。In the description of the present utility model, it should be noted that, unless otherwise specified and limited, the terms "installed", "set with", "connected", etc. should be understood in a broad sense, such as "connected", which can be a fixed The connection can also be a detachable connection or an integral connection; it can be a mechanical connection or an electrical connection; it can be a direct connection or an indirect connection through an intermediary, and it can be the internal communication of two components. Those of ordinary skill in the art can understand the specific meanings of the above terms in the present utility model in specific situations.
实施例Example
请参阅图1-4,本实用新型提供一种技术方案:Please refer to Figure 1-4, the utility model provides a technical solution:
一种用于污水排放检测用过滤装置,包括污水处理箱1和水泵10,污水处理箱1的上端左部开有穿通的圆孔2,污水处理箱1的内上壁左部和内上壁右部均开有前端穿通的滑槽3,两个滑槽3内共同滑动连接有过滤垃圾清理机构4,污水处理箱1的上端左部固定连接有污水过滤仓5,污水过滤仓5的外表面左部固定连接有污水进管6,污水处理箱1的上端右部固定连接有支撑架7,支撑架7靠近污水过滤仓5的一侧开有限位槽8,支撑架7的上端固定连接有密封装置9,且密封装置9位于污水过滤仓5的上侧,水泵10通过进水管与污水过滤仓5固定连接,水泵10的输出端固定连接有出水管11,出水管11通过圆孔2与污水处理箱1固定连接,出水管11的下端面与污水处理箱1的内上壁齐平。A filter device for sewage discharge detection, comprising a
本实施例中,密封装置9包括气缸91,气缸91与支撑架7的上端固定连接,气缸91的输出端贯穿支撑架7的上端左部并固定连接有密封盖92,密封盖92的外表面右部固定连接有滑块93,密封盖92的内上壁中部固定连接有螺纹柱94,密封盖92通过螺纹柱94螺纹连接有杂物过滤组件95,滑块93位于限位槽8内滑动连接,杂物过滤组件95包括锥形过滤框951,锥形过滤框951的内壁上部固定连接有矩形孔过滤网952,矩形孔过滤网952的上端中部固定连接有圆框953,圆框953与螺纹柱94螺纹连接,锥形过滤框951与污水过滤仓5的内壁紧贴但不固定;通过设置密封装置9,在密封装置9上设有气缸91、密封盖、92、滑块93、螺纹柱、94、和杂物过滤组件95,这些配合下,使得在气缸91的输出端作用下,气缸91能推动密封盖92通过滑块93位于支撑架7上开有的限位槽8内进行向下方向的限位移动,使得密封盖92能够能对污水过滤仓5起到密封的功能,而通过在密封盖92的内上壁固定连接有活性炭板,使得密封盖92能够对污水封闭的同时还能对污水中的异味进行吸附,另外将密封盖92通过螺纹柱94和圆框953与矩形孔过滤网952螺纹连接在一起,并将矩形孔过滤网952与锥形过滤框951的内壁上部固定连接,将污水进管6位于矩形孔过滤网952的上侧,使得矩形孔过滤网952和锥形过滤框951能对污水中含有的较大杂质能够进行过滤,而将锥形过滤框951与污水过滤仓5的内部紧贴不固定,故人员能够在密封盖92与污水过滤仓5分离时,可将锥形过滤框951从密封盖92上拆卸下来,使得人员能够对残留的垃圾进行清理。In this embodiment, the
本实施例中,过滤垃圾清理机构4包括过滤箱体41,过滤箱体41的上端左部和上端右部均固定连接有矩形滑条48,过滤箱体41的上端左部和上端右部分别开有矩形过滤槽44和矩形排水槽45,且矩形过滤槽44位于矩形排水槽45的左部,矩形过滤槽44和矩形排水槽45之间固定连接有隔板42,隔板42的右端下部开有若干个穿通的矩形口43,矩形过滤槽44的内左壁上部与隔板42的左端上部共同固定连接有活性炭过滤网46,过滤箱体41的前端右部固定连接有排水管47,且排水管47位于矩形排水槽45的前侧,过滤箱体41与出水管11不接触,过滤箱体41分别通过两个矩形滑条48和两个滑槽3与污水处理箱1活动连接,矩形过滤槽44位于出水管11的下部,活性炭过滤网46位于若干个矩形口43的左侧上部,矩形过滤槽44通过若干个矩形口43与矩形排水槽45的内部相通,通过在过滤垃圾清理机构上4设有矩形过滤槽44和矩形排水槽45,将矩形过滤槽44通过隔板42右端下部开有若干个穿通的矩形口43与矩形排水槽45内部相通,使得将首次过滤后的污水从出水管11输送至矩形过滤槽44内时,污水在活性炭过滤网46的过滤下,能够对污水中的异味和小颗粒杂质再次起到过滤和去除的功能,另将污水处理箱1通过两个矩形滑条48和两个滑槽3滑动连接在污水处理箱1内,使得污水过滤排放结束后,人员可将过滤箱体41通过拖动把手从污水处理箱1内取出,使得人员能够非常便利的对过滤箱体41内的垃圾进行清理,从而使得人员再次使用装置时,能够提高装置的过滤效率。In this embodiment, the filter
需要说明的是,本实用新型为一种用于污水排放检测用过滤装置,在使用过程中,首先通过外部控制系统启动气缸91工作,在气缸91的输出端作用下,气缸91推动密封盖92通过滑块93位于限位槽8内进行向下方向的限位移动,故密封盖92能够能对污水过滤仓5起到密封的功能,使得污水在过滤处理时密封效果好,不会产生大的异味,而将密封盖92通过螺纹柱94和圆框953与矩形孔过滤网952螺纹连接在一起,并将矩形孔过滤网952与锥形过滤框951的内壁上部固定连接,将污水进管6位于矩形孔过滤网952的上侧,使得矩形孔过滤网952和锥形过滤框951能对污水中含有的较大杂质起到首次过滤的功能,另外将锥形过滤框951与污水过滤仓5的内部紧贴不固定,故人员能够在密封盖92与污水过滤仓5分开时,可对锥形过滤框951进行拆卸,从而便于对过滤的垃圾进行清理,保证了装置的正常工作,另外一方面,水泵10通过进水管对首次过滤后的水进行抽取输送至出水管11后至下方的过滤垃圾清理机构4内,通过在过滤垃圾清理机构4上设有矩形过滤槽44和矩形排水槽45,将矩形过滤槽44通过隔板42右端下部开有的若干个穿通的矩形口43与矩形排水槽45内部相通,使得首次过滤的污水通过出水管11输送至矩形过滤槽44内时,在活性炭过滤网46的过滤作用下,能够对污水中的异味和小号杂质再次起到过滤和去除的功能,而后过滤后的污水可通过若干个矩形口43渗入至矩形排水槽45内,最后通过打开排水管47可将检测合格的污水排出,从而降低了环境的污染,最后当污水排放结束后,人员可将过滤箱体41通过把手从污水处理箱1内取出,从而能够对过滤箱体41内残留的垃圾等杂物进行快速清理,保证了装置每次使用时能正常工作,提高了装置的使用年限。It should be noted that the utility model is a filter device for sewage discharge detection. During use, the
以上显示和描述了本实用新型的基本原理和主要特征和本实用新型的优点。本行业的技术人员应该了解,本实用新型不受上述实施例的限制,上述实施例和说明书中描述的只是说明本实用新型的原理,在不脱离本实用新型精神和范围的前提下,本实用新型还会有各种变化和改进,这些变化和改进都落入要求保护的本实用新型范围内。本实用新型要求保护范围由所附的权利要求书及其等效物界定。The basic principles and main features of the present utility model and the advantages of the present utility model have been shown and described above. Those skilled in the art should understand that the utility model is not limited by the above-mentioned embodiments. The above-mentioned embodiments and descriptions only illustrate the principle of the utility model. Without departing from the spirit and scope of the utility model, the utility model The new model also has various changes and improvements, and these changes and improvements all fall within the scope of the claimed utility model. The scope of protection required by the utility model is defined by the appended claims and their equivalents.
Claims (6)
Priority Applications (1)
| Application Number | Priority Date | Filing Date | Title |
|---|---|---|---|
| CN202222495379.0U CN218810461U (en) | 2022-09-20 | 2022-09-20 | Filtering device for sewage discharge detection |
Applications Claiming Priority (1)
| Application Number | Priority Date | Filing Date | Title |
|---|---|---|---|
| CN202222495379.0U CN218810461U (en) | 2022-09-20 | 2022-09-20 | Filtering device for sewage discharge detection |
Publications (1)
| Publication Number | Publication Date |
|---|---|
| CN218810461U true CN218810461U (en) | 2023-04-07 |
Family
ID=87248255
Family Applications (1)
| Application Number | Title | Priority Date | Filing Date |
|---|---|---|---|
| CN202222495379.0U Expired - Fee Related CN218810461U (en) | 2022-09-20 | 2022-09-20 | Filtering device for sewage discharge detection |
Country Status (1)
| Country | Link |
|---|---|
| CN (1) | CN218810461U (en) |
-
2022
- 2022-09-20 CN CN202222495379.0U patent/CN218810461U/en not_active Expired - Fee Related
Similar Documents
| Publication | Publication Date | Title |
|---|---|---|
| CN108383304B (en) | A kind of urban sewage discharge and treatment equipment | |
| CN107758891A (en) | A kind of purifier with sewage pre-treatment device | |
| CN209537133U (en) | A multi-stage purification type rural sewage treatment equipment | |
| CN108585302B (en) | Domestic sewage treatment equipment for environmental protection | |
| CN218810461U (en) | Filtering device for sewage discharge detection | |
| CN211896525U (en) | An automatic slag removal anaerobic reactor | |
| CN221752554U (en) | Novel water environment pollution control equipment | |
| CN219637049U (en) | Sampling pump automatic anti-blocking device | |
| CN218709499U (en) | Flocculating agent quantitative adding device for sewage treatment | |
| CN219835019U (en) | Energy-saving environment-friendly rabbit house excrement treatment device | |
| CN207581524U (en) | A kind of sewage purification circulation uses environmental protecting device | |
| CN211311150U (en) | Waste water filtering device | |
| CN211226752U (en) | Waste water low-temperature distillation purification system | |
| CN211255478U (en) | A waste water treatment tank | |
| CN109650635A (en) | A kind of short periodic endless adsorption plant for sewage treatment | |
| CN211273780U (en) | Impurity cleaning device for sewage treatment | |
| CN211946535U (en) | A municipal construction sewage treatment device | |
| CN209636052U (en) | A kind of environmentally friendly water treatment facilities of integral structure | |
| CN211035364U (en) | A kind of neutralization flocculation sedimentation tank for waste water discharge engineering | |
| CN221876679U (en) | Sewage filtering and purifying device | |
| CN209024304U (en) | An environmentally friendly pig farm sewage collection tank | |
| CN220788104U (en) | Drainage device with filtering capability | |
| CN219897288U (en) | Sewage pipe discharging device for sewage treatment | |
| CN221854289U (en) | Waste water purifying and recycling equipment | |
| CN207435178U (en) | A kind of purifier with sewage pre-treatment device |
Legal Events
| Date | Code | Title | Description |
|---|---|---|---|
| GR01 | Patent grant | ||
| GR01 | Patent grant | ||
| CF01 | Termination of patent right due to non-payment of annual fee | ||
| CF01 | Termination of patent right due to non-payment of annual fee |
Granted publication date: 20230407 |
