CN218801694U - Reinforced concrete structure tool positioning device and processing platform thereof - Google Patents

Reinforced concrete structure tool positioning device and processing platform thereof Download PDF

Info

Publication number
CN218801694U
CN218801694U CN202222776462.5U CN202222776462U CN218801694U CN 218801694 U CN218801694 U CN 218801694U CN 202222776462 U CN202222776462 U CN 202222776462U CN 218801694 U CN218801694 U CN 218801694U
Authority
CN
China
Prior art keywords
steel plate
reinforced concrete
concrete structure
positioning
tooling
Prior art date
Legal status (The legal status is an assumption and is not a legal conclusion. Google has not performed a legal analysis and makes no representation as to the accuracy of the status listed.)
Active
Application number
CN202222776462.5U
Other languages
Chinese (zh)
Inventor
张斌
赵杰
常怀雷
刘树芳
苑金鑫
郑垒
Current Assignee (The listed assignees may be inaccurate. Google has not performed a legal analysis and makes no representation or warranty as to the accuracy of the list.)
Stecol Corp
Original Assignee
Stecol Corp
Priority date (The priority date is an assumption and is not a legal conclusion. Google has not performed a legal analysis and makes no representation as to the accuracy of the date listed.)
Filing date
Publication date
Application filed by Stecol Corp filed Critical Stecol Corp
Priority to CN202222776462.5U priority Critical patent/CN218801694U/en
Application granted granted Critical
Publication of CN218801694U publication Critical patent/CN218801694U/en
Active legal-status Critical Current
Anticipated expiration legal-status Critical

Links

Images

Landscapes

  • Conveying And Assembling Of Building Elements In Situ (AREA)

Abstract

The utility model discloses a reinforced concrete structure tool positioning device and a processing platform thereof, wherein a bottom plate of the processing platform is connected with a vertical steel plate through a supporting steel plate, a horizontal steel plate and a diagonal bracing plate, and the vertical steel plate is provided with a first positioning tool screw hole for processing a positioning tool; the bottom of the vertical steel plate is connected with at least two uniformly distributed supporting steel bars, the vertical steel plate is laterally connected with a side steel plate, a second positioning tool screw hole for processing another positioning tool is formed in the side steel plate, and the side steel plate is connected with at least two uniformly distributed right-angle steel plates; the positioning device manufactured by the processing platform can accurately position the reinforced concrete structure tool. The bolt sleeve positioning tool manufactured by the machining platform is not required to be used for punching a building, avoids damaging concrete, avoids colliding with an anchor bar structure, is accurate in positioning of the tool position and does not have a deviation phenomenon, and guarantees the engineering quality and progress.

Description

Reinforced concrete structure tool positioning device and processing platform thereof
Technical Field
The utility model belongs to the technical field of the reinforced concrete structures construction, concretely relates to reinforced concrete structures frock positioner and processing platform thereof.
Background
At present, in building construction, a bracket tool is mostly adopted as a reinforced concrete structure tool.
To the installation of concrete building bracket frock, prior art's construction is mostly concrete structure thing and pours the completion back, punches the building, carries out the mode fixed with expansion bolts to the bracket. This mounting means causes the reinforcing bar conflict in bolt hole and the concrete structure thing easily, leads to structure concrete damage and bracket mounted position off normal.
SUMMERY OF THE UTILITY MODEL
The utility model provides a reinforced concrete structures frock positioner and processing platform thereof can be used for making positioner, and this positioner can carry out the accurate positioning of reinforced concrete structures frock. The bolt sleeve positioning tool manufactured by the machining platform does not need to punch a building, avoids damaging concrete, avoids colliding with an anchor bar structure, accurately positions the tool position, avoids deviation, and ensures engineering quality and progress.
In order to achieve the above purpose, the utility model adopts the following technical scheme:
in a first aspect, the utility model provides a processing platform of a reinforced concrete structure tool positioning device, which comprises a bottom plate, wherein the bottom plate is connected with one end of a supporting steel plate, the other end of the supporting steel plate is connected with one end of a horizontal steel plate and one end of a diagonal bracing plate, the other end of the horizontal steel plate and the other end of the diagonal bracing plate are both connected with a vertical steel plate, and the vertical steel plate is provided with a first positioning tool screw hole for processing a positioning tool; the utility model discloses a steel plate, including vertical steel sheet, side steel plate, second location frock screw, the vertical steel sheet bottom is connected with two at least evenly distributed's brace bar, vertical steel sheet side direction is connected with the side steel sheet, be provided with on the side steel sheet and be used for processing another kind the second location frock screw of location frock, be connected with two at least evenly distributed's right angle steel plate on the side steel sheet.
Before a bracket fixture serving as a reinforced concrete structure fixture is installed, the number and the positions of screw holes of a first positioning fixture or a second positioning fixture are determined according to the number and the positions of the screw holes of the bracket fixture, bolts respectively penetrate through the screw holes of the first positioning fixture or the screw holes of the second positioning fixture, and bolt sleeves are sleeved on the bolt sleeves for fastening; respectively welding and connecting reinforcing steel bars at the bottom and two sides of the middle part of the bolt sleeve to form a bracket tool positioning device with a bolt sleeve positioning structure; and after welding, taking down the manufactured bracket tooling positioning device, and completing manufacturing of the reinforced concrete structure tooling positioning device.
Therefore, the number and the positions of the first positioning tool screw holes and the second positioning tool screw holes can be different, so that the processing platform is suitable for processing positioning devices of different types of bracket tools.
The supporting steel bars are used for reinforcing and leveling the vertical steel plate and the whole machining platform. The right-angle steel plates play a role in spacing and spacing, and the spacing between the bolt sleeve and the connecting steel bar is ensured. The inclined supporting plate plays a role in reinforcing and supporting the vertical steel plate.
In order to improve the firm stability of the connection structure between the bottom plate and the horizontal steel plate and between the bottom plate and the inclined supporting plates, the number of the supporting steel plates can be two, and the supporting steel plates form a symmetrical splayed shape.
In order to reduce the overall weight of the processing platform, one or more of the supporting steel plate, the horizontal steel plate and the inclined supporting plate is provided with a groove.
In a second aspect, the present invention provides a positioning device for a reinforced concrete structure tool, wherein the positioning device is one of the positioning devices manufactured by the vertical steel plate of the processing platform according to the first aspect of the present invention, and comprises bolt sleeves, the number and distribution structure of the bolt sleeves are consistent with the number and distribution structure of the reinforced concrete structure tool bolts; and connecting reinforcing steel bars are respectively and commonly welded at the bottom and two sides of the middle part of the bolt sleeve positioned on the same horizontal row or the same vertical row.
Preferably, the bolt sleeves are distributed in a matrix structure with two rows or two columns.
In order to improve the firm stability of the positioning device, one ends of two connecting steel bars welded at the middle part or the bottom outer side of two rows of bolt sleeves are symmetrically bent outwards.
Or, the utility model provides a reinforced concrete structure frock positioner, the positioner is another kind of the positioner who makes through the side steel sheet of the processing platform of the first aspect of the utility model, including the bolt sleeve, the quantity and the distribution structure of bolt sleeve are unanimous with the quantity and the distribution structure of reinforced concrete structure frock bolt; and connecting reinforcing steel bars are welded at the bottoms of the bolt sleeves on the same horizontal row or the same vertical row together.
In order to improve the firm stability of the positioning device, one end of the connecting steel bar welded at the bottom of the bolt sleeve is bent.
When the reinforced concrete structure tooling positioning device is used, the reinforced concrete structure tooling positioning device can be pre-embedded in advance according to the installation position of a bracket tooling serving as a reinforced concrete structure tooling, so that the whole connecting steel bar structure is completely wrapped in concrete, the connection between the connecting steel bars and the concrete is enhanced, and the anchorage property of a bolt sleeve positioning structure is improved; at reservation bolt sleeve port department, during the installation bracket frock, can directly use the bolt to pass bracket frock screw and bolt sleeve, realize that bracket frock and bolt sleeve location structure's reinforcement is connected, realize accurate fixed bracket frock.
The utility model discloses following beneficial effect can be reached:
the utility model discloses a reinforced concrete structures frock positioner's processing platform can be according to actual conditions needs, adjusts the quantity and the position of first location frock screw, second location frock screw, can be used for the preparation to have different quantity and distribution type's the telescopic positioner of bolt to be applicable to different types of reinforced concrete structures frock and carry out accurate location needs, satisfy the actual engineering demand, have very strong practicality and universality.
The utility model discloses a reinforced concrete structure frock positioner's processing platform, the reinforced concrete structure frock positioner who makes can carry out the accurate positioning of reinforced concrete structure frock, and the bolt sleeve location frock that uses this processing platform to make need not to carry out punching operation to the building, avoids causing the damage to the concrete, avoids conflicting with the anchor bar structure; the staff can realize quick, high-efficient installation bracket frock according to the bolt sleeve location structure by the processing platform preparation, and labour saving and time saving just does not have the off normal phenomenon to frock position location accuracy, guarantees engineering quality and progress.
Drawings
The accompanying drawings, which are included to provide a further understanding of the invention and are incorporated in and constitute a part of this specification, illustrate embodiments of the invention and together with the description serve to explain the invention and do not constitute a limitation on the invention. In the drawings:
fig. 1 is a schematic structural view of a processing platform of a reinforced concrete structure tool positioning device according to an embodiment of the present invention;
fig. 2 is a schematic structural view of another view direction of the processing platform of the reinforced concrete structure tool positioning device according to an embodiment of the present invention;
FIG. 3 is a front view of a processing platform of the reinforced concrete structure tooling positioning apparatus according to an embodiment of the present invention;
FIG. 4 is a side view of a processing platform of the reinforced concrete structure tooling positioning apparatus according to an embodiment of the present invention;
FIG. 5 is a schematic structural view of a reinforced concrete structure fixture positioning device according to an embodiment of the present invention;
FIG. 6 is a top view of a reinforced concrete structure tooling positioning apparatus according to an embodiment of the present invention;
FIG. 7 is a front view of a reinforced concrete structure tooling positioning apparatus according to an embodiment of the present invention;
fig. 8 is a schematic structural view of a reinforced concrete structure positioning device according to another embodiment of the present invention.
The reference numbers in the figures:
101, 102, 103, 104, 105, 106, 107, 108, 109, 110, 111 and 111 are bottom plates, support steel plates, horizontal steel plates, inclined supporting plates, vertical steel plates, first positioning tool screw holes, support steel bars, side steel plates, second positioning tool screw holes, right-angle steel plates and grooves;
201 is a bolt sleeve, and 202 is a connecting steel bar.
Detailed Description
To make the purpose, technical solution and advantages of the present invention clearer, the following will combine the embodiments of the present invention and the corresponding drawings to clearly and completely describe the technical solution of the present invention. It is to be understood that the disclosed embodiments are merely exemplary of the invention, and are not intended to limit the invention to the precise embodiments disclosed. Based on the embodiments in the present invention, all other embodiments obtained by a person skilled in the art without creative work belong to the protection scope of the present invention.
The technical solutions provided by the embodiments of the present invention are described in detail below with reference to the accompanying drawings.
Example 1
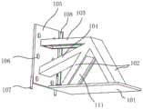
As shown in fig. 1 and 2, the processing platform of the tool positioning device for the reinforced concrete structure comprises a bottom plate 101, as shown in fig. 3, the bottom plate 101 is connected with one end of a supporting steel plate 102, the other end of the supporting steel plate 102 is connected with one end of a horizontal steel plate 103 and one end of an inclined supporting plate 104, as shown in fig. 4, the other end of the horizontal steel plate 103 and the other end of the inclined supporting plate 104 are both connected with a vertical steel plate 105, and the vertical steel plate 105 is provided with a first positioning tool screw hole 106 for processing a positioning tool; the bottom of the vertical steel plate 105 is connected with at least two uniformly distributed support steel bars 106, the vertical steel plate 105 is laterally connected with a side steel plate 107, a second positioning tool screw hole 108 for processing another type of positioning tool is formed in the side steel plate 107, and at least two uniformly distributed right-angle steel plates 109 are connected to the side steel plate 107.
Before a bracket fixture serving as a reinforced concrete structure fixture is installed, the number and the positions of a first positioning fixture screw hole 106 or a second positioning fixture screw hole 109 are determined according to the number and the positions of screw holes of the bracket fixture, bolts respectively penetrate through the first positioning fixture screw hole 106 or the second positioning fixture screw hole 109, and are sleeved with bolt sleeves 201 for fastening; then respectively welding and connecting reinforcing steel bars 202 at the bottom and two sides of the middle part of the bolt sleeve 201 to form a bracket tooling positioning device with a bolt sleeve 201 positioning structure; and after welding is completed, taking down the manufactured bracket tooling positioning device, and manufacturing the reinforced concrete structure tooling positioning device.
Therefore, the number and the positions of the first positioning tool screw holes 106 and the second positioning tool screw holes 109 can be adjusted and changed according to the actual engineering requirements of a construction site, so that the processing platform is suitable for processing various positioning devices with different numbers and distribution types of bolt sleeves 201, and positioning of different types of tools is realized.
For example, the number of the first positioning tool screw holes 106 is six, and the first positioning tool screw holes are distributed in a matrix of three horizontal rows and two vertical rows. At the moment, the processing platform is suitable for accurately positioning the bracket tooling in the shallow circular bin wall concrete pouring process through the positioning device of the positioning structure of the six bolt sleeves 201 made of the first positioning tooling screw holes 106 of the vertical steel plate 105.
For another example, the number of the second positioning tool screw holes 108 is two, and the second positioning tool screw holes are distributed in a vertical row. At this moment, the positioning device of the two bolt sleeve 201 positioning structures made by the second positioning tool screw hole 108 of the side steel plate 107 is suitable for realizing accurate positioning of the outer overhanging eave bracket tool.
The bottom plate 101, the supporting steel plate 102, the horizontal steel plate 103, the inclined strut plate 104, the vertical steel plate 105 and the side steel plate 107 can be rectangular plates.
The first positioning tool screw hole 106 and the second positioning tool screw hole 108 can be circular holes. The right angle steel plate 109 may be bent upward.
Bottom plate 101 can weld with supporting steel plate 102 one end, and the supporting steel plate 102 other end can weld with horizontal steel plate 103 one end and fagging 104 one end, and the horizontal steel plate 103 other end and fagging 104 other end all can weld with vertical steel sheet 105, and vertical steel sheet 105 can weld with side steel sheet 107 side. The right angle steel plate 109 and the side steel plate 107 may be welded. The right angle steel plate 109 is connected to the outer side surface of the side steel plate 107, that is, the horizontal steel plate 103 and the gusset 104 are positioned on one side of the side steel plate 107, and the right angle steel plate 109 is positioned on the other side of the side steel plate 107. The outer side here means the side away from the center of the base plate 101.
The vertical height of the vertical steel plate 105 may be greater than the vertical height of the side steel plate 107. The lateral width of the vertical steel plates 105 may also be greater than the lateral width of the side steel plates 107. The top edge of the vertical steel plate 105 may be flush with the top edge of the side steel plate 107.
The number of the supporting steel plates 102 can be two, and the supporting steel plates are symmetrical in a splayed shape, and included angles between the two supporting steel plates 102 and the bottom plate 101 are equal, so that the firm stability of the connecting structure of the bottom plate 101, the horizontal steel plate 103 and the inclined supporting plate 104 is improved.
One or more of the support steel plate 102, the horizontal steel plate 103 and the inclined strut plate 104 are provided with grooves 111 to reduce the overall weight of the processing platform.
The horizontal steel plate 103 is perpendicular to the vertical steel plate 105. The floor 101 may be parallel to the horizontal steel plate 103 and perpendicular to the vertical steel plate 105.
The number of the right angle steel plates 109 may be two, and they are respectively connected to the upper and lower portions of the side steel plates 107.
Example 2
As shown in fig. 5, a reinforced concrete structure tooling positioning device, which is a positioning device manufactured by processing the vertical steel plate of the platform according to any one of the embodiments 1, as shown in fig. 6, comprises bolt sleeves 201, the number and the distribution structure of the bolt sleeves 201 are consistent with those of the reinforced concrete structure tooling bolts; as shown in fig. 7, the connecting reinforcing bars 202 are respectively welded to both sides of the bottom and middle of the bolt sleeves 201 in the same horizontal row or the same vertical column.
As shown in fig. 5 to 7, the bolt sleeves 201 may be distributed in a matrix structure of two rows or two columns. The number of bolt sleeves 201 per row or column may be at least two.
One ends of two connecting steel bars welded at the middle parts or the outer sides of the bottoms of the two rows or two rows of bolt sleeves can be symmetrically bent outwards, so that the firmness and the stability of the positioning device can be improved. Here, the outer side also refers to the side away from the center of the base plate 101.
For example, the bolt sleeves 201 are six in number and are distributed in a matrix of three transverse rows and two vertical rows. At this moment, this six bolt sleeve 201 location structure's positioner is applicable to in shallow round bin wall concrete placement process, carries out the accurate positioning to the bracket frock.
Example 3
As shown in fig. 8, a positioning device for a reinforced concrete structure tooling, which is another positioning device manufactured by processing side steel plates of a platform according to any one of embodiment 1, comprises bolt sleeves, wherein the number and the distribution structure of the bolt sleeves are consistent with those of the reinforced concrete structure tooling bolts; and the bottom of the bolt sleeve positioned on the same horizontal row or the same vertical column is welded with the connecting reinforcing steel bars together.
One end of the connecting steel bar welded at the bottom of the bolt sleeve can be bent, so that the firmness and stability of the positioning device can be improved.
For example, the number of the bolt sleeves 201 is two, and the bolt sleeves are distributed in a vertical row. At this moment, the positioning devices of the two bolt sleeve 201 positioning structures are suitable for realizing accurate positioning of the outer cantilever eave corbel tool.
In the reinforced concrete structure jig positioning apparatuses according to embodiments 2 and 3, the bending angle of the bending structure connecting one ends of the reinforcing bars 202 may be a right angle. The bending part of the bending structure can be arc-shaped. The adjacent bolt sleeves 201 in the same row or the same column have equal intervals and are parallel to each other. The adjacent connecting rebars 202 having the same length direction have the same pitch and are parallel to each other.
When the reinforced concrete structure tooling positioning device according to any one of embodiments 2 and 3 is used, the reinforced concrete structure tooling positioning device can be pre-embedded in advance according to the installation position of a bracket tooling serving as a reinforced concrete structure tooling, so that the whole connecting steel bar 202 structure is completely wrapped in concrete, the connection between the connecting steel bar 202 and the concrete is enhanced, and the anchorage property of the bolt sleeve 201 positioning structure is improved; at reservation bolt sleeve 201 port department, during the installation bracket frock, can directly use the bolt to pass bracket frock screw and bolt sleeve, realize that bracket frock and bolt sleeve 201 location structure's reinforcement is connected, realize high-efficient, accurate fixed bracket frock.
The above description is only an example of the present application and is not intended to limit the present application. Various modifications and changes may occur to those skilled in the art. Any modification, equivalent replacement, improvement, etc. made within the spirit and principle of the present application should be included in the scope of the claims of the present application.

Claims (10)

1. A processing platform of a reinforced concrete structure tool positioning device comprises a bottom plate and is characterized in that the bottom plate is connected with one end of a supporting steel plate, the other end of the supporting steel plate is connected with one end of a horizontal steel plate and one end of an inclined supporting plate, the other end of the horizontal steel plate and the other end of the inclined supporting plate are both connected with a vertical steel plate, and a first positioning tool screw hole for processing a positioning tool is formed in the vertical steel plate; the utility model discloses a steel plate, including vertical steel sheet, side steel plate, second location frock screw, the vertical steel sheet bottom is connected with two at least evenly distributed's brace bar, vertical steel sheet side direction is connected with the side steel sheet, be provided with on the side steel sheet and be used for processing another kind the second location frock screw of location frock, be connected with two at least evenly distributed's right angle steel plate on the side steel sheet.
2. The reinforced concrete structure tooling positioning apparatus of claim 1, wherein the number of the supporting steel plates is two and the supporting steel plates form a symmetrical V-shape.
3. The reinforced concrete structure tooling positioning apparatus of claim 1, wherein one or more of the support steel plates, the horizontal steel plates and the diagonal bracing plates are provided with grooves.
4. A tooling platform for a reinforced concrete structure tooling device according to any one of claims 1 to 3, wherein the first tooling screw holes are six in number and are distributed in a matrix of three transverse rows and two vertical rows.
5. The reinforced concrete structure tooling device processing platform of any one of claims 1-3, wherein the number of the second positioning tooling screw holes is two and the second positioning tooling screw holes are distributed in a vertical row.
6. A reinforced concrete structure tooling positioning device, characterized in that the positioning device is one made by the vertical steel plates of the processing platform according to any one of claims 1 to 5, and comprises bolt sleeves, the number and the distribution structure of the bolt sleeves are consistent with those of the reinforced concrete structure tooling bolts; and connecting reinforcing steel bars are respectively and commonly welded at the bottom and two sides of the middle part of the bolt sleeve positioned on the same horizontal row or the same vertical row.
7. A reinforced concrete structure tooling location arrangement as claimed in claim 6, wherein the bolt sleeves are distributed in a two-column or two-row matrix configuration.
8. The reinforced concrete structure tooling device of claim 7, wherein one end of two of the connecting rebars welded to the outside of the middle or bottom of two rows or columns of the bolt sleeves is bent symmetrically to the outside.
9. A positioning device for a reinforced concrete structure tool, which is another positioning device made of the side steel plates of the processing platform according to any one of claims 1 to 5, and comprises bolt sleeves, wherein the number and the distribution structure of the bolt sleeves are consistent with those of the reinforced concrete structure tool bolts; and connecting reinforcing steel bars are welded at the bottoms of the bolt sleeves positioned on the same horizontal row or the same vertical column together.
10. The reinforced concrete structure tooling device of claim 9, wherein one end of the connecting bar welded to the bottom of the bolt sleeve is bent.
CN202222776462.5U 2022-10-20 2022-10-20 Reinforced concrete structure tool positioning device and processing platform thereof Active CN218801694U (en)

Priority Applications (1)

Application Number Priority Date Filing Date Title
CN202222776462.5U CN218801694U (en) 2022-10-20 2022-10-20 Reinforced concrete structure tool positioning device and processing platform thereof

Applications Claiming Priority (1)

Application Number Priority Date Filing Date Title
CN202222776462.5U CN218801694U (en) 2022-10-20 2022-10-20 Reinforced concrete structure tool positioning device and processing platform thereof

Publications (1)

Publication Number Publication Date
CN218801694U true CN218801694U (en) 2023-04-07

Family

ID=87260637

Family Applications (1)

Application Number Title Priority Date Filing Date
CN202222776462.5U Active CN218801694U (en) 2022-10-20 2022-10-20 Reinforced concrete structure tool positioning device and processing platform thereof

Country Status (1)

Country Link
CN (1) CN218801694U (en)

Similar Documents

Publication Publication Date Title
CN218801694U (en) Reinforced concrete structure tool positioning device and processing platform thereof
CN211162644U (en) Large-scale I-beam welding platform
CN216658421U (en) Prefabricated steel reinforcement framework processing auxiliary fixtures
CN215595014U (en) A installation positioner for inserting steel column down
JP3673108B2 (en) Hollow slab void member installation method
CN114130930A (en) Prefabricated steel reinforcement framework processing auxiliary fixtures
CN110629782B (en) Adjusting method of anchor bolt offline assembly device
CN219387160U (en) Quick assembly type template system
CN221001112U (en) Auxiliary tool for raft foundation reinforcement construction
CN113073841A (en) Modular assembly type post-cast strip independent supporting device and using method thereof
CN217268831U (en) Descending plate hanging mould supporting construction structure
CN215801769U (en) Pre-buried fixing device of roll line rag bolt
CN215443204U (en) Prefabricated post guiding device that takes one's place
CN215564570U (en) Prefabricated post bearing diagonal structure
CN211395731U (en) Foundation bolt off-line assembly device
CN215104605U (en) Adjustable base stone frock
CN219509179U (en) Beam bottom surface formwork appurtenance
CN114412169A (en) Post-cast strip construction method
CN210658421U (en) Large anchor bolt group mounting bracket of high-strength anchor bolt
CN110565675B (en) Large anchor bolt group mounting bracket of high-strength anchor bolts and construction method thereof
CN218090545U (en) Pier-pile steel-concrete transition joint steel plate levelness and plane position adjusting device
CN223236221U (en) Efficient installation device for U-shaped track bolts
CN219004417U (en) Support for manufacturing pipe gallery reinforcement cage
CN213952913U (en) Brackets for cantilevered scaffolding
CN219638249U (en) Positioner for binding reinforcing steel bar net

Legal Events

Date Code Title Description
GR01 Patent grant
GR01 Patent grant