CN218753919U - Cloth inspecting and rolling integrated equipment for spinning - Google Patents
Cloth inspecting and rolling integrated equipment for spinning Download PDFInfo
- Publication number
- CN218753919U CN218753919U CN202222673948.6U CN202222673948U CN218753919U CN 218753919 U CN218753919 U CN 218753919U CN 202222673948 U CN202222673948 U CN 202222673948U CN 218753919 U CN218753919 U CN 218753919U
- Authority
- CN
- China
- Prior art keywords
- cloth
- integrated equipment
- support frame
- inspection
- rolling
- Prior art date
- Legal status (The legal status is an assumption and is not a legal conclusion. Google has not performed a legal analysis and makes no representation as to the accuracy of the status listed.)
- Active
Links
Images
Landscapes
- Treatment Of Fiber Materials (AREA)
Abstract
本实用新型公开了一种纺织用验布卷布一体化设备,涉及纺织品技术领域,具体为一种纺织用验布卷布一体化设备,包括机体、安装在机体内部的放卷机构、安装在机体顶部的验布机构,所述机体的前端安装有对称分布的支撑架一,所述支撑架一的内侧设置有贴标机构,所述贴标机构包括安装在两个支撑架一之间的电动平移台,所述电动平移台的正面安装有伺服电缸,所述伺服电缸的底部安装有U型架。该纺织用验布卷布一体化设备,通过设置贴标机构,利用电动平移台带动伺服电缸左右移动,使U型架对准瑕疵部位,然后伺服电缸推动U型架向下移动,使收卷轮将标签纸贴到瑕疵部位,便于对瑕疵进行标记,方便后续对布料瑕疵查找修补。
The utility model discloses an integrated equipment for inspecting cloth and rolling cloth for textiles, relates to the technical field of textiles, in particular to an integrated equipment for inspecting cloth and rolling cloth for textiles, comprising a machine body, an unwinding mechanism installed inside the machine body, an The cloth inspection mechanism on the top of the body, the front end of the body is equipped with a symmetrically distributed support frame 1, and a labeling mechanism is arranged on the inner side of the support frame 1, and the labeling mechanism includes a support frame installed between two support frames 1. An electric translation platform, a servo electric cylinder is installed on the front of the electric translation platform, and a U-shaped frame is installed on the bottom of the servo electric cylinder. The integrated cloth inspection and rolling equipment for textile is equipped with a labeling mechanism, and uses an electric translation table to drive the servo electric cylinder to move left and right, so that the U-shaped frame is aligned with the defective part, and then the servo electric cylinder pushes the U-shaped frame to move downward, so that The rewinding wheel sticks the label paper to the defective part, which is convenient for marking the defect, and it is convenient for the subsequent search and repair of the fabric defect.
Description
技术领域technical field
本实用新型涉及纺织品技术领域,具体为一种纺织用验布卷布一体化设备。The utility model relates to the technical field of textiles, in particular to an integrated equipment for inspecting and rolling cloth for textiles.
背景技术Background technique
随着服装面料的质量问题及纠纷愈来愈多,准确而可靠的服装面料检验数据的提供,密切关系到纺织行业的命运,及增强国际市场的竞争力,所以在布料生产过程中,当针织机编织完布料后,还需要对编织好的布料进行卷收,为了确保生产出的布匹的品质,工作人员需要对布料进行检验,验布时都是将卷绕好的布料先放置到验布机上,然后再由人工手动拉着布在验布机上进行查看检验。With more and more quality problems and disputes of clothing fabrics, the provision of accurate and reliable clothing fabric inspection data is closely related to the fate of the textile industry and enhances the competitiveness of the international market. Therefore, in the process of fabric production, when knitting After the machine weaves the fabric, it is necessary to wind up the woven fabric. In order to ensure the quality of the produced fabric, the staff needs to inspect the fabric. When inspecting the fabric, the rolled fabric is first placed in the fabric inspection On the machine, and then manually pull the cloth on the cloth inspection machine for inspection and inspection.
已公开专利CN213923353U公开了一种纺织用验布卷布一体机,包括下机体、底座和上机体,所述下机体的上端设置有上机体,且下机体的底部前侧设置有底座,并且下机体的左侧面上设置有操控面板,所述上机体的上部后端设置有后防尘罩,且上机体的上部前端设置有前防尘罩,所述下机体的前侧面左右两部均安装有第一斜撑杆、第二斜撑杆和第三斜撑杆,且第一斜撑杆、第二斜撑杆和第三斜撑杆的上端均固定在顶板的底面,所述顶板的上端面设置有斜板,且斜板的上端面左右两部均安装有第一安装架和第安装架。该纺织用验布卷布一体机,结构合理,方便在卷收布料时,同步进行验布工作,方便减轻工作工员的负担,并且检验更加快速便利,有助于提高整体工作效率,该专利存在以下缺点:一、该专利使用X射线检测器进行验布,只具有验布的功能,不能够将布料的瑕疵标记出来,不便于修补,二、该专利使用第一夹板和第二夹板对卷布辊进行夹紧固定,在对卷布辊进行安装和拆卸时都需要开合第一夹板和第二夹板,不便于卷布辊拆装,为此我们提供了一种纺织用验布卷布一体化设备。Published patent CN213923353U discloses a cloth inspection and rolling machine for textiles, comprising a lower body, a base and an upper body, the upper end of the lower body is provided with an upper body, and the bottom front side of the lower body is provided with a base, and the lower body The left side of the body is provided with a control panel, the upper rear end of the upper body is provided with a rear dust cover, and the upper front end of the upper body is provided with a front dust cover, and the front side of the lower body is left and right. The first diagonal brace, the second diagonal brace and the third diagonal brace are installed, and the upper ends of the first diagonal brace, the second diagonal brace and the third diagonal brace are all fixed on the bottom surface of the top plate, and the top plate A slant plate is arranged on the upper end surface of the slant plate, and the first mounting frame and the second mounting frame are installed on the left and right sides of the upper end surface of the sloping plate. The all-in-one cloth inspection and rolling machine for textiles has a reasonable structure, which is convenient for simultaneous cloth inspection when rolling up the cloth, which is convenient to reduce the burden on the workers, and the inspection is faster and more convenient, which helps to improve the overall work efficiency. The patent There are the following disadvantages: 1. This patent uses an X-ray detector to inspect the cloth, which only has the function of inspecting the cloth, and cannot mark the defects of the cloth, so it is not easy to repair. 2. This patent uses the first splint and the second splint to pair The cloth rolling roller is clamped and fixed. When installing and dismounting the cloth rolling roller, it is necessary to open and close the first splint and the second splint, which is not easy to disassemble and assemble the cloth rolling roller. For this reason, we provide a textile inspection roll Cloth integrated equipment.
实用新型内容Utility model content
针对现有技术的不足,本实用新型提供了一种纺织用验布卷布一体化设备,解决了上述背景技术中提出的问题。Aiming at the deficiencies of the prior art, the utility model provides an integrated equipment for textile inspection and rolling, which solves the problems raised in the above-mentioned background technology.
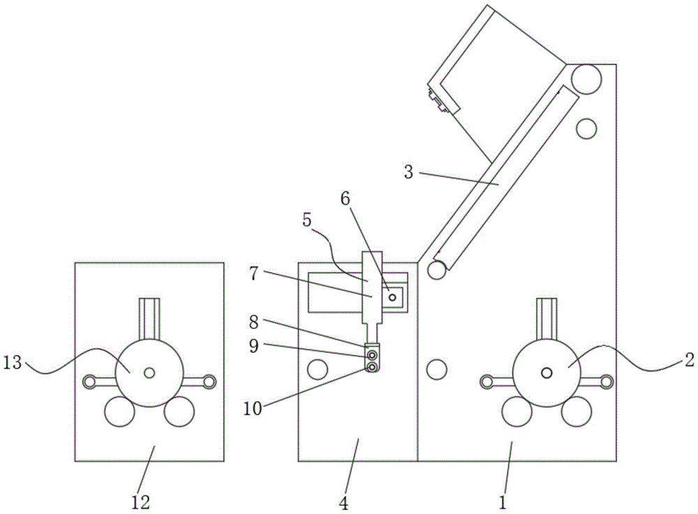
为实现以上目的,本实用新型通过以下技术方案予以实现:一种纺织用验布卷布一体化设备,包括机体、安装在机体内部的放卷机构、安装在机体顶部的验布机构,所述机体的前端安装有对称分布的支撑架一,所述支撑架一的内侧设置有贴标机构,所述贴标机构包括安装在两个支撑架一之间的电动平移台,所述电动平移台的正面安装有伺服电缸,所述伺服电缸的底部安装有U型架,所述U型架的内部活动套装有放卷轮和收卷轮,所述支撑架一的前端放置有支撑架二,所述支撑架二的内侧设置有收卷机构。In order to achieve the above objectives, the utility model is realized through the following technical solutions: an integrated equipment for textile inspection and rolling, including a body, an unwinding mechanism installed inside the body, and a cloth inspection mechanism installed on the top of the body. The front end of the body is equipped with a symmetrically distributed
可选的,所述电动平移台横向水平放置,所述电动平移台的两端安装在支撑架一中,所述电动平移台用来驱动伺服电缸左右移动。Optionally, the electric translation platform is horizontally placed, both ends of the electric translation platform are installed in the
可选的,所述U型架为倒U型结构,所述放卷轮位于收卷轮的正上方,所述U型架的侧面安装有微型伺服电机,所述微型伺服电机的输出轴与收卷轮的一侧固定连接。Optionally, the U-shaped frame is an inverted U-shaped structure, the unwinding wheel is located directly above the winding wheel, a micro servo motor is installed on the side of the U-shaped frame, and the output shaft of the micro servo motor is connected to the One side of the winding wheel is fixedly connected.
可选的,所述放卷轮的外部绕卷有标签带,所述标签带的底端绕卷到收卷轮上,所述标签带的外侧贴合有标签纸。Optionally, a label tape is wound around the outside of the unwinding wheel, the bottom end of the label tape is wound onto the take-up wheel, and label paper is pasted on the outside of the label tape.
可选的,所述收卷机构包括活动套装在两个支撑架二之间的驱动辊一、驱动辊二,所述驱动辊一和驱动辊二之间通过皮带传动连接,所述驱动辊一的一端安装有驱动电机,并且驱动电机安装在支撑架二的内部。Optionally, the winding mechanism includes a
可选的,所述支撑架二之间安装有对称放置的导杆,所述导杆之间活动套接有对称分布的滑架,所述滑架的顶部连接有安装槽,所述安装槽的内部卡接有卷布辊。Optionally, symmetrically placed guide rods are installed between the two support frames, symmetrically distributed carriages are movably socketed between the guide rods, and installation grooves are connected to the tops of the carriages, and the installation grooves There is a cloth rolling roller clamped inside.
可选的,所述安装槽为U形的竖槽,所述安装槽对称分布在卷布辊的两端。Optionally, the installation grooves are U-shaped vertical grooves, and the installation grooves are symmetrically distributed at both ends of the cloth winding roller.
本实用新型提供了一种纺织用验布卷布一体化设备,具备以下有益效果:The utility model provides an integrated equipment for textile inspection and rolling, which has the following beneficial effects:
1、该纺织用验布卷布一体化设备,通过设置贴标机构,在验布机构检验出布料上的瑕疵后,利用电动平移台带动伺服电缸左右移动,使U型架对准瑕疵部位,然后伺服电缸推动U型架向下移动,使收卷轮将标签纸贴到瑕疵部位,便于对瑕疵进行标记,方便后续对布料瑕疵查找修补。1. The textile cloth inspection and rolling integrated equipment is equipped with a labeling mechanism. After the cloth inspection mechanism detects the defects on the fabric, the electric translation table is used to drive the servo electric cylinder to move left and right, so that the U-shaped frame is aligned with the defect. , and then the servo electric cylinder pushes the U-shaped frame to move down, so that the rewinding wheel sticks the label paper to the defective part, which is convenient for marking the defect and convenient for subsequent search and repair of the fabric defect.
2、该纺织用验布卷布一体化设备,通过设置收卷机构,卷布辊的两端之间放置到安装槽中,然后通过驱动辊一和驱动辊二驱动卷布辊转动,实现对布料的收卷,不需要将卷布辊与驱动电机连接在一起,因此不用对卷布辊进行夹持固定,拆装起来都比较的方便。2. The integrated textile cloth inspection and rolling equipment is equipped with a winding mechanism, and the two ends of the cloth rolling roller are placed in the installation groove, and then the
附图说明Description of drawings
图1为本实用新型结构示意图;Fig. 1 is the structural representation of the utility model;
图2为本实用新型另一角度的结构示意图;Fig. 2 is the structural representation of another angle of the utility model;
图3为本实用新型半剖的结构示意图;Fig. 3 is the structure schematic diagram of half section of the utility model;
图4为本实用新型贴标机构的结构示意图;Fig. 4 is the structural representation of labeling mechanism of the present utility model;
图5为本实用新型收卷轮的结构示意图;Fig. 5 is the structural representation of the utility model winding wheel;
图6为本实用新型收卷机构的结构示意图。Fig. 6 is a structural schematic diagram of the winding mechanism of the present invention.
图中:1、机体;2、放卷机构;3、验布机构;4、支撑架一;5、贴标机构;6、电动平移台;7、伺服电缸;8、U型架;9、放卷轮;10、收卷轮;11、微型伺服电机;12、支撑架二;13、收卷机构;14、驱动辊一;15、驱动电机;16、驱动辊二;17、导杆;18、滑架;19、安装槽;20、卷布辊;21、标签带;22、标签纸。In the figure: 1. Body; 2. Unwinding mechanism; 3. Cloth inspection mechanism; 4.
具体实施方式Detailed ways
下面将结合本实用新型实施例中的附图,对本实用新型实施例中的技术方案进行清楚、完整地描述,显然,所描述的实施例仅仅是本实用新型一部分实施例,而不是全部的实施例。The technical solutions in the embodiments of the present invention will be clearly and completely described below in conjunction with the accompanying drawings in the embodiments of the present invention. Obviously, the described embodiments are only part of the embodiments of the present invention, not all of them. example.
请参阅图1至图4,本实用新型提供一种技术方案:一种纺织用验布卷布一体化设备,包括机体1、安装在机体1内部的放卷机构2、安装在机体1顶部的验布机构3,验布机构3和收卷机构13的结构相同,机体1的前端安装有对称分布的支撑架一4,支撑架一4的内侧设置有贴标机构5,贴标机构5包括安装在两个支撑架一4之间的电动平移台6,通过设置电动平移台6,电动平移台6能够带动伺服电缸7左右移动,从而使U型架8能够对准布料的瑕疵部位,电动平移台6的正面安装有伺服电缸7,电动平移台6横向水平放置,电动平移台6的两端安装在支撑架一4中,电动平移台6用来驱动伺服电缸7左右移动,通过设置伺服电缸7,伺服电缸7用来推动U型架8上下移动,从而使U型架8向下将标签纸22贴合到布料瑕疵处。Please refer to Figures 1 to 4, the utility model provides a technical solution: an integrated equipment for textile inspection and rolling, including a
请参阅图3至图5,伺服电缸7的底部安装有U型架8,U型架8为倒U型结构,U型架8的内部活动套装有放卷轮9和收卷轮10,通过放卷轮9和收卷轮10的配合使用,放卷轮9用来对标签带21进行放卷,收卷轮10用来对标签带21进行收卷,放卷轮9位于收卷轮10的正上方,U型架8的侧面安装有微型伺服电机11,微型伺服电机11的输出轴与收卷轮10的一侧固定连接,通过设置微型伺服电机11,微型伺服电机11用来驱动收卷轮10转动,使收卷轮10卷起标签带21,放卷轮9的外部绕卷有标签带21,标签带21的底端绕卷到收卷轮10上,标签带21的外侧贴合有标签纸22,标签纸22用来贴合到布料的瑕疵处,用来对瑕疵处进行标记。Please refer to Fig. 3 to Fig. 5, a
请参阅图1、图6,支撑架一4的前端放置有支撑架二12,支撑架二12的内侧设置有收卷机构13,收卷机构13包括活动套装在两个支撑架二12之间的驱动辊一14、驱动辊二16,通过驱动辊一14和驱动辊二16的配合使用,利用驱动辊一14和驱动辊二16驱动卷布辊20转动,能够使卷布辊20对布料进行收卷,驱动辊一14和驱动辊二16之间通过皮带传动连接,驱动辊一14的一端安装有驱动电机15,并且驱动电机15安装在支撑架二12的内部,通过设置驱动电机15,驱动电机15用来驱动驱动辊一14转动,驱动辊一14再由皮带带动驱动辊二16通过旋转。Please refer to Fig. 1 and Fig. 6, the front end of
请参阅图6,支撑架二12之间安装有对称放置的导杆17,导杆17起到对滑架18支撑和导向的作用,导杆17之间活动套接有对称分布的滑架18,通过设置滑架18,滑架18能够沿着导杆17滑动,能够根据卷布辊20的长度调整间距,适应不同长度的卷布辊20,滑架18的顶部连接有安装槽19,安装槽19的内部卡接有卷布辊20,安装槽19为U形的竖槽,安装槽19对称分布在卷布辊20的两端,安装槽19起到对卷布辊20限位的作用,方便卷布辊20在安装槽19的内部转动,上提卷布辊20即可将其从安装槽19中取出,便于拆卸。Please refer to Figure 6, there are symmetrically placed
综上,该纺织用验布卷布一体化设备,使用时,将布料辊放置到放卷机构2中进行放卷,然后布料经过验布机构3的上表面进行瑕疵检查,之后布料经过贴标机构5的下方,当验布机构3检测出瑕疵时,通过电动平移台6带动伺服电缸7左右移动,使U型架8对准瑕疵处,然后伺服电缸7推动U型架8向下移动,使收卷轮10将标签纸22贴合到瑕疵处,贴合完成后伺服电缸7带动U型架8上移,同时微型伺服电机11带动收卷轮10转动,使下一个标签移动到收卷轮10的正下方进行下一个瑕疵部位的贴标,布料最后被收卷到卷布辊20上,通过驱动电机15带动驱动辊一14和驱动辊二16转动,使驱动辊一14和驱动辊二16驱动卷布辊20转动对布料进行收卷,收卷完成后,直接上提卷布辊20将其从安装槽19中取出,即可。To sum up, when the textile cloth inspection and rolling integrated equipment is used, the cloth roller is placed in the
在本实用新型的描述中,需要说明的是,术语“中心”、“上”、“下”、“左”、“右”、“竖直”、“水平”、“内”、“外”等指示的方位或位置关系为基于附图所示的方位或位置关系,仅是为了便于描述本实用新型和简化描述,而不是指示或暗示所指的装置或元件必须具有特定的方位、以特定的方位构造和操作,因此不能理解为对本实用新型的限制;术语“第一”、“第二”、“第三”仅用于描述目的,而不能理解为指示或暗示相对重要性,此外,除非另有明确的规定和限定,术语“安装”、“相连”、“连接”应做广义理解,例如,可以是固定连接,也可以是可拆卸连接,或一体地连接;可以是机械连接,也可以是电连接;可以是直接相连,也可以通过中间媒介间接相连,可以是两个元件内部的连通。对于本领域的普通技术人员而言,可以具体情况理解上述术语在本实用新型中的具体含义。而且,术语“包括”、“包含”或者其任何其他变体意在涵盖非排他性的包含,从而使得包括一系列要素的过程、方法、物品或者设备不仅包括那些要素,而且还包括没有明确列出的其他要素,或者是还包括为这种过程、方法、物品或者设备所固有的要素。In the description of the present utility model, it should be noted that the terms "center", "upper", "lower", "left", "right", "vertical", "horizontal", "inner", "outer" The orientation or positional relationship indicated by etc. is based on the orientation or positional relationship shown in the drawings, which is only for the convenience of describing the utility model and simplifying the description, rather than indicating or implying that the device or element referred to must have a specific orientation, use a specific Therefore, it cannot be construed as a limitation on the present invention; the terms "first", "second", and "third" are only used for descriptive purposes, and cannot be interpreted as indicating or implying relative importance. In addition, Unless otherwise clearly specified and limited, the terms "installation", "connection" and "connection" should be interpreted in a broad sense, for example, it may be a fixed connection, a detachable connection, or an integral connection; it may be a mechanical connection, It can also be an electrical connection; it can be a direct connection, or an indirect connection through an intermediary, or an internal communication between two components. Those of ordinary skill in the art can understand the specific meanings of the above terms in the present utility model in specific situations. Furthermore, the term "comprises", "comprises" or any other variation thereof is intended to cover a non-exclusive inclusion such that a process, method, article, or apparatus comprising a set of elements includes not only those elements, but also includes elements not expressly listed. other elements of or also include elements inherent in such a process, method, article, or device.
尽管已经示出和描述了本实用新型的实施例,对于本领域的普通技术人员而言,可以理解在不脱离本实用新型的原理和精神的情况下可以对这些实施例进行多种变化、修改、替换和变型,本实用新型的范围由所附权利要求及其等同物限定。Although the embodiments of the present invention have been shown and described, those skilled in the art can understand that various changes and modifications can be made to these embodiments without departing from the principle and spirit of the present invention , replacements and modifications, the scope of the present utility model is defined by the appended claims and their equivalents.
Claims (7)
Priority Applications (1)
| Application Number | Priority Date | Filing Date | Title |
|---|---|---|---|
| CN202222673948.6U CN218753919U (en) | 2022-10-11 | 2022-10-11 | Cloth inspecting and rolling integrated equipment for spinning |
Applications Claiming Priority (1)
| Application Number | Priority Date | Filing Date | Title |
|---|---|---|---|
| CN202222673948.6U CN218753919U (en) | 2022-10-11 | 2022-10-11 | Cloth inspecting and rolling integrated equipment for spinning |
Publications (1)
| Publication Number | Publication Date |
|---|---|
| CN218753919U true CN218753919U (en) | 2023-03-28 |
Family
ID=85698210
Family Applications (1)
| Application Number | Title | Priority Date | Filing Date |
|---|---|---|---|
| CN202222673948.6U Active CN218753919U (en) | 2022-10-11 | 2022-10-11 | Cloth inspecting and rolling integrated equipment for spinning |
Country Status (1)
| Country | Link |
|---|---|
| CN (1) | CN218753919U (en) |
Cited By (2)
| Publication number | Priority date | Publication date | Assignee | Title |
|---|---|---|---|---|
| CN116203034A (en) * | 2023-04-13 | 2023-06-02 | 浙江谦丝忆纺织科技有限公司 | Sofa fabric warp knitting cloth inspecting equipment |
| CN119936041A (en) * | 2025-04-10 | 2025-05-06 | 福建合鸿胜针纺实业有限公司 | A fabric defect detection device |
-
2022
- 2022-10-11 CN CN202222673948.6U patent/CN218753919U/en active Active
Cited By (2)
| Publication number | Priority date | Publication date | Assignee | Title |
|---|---|---|---|---|
| CN116203034A (en) * | 2023-04-13 | 2023-06-02 | 浙江谦丝忆纺织科技有限公司 | Sofa fabric warp knitting cloth inspecting equipment |
| CN119936041A (en) * | 2025-04-10 | 2025-05-06 | 福建合鸿胜针纺实业有限公司 | A fabric defect detection device |
Similar Documents
| Publication | Publication Date | Title |
|---|---|---|
| CN218753919U (en) | Cloth inspecting and rolling integrated equipment for spinning | |
| CN220340072U (en) | Auxiliary detection device for cotton knitted fabric | |
| CN216378860U (en) | Online intelligent cloth inspecting system convenient to move for spinning | |
| CN206126469U (en) | Continuous rolling of fine weaving special chemical fibre monofilament warping coiled hair of machine | |
| CN217786936U (en) | Cloth inspecting equipment with tensioning structure for garment processing | |
| CN211284995U (en) | Cloth inspecting machine for garment cloth production | |
| CN218462368U (en) | Cross cutting product outward appearance detects machine | |
| CN216360282U (en) | Shaft pulling device of suspension type cloth splitting machine | |
| CN216189602U (en) | Intelligent full-automatic coil separator | |
| CN109179001B (en) | Cloth guide and winding device of cloth winding machine | |
| CN219566983U (en) | Cloth inspection machine with winding function | |
| CN115432493A (en) | Pole piece unwinding device | |
| CN216688775U (en) | Tension-free cloth inspecting machine based on triaxial synchronous control | |
| CN209971799U (en) | A looping tape tearing mechanism | |
| CN221821447U (en) | Paper tape tensioning mechanism for paper backing machine | |
| CN222979460U (en) | Visual detection device for cloth printing and dyeing flaws and defects | |
| CN219314279U (en) | Cloth inspection machine with automatic cloth withdrawal function | |
| CN220844752U (en) | Full-automatic guiding device for fiber film winding equipment | |
| CN208830009U (en) | A kind of perching platform | |
| CN223032540U (en) | A roll material unwinding and cloth pulling device | |
| CN222006696U (en) | Continuous unwinding mechanism of non-woven fabric laminating machine | |
| CN219971339U (en) | Winding mechanism for processing non-woven fabrics | |
| CN218878847U (en) | Cloth winding device for textile production | |
| CN220671301U (en) | Polymer fiber cloth surface flaw detection device | |
| CN222159249U (en) | Full-automatic double-sided cloth inspection machine |
Legal Events
| Date | Code | Title | Description |
|---|---|---|---|
| GR01 | Patent grant | ||
| GR01 | Patent grant | ||
| TR01 | Transfer of patent right | ||
| TR01 | Transfer of patent right |
Effective date of registration: 20251124 Address after: 276000 Shandong Province, Linyi City, Luozhuang District, Gaodu Street, Gaodu Industrial Park (inside the compound of Shandong Xiaofeng Food Co., Ltd.) Patentee after: Linyi Jintian Weima Textile Co.,Ltd. Country or region after: China Address before: No. 4, Floor 1, Building B, Brand Children's Clothing City, No. 28, Pingzhou Shilong North Road, Guicheng Street, Nanhai District, Foshan City, Guangdong Province, 528000 Patentee before: Foshan Nanhai District Xinhongye Textile Trading Co.,Ltd. Country or region before: China |
