CN218747393U - 一种具有真空仿形定位结构的加工治具 - Google Patents
一种具有真空仿形定位结构的加工治具 Download PDFInfo
- Publication number
- CN218747393U CN218747393U CN202223313128.2U CN202223313128U CN218747393U CN 218747393 U CN218747393 U CN 218747393U CN 202223313128 U CN202223313128 U CN 202223313128U CN 218747393 U CN218747393 U CN 218747393U
- Authority
- CN
- China
- Prior art keywords
- fixedly provided
- fixed
- tool
- worm
- base
- Prior art date
- Legal status (The legal status is an assumption and is not a legal conclusion. Google has not performed a legal analysis and makes no representation as to the accuracy of the status listed.)
- Active
Links
- 230000002146 bilateral effect Effects 0.000 claims abstract description 5
- 230000006978 adaptation Effects 0.000 claims description 6
- 230000017525 heat dissipation Effects 0.000 claims description 4
- 238000004519 manufacturing process Methods 0.000 abstract description 6
- 230000008901 benefit Effects 0.000 abstract description 4
- 238000000034 method Methods 0.000 description 7
- 230000009286 beneficial effect Effects 0.000 description 5
- 230000009471 action Effects 0.000 description 4
- 230000008569 process Effects 0.000 description 4
- 230000004075 alteration Effects 0.000 description 1
- 210000000080 chela (arthropods) Anatomy 0.000 description 1
- 230000006872 improvement Effects 0.000 description 1
- 238000012986 modification Methods 0.000 description 1
- 230000004048 modification Effects 0.000 description 1
- 238000006467 substitution reaction Methods 0.000 description 1
Images
Landscapes
- Jigs For Machine Tools (AREA)
Abstract
本实用新型涉及治具技术领域,且公开了一种具有真空仿形定位结构的加工治具,包括底座,所述底座的顶部固定安装有数量为两个且呈左右对称分布的支撑杆,两个所述支撑杆的内侧均转动连接有转动连接有转轴,两个所述转轴的相对一侧固定安装有同一个固定框。该具有真空仿形定位结构的加工治具,具备便于调节加工方向等优点,解决了在一些电子加工厂,需要对不同尺寸的工件进行装配,需要借助治具辅助组装,对于多样少量的生产模式,往往需要使用到多个治具,传统的治具无法根据实际需要进行调节,反而造成生产成本提高的缺点,且传统治具无法多角度调节,使用操作不便的问题。
Description
技术领域
本实用新型涉及治具技术领域,具体为一种具有真空仿形定位结构的加工治具。
背景技术
治具是一个木工、铁工、钳工、机械、电控以及其他一些手工艺品的大类工具,主要是作为协助控制位置或动作(或两者)的一种工具,治具可以分为工艺装配类治具、项目测试类治具和线路板测试类治具三类。
在一些电子加工厂,需要对不同尺寸的工件进行装配,需要借助治具辅助组装,对于多样少量的生产模式,往往需要使用到多个治具,传统的治具无法根据实际需要进行调节,反而造成生产成本提高的缺点,且传统治具无法多角度调节,使用操作不便,故而提出一种具有真空仿形定位结构的加工治具来解决上述所提的问题。
实用新型内容
(一)解决的技术问题
针对现有技术的不足,本实用新型提供了一种具有真空仿形定位结构的加工治具,具备便于调节加工方向等优点,解决了在一些电子加工厂,需要对不同尺寸的工件进行装配,需要借助治具辅助组装,对于多样少量的生产模式,往往需要使用到多个治具,传统的治具无法根据实际需要进行调节,反而造成生产成本提高的缺点,且传统治具无法多角度调节,使用操作不便的问题。
(二)技术方案
本实用新型解决上述技术问题的技术方案如下:一种具有真空仿形定位结构的加工治具,包括底座,所述底座的顶部固定安装有数量为两个且呈左右对称分布的支撑杆,两个所述支撑杆的内侧均转动连接有转动连接有转轴,两个所述转轴的相对一侧固定安装有同一个固定框,所述固定框的内侧固定安装有数量为两个且呈左右对称分布的滑杆,所述固定框的顶部固定安装有气缸,所述气缸的输出端固定安装有位于两个滑杆外侧的滑板,所述滑板的底部转动连接有第一夹持盘,所述固定框的底部固定安装有固定仓,所述固定仓的内腔底壁固定安装有电机,所述电机的输出端固定安装蜗杆,所述蜗固定仓的内腔底壁固定安装有蜗轮,所述蜗轮与蜗杆相互啮合,所述蜗轮的顶部固定安装有一端延伸至固定仓顶部的长轴,所述长轴的顶部固定安装有第二夹持盘,两个所述支撑杆的顶部均螺纹连接螺杆。
本实用新型的有益效果是:将工件放置在第一夹持盘与第二夹持盘之间,启动气缸使滑板沿着两个滑杆向下移动,将工件夹持,启动电机,使蜗杆带动蜗轮转动,蜗轮通过长轴带动工件横向转动,主动两个螺杆,转动固定框可调节工件的纵向角度,在通过转动两个螺杆,使其与转轴接触从而进行限位。
该具有真空仿形定位结构的加工治具,具备了便于调节加工方向的优点。
在上述技术方案的基础上,本实用新型还可以做如下改进。
进一步,所述蜗杆的后侧与固定仓转动连接,所述滑板与两个滑杆滑动连接。
采用上述进一步方案的有益效果是,通过蜗轮与固定仓转动连接,使蜗杆转动的更加稳定,通过滑板与滑杆滑动连接,可使滑板沿着滑杆上下滑动。
进一步,所述底座的底部固定安装有防滑垫,所述防滑垫与底座相适配。
采用上述进一步方案的有益效果是,通过防滑垫可防止底座滑动。
进一步,所述固定仓的外侧开设有散热孔,所述散热孔的数量为四个。
采用上述进一步方案的有益效果是,通过散热孔可防止电机的内部温度过高。
进一步,所述螺杆的顶部固定安装有转盘,所述转盘的外侧开设有防滑槽。
采用上述进一步方案的有益效果是,通过转盘便于转动螺杆,防滑槽可增加手部摩擦力,便于转动转盘。
进一步,两个所述支撑杆的间距与固定框相适配,两个所述螺杆与转轴相接触。
采用上述进一步方案的有益效果是,两个支撑杆的间距与固定框相适配,便于转动固定框,两个螺杆与转轴相接触,便于通过螺杆对转轴进行限位。
附图说明
图1为本实用新型结构示意图;
图2为本实用新型气缸与滑板连接结构侧视图;
图3为本实用新型固定框与固定仓连接结构正视图;
图4为本实用新型支撑杆与转轴连接结构侧视图。
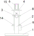
图中:1、底座;2、支撑杆;3、转轴;4、固定框;5、滑杆;6、气缸;7、滑板;8、第一夹持盘;9、固定仓;10、电机;11、蜗杆;12、蜗轮;13、长轴;14、第二夹持盘;15、螺杆。
具体实施方式
下面将结合本实用新型实施例中的附图,对本实用新型实施例中的技术方案进行清楚、完整地描述,显然,所描述的实施例仅仅是本实用新型一部分实施例,而不是全部的实施例。基于本实用新型中的实施例,本领域普通技术人员在没有做出创造性劳动前提下所获得的所有其他实施例,都属于本实用新型保护的范围。
实施例中,由图1-4给出,一种具有真空仿形定位结构的加工治具,本实用新型包括底座1,底座1的顶部固定安装有数量为两个且呈左右对称分布的支撑杆2,两个支撑杆2的内侧均转动连接有转动连接有转轴3,两个转轴3的相对一侧固定安装有同一个固定框4,固定框4的内侧固定安装有数量为两个且呈左右对称分布的滑杆5,固定框4的顶部固定安装有气缸6,气缸6的输出端固定安装有位于两个滑杆5外侧的滑板7,滑板7的底部转动连接有第一夹持盘8,固定框4的底部固定安装有固定仓9,固定仓9的内腔底壁固定安装有电机10,电机10的输出端固定安装蜗杆11,蜗固定仓9的内腔底壁固定安装有蜗轮12,蜗轮12与蜗杆11相互啮合,蜗轮12的顶部固定安装有一端延伸至固定仓9顶部的长轴13,长轴13的顶部固定安装有第二夹持盘14,两个支撑杆2的顶部均螺纹连接螺杆15;
蜗杆11的后侧与固定仓9转动连接,滑板7与两个滑杆5滑动连接;
通过蜗杆11与固定仓9转动连接,使蜗杆11转动的更加稳定,通过滑板7与滑杆5滑动连接,可使滑板7沿着滑杆5上下滑动;
底座1的底部固定安装有防滑垫,防滑垫与底座1相适配;
通过防滑垫能够增加底座1底部的摩擦力,防止底座1在使用中滑动;
固定仓9的外侧开设有散热孔,散热孔的数量为四个;
通过散热孔能够将固定仓9内部的热量散出,可防止电机10在使用时温度过高,影响工作;
螺杆15的顶部固定安装有转盘,转盘的外侧开设有防滑槽;
通过转盘便于转动螺杆15,防滑槽可增加手部摩擦力,便于转动转盘;
两个支撑杆2的间距与固定框4相适配,两个螺杆15与转轴3相接触;
两个支撑杆2的间距与固定框4相适配,便于转动固定框4,两个螺杆15与转轴3相接触,便于通过螺杆15对转轴3进行限位。
工作原理:
第一步:将工件放置在第一夹持盘8与第二夹持盘14之间,启动气缸6使滑板7沿着两个滑杆5向下移动,将工件夹持;
第二步:启动电机10,使蜗杆11带动蜗轮12转动,蜗轮12通过长轴13带动工件横向转动;
第三步:主动两个螺杆15,转动固定框4可调节工件的纵向角度,在通过转动两个螺杆15,使其与转轴3接触从而进行限位。
需要说明的是,在本文中,诸如第一和第二等之类的关系术语仅仅用来将一个实体或者操作与另一个实体或操作区分开来,而不一定要求或者暗示这些实体或操作之间存在任何这种实际的关系或者顺序。而且,术语“包括”、“包含”或者其任何其他变体意在涵盖非排他性的包含,从而使得包括一系列要素的过程、方法、物品或者设备不仅包括那些要素,而且还包括没有明确列出的其他要素,或者是还包括为这种过程、方法、物品或者设备所固有的要素。在没有更多限制的情况下,由语句“包括一个……”限定的要素,并不排除在包括所述要素的过程、方法、物品或者设备中还存在另外的相同要素。
尽管已经示出和描述了本实用新型的实施例,对于本领域的普通技术人员而言,可以理解在不脱离本实用新型的原理和精神的情况下可以对这些实施例进行多种变化、修改、替换和变型,本实用新型的范围由所附权利要求及其等同物限定。
Claims (6)
1.一种具有真空仿形定位结构的加工治具,包括底座(1),其特征在于:所述底座(1)的顶部固定安装有数量为两个且呈左右对称分布的支撑杆(2),两个所述支撑杆(2)的内侧均转动连接有转轴(3),两个所述转轴(3)的相对一侧固定安装有同一个固定框(4),所述固定框(4)的内侧固定安装有数量为两个且呈左右对称分布的滑杆(5),所述固定框(4)的顶部固定安装有气缸(6),所述气缸(6)的输出端固定安装有位于两个滑杆(5)外侧的滑板(7),所述滑板(7)的底部转动连接有第一夹持盘(8),所述固定框(4)的底部固定安装有固定仓(9),所述固定仓(9)的内腔底壁固定安装有电机(10),所述电机(10)的输出端固定安装蜗杆(11),所述固定仓(9)的内腔底壁固定安装有蜗轮(12),所述蜗轮(12)与蜗杆(11)相互啮合,所述蜗轮(12)的顶部固定安装有一端延伸至固定仓(9)顶部的长轴(13),所述长轴(13)的顶部固定安装有第二夹持盘(14),两个所述支撑杆(2)的顶部均螺纹连接螺杆(15)。
2.根据权利要求1所述的一种具有真空仿形定位结构的加工治具,其特征在于:所述蜗杆(11)的后侧与固定仓(9)转动连接,所述滑板(7)与两个滑杆(5)滑动连接。
3.根据权利要求1所述的一种具有真空仿形定位结构的加工治具,其特征在于:所述底座(1)的底部固定安装有防滑垫,所述防滑垫与底座(1)相适配。
4.根据权利要求1所述的一种具有真空仿形定位结构的加工治具,其特征在于:所述固定仓(9)的外侧开设有散热孔,所述散热孔的数量为四个。
5.根据权利要求1所述的一种具有真空仿形定位结构的加工治具,其特征在于:所述螺杆(15)的顶部固定安装有转盘,所述转盘的外侧开设有防滑槽。
6.根据权利要求1所述的一种具有真空仿形定位结构的加工治具,其特征在于:两个所述支撑杆(2)的间距与固定框(4)相适配,两个所述螺杆(15)与转轴(3)相接触。
Priority Applications (1)
| Application Number | Priority Date | Filing Date | Title |
|---|---|---|---|
| CN202223313128.2U CN218747393U (zh) | 2022-12-09 | 2022-12-09 | 一种具有真空仿形定位结构的加工治具 |
Applications Claiming Priority (1)
| Application Number | Priority Date | Filing Date | Title |
|---|---|---|---|
| CN202223313128.2U CN218747393U (zh) | 2022-12-09 | 2022-12-09 | 一种具有真空仿形定位结构的加工治具 |
Publications (1)
| Publication Number | Publication Date |
|---|---|
| CN218747393U true CN218747393U (zh) | 2023-03-28 |
Family
ID=85681629
Family Applications (1)
| Application Number | Title | Priority Date | Filing Date |
|---|---|---|---|
| CN202223313128.2U Active CN218747393U (zh) | 2022-12-09 | 2022-12-09 | 一种具有真空仿形定位结构的加工治具 |
Country Status (1)
| Country | Link |
|---|---|
| CN (1) | CN218747393U (zh) |
-
2022
- 2022-12-09 CN CN202223313128.2U patent/CN218747393U/zh active Active
Similar Documents
| Publication | Publication Date | Title |
|---|---|---|
| CN221809125U (zh) | 一种台钻用定位装置 | |
| CN216829026U (zh) | 一种具有快速夹装结构的线切割机床 | |
| CN218747393U (zh) | 一种具有真空仿形定位结构的加工治具 | |
| CN214134042U (zh) | 一种用于加工五金件的钻孔设备 | |
| CN218534098U (zh) | 管旋压夹具工装 | |
| CN221134902U (zh) | 一种便于定位的钻床 | |
| CN221870370U (zh) | 一种化工设备配件加工用钻孔装置 | |
| CN220613067U (zh) | 一种方形工件装夹机构 | |
| CN219404015U (zh) | 一种用于模具加工的定位工装 | |
| CN218694613U (zh) | 可固定异型工件的攻丝机 | |
| CN221362829U (zh) | 一种便捷式立式钻床的定位装置 | |
| CN210615421U (zh) | 一种调节式线切割机用工作台 | |
| CN221622992U (zh) | 一种易于调整的热压装置 | |
| CN221755450U (zh) | 一种具有防护结构的机械模具机床 | |
| CN218110225U (zh) | 一种升高短节内外表面除毛刺装置 | |
| CN223820368U (zh) | 一种碳化硅加热棒加工用限位装置 | |
| CN220838940U (zh) | 一种雕刻机使用的定位结构 | |
| CN221791779U (zh) | 一种数控车床用的旋转式夹具 | |
| CN223544979U (zh) | 一种用于铝型材加工的抛光装置 | |
| CN222971632U (zh) | 一种用于金属制品的加工定位机 | |
| CN218808916U (zh) | 一种三坐标测量仪用可自动上料装置 | |
| CN223313519U (zh) | 一种便于调节的模型雕刻夹具 | |
| CN222113663U (zh) | 一种工业机器人制造用切割装置 | |
| CN221247219U (zh) | 一种稳定型齿轮加工夹具 | |
| CN222289898U (zh) | 一种电子元器件加工用定位工装 |
Legal Events
| Date | Code | Title | Description |
|---|---|---|---|
| GR01 | Patent grant | ||
| GR01 | Patent grant |