CN218731495U - Battery Packs and Vehicles - Google Patents
Battery Packs and Vehicles Download PDFInfo
- Publication number
- CN218731495U CN218731495U CN202222871331.5U CN202222871331U CN218731495U CN 218731495 U CN218731495 U CN 218731495U CN 202222871331 U CN202222871331 U CN 202222871331U CN 218731495 U CN218731495 U CN 218731495U
- Authority
- CN
- China
- Prior art keywords
- battery pack
- battery
- vehicle body
- battery module
- mounting bracket
- Prior art date
- Legal status (The legal status is an assumption and is not a legal conclusion. Google has not performed a legal analysis and makes no representation as to the accuracy of the status listed.)
- Active
Links
Images
Classifications
-
- Y—GENERAL TAGGING OF NEW TECHNOLOGICAL DEVELOPMENTS; GENERAL TAGGING OF CROSS-SECTIONAL TECHNOLOGIES SPANNING OVER SEVERAL SECTIONS OF THE IPC; TECHNICAL SUBJECTS COVERED BY FORMER USPC CROSS-REFERENCE ART COLLECTIONS [XRACs] AND DIGESTS
- Y02—TECHNOLOGIES OR APPLICATIONS FOR MITIGATION OR ADAPTATION AGAINST CLIMATE CHANGE
- Y02E—REDUCTION OF GREENHOUSE GAS [GHG] EMISSIONS, RELATED TO ENERGY GENERATION, TRANSMISSION OR DISTRIBUTION
- Y02E60/00—Enabling technologies; Technologies with a potential or indirect contribution to GHG emissions mitigation
- Y02E60/10—Energy storage using batteries
Landscapes
- Battery Mounting, Suspending (AREA)
Abstract
本实用新型公开了一种电池包和车辆,电池包包括:电池模组;安装支架,所述安装支架内形成有腔体;车身底板,所述车身底板盖设于所述安装支架上方且与所述安装支架构成所述电池模组的外壳,所述电池模组放置于所述腔体。如此,车身底板与安装支架共同形成电池模组的外壳,取消了电池包的框架、安装挂耳、电池包盖板等诸多零部件,可大大减轻电池包和整车重量,提升空间利用率,降低电池包和整车成本,这样可以单独购买电池模组,无需购买常规的整个电池包,有效节约产品成本。
The utility model discloses a battery pack and a vehicle. The battery pack comprises: a battery module; a mounting bracket, a cavity is formed in the mounting bracket; The mounting bracket constitutes the casing of the battery module, and the battery module is placed in the cavity. In this way, the underbody plate and the mounting bracket together form the shell of the battery module, and many components such as the battery pack frame, mounting lugs, and battery pack cover are eliminated, which can greatly reduce the weight of the battery pack and the entire vehicle, and improve space utilization. Reduce the cost of the battery pack and the entire vehicle, so that the battery module can be purchased separately instead of the conventional entire battery pack, effectively saving product costs.
Description
技术领域technical field
本实用新型涉及电池技术领域,尤其是涉及一种电池包和车辆。The utility model relates to the technical field of batteries, in particular to a battery pack and a vehicle.
背景技术Background technique
相关技术中,现有的动力电池包主要包括电池模组、边框、模组底板、模组顶板、侧板、端板、导热层、直冷板、缓冲板、纵梁、横梁、侧壁等,涉及安装固定的零部件较多。其中,动力电池包需设计专门的安装固定结构,如电池托盘、框架、安装挂耳、电池包盖板等,结构及工艺复杂,零部件占据立体空间大,重量大,成本高。并且,整车车身和/或底盘需要设计专门用来安装动力电池包的结构特征,以及在车身与动力电池包之间增加挡板等零部件,上述的动力电池至少存在如下缺陷:整车车身/底盘与动力电池包互相单独分离,动力电池包由电池厂商完整装配好后再供货给整车厂,电池厂商无法实现仅供电池模组给整车厂装配,整车售后更换动力电池成本高。In related technologies, existing power battery packs mainly include battery modules, frames, module bottom plates, module top plates, side plates, end plates, heat conduction layers, direct cooling plates, buffer plates, longitudinal beams, beams, side walls, etc. , There are many parts involved in installation and fixing. Among them, the power battery pack needs to design special installation and fixing structures, such as battery trays, frames, mounting lugs, battery pack cover plates, etc. The structure and process are complex, and the components occupy a large three-dimensional space, are heavy and costly. Moreover, the vehicle body and/or chassis need to be specially designed to install the structural features of the power battery pack, and parts such as baffles are added between the body and the power battery pack. The above-mentioned power battery has at least the following defects: the vehicle body / The chassis and the power battery pack are separated from each other. The power battery pack is fully assembled by the battery manufacturer and then supplied to the vehicle manufacturer. The battery manufacturer cannot realize that only the battery module is assembled by the vehicle factory, and the cost of replacing the power battery after the vehicle is sold high.
实用新型内容Utility model content
本实用新型旨在至少解决现有技术中存在的技术问题之一。为此,本实用新型提出了一种电池包,将车身底板固定在设有腔体的安装支架上,使车身底板充当电池包的上盖板,取消了额外的上盖板结构,并与安装支架构成电池模组的外壳,减少重量和空间。The utility model aims at at least solving one of the technical problems existing in the prior art. For this reason, the utility model proposes a battery pack, which fixes the underbody of the vehicle body on the mounting bracket provided with a cavity, makes the underbody of the vehicle body act as the upper cover of the battery pack, cancels the extra upper cover structure, and is compatible with the installation The bracket forms the housing of the battery module, reducing weight and space.
本实用新型还提出了一种车辆。The utility model also provides a vehicle.
根据本实用新型第一方面实施例的电池包,包括:电池模组;安装支架,所述安装支架内形成有腔体;车身底板,所述车身底板盖设于所述安装支架上方且与所述安装支架构成所述电池模组的外壳,所述电池模组放置于所述腔体。The battery pack according to the embodiment of the first aspect of the present invention includes: a battery module; a mounting bracket, a cavity is formed in the mounting bracket; a vehicle body floor, the vehicle body floor cover is arranged above the mounting bracket and connected to the mounting bracket. The mounting bracket constitutes the casing of the battery module, and the battery module is placed in the cavity.
根据本实用新型实施例的电池包,将车身底板充当电池包的盖板,使车身底板盖设在安装支架上,这样车身底板与安装支架共同形成电池模组的外壳,可将电池模组安装在腔体内,一方面,取消了电池包的框架、安装挂耳、电池包盖板等诸多零部件,可大大减轻电池包和整车重量,提升空间利用率,有效降低电池包和整车成本;另一方面,整车厂可以单独购买电池模组,无需购买常规的整个电池包,有效节约产品成本。According to the battery pack of the embodiment of the present invention, the underbody of the vehicle body is used as the cover plate of the battery pack, and the underbody of the vehicle body is covered on the mounting bracket, so that the underbody of the vehicle body and the mounting bracket together form the shell of the battery module, and the battery module can be installed In the cavity, on the one hand, many components such as the frame of the battery pack, mounting brackets, and battery pack cover are canceled, which can greatly reduce the weight of the battery pack and the entire vehicle, improve space utilization, and effectively reduce the cost of the battery pack and the entire vehicle ; On the other hand, OEMs can purchase battery modules separately instead of purchasing conventional entire battery packs, effectively saving product costs.
根据本实用新型的一些实施例,还包括:盖板,所述盖板设置于所述安装支架在第一方向和/或第二方向上的外壁两端,所述第一方向和所述第二方向相互垂直。According to some embodiments of the present invention, it further includes: a cover plate, the cover plate is arranged at both ends of the outer wall of the mounting bracket in the first direction and/or the second direction, the first direction and the second direction The two directions are perpendicular to each other.
根据本实用新型的一些实施例,所述腔体的至少一侧设置有开口,所述盖板和所述开口相对设置且盖设于所述开口。According to some embodiments of the present invention, at least one side of the cavity is provided with an opening, and the cover plate is disposed opposite to the opening and covers the opening.
根据本实用新型的一些实施例,还包括:密封件,所述密封件设置于所述盖板与所述安装支架之间。According to some embodiments of the present invention, it further includes: a sealing element, the sealing element is arranged between the cover plate and the installation bracket.
根据本实用新型的一些实施例,还包括:端板和侧板,所述端板设置于所述电池模组在第一方向上的两端,所述侧板设置于所述电池模组在第二方向上的两端,所述第一方向和所述第二方向相互垂直。According to some embodiments of the present utility model, it further includes: an end plate and a side plate, the end plate is arranged at both ends of the battery module in the first direction, and the side plate is arranged at the battery module at Both ends in the second direction, the first direction and the second direction are perpendicular to each other.
根据本实用新型的一些实施例,所述端板和所述侧板固定连接,所述端板与所述其腔体的内壁连接和/或所述侧板与所述腔体的内壁固定连接。According to some embodiments of the present invention, the end plate is fixedly connected to the side plate, the end plate is connected to the inner wall of the cavity thereof and/or the side plate is fixedly connected to the inner wall of the cavity .
根据本实用新型的一些实施例,还包括:导热件和冷却件,所述导热件设置于所述电池模组上且所述冷却件设置于所述车身底板与所述导热件之间。According to some embodiments of the present invention, it further includes: a heat conduction element and a cooling element, the heat conduction element is arranged on the battery module, and the cooling element is arranged between the vehicle body floor and the heat conduction element.
根据本实用新型的一些实施例,所述冷却件的两端连接于所述安装支架在第一方向和/或第二方向上的两端;和/或,所述冷却件的两端连接于所述端板上;和/或,所述冷却件的两端连接于所述侧板上。According to some embodiments of the present invention, both ends of the cooling element are connected to both ends of the mounting bracket in the first direction and/or the second direction; and/or, both ends of the cooling element are connected to The end plate; and/or, both ends of the cooling element are connected to the side plate.
根据本实用新型的一些实施例,还包括:隔热缓冲件,所述隔热缓冲件设置于所述安装支架的底壁。According to some embodiments of the present invention, it further includes: a thermal insulation buffer, and the thermal insulation buffer is arranged on the bottom wall of the installation bracket.
根据本实用新型的一些实施例,所述电池模组为多个,多个所述电池模组在第一方向和/或第二方向和/或第三方向上堆叠设置;和/或,所述电池模组包括多个电芯,多个所述电芯在第一方向或第二方向上堆叠设置。According to some embodiments of the present utility model, there are multiple battery modules, and the multiple battery modules are stacked in the first direction and/or the second direction and/or the third direction; and/or, the The battery module includes a plurality of electric cells, and the plurality of electric cells are stacked in the first direction or the second direction.
根据本实用新型第二方面实施例的车辆,包括:车身纵梁;所述的电池包,所述电池模组放置于所述腔体内后与所述车身底板和所述安装支架构成所述电池包,所述电池包安装于所述车身纵梁的任意高度位置且与所述车身纵梁连接。The vehicle according to the embodiment of the second aspect of the present invention includes: a vehicle body side member; the battery pack, the battery module is placed in the cavity and forms the battery with the vehicle body floor and the mounting bracket The battery pack is installed at any height position of the vehicle body side beam and connected with the vehicle body side beam.
根据本实用新型的一些实施例,所述安装支架和所述车身底板安装于所述车身纵梁的下方,所述车身底板和/或所述安装支架与所述车身纵梁固定连接。According to some embodiments of the present invention, the mounting bracket and the vehicle body bottom plate are installed below the vehicle body side beam, and the vehicle body bottom plate and/or the mounting bracket are fixedly connected to the vehicle body side beam.
根据本实用新型的一些实施例,所述车身底板安装于所述车身纵梁的上方且与所述车身纵梁固定连接,所述安装支架设置于所述车身底板的下方且与所述车身底板和/或所述车身纵梁固定连接。According to some embodiments of the present utility model, the vehicle body bottom plate is installed above the vehicle body side beam and is fixedly connected with the vehicle body side beam, and the mounting bracket is arranged under the vehicle body bottom plate and connected to the vehicle body bottom plate And/or the longitudinal beam of the vehicle body is fixedly connected.
根据本实用新型的一些实施例,所述车身纵梁包括:前纵梁部、中纵梁部和后纵梁部,所述电池包设置于所述前纵梁部、所述中纵梁部和所述后纵梁部中的一个。According to some embodiments of the present invention, the vehicle body side beam includes: a front side beam part, a middle side beam part and a rear side beam part, and the battery pack is arranged on the front side beam part, the middle side beam part and one of the rear side members.
本实用新型的附加方面和优点将在下面的描述中部分给出,部分将从下面的描述中变得明显,或通过本实用新型的实践了解到。Additional aspects and advantages of the invention will be set forth in the description which follows, and in part will be obvious from the description, or may be learned by practice of the invention.
附图说明Description of drawings
本实用新型的上述和/或附加的方面和优点从结合下面附图对实施例的描述中将变得明显和容易理解,其中:The above and/or additional aspects and advantages of the present utility model will become apparent and easy to understand from the description of the embodiments in conjunction with the following drawings, wherein:
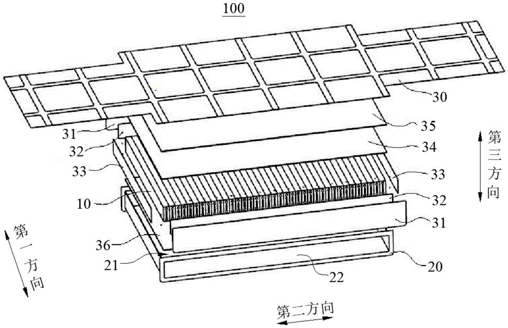
图1是根据本实用新型实施例的电池包的爆炸示意图;Fig. 1 is an explosion schematic diagram of a battery pack according to an embodiment of the present invention;
图2是根据本实用新型第一种实施例的电池模组的结构示意图;Fig. 2 is a schematic structural view of the battery module according to the first embodiment of the present invention;
图3是根据本实用新型第二种实施例的电池模组的结构示意图;Fig. 3 is a schematic structural diagram of a battery module according to a second embodiment of the present invention;
图4是根据本实用新型第三种实施例的电池模组的结构示意图;Fig. 4 is a schematic structural diagram of a battery module according to a third embodiment of the present invention;
图5是根据本实用新型实施例的电池包安装的前视图;Fig. 5 is a front view of the installation of the battery pack according to the embodiment of the present invention;
图6是根据本实用新型实施例的电池包安装的俯视图;Fig. 6 is a top view of the installation of the battery pack according to the embodiment of the present invention;
图7是根据本实用新型实施例的电池包安装的侧视图;Fig. 7 is a side view of the installation of the battery pack according to the embodiment of the present invention;
图8是根据本实用新型实施例的电池包安装的立体图。Fig. 8 is a perspective view of the installation of the battery pack according to the embodiment of the present invention.
附图标记:Reference signs:
100、电池包;10、电池模组;11、电芯;20、安装支架;21、腔体;22、开口;30、车身底板;31、盖板;32、端板;33、侧板;34、导热件;35、冷却件;36、隔热缓冲件;40、车身纵梁;41、前纵梁部;42、中纵梁部;43、后纵梁部。100, battery pack; 10, battery module; 11, battery cell; 20, mounting bracket; 21, cavity; 22, opening; 30, body bottom plate; 31, cover plate; 32, end plate; 33, side plate; 34. Heat conduction part; 35. Cooling part; 36. Heat insulation buffer part; 40. Car body side beam; 41. Front side beam part; 42. Middle side beam part; 43. Rear side beam part.
具体实施方式Detailed ways
下面详细描述本实用新型的实施例,参考附图描述的实施例是示例性的,下面详细描述本实用新型的实施例。Embodiments of the utility model are described in detail below, and the embodiments described with reference to the accompanying drawings are exemplary, and embodiments of the utility model are described in detail below.
下面参考图1-图8描述根据本实用新型实施例的电池包100,以及本实用新型还提出了一种具有上述电池包100的车辆。The following describes a
结合图1-图8所示,电池包100包括:电池模组10、安装支架20和车身底板30。As shown in FIGS. 1-8 , the
其中,安装支架20内形成有腔体21,电池模组10放置于腔体21。如此,将电池模组10安装在腔体21内,可以对电池模组10起到固定支撑的作用,同时可以有效保护电池模组10的底部和侧部。Wherein, a
以及,车身底板30盖设于安装支架20上方,并且与安装支架20构成电池模组10的外壳。如此,车身底板30盖设在安装支架20上方,这样车身底板30直接充当了电池包100的盖板,使得车身底板30与安装支架20共同形成电池模组10的外壳,一方面,取消了电池包100的框架、安装挂耳、电池包100盖板31等诸多零部件,可大大减轻电池包100和整车重量,提升空间利用率,同时降低工艺难度、降低电池包100和整车成本;另一方面,整车厂可以单独购买电池模组10,与电池包100相关的电池管理系统等控制元器件可以单独安装在车辆的其他位置,无需购买常规的整个电池包100,从而提升电池包100的能量密度和提高电动车的续航能力,同时实现车辆和电池包100的轻量化设计。And, the
由此,将车身底板30充当电池包100的盖板,使车身底板30盖设在安装支架20上,这样车身底板30与安装支架20共同形成电池模组10的外壳,可将电池模组10安装在腔体21内,一方面,取消了电池包100的框架、安装挂耳、电池包盖板等诸多零部件,可大大减轻电池包100和整车重量,提升空间利用率,有效降低电池包100和整车成本;另一方面,整车厂可以单独购买电池模组10,无需购买常规的整个电池包100,从而提升电池包100的能量密度和提高电动车的续航能力,并且实现了车辆和电池包100的轻量化设计。Thus, the
另外,在本实用新型公开中,方位词“前、后、左、右”通常是指车辆本身的前、后、左、右,具体地,朝向左车轮的方向为左,朝向右车轮的方向为右,朝向车头的方向为前,朝向车尾的方向为后。In addition, in the disclosure of this utility model, the orientation words "front, rear, left, and right" usually refer to the front, rear, left, and right of the vehicle itself, specifically, the direction toward the left wheel is left, and the direction toward the right wheel The direction towards the front of the vehicle is the front, and the direction towards the rear of the vehicle is the rear.
如图1-图4所示,电池包100还包括:盖板31,盖板31设置于安装支架20在第一方向和/或第二方向上的外壁两端,第一方向和第二方向相互垂直。如此,盖板31可以设在安装支架20在第一方向上的外壁两端,或者盖板31可以设在安装支架20在第二方向上的外壁两端,又或者盖板31设在安装支架20在第一方向和第二方向上的外壁两端。参考图1和图3所示,两个盖板31分别设在安装支架20在第一方向上的外壁两端,可以对安装支架20的外壁起到防护作用,同时加固电池包100的外壳强度。As shown in FIGS. 1-4 , the
并且,腔体21的至少一侧设置有开口22,盖板31与开口22相对设置,并且盖设于开口22。如此,可以在车身底板30与安装支架20固定连接之后,电池模组10可以通过安装支架20的开口22处装配至腔体21内部,这样取消了电池模组10从上下方向上的装配方式,使得电池模组10可以从车辆的左右两侧方向或车辆的前后两侧方向进行装配,当电池包100出现售后质量问题时,可不用将整个电池包100退回厂家,直接从开口22处拆解盖板31,更换电池模组10,有效节省售后维修成本。另外,在安装盖板31与安装支架20进行固定时,可采用螺栓紧固、铆钉铆接、焊接中的任意一种方式。Moreover, at least one side of the
进一步地,安装支架20可以在第一方向上的两侧设有开口22,使两个盖板31对应盖设于两个开口22,这样,电池模组10可单独从第一方向的任意一侧安装,也可从第一方向的两侧共同安装。或者,安装支架20可以在第二方向上的其中一侧或者两侧设有开口22,并使盖板31盖设于开口22处,这样,电池模组10安装可单独从第二方向的任意一侧安装,也可从第二方向的两侧共同安装。Further, the
综上所述,电池模组10的安装方式,可选择设计从车辆的宽度方向的左侧或右侧安装,也可从车辆的长度方向的前部或后部安装。如此,当车辆终端售后出现电池质量问题时,4S店或维修店可根据车辆的BMS系统(电池管理系统)反馈的信息,打开多个盖板31,或任一盖板31,将对应有质量问题的电池模组10予以更换,从而避免需要将整个电池包100进行更换的问题,也可以解决目前常规电池包100全部拆卸下来,寄回厂家维修的成本问题,有效降低售后维修成本。To sum up, the installation method of the
此外,上述的开口22数量和盖板31数量不限于此,可以根据电池模组10的实际安装情况进行设计匹配,从而可以使电池模组10从安装支架20的侧面进行装配,方便安装以及拆解维修。In addition, the number of
在本实用新型中,上述的第一方向指的是电池包100的宽度方向,对应于车辆的左右方向或者宽度方向,第二方向指的是电池包100的长度方向,对应于车辆的前后方向或者长度方向,第三方向指的是电池包100的高度方向,与车辆的高度方向相一致。In the present utility model, the above-mentioned first direction refers to the width direction of the
其中,电池包100还包括:密封件,密封件设置于盖板31与安装支架20之间。如此,在盖板31和安装支架20之间设有密封件,当电池模组10装配至腔体21内后,利用密封件和盖板31可以将开口22处牢牢密封,提高腔体21的密封性,防止水、杂质进入腔体21内。Wherein, the
在本实用新型的实施方式中,密封件可以为密封胶,在盖板31安装之前,可在盖板31表面四周涂覆一层胶水,或在安装支架20与盖板31相接触的区域涂覆胶水,作为密封防护功能。In the embodiment of the present utility model, the sealing member can be a sealant, and before the
如图1所示,电池包100还包括:端板32和侧板33,端板32设置于电池模组10在第一方向上的两端,侧板33设置于电池模组10在第二方向上的两端,第一方向和第二方向相互垂直。如此,在电池模组10沿第一方向的两端设有端板32,以及在电池模组10沿第二方向的两端设有侧板33,基于电池包100通常为方形结构,第一方向和第二方向相互垂直,即端板32和侧板33相互垂直。这样,端板32和侧板33围设在电池模组10的四周侧,可以对电池模组10起到有效的固定支撑作用,有效防止电池模组10出现弯曲变形。As shown in FIG. 1 , the
具体地,在本实用新型中,在所有的电池模组10安装至腔体21内后,然后将端板32和侧板33安装在电池模组10的四周侧,用于固定、支撑所有的电池模组10。Specifically, in the present utility model, after all the
其中,端板32和侧板33连接,端板32与腔体21的内壁连接和/或侧板33与腔体21的内壁连接。也就是说,端板32的两端分别与两个侧板33的端部固定连接,可以采用卡扣配合固定、螺栓紧固、铆钉紧固等方式中的任意一种,以确保电池模组10被完全包裹住。以及,通过端板32和腔体21的内壁连接,以及侧板33与腔体21的内壁连接,不仅可以对电池模组10起到防护作用,而且还可以防止电池模组10在腔体21内随意晃动,从而可以确保电池模组10能够正常工作。并且,端板32与腔体21的内壁、侧板33与腔体21的内壁可以采用卡扣配合固定、螺栓紧固、铆钉紧固等方式中的任意一种,可以有效地提高端板32和侧板33在腔体21内的固定可靠性。当然,上述的固定连接方式包括但不限定于此。Wherein, the
此外,盖板31、端板32、侧板33的材料可应用塑料、铝板、钢板等材料,采用注塑、压铸、冲压等任一工艺,从而可以对腔体21内的电池模组10等零部件起到有效的防护作用。In addition, the materials of the
并且,电池包100还包括:导热件34和冷却件35,导热件34设置于电池模组10上,并且冷却件35设置于车身底板30与导热件34之间。如此设置,在电池模组10安装至腔体21内之后,在电池模组10上方放置导热件34和冷却件35,可以将电池模组10产生的热量经过导热件34的热传导作用传递至冷却件35,冷却件35可以将热量传递出来,从而可以有效有效降低电池模组10的热量。Moreover, the
其中,在所有的电池模组10、导热件34、冷却件35安装到腔体21之后,可以安装端板32和侧板33,这样可以用于固定、支撑所有的电池模组10、导热件34和冷却件35。另外,冷却件35可以采用直冷板或液冷板结构,可以对电池模组10进行有效散热。Wherein, after all the
或者,冷却件35的两端连接于安装支架20在第一方向和/或第二方向上的两端;和/或,冷却件35的两端连接于端板32上;和/或,冷却件35的两端连接于侧板33上。换言之,可以对冷却件35单独安装固定,在冷却件35设置在导热件34上后,冷却件35的两端可以连接在安装支架20在第一方向上的两端,或者连接在安装支架20在第二方向上的两端,又或者连接在安装支架20在第一方向和第二方向上的两端,实现冷却件35与安装支架20的安装连接。例如,在冷却件35的两端边缘设置翻边,可以使翻边与安装支架20的侧壁相配合,然后再利用卡扣配合固定、螺栓紧固、铆钉紧固等方式中的任意一种进行连接,从而实现安装支架20与冷却件35之间的连接。或者,冷却件35的两端可以连接在端板32上,与安装支架20的连接方式同理,同样可以实现冷却件35与端板32之间的连接。或者,冷却件35的两端与侧板33之间的连接方式亦如此,不再赘述。这样,与在所有的电池模组10、导热件34、冷却件35安装到腔体21之后安装端板32和侧板33的装配方式不同,可以先安装端板32、侧板33以及电池模组10,然后再安装导热件34和冷却件35,均可以确保电池包100的结构稳定性。Or, the two ends of the
另外,冷却件35与安装支架20或端板32或侧板33连接后,导热件34可以夹紧在电池模组10和冷却件35之间,从而对导热件34起到固定作用。In addition, after the
结合图1所示,电池包100还包括:隔热缓冲件36,隔热缓冲件36设置于安装支架20的底壁。如此,在安装电池模组10前,在腔体21的底壁先安装隔热缓冲件36隔热缓冲件36的主要作用时隔热、保温、缓冲。在高温环境下,隔离外界环境的高温,减少外界环境高温对电池包100的性能影响,起到隔热的作用;在低温环境下,隔离外界环境的低温,减少外界环境低温对电池包100的性能影响,对电池包100起到保温的作用;当车辆在颠簸路段,或当车辆底部受到碰撞时,隔热缓冲件36对电池包100内的电池模组10起到有效的保护作用。As shown in FIG. 1 , the
在本实用新型的实施例中,关于电池包100的安装方式可参考如下:In the embodiment of the present utility model, the installation method of the
首先,将安装支架20提前与车身底板30组装于一体;在安装电池模组10之前,在安装支架20的腔体21底壁先安装隔热缓冲件36,接着,可以将所有的电池模组10放置在腔体21内;在所有电池模组10放置到腔体21之后,在电池模组10上方分别放置导热件34和冷却件35;然后,将端板32和侧板33安装在腔体21与电池模组10之间,以固定支撑所有的电池模组10、导热件34、冷却件35;待电池包100其他常规零件安装后,同时将电池包100内部线路连接后,下一步安装盖板31,使盖板31将开口22处进行封堵,从而完成了电池包100的装配,能够保证电池包100的正常工作。First, the
如图3和图4所示,电池模组10为多个,多个电池模组10在第一方向和/或第二方向和/或第三方向上堆叠设置;和/或,电池模组10包括多个电芯11,多个电芯11在第一方向或第二方向上堆叠设置。如此,基于车辆的性能要求、空间体积尺寸、电池包100总电量等参数设计,可以将多个电池模组10沿第一方向和/或第二方向和/或第三方向上堆叠设置,以形成一个符合设计要求的电池包100结构。并且,电池模组10可以包括多个电芯11,多个电芯11在第一方向或第二方向上堆叠设置,以形成一个电池模组10,多个电池模组10可堆叠设置。并且,电芯11数量及电池模组10的数量,根据车辆的性能要求而设计。As shown in FIG. 3 and FIG. 4, there are
其中,在车辆安装电池包100时,可先将各个电芯11的正负极按排列顺序串联在一起,也可先将所有电芯11或电池模组10先安装到腔体21内,再将各个电芯11的正负极串联连接、固定。当然,对于电池模组10的安装方式包括但不限定于上述的安装方式。Among them, when the
如图3和图4所示,在第一方向上,电池模组10可设计为左右两部分,左侧的电池模组10的正负极在左侧逐个按顺序串联,右侧的电池模组10的正负极在右侧逐个按顺序串联。在第三方向上,电池模组10可设计为一层或二层,或多层方案,具体的层数,以及电芯11或电池模组10的尺寸,根据车辆的性能要求而设计。由此,对于电池包100的整体结构,可在第一方向、第二方向、第三方向上,设计为多个电芯11组成,也可设计为多个电池模组10组成。As shown in Figure 3 and Figure 4, in the first direction, the
根据本实用新型第二方面实施例的车辆,包括:车身纵梁40和电池包100,电池模组10放置于腔体21内后与车身底板30和安装支架20构成电池包100,电池包100以使安装于车身纵梁40的任意高度位置,并且与车身纵梁40连接。如此,从厂家买回来的电池模组10安装在腔体21内后,与车身底板30和安装支架20共同构成电池包100,然后将电池包100固定连接在车身纵梁40上,使电池包100可靠地安装于车身纵梁40。The vehicle according to the embodiment of the second aspect of the present utility model includes: a vehicle
结合图5-图8所示,在本实用新型的一个实施方式中,安装支架20和车身底板30安装于车身纵梁40的下方,车身底板30和/或安装支架20与车身纵梁40固定连接。如此,基于不同车型的底盘高度不同,安装支架20和车身底板30可以安装于车身纵梁40的任意高度位置。在本实施方式中,安装支架20和车身底板30安装在车身纵梁40的下方,并使车身底板30与车身纵梁40固定支架连接。为进一步加固电池包100整体结构,安装支架20也可与车身纵梁40固定连接,例如采用连接支架的方式进行固定。As shown in FIGS. 5-8 , in one embodiment of the present invention, the mounting
在本实用新型的又一个实施方式中,车身底板30安装于车身纵梁40的上方,并且与车身纵梁40固定连接,安装支架20设置于车身底板30的下方,并且与车身底板30和/或车身纵梁40固定连接。如此,还可以将车身底板30安装于车身纵梁40的上方,使车身底板30与车身纵梁40固定连接,然后将安装支架20固定在车身底板30的下方,可以与车身底板30和车身纵梁40固定连接,从而可以将电池包100可靠地固定在车身纵梁40上。其中,当安装支架20固定在车身底板30的下方时,可能会使得安装支架20在第一方向的两侧与车身纵梁40相对设置,这样可以在安装支架20沿第二方向的其中一侧或两侧设置开口22,以方便电池模组10可以从车辆的前侧和后侧安装。In yet another embodiment of the present utility model, the vehicle
此外,车身纵梁40包括:前纵梁部41、中纵梁部42和后纵梁部43,电池包100设置于前纵梁部41、中纵梁部42和后纵梁部43中的一个。如此,为了便于安装电芯11或电池模组10等零部件,可将车身纵梁40拆分成前纵梁部41、中纵梁部42和后纵梁部43,将电池包100安装在前纵梁部41、中纵梁部42和后纵梁部43中的一个之后,并且待安装完电池包100的相关零部件后,再将车身纵梁40的前纵梁部41、中纵梁部42和后纵梁部43三段安装连接在一起,提高电池包100的安装便利性。In addition, the vehicle
并且,与车身纵梁40相对应,车身底板30主要有三个区域,即前底板区域、中底板区域、后底板区域、三个区域的车身底板30可根据设计方案的实际需要,设计成不同形状,通常将安装支架20安装在中底板区域,车身底板30前、后底板区域也可根据其他零部件的安装需要,设计成掏空的形状或裁剪去除部分面积,从而可提高安装效率。And, corresponding to the
在本实用新型的描述中,需要理解的是,术语“中心”、“纵向”、“横向”、“长度”、“宽度”、“厚度”、“上”、“下”、“前”、“后”、“左”、“右”、“竖直”、“水平”、“顶”、“底”、“内”、“外”、“顺时针”、“逆时针”、“轴向”、“径向”、“周向”等指示的方位或位置关系为基于附图所示的方位或位置关系,仅是为了便于描述本实用新型和简化描述,而不是指示或暗示所指的装置或元件必须具有特定的方位、以特定的方位构造和操作,因此不能理解为对本实用新型的限制。In describing the present invention, it should be understood that the terms "center", "longitudinal", "transverse", "length", "width", "thickness", "upper", "lower", "front", "Back", "Left", "Right", "Vertical", "Horizontal", "Top", "Bottom", "Inner", "Outer", "Clockwise", "Counterclockwise", "Axial ", "radial", "circumferential" and other indicated orientations or positional relationships are based on the orientations or positional relationships shown in the drawings, which are only for the convenience of describing the utility model and simplifying the description, rather than indicating or implying No device or element must have a specific orientation, be constructed and operate in a specific orientation, and thus should not be construed as limiting the invention.
在本说明书的描述中,参考术语“一个实施例”、“一些实施例”、“示意性实施例”、“示例”、“具体示例”、或“一些示例”等的描述意指结合该实施例或示例描述的具体特征、结构、材料或者特点包含于本实用新型的至少一个实施例或示例中。在本说明书中,对上述术语的示意性表述不一定指的是相同的实施例或示例。In the description of this specification, references to the terms "one embodiment," "some embodiments," "exemplary embodiments," "example," "specific examples," or "some examples" are intended to mean that the implementation Specific features, structures, materials or characteristics described in an embodiment or example are included in at least one embodiment or example of the present invention. In this specification, schematic representations of the above terms do not necessarily refer to the same embodiment or example.
尽管已经示出和描述了本实用新型的实施例,本领域的普通技术人员可以理解:在不脱离本实用新型的原理和宗旨的情况下可以对这些实施例进行多种变化、修改、替换和变型,本实用新型的范围由权利要求及其等同物限定。Although the embodiments of the present invention have been shown and described, those skilled in the art can understand that various changes, modifications, substitutions and modifications, the scope of the present invention is defined by the claims and their equivalents.
Claims (14)
Priority Applications (1)
| Application Number | Priority Date | Filing Date | Title |
|---|---|---|---|
| CN202222871331.5U CN218731495U (en) | 2022-10-28 | 2022-10-28 | Battery Packs and Vehicles |
Applications Claiming Priority (1)
| Application Number | Priority Date | Filing Date | Title |
|---|---|---|---|
| CN202222871331.5U CN218731495U (en) | 2022-10-28 | 2022-10-28 | Battery Packs and Vehicles |
Publications (1)
| Publication Number | Publication Date |
|---|---|
| CN218731495U true CN218731495U (en) | 2023-03-24 |
Family
ID=85594420
Family Applications (1)
| Application Number | Title | Priority Date | Filing Date |
|---|---|---|---|
| CN202222871331.5U Active CN218731495U (en) | 2022-10-28 | 2022-10-28 | Battery Packs and Vehicles |
Country Status (1)
| Country | Link |
|---|---|
| CN (1) | CN218731495U (en) |
Cited By (2)
| Publication number | Priority date | Publication date | Assignee | Title |
|---|---|---|---|---|
| CN116525919A (en) * | 2023-05-19 | 2023-08-01 | 重庆储安科技创新中心有限公司 | Battery pack assembling method |
| CN119764723A (en) * | 2024-11-18 | 2025-04-04 | 比亚迪股份有限公司 | Integrated structure of chassis and battery and vehicle |
-
2022
- 2022-10-28 CN CN202222871331.5U patent/CN218731495U/en active Active
Cited By (3)
| Publication number | Priority date | Publication date | Assignee | Title |
|---|---|---|---|---|
| CN116525919A (en) * | 2023-05-19 | 2023-08-01 | 重庆储安科技创新中心有限公司 | Battery pack assembling method |
| CN116525919B (en) * | 2023-05-19 | 2024-06-11 | 重庆储安科技创新中心有限公司 | Battery pack assembling method |
| CN119764723A (en) * | 2024-11-18 | 2025-04-04 | 比亚迪股份有限公司 | Integrated structure of chassis and battery and vehicle |
Similar Documents
| Publication | Publication Date | Title |
|---|---|---|
| JP7685030B2 (en) | Battery pack, vehicle and energy storage device | |
| EP2623353B1 (en) | Battery container | |
| CN113665684B (en) | Vehicle body floor assembly of vehicle and vehicle | |
| CN218731495U (en) | Battery Packs and Vehicles | |
| CN112136228A (en) | battery case | |
| WO2023174295A1 (en) | Edge beam for battery tray, battery tray, battery pack, and vehicle | |
| JP7694852B2 (en) | Power storage device | |
| US20250100398A1 (en) | Battery frame with cell to chassis integration | |
| CN111653700B (en) | Battery pack assembly | |
| CN217574926U (en) | Quick change support and electric automobile are used to battery package | |
| CN218005095U (en) | Battery pack | |
| CN117525704A (en) | Battery box, battery package and vehicle | |
| CN219717098U (en) | Battery case and battery pack having the same | |
| CN223443299U (en) | Battery pack, chassis and vehicle | |
| CN220199042U (en) | Battery integrated structures, chassis components and vehicles | |
| JP7715753B2 (en) | Power storage device | |
| CN223514138U (en) | Battery pack, battery system and vehicle | |
| CN219801098U (en) | Hybrid power battery pack and hybrid power automobile | |
| CN219055954U (en) | Vehicle with a vehicle body having a vehicle body support | |
| CN221596651U (en) | Battery pack frame side beam, battery pack and vehicle | |
| CN111430621A (en) | battery pack | |
| CN222224258U (en) | Vehicle chassis frame and bus | |
| CN222673213U (en) | Battery box, battery pack and power device | |
| CN220400676U (en) | Battery pack and vehicle | |
| CN223598881U (en) | Battery packs and electrical equipment |
Legal Events
| Date | Code | Title | Description |
|---|---|---|---|
| GR01 | Patent grant | ||
| GR01 | Patent grant |
