CN218726204U - Be used for reinforcing bar intensity detection device - Google Patents
Be used for reinforcing bar intensity detection device Download PDFInfo
- Publication number
- CN218726204U CN218726204U CN202222059117.XU CN202222059117U CN218726204U CN 218726204 U CN218726204 U CN 218726204U CN 202222059117 U CN202222059117 U CN 202222059117U CN 218726204 U CN218726204 U CN 218726204U
- Authority
- CN
- China
- Prior art keywords
- steel bar
- frame
- rotating roller
- bracket
- fixed shaft
- Prior art date
- Legal status (The legal status is an assumption and is not a legal conclusion. Google has not performed a legal analysis and makes no representation as to the accuracy of the status listed.)
- Active
Links
Images
Landscapes
- Manufacturing Of Tubular Articles Or Embedded Moulded Articles (AREA)
Abstract
本实用新型公开了一种用于钢筋强度检测装置,包括支架以及用于对钢筋进行限位的夹持部件,所述下压部件包括开设于支架一侧的贯穿通孔、设于支架一侧且分别位于贯穿通孔两侧的固定架、设于支架一侧且位于固定架一侧的第一支撑架、设于第一支撑架顶部的螺杆以及设于螺杆底部的固定环,本实用新型通过设置支架、螺杆、固定环、滑动架、滑动板、推动块以及限位环,滑动架带动第一固定轴外侧的第一转辊对不同直径的钢筋进行下压,第一转辊和第二转辊能够对不同直径钢筋限位,解决了现有设备不能够对不同直径的工件进行限位,不能够便于钢筋弯折时进行移动,容易导致钢筋强度检测结果不精准,降低设备对钢筋进行强度检测的实用性的问题。
The utility model discloses a device for detecting the strength of steel bar, which comprises a bracket and a clamping part for limiting the position of the steel bar. The pressing part includes a through hole opened on one side of the bracket, And the fixing frames on both sides of the through hole, the first supporting frame on one side of the bracket and on the side of the fixing frame, the screw on the top of the first supporting frame and the fixing ring on the bottom of the screw, the utility model By setting the bracket, the screw, the fixed ring, the sliding frame, the sliding plate, the pushing block and the limit ring, the sliding frame drives the first rotating roller on the outside of the first fixed shaft to press down the steel bars of different diameters, the first rotating roller and the second rotating roller The two-rotating roller can limit the position of steel bars with different diameters, which solves the problem that the existing equipment cannot limit the workpieces with different diameters, and cannot facilitate the movement of steel bars when they are bent, which will easily lead to inaccurate test results of steel bar strength and reduce the impact of equipment on steel bars. A question of the practicality of performing intensity testing.
Description
技术领域technical field
本实用新型属于钢筋技术领域,尤其涉及一种用于钢筋强度检测装置。The utility model belongs to the technical field of steel bars, in particular to a device for detecting the strength of steel bars.
背景技术Background technique
钢筋是指钢筋混凝土用和预应力钢筋混凝土用钢材,其横截面为圆形,有时为带有圆角的方形,包括光圆钢筋、带肋钢筋、扭转钢筋,钢筋混凝土用钢筋是指钢筋混凝土配筋用的直条或盘条状钢材,其外形分为光圆钢筋和变形钢筋两种,钢筋生产完成或使用前对钢筋进行强度检测,现有技术不能够对不同直径的钢筋进行限位,影响检测结果的精准度,现有技术存在的问题是:现有设备不能够对不同直径的工件进行限位,不能够便于钢筋弯折时进行移动,容易导致钢筋强度检测结果不精准,降低设备对钢筋进行强度检测的实用性。Steel bar refers to steel for reinforced concrete and prestressed reinforced concrete. Straight or coiled steel for reinforcement, its shape is divided into two types: smooth steel bar and deformed steel bar. The strength of the steel bar is tested after the production of the steel bar is completed or before use. The existing technology cannot limit the steel bar with different diameters. , which affects the accuracy of the test results. The problems in the existing technology are: the existing equipment cannot limit the workpieces with different diameters, and cannot move when the steel bar is bent, which will easily lead to inaccurate test results of the steel bar strength and reduce the The practicability of the equipment for strength testing of steel bars.
实用新型内容Utility model content
针对现有技术存在的问题,本实用新型提供了一种用于钢筋强度检测装置,具备能够对不同直径的钢筋进行限位,能够便于钢筋弯折时发生移动,提高设备对钢筋进行强度检测的实用性的优点,解决了现有设备不能够对不同直径的工件进行限位,不能够便于钢筋弯折时进行移动,容易导致钢筋强度检测结果不精准,降低设备对钢筋进行强度检测的实用性的问题。Aiming at the problems existing in the prior art, the utility model provides a device for detecting the strength of steel bars, which can limit the position of steel bars of different diameters, facilitate the movement of steel bars when they are bent, and improve the ability of the equipment to detect the strength of steel bars. The advantage of practicability solves the problem that the existing equipment cannot limit the workpieces with different diameters, and cannot move when the steel bar is bent, which will easily lead to inaccurate test results of steel bar strength and reduce the practicability of the equipment for strength test of steel bars The problem.
本实用新型是这样实现的,一种用于钢筋强度检测装置,包括支架以及用于对钢筋进行限位的夹持部件,所述下压部件包括开设于支架一侧的贯穿通孔、设于支架一侧且分别位于贯穿通孔两侧的固定架、设于支架一侧且位于固定架一侧的第一支撑架、设于第一支撑架顶部的螺杆、设于螺杆底部的固定环、设于固定环一侧的滑动架、设于滑动架一侧的第一固定轴、套设于第一固定轴外侧的第一转辊、设于固定架一侧的第二固定轴、套设于第二固定轴外侧的第二转辊以及用于对钢筋进行强度检测的下压部件,所述螺杆与第一支撑架螺接,所述螺杆与固定环转动连接,所述滑动架与第一支撑架滑动连接,所述第一转辊与第一固定轴转动连接,所述第二转辊与第二固定轴转动连接。The utility model is achieved in this way. A device for steel bar strength detection includes a bracket and a clamping part for limiting the position of the steel bar. The pressing part includes a through hole opened on one side of the bracket, and A fixing frame on one side of the bracket and located on both sides of the through hole, a first supporting frame on one side of the bracket and on one side of the fixing frame, a screw on the top of the first supporting frame, a fixing ring on the bottom of the screw, The sliding frame arranged on one side of the fixed ring, the first fixed shaft arranged on one side of the sliding frame, the first rotating roller sleeved on the outside of the first fixed shaft, the second fixed shaft arranged on one side of the fixed frame, the sleeved The second roller on the outside of the second fixed shaft and the pressing part used for strength detection of the steel bar, the screw is screwed to the first support frame, the screw is connected to the fixed ring in rotation, the sliding frame is connected to the second A support frame is slidably connected, the first rotating roller is rotatably connected to the first fixed shaft, and the second rotating roller is rotatably connected to the second fixed shaft.
作为本实用新型优选的,所述下部件包括设于贯穿通孔一侧的第二支撑架、设于第二支撑架顶部的两个气缸、设于气缸一侧的伸缩杆、设于伸缩杆底部的滑动板以及设于滑动板底部的推动块,所述推动块截面为梯形,所述推动块端部为弧形,所述滑动板与第二支撑架滑动连接。As preferred in the present invention, the lower part includes a second support frame on one side of the through hole, two cylinders on the top of the second support frame, a telescopic rod on one side of the cylinder, and a telescopic rod on one side of the telescopic rod. The sliding plate at the bottom and the pushing block arranged at the bottom of the sliding plate, the section of the pushing block is trapezoidal, the end of the pushing block is arc-shaped, and the sliding plate is slidably connected with the second supporting frame.
作为本实用新型优选的,所述螺杆一端设有限位环,所述固定环内侧开设有限位槽,所述限位环与限位槽转动连接。As preferred in the present invention, a limit ring is provided at one end of the screw rod, a limit groove is provided inside the fixed ring, and the limit ring is rotatably connected with the limit groove.
作为本实用新型优选的,所述滑动架两侧分别设有导向块,所述第一支撑架两侧分别开设有导向槽,所述导向块与导向槽滑动连接。As preferred in the present invention, guide blocks are respectively provided on both sides of the sliding frame, guide grooves are respectively opened on both sides of the first support frame, and the guide blocks are slidably connected to the guide grooves.
作为本实用新型优选的,所述螺杆顶部设有把手。As preferred in the present invention, a handle is provided on the top of the screw rod.
作为本实用新型优选的,所述第一转辊与第二转辊截面均为内凹弧形。As a preferred embodiment of the present invention, the sections of the first rotating roller and the second rotating roller are both concave arc-shaped.
与现有技术相比,本实用新型的有益效果如下:Compared with the prior art, the beneficial effects of the utility model are as follows:
1、本实用新型通过设置支架、贯穿通孔、固定架、第一支撑架、螺杆、固定环、滑动架、第一固定轴、第一转辊、第二固定轴、第二转辊以及下压部件,转动螺杆能够带动固定环底部的滑动架在第一支撑架内进行上下移动,使滑动架带动第一固定轴外侧的第一转辊对不同直径的钢筋进行下压,固定架上第二固定轴外侧的第二转辊能够对不同直径的钢筋进行支撑,第一转辊和第二转辊能够对不同直径钢筋限位,同时第一转辊和第二转辊能够便于钢筋发生弯折时发生移动。1. The utility model is provided with a bracket, a through hole, a fixed frame, a first support frame, a screw, a fixed ring, a sliding frame, a first fixed shaft, a first rotating roller, a second fixed shaft, a second rotating roller and a lower Pressing parts, turning the screw can drive the sliding frame at the bottom of the fixed ring to move up and down in the first support frame, so that the sliding frame drives the first roller outside the first fixed shaft to press down on the steel bars of different diameters. The second roller outside the two fixed shafts can support steel bars of different diameters, the first roller and the second roller can limit the steel bars of different diameters, and at the same time, the first roller and the second roller can facilitate the bending of the steel bars Movement occurs when folded.
2、本实用新型通过设置第二支撑架、气缸、伸缩杆、滑动板以及推动块,两个气缸能够通过伸缩杆带动滑动板进行上下运动,能够使滑动板带动推动块对钢筋进行向下挤压,使钢筋受到压力发生形变向下弯折,贯穿通孔截面为梯形,能够为钢筋发生弯折向下运动提供空间,提高设备对钢筋进行强度检测的实用性。2. The utility model is provided with a second support frame, a cylinder, a telescopic rod, a sliding plate and a push block, and the two cylinders can drive the sliding plate to move up and down through the telescopic rod, so that the sliding plate can drive the pushing block to squeeze the steel bars downward. The steel bar is deformed and bent downward under the pressure, and the cross-section of the through hole is trapezoidal, which can provide space for the steel bar to bend and move downward, and improve the practicability of the equipment for strength testing of the steel bar.
3、本实用新型通过设置限位环以及限位槽,所述限位环与限位槽转动连接,能够使限位环对螺杆进行限位,防止螺杆脱离固定环。3. The utility model is provided with a limit ring and a limit groove, and the limit ring is rotatably connected with the limit groove, so that the limit ring can limit the position of the screw and prevent the screw from detaching from the fixed ring.
4、本实用新型通过设置导向块以及导向槽,所述导向块与导向槽滑动连接,能够使导向块对滑动架进行导向和限位,防止滑动架发生偏移。4. The utility model is provided with a guide block and a guide groove, and the guide block is slidably connected with the guide groove, so that the guide block can guide and limit the sliding frame and prevent the sliding frame from shifting.
5、本实用新型通过设置把手,能够提高螺杆转动的便捷性。5. The utility model can improve the convenience of screw rotation by providing a handle.
6、本实用新型通过设置所述第一转辊与第二转辊截面均为内凹弧形,能够便于钢筋向第一转辊中间处进行运动。6. The utility model can facilitate the movement of steel bars to the middle of the first rotating roller by setting the sections of the first rotating roller and the second rotating roller to be both concave arc-shaped.
附图说明Description of drawings
图1是本实用新型实施例提供的结构示意图;Fig. 1 is the structural representation that the utility model embodiment provides;
图2是本实用新型实施例提供的左视剖视图。Fig. 2 is a left sectional view provided by the embodiment of the utility model.
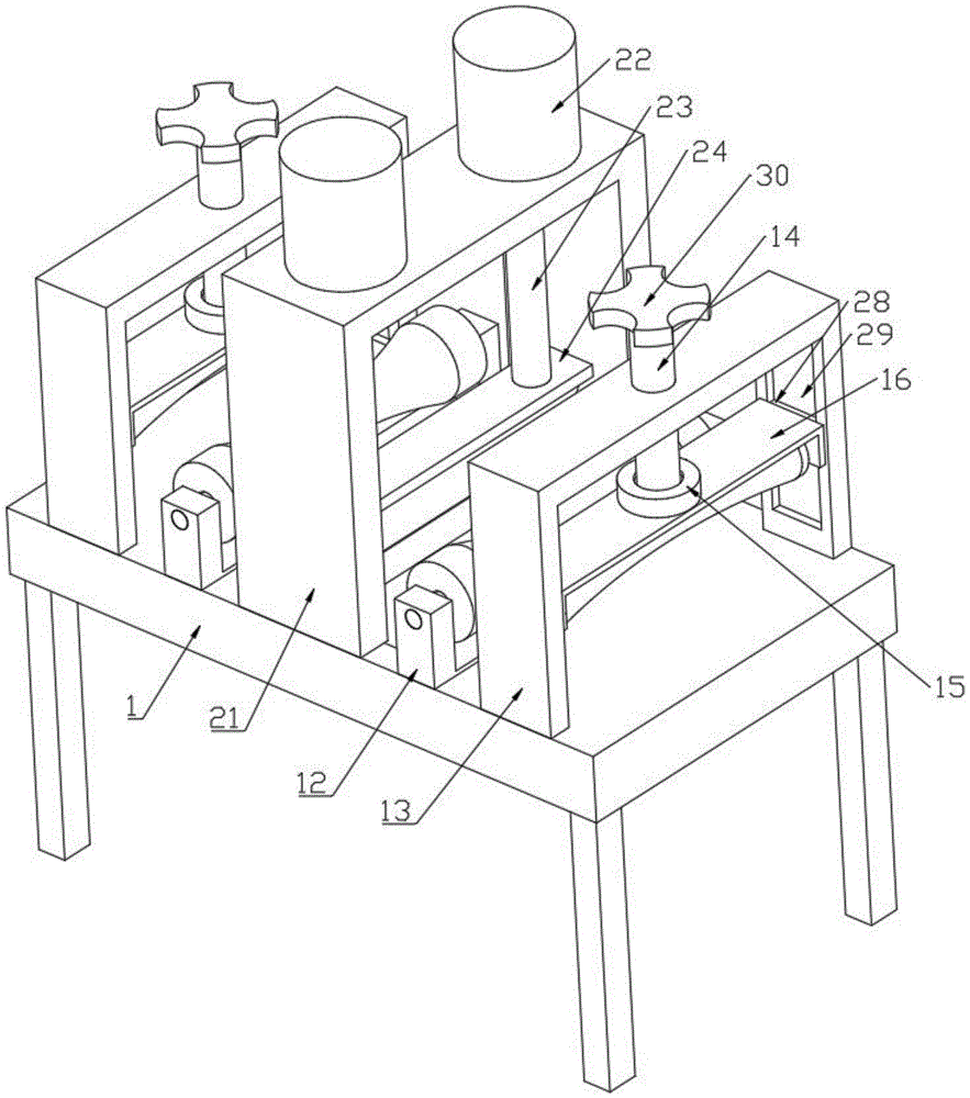
图中:1、支架;11、贯穿通孔;12、固定架;13、第一支撑架;14、螺杆;15、固定环;16、滑动架;17、第一固定轴;18、第一转辊;19、第二固定轴;20、第二转辊;21、第二支撑架;22、气缸;23、伸缩杆;24、滑动板;25、推动块;26、限位环;27、限位槽;28、导向块;29、导向槽;30、把手。In the figure: 1. bracket; 11. through hole; 12. fixed frame; 13. first support frame; 14. screw; 15. fixed ring; 16. sliding frame; 17. first fixed shaft; 18. first Rotating roller; 19, the second fixed shaft; 20, the second rotating roller; 21, the second support frame; 22, cylinder; 23, telescopic rod; 24, sliding plate; 25, pushing block; 26, limit ring; , limit groove; 28, guide block; 29, guide groove; 30, handle.
具体实施方式Detailed ways
为能进一步了解本实用新型的发明内容、特点及功效,兹例举以下实施例,并配合附图详细说明如下。In order to further understand the invention content, characteristics and effects of the present utility model, the following examples are given, and detailed descriptions are given below in conjunction with the accompanying drawings.
下面结合附图对本实用新型的结构作详细的描述。Below in conjunction with accompanying drawing, the structure of the present utility model is described in detail.
如图1至图2所示,本实用新型实施例提供的一种用于钢筋强度检测装置,包括支架1以及用于对钢筋进行限位的夹持部件,所述下压部件包括开设于支架1一侧的贯穿通孔11、设于支架1一侧且分别位于贯穿通孔11两侧的固定架12、设于支架1一侧且位于固定架12一侧的第一支撑架13、设于第一支撑架13顶部的螺杆14、设于螺杆14底部的固定环15、设于固定环15一侧的滑动架16、设于滑动架16一侧的第一固定轴17、套设于第一固定轴17外侧的第一转辊18、设于固定架12一侧的第二固定轴19、套设于第二固定轴19外侧的第二转辊20以及用于对钢筋进行强度检测的下压部件,所述螺杆14与第一支撑架13螺接,所述螺杆14与固定环15转动连接,所述滑动架16与第一支撑架13滑动连接,所述第一转辊18与第一固定轴17转动连接,所述第二转辊20与第二固定轴19转动连接。As shown in Figures 1 to 2, a device for detecting the strength of steel bars provided by the embodiment of the present invention includes a bracket 1 and a clamping part for limiting the position of the steel bars. The through
参考图2,所述下部件包括设于贯穿通孔11一侧的第二支撑架21、设于第二支撑架21顶部的两个气缸22、设于气缸22一侧的伸缩杆23、设于伸缩杆23底部的滑动板24以及设于滑动板24底部的推动块25,所述推动块25截面为梯形,所述推动块25端部为弧形,所述滑动板24与第二支撑架21滑动连接。With reference to Fig. 2, described lower part comprises the
采用上述方案:通过设置第二支撑架21、气缸22、伸缩杆23、滑动板24以及推动块25,两个气缸22能够通过伸缩杆23带动滑动板24进行上下运动,能够使滑动板24带动推动块25对钢筋进行向下挤压,使钢筋受到压力发生形变向下弯折,贯穿通孔11截面为梯形,能够为钢筋发生弯折向下运动提供空间,提高设备对钢筋进行强度检测的实用性。Adopt the above scheme: by setting the
参考图2,所述螺杆14一端设有限位环26,所述固定环15内侧开设有限位槽27,所述限位环26与限位槽27转动连接。Referring to FIG. 2 , a limiting
采用上述方案:通过设置限位环26以及限位槽27,所述限位环26与限位槽27转动连接,能够使限位环26对螺杆14进行限位,防止螺杆14脱离固定环15。Adopt the above scheme: by setting the
参考图1,所述滑动架16两侧分别设有导向块28,所述第一支撑架13两侧分别开设有导向槽29,所述导向块28与导向槽29滑动连接。Referring to FIG. 1 ,
采用上述方案:通过设置导向块28以及导向槽29,所述导向块28与导向槽29滑动连接,能够使导向块28对滑动架16进行导向和限位,防止滑动架16发生偏移。Adopt the above scheme: by setting the
参考图1,所述螺杆14顶部设有把手30。Referring to FIG. 1 , a
采用上述方案:通过设置把手30,能够提高螺杆14转动的便捷性。Adopting the above scheme: by providing the
参考图2,所述第一转辊18与第二转辊20截面均为内凹弧形。Referring to FIG. 2 , the sections of the first
采用上述方案:通过设置所述第一转辊18与第二转辊20截面均为内凹弧形,能够便于钢筋向第一转辊18中间处进行运动。Adopting the above solution: by setting the cross-sections of the first
本实用新型的工作原理:Working principle of the utility model:
在使用时,首先将钢筋放置在两个第二转辊20上,然后通过把手30带动螺杆14进行转动,同时螺杆14带动限位环26在固定环15的限位槽27内进行转动,这时螺杆14通过固定环15带动滑动架16在第一支撑架13内进行向下滑动,然后滑动架16带动第一固定轴17外侧的第一转辊18进行向下运动,同时滑动架16带动导向块28在导向槽29内进行滑动,这时第一转辊18对第二转辊20上的钢筋进行下压,首先启动气缸22,使其通过伸缩杆23带动滑动板24进行向下运动,这时滑动板24带动推动块25对钢筋进行向下挤压,然后钢筋受到压力发生形变向下弯折,然后钢筋弯折处向下进入贯穿通孔11内。When in use, the steel bar is first placed on the two
综上所述:该用于钢筋强度检测装置,通过设置支架1、贯穿通孔11、固定架12、第一支撑架13、螺杆14、固定环15、滑动架16、第一固定轴17、第一转辊18、第二固定轴19、第二转辊20、第二支撑架21、气缸22、伸缩杆23、滑动板24、推动块25、限位环26、限位槽27、导向块28、导向槽29以及把手30,转动螺杆14能够带动固定环15底部的滑动架16在第一支撑架13内进行上下移动,使滑动架16带动第一固定轴17外侧的第一转辊18对不同直径的钢筋进行下压,固定架12上第二固定轴19外侧的第二转辊20能够对不同直径的钢筋进行支撑,第一转辊18和第二转辊20能够对不同直径钢筋限位,同时第一转辊18和第二转辊20能够便于钢筋发生弯折时发生移动,解决了现有设备不能够对不同直径的工件进行限位,不能够便于钢筋弯折时进行移动,容易导致钢筋强度检测结果不精准,降低设备对钢筋进行强度检测的实用性的问题。To sum up: the device for steel bar strength detection, by setting the bracket 1, the through
需要说明的是,在本文中,诸如第一和第二等之类的关系术语仅仅用来将一个实体或者操作与另一个实体或操作区分开来,而不一定要求或者暗示这些实体或操作之间存在任何这种实际的关系或者顺序。而且,术语“包括”、“包含”或者其任何其他变体意在涵盖非排他性的包含,从而使得包括一系列要素的过程、方法、物品或者设备不仅包括那些要素,而且还包括没有明确列出的其他要素,或者是还包括为这种过程、方法、物品或者设备所固有的要素。It should be noted that in this article, relational terms such as first and second are only used to distinguish one entity or operation from another entity or operation, and do not necessarily require or imply that there is a relationship between these entities or operations. There is no such actual relationship or order between them. Furthermore, the term "comprises", "comprises" or any other variation thereof is intended to cover a non-exclusive inclusion such that a process, method, article, or apparatus comprising a set of elements includes not only those elements, but also includes elements not expressly listed. other elements of or also include elements inherent in such a process, method, article, or device.
尽管已经示出和描述了本实用新型的实施例,对于本领域的普通技术人员而言,可以理解在不脱离本实用新型的原理和精神的情况下可以对这些实施例进行多种变化、修改、替换和变型,本实用新型的范围由所附权利要求及其等同物限定。Although the embodiments of the present invention have been shown and described, those skilled in the art can understand that various changes and modifications can be made to these embodiments without departing from the principle and spirit of the present invention , replacements and modifications, the scope of the present utility model is defined by the appended claims and their equivalents.
Claims (6)
Priority Applications (1)
| Application Number | Priority Date | Filing Date | Title |
|---|---|---|---|
| CN202222059117.XU CN218726204U (en) | 2022-08-05 | 2022-08-05 | Be used for reinforcing bar intensity detection device |
Applications Claiming Priority (1)
| Application Number | Priority Date | Filing Date | Title |
|---|---|---|---|
| CN202222059117.XU CN218726204U (en) | 2022-08-05 | 2022-08-05 | Be used for reinforcing bar intensity detection device |
Publications (1)
| Publication Number | Publication Date |
|---|---|
| CN218726204U true CN218726204U (en) | 2023-03-24 |
Family
ID=85629027
Family Applications (1)
| Application Number | Title | Priority Date | Filing Date |
|---|---|---|---|
| CN202222059117.XU Active CN218726204U (en) | 2022-08-05 | 2022-08-05 | Be used for reinforcing bar intensity detection device |
Country Status (1)
| Country | Link |
|---|---|
| CN (1) | CN218726204U (en) |
-
2022
- 2022-08-05 CN CN202222059117.XU patent/CN218726204U/en active Active
Similar Documents
| Publication | Publication Date | Title |
|---|---|---|
| CN211292386U (en) | Automatic inspection and detection device for high polymer pipe | |
| CN211784855U (en) | Testing device for one-step forming of positive and negative bending of reinforcing steel bar | |
| CN116625846A (en) | Construction steel bar bending performance detection equipment | |
| CN209495942U (en) | A steel strength testing device for building testing | |
| CN208766046U (en) | Ring rigidity testing machine | |
| CN218726204U (en) | Be used for reinforcing bar intensity detection device | |
| CN208366722U (en) | A kind of construction material steel bar quality detection device | |
| CN205008427U (en) | Inner wall shaper for steel tube | |
| CN213779740U (en) | Carbon double-wall corrugated pipe rigidity experimental device | |
| CN222188145U (en) | A device for testing the roundness of a rolling mill roll | |
| CN202893907U (en) | Steel plate sample bending device | |
| CN218098661U (en) | Withstand voltage detection device for seamless steel pipe | |
| CN219694802U (en) | Spring hardness detection device | |
| CN218469742U (en) | Hole center detection device convenient to detect | |
| CN113477733B (en) | Tensile strength detection device for steel pipe cold drawing production | |
| CN111014379B (en) | A stainless steel pipe bending hoop device with the function of collecting waste | |
| CN108716972A (en) | A kind of spring force coefficient detection device | |
| CN214334548U (en) | Highway engineering is managed with reinforcing bar mechanical properties detection device | |
| CN223756462U (en) | A steel bar strength testing device | |
| CN220120540U (en) | Reinforcing bar quality detection device for building material | |
| CN221405083U (en) | Device for chemical safety detection | |
| CN218496638U (en) | Reinforcing bar intensity detection device for reinforcing bar production | |
| CN216789739U (en) | Novel measuring equipment based on cross-sea measurement | |
| CN206725566U (en) | A kind of moulding integrated testing machine of plastic sample | |
| CN221405017U (en) | Reinforcing steel bar strength detection device |
Legal Events
| Date | Code | Title | Description |
|---|---|---|---|
| GR01 | Patent grant | ||
| GR01 | Patent grant | ||
| TR01 | Transfer of patent right | ||
| TR01 | Transfer of patent right |
Effective date of registration: 20250825 Address after: 643000 Sichuan Province, Zigong City, Yantan District, Yantan Town, Yongfa Village, Group 4, No. 25 Patentee after: Ye Jianyou Country or region after: China Address before: 266000 Shandong Province, Qingdao City, Chengyang District, Xifuzhen Street, Yanli Community Committee, 500 meters east Patentee before: Qingdao Runyang inspection and Testing Co.,Ltd. Country or region before: China |
|
| TR01 | Transfer of patent right | ||
| TR01 | Transfer of patent right |
Effective date of registration: 20251027 Address after: 643000 Sichuan Province, Zigong City, Yantan District, Yantan Town, Yinjiawan Residential Area A Zone, Building C Patentee after: Zigong Yongfa Construction Engineering Co.,Ltd. Country or region after: China Address before: 643000 Sichuan Province, Zigong City, Yantan District, Yantan Town, Yongfa Village, Group 4, No. 25 Patentee before: Ye Jianyou Country or region before: China |
|
| TR01 | Transfer of patent right | ||
| TR01 | Transfer of patent right |
Effective date of registration: 20251201 Address after: 533000 Guangxi Zhuang Autonomous Region, Baise City, Debao County, Najia Town, Madao Village, Xiaodu Village, No. 43 Patentee after: Luo Shijin Country or region after: China Patentee after: Yang Xiu Fa Address before: 643000 Sichuan Province, Zigong City, Yantan District, Yantan Town, Yinjiawan Residential Area A Zone, Building C Patentee before: Zigong Yongfa Construction Engineering Co.,Ltd. Country or region before: China |
|
| TR01 | Transfer of patent right | ||
| TR01 | Transfer of patent right |
Effective date of registration: 20251211 Address after: 550001Guizhou Province, Guiyang City, Guian New District, Huchao Township, Guian New District, Evergrande Guian No. 1 - 07-03-3 Plot, the part of the Navigation Center, Building B, Unit 1, 9th Floor, Room 7 Patentee after: Guizhou Lizhi Construction Engineering Co.,Ltd. Country or region after: China Address before: 533000 Guangxi Zhuang Autonomous Region, Baise City, Debao County, Najia Town, Madao Village, Xiaodu Village, No. 43 Patentee before: Luo Shijin Country or region before: China Patentee before: Yang Xiu Fa |
