CN218723609U - 一种具有自动收卷功能的工程测量用卷尺 - Google Patents
一种具有自动收卷功能的工程测量用卷尺 Download PDFInfo
- Publication number
- CN218723609U CN218723609U CN202222642773.2U CN202222642773U CN218723609U CN 218723609 U CN218723609 U CN 218723609U CN 202222642773 U CN202222642773 U CN 202222642773U CN 218723609 U CN218723609 U CN 218723609U
- Authority
- CN
- China
- Prior art keywords
- shell
- rope
- tape measure
- rod
- pulley
- Prior art date
- Legal status (The legal status is an assumption and is not a legal conclusion. Google has not performed a legal analysis and makes no representation as to the accuracy of the status listed.)
- Active
Links
- 238000005259 measurement Methods 0.000 title claims abstract description 17
- 238000004804 winding Methods 0.000 title claims description 15
- 238000005096 rolling process Methods 0.000 claims abstract description 10
- 230000007246 mechanism Effects 0.000 claims abstract description 5
- 239000012634 fragment Substances 0.000 claims description 8
- 244000309464 bull Species 0.000 abstract description 10
- 238000013461 design Methods 0.000 abstract description 2
- 229910000831 Steel Inorganic materials 0.000 description 4
- 238000010276 construction Methods 0.000 description 4
- 238000003780 insertion Methods 0.000 description 4
- 230000037431 insertion Effects 0.000 description 4
- 239000010959 steel Substances 0.000 description 4
- 239000000428 dust Substances 0.000 description 3
- 230000009286 beneficial effect Effects 0.000 description 2
- 230000000694 effects Effects 0.000 description 2
- 238000013507 mapping Methods 0.000 description 2
- 230000004075 alteration Effects 0.000 description 1
- 230000003749 cleanliness Effects 0.000 description 1
- 238000005034 decoration Methods 0.000 description 1
- 238000001125 extrusion Methods 0.000 description 1
- 230000006872 improvement Effects 0.000 description 1
- 239000002184 metal Substances 0.000 description 1
- 238000012986 modification Methods 0.000 description 1
- 230000004048 modification Effects 0.000 description 1
- 230000002035 prolonged effect Effects 0.000 description 1
- 238000006467 substitution reaction Methods 0.000 description 1
- 230000000007 visual effect Effects 0.000 description 1
- XLYOFNOQVPJJNP-UHFFFAOYSA-N water Substances O XLYOFNOQVPJJNP-UHFFFAOYSA-N 0.000 description 1
Images
Landscapes
- Tape Measures (AREA)
Abstract
本实用新型涉及测量工具技术领域,且公开了一种具有自动收卷功能的工程测量用卷尺,包括壳体,壳体的内部设置有滚轮,滚轮的表面滑动连接有卷尺,壳体的一侧设置有划线装置,壳体的内部设置有收卷装置,壳体的一侧固定连接有挂绳。本实用新型的设计增加了划线装置,通过拔出插杆,利用插杆带动转杆转动,转杆转动的同时,使滑轮发生旋转,滑轮在旋转的同时对绳子进行收卷,从而使绳子拉动横杆在收纳盒的内部滑动,进而横杆使笔套在套壳的内部向下滑动,使划线笔向下伸出,然后将插杆进行限位,保证划线笔的稳定,在进行测量的同时可直接用该尺进行划线,既方便又准确,大幅度提高工作效率和划线的准确性。
Description
技术领域
本实用新型涉及测量工具技术领域,具体为一种具有自动收卷功能的工程测量用卷尺。
背景技术
施工测量是指为施工所进行的控制、放样和竣工验收等的测量工作,与一般的测图工作相反,施工放样是按照设计图纸将设计的建筑物位置、形状、大小及高程在地面上标定出来,以便根据这些标定的点线进行施工,是建筑和装修常用,也是家庭必备工具之一。
在申请号为的中国实用新型专利CN202122134238.1中公开了一种测绘工程用测量精度高的钢卷尺,包括第一壳体,所述第一壳体内腔底部的左侧设置有钢卷尺本体,所述钢卷尺本体的左侧设置有金属限位板,所述钢卷尺本体左下端的内表面开设有限位槽,所述限位槽内腔的左上端设置有第二壳体,所述第二壳体内腔的左侧设置有弹簧,所述第二壳体内腔的右侧设置有缓冲板,所述缓冲板的右侧固定连接有第一连接杆,所述第一连接杆的右侧固定连接有挤压板,所述第二壳体的左侧固定连接有推拉块,且推拉块的外表面开设有防滑纹。
针对上述中的相关技术,发明人认为存在以下缺陷:在划线操作时,需要一手执卷尺一手执划笔划线,由于视角不同,容易出现误差,还要顾及尺钩挂得是否牢靠,用起来既麻烦又有失准确,所以需要一种方便测量和划线的一体化设备,有利于工程测量的使用。
实用新型内容
(一)解决的技术问题
针对现有技术的不足,本实用新型提供了一种具有自动收卷功能的工程测量用卷尺,具备提高划线的准确性和增加使用寿命等优点,解决了划线误差和卷尺刻度的磨损的问题。
(二)技术方案
为实现上述提高划线准确性和保护刻度线的目的,本实用新型提供如下技术方案:一种具有自动收卷功能的工程测量用卷尺,包括壳体、卷尺、划线装置、收卷装置,所述壳体的内部设置有滚轮,所述滚轮的表面滑动连接有卷尺,所述壳体的一侧设置有划线装置,所述壳体的内部设置有收卷装置,所述壳体的一侧固定连接有挂绳;
所述划线装置包括收纳盒、滑轮、转杆、插杆、绳子、横杆、套壳、弹簧、笔套和划线笔,所述收纳盒的内部设置有滑轮,所述滑轮的内部贯穿有转杆,所述转杆的一端贯穿有插杆,所述滑轮的表面活动连接有绳子,所述绳子的一端固定连接横杆,所述横杆的一端贯穿有套壳,所述套壳的内部设置有弹簧,所述弹簧的下表面固定连接有笔套,所述笔套的底部活动连接有划线笔。
优选的,所述收卷装置包括转轴、扭簧、转盘、限位杆、滑槽、按钮和弹片,所述转轴的外表面固定连接有扭簧,所述扭簧的两端固定连接有转盘,所述转盘的下方设置有限位杆,所述限位杆的下表面滑动连接有滑槽,所述限位杆的一端活动连接有按钮,所述按钮的上表面固定连接有弹片。
优选的,所述横杆滑动在收纳盒的内壁上,且横杆与笔套固定连接,并滑动在套壳的表面,所述绳子与滑轮的表面固定连接。
优选的,所述插杆滑动在转杆的一端,所述收纳盒的底部开设有与划线笔相对于的凹槽,且收纳盒的前表面开设有与插杆相对应的限位孔。
优选的,所述转轴安装在壳体的内部,所述弹片的一端固定在壳体的内部,所述壳体与卷尺的连接处设置有刷板,可以清除卷尺上下两侧的灰尘和水渍,保证卷尺的清洁度,提高刻度线的观感效果,保证测量数据的准确性。
优选的,所述限位杆呈L型设置,且限位杆的一端设置有斜槽,并与按钮呈相对应设置,斜槽可以使按钮向上移动的同时,带动限位杆向右侧移动,达成限位功能,结构简单、操作便捷,从而减少成本的使用。
(三)有益效果
与现有技术相比,本实用新型提供了一种具有自动收卷功能的工程测量用卷尺,具备以下有益效果:
1、该具有自动收卷功能的工程测量用卷尺,通过拔出插杆,利用插杆带动转杆转动,转杆转动的同时,使滑轮发生旋转,滑轮在旋转的同时对绳子进行收卷,从而使绳子拉动横杆在收纳盒的内部滑动,进而横杆使笔套在套壳的内部向下滑动,使划线笔向下伸出,然后将插杆进行限位,保证划线笔的稳定,在进行测量的同时可直接用该尺进行划线,既方便又准确,大幅度提高工作效率和划线的准确性。
2、该具有自动收卷功能的工程测量用卷尺,通过拉出卷尺,滚轮使卷尺更加顺畅的拉出,卷尺拉动转盘转动,从而使转盘带动与之相连的扭簧发生旋转,使扭簧收紧,需要定位时,按下按钮,按钮移动的同时,使限位杆在滑槽的表面向右侧移动,从而使限位杆挤压卷尺进行限位,测量结束时,弹片弹起按钮,扭簧带动转盘复位,收回卷尺,通过刷板除去表面的灰尘和污渍,既提高卷尺的使用寿命,也保证了卷尺在回收时,可以通过按钮控制卷尺收回的速度,保护了使用者不被卷尺割伤,提高了安全性。
附图说明
图1为本实用新型立体结构示意图;
图2为本实用新型内部结构示意图;
图3为本实用新型划线装置结构示意图。
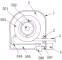
其中:1、壳体;2、滚轮;3、卷尺;4、划线装置;401、收纳盒;402、滑轮;403、转杆;404、插杆;405、绳子;406、横杆;407、套壳;408、弹簧;409、笔套;410、划线笔;5、收卷装置;501、转轴;502、扭簧;503、转盘;504、限位杆;505、滑槽;506、按钮;507、弹片;6、挂绳。
具体实施方式
下面将结合本实用新型实施例中的附图,对本实用新型实施例中的技术方案进行清楚、完整地描述,显然,所描述的实施例仅仅是本实用新型一部分实施例,而不是全部的实施例。基于本实用新型中的实施例,本领域普通技术人员在没有做出创造性劳动前提下所获得的所有其他实施例,都属于本实用新型保护的范围。
实施例1:
请参阅图1-图3,一种具有自动收卷功能的工程测量用卷尺,包括壳体1、卷尺3、划线装置4、收卷装置5,壳体1与卷尺3的连接处设置有刷板,壳体1的内部设置有滚轮2,滚轮2的表面滑动连接有卷尺3,壳体1的一侧设置有划线装置4,壳体1的内部设置有收卷装置5,壳体1的一侧固定连接有挂绳6,划线装置4包括收纳盒401、滑轮402、转杆403、插杆404、绳子405、横杆406、套壳407、弹簧408、笔套409和划线笔410,收纳盒401的底部开设有与划线笔410相对于的凹槽,且收纳盒401的前表面开设有与插杆404相对应的限位孔。收纳盒401的内部设置有滑轮402,滑轮402的内部贯穿有转杆403,转杆403的一端贯穿有插杆404,插杆404滑动在转杆403的一端,滑轮402的表面活动连接有绳子405,绳子405与滑轮402的表面固定连接,绳子405的一端固定连接横杆406,横杆406滑动在收纳盒401的内壁上,且横杆406与笔套409固定连接,并滑动在套壳407的表面,横杆406的一端贯穿有套壳407,套壳407的内部设置有弹簧408,弹簧408的下表面固定连接有笔套409,笔套409的底部活动连接有划线笔410。
通过上述技术方案,拔出插杆404,利用插杆404带动转杆403转动,转杆403转动的同时,使滑轮402发生旋转,滑轮402在旋转的同时对绳子405进行收卷,从而使绳子405拉动横杆406在收纳盒401的内部滑动,进而横杆406使笔套409在套壳407的内部向下滑动,使划线笔410向下伸出,进行划线。
实施例2,本实施例与实施例1的区别在于:
具体的,收卷装置5包括转轴501、扭簧502、转盘503、限位杆504、滑槽505、按钮506和弹片507,转轴501安装在壳体1的内部,转轴501的外表面固定连接有扭簧502,扭簧502的两端固定连接有转盘503,转盘503的下方设置有限位杆504,限位杆504呈L型设置,且限位杆504的一端设置有斜槽,并与按钮506呈相对应设置,限位杆504的下表面滑动连接有滑槽505,限位杆504的一端活动连接有按钮506,按钮506的上表面固定连接有弹片507,弹片507的一端固定在壳体1的内部。
通过上述技术方案,拉出卷尺3,卷尺3拉动转盘503转动,从而使转盘503带动与之相连的扭簧502发生旋转,使扭簧502收紧,需要定位时,按下按钮506,按钮506移动的同时,使限位杆504在滑槽505的表面向右侧移动,从而使限位杆504挤压卷尺3进行限位,测量结束时,弹片507弹起按钮506,扭簧502带动转盘503复位,收回卷尺3。
工作原理:工作时,拔出插杆404,利用插杆404带动转杆403转动,转杆403转动的同时,使滑轮402发生旋转,滑轮402在旋转的同时对绳子405进行收卷,从而使绳子405拉动横杆406在收纳盒401的内部滑动,进而横杆406使笔套409在套壳407的内部向下滑动,使划线笔410向下伸出,然后将插杆404进行限位,保证划线笔410的稳定,拉出卷尺3,滚轮2使卷尺3更加顺畅的拉出,卷尺3拉动转盘503转动,从而使转盘503带动与之相连的扭簧502发生旋转,使扭簧502收紧,需要定位时,按下按钮506,按钮506移动的同时,使限位杆504在滑槽505的表面向右侧移动,从而使限位杆504挤压卷尺3进行限位,测量和划线同时进行,测量结束时,弹片507弹起按钮506,扭簧502带动转盘503复位,收回卷尺3,通过刷板除去表面的灰尘和污渍,提高卷尺3的使用寿命。
尽管已经显示出和描述了本实用新型的实施例,对于本领域的普通技术人员而言,可以理解在不脱离本实用新型的原理和精神的情况下可以对这些实施例进行多种变化、修改、替换和变型,本实用新型的范围由所附权利要求及其等同物限定。
Claims (6)
1.一种具有自动收卷功能的工程测量用卷尺,包括壳体(1)、卷尺(3)、划线装置(4)、收卷装置(5),其特征在于:所述壳体(1)的内部设置有滚轮(2),所述滚轮(2)的表面滑动连接有卷尺(3),所述壳体(1)的一侧设置有划线装置(4),所述壳体(1)的内部设置有将卷尺(3)收进壳体(1)内部的收卷装置(5),所述壳体(1)的一侧固定连接有挂绳(6),所述划线装置(4)包括收纳盒(401)、滑轮(402)、转杆(403)、插杆(404)、绳子(405)、横杆(406)、套壳(407)、弹簧(408)、笔套(409)和划线笔(410),所述收纳盒(401)的内部设置有滑轮(402),所述滑轮(402)的内部贯穿有转杆(403),所述转杆(403)的一端贯穿有插杆(404),所述滑轮(402)的表面活动连接有绳子(405),所述绳子(405)的一端固定连接横杆(406),所述横杆(406)的一端贯穿有套壳(407),所述套壳(407)的内部设置有弹簧(408),所述弹簧(408)的下表面固定连接有笔套(409),所述笔套(409)的底部活动连接有划线笔(410)。
2.根据权利要求1所述的一种具有自动收卷功能的工程测量用卷尺,其特征在于:所述收卷装置(5)包括转轴(501)、扭簧(502)、转盘(503)、限位杆(504)、滑槽(505)、按钮(506)和弹片(507),所述转轴(501)的外表面固定连接有扭簧(502),所述扭簧(502)的两端固定连接有转盘(503),所述转盘(503)的下方设置有限位杆(504),所述限位杆(504)的下表面滑动连接有滑槽(505),所述限位杆(504)的一端活动连接有按钮(506),所述按钮(506)的上表面固定连接有弹片(507)。
3.根据权利要求1所述的一种具有自动收卷功能的工程测量用卷尺,其特征在于:所述横杆(406)滑动在收纳盒(401)的内壁上,且横杆(406)与笔套(409)固定连接,并滑动在套壳(407)的表面,所述绳子(405)与滑轮(402)的表面固定连接。
4.根据权利要求1所述的一种具有自动收卷功能的工程测量用卷尺,其特征在于:所述插杆(404)滑动在转杆(403)的一端,所述收纳盒(401)的底部开设有与划线笔(410)相对于的凹槽,且收纳盒(401)的前表面开设有与插杆(404)相对应的限位孔。
5.根据权利要求2所述的一种具有自动收卷功能的工程测量用卷尺,其特征在于:所述转轴(501)安装在壳体(1)的内部,所述弹片(507)的一端固定在壳体(1)的内部,所述壳体(1)与卷尺(3)的连接处设置有刷板。
6.根据权利要求2所述的一种具有自动收卷功能的工程测量用卷尺,其特征在于:所述限位杆(504)呈L型设置,且限位杆(504)的一端设置有斜槽,并与按钮(506)呈相对应设置。
Priority Applications (1)
| Application Number | Priority Date | Filing Date | Title |
|---|---|---|---|
| CN202222642773.2U CN218723609U (zh) | 2022-10-09 | 2022-10-09 | 一种具有自动收卷功能的工程测量用卷尺 |
Applications Claiming Priority (1)
| Application Number | Priority Date | Filing Date | Title |
|---|---|---|---|
| CN202222642773.2U CN218723609U (zh) | 2022-10-09 | 2022-10-09 | 一种具有自动收卷功能的工程测量用卷尺 |
Publications (1)
| Publication Number | Publication Date |
|---|---|
| CN218723609U true CN218723609U (zh) | 2023-03-24 |
Family
ID=85639892
Family Applications (1)
| Application Number | Title | Priority Date | Filing Date |
|---|---|---|---|
| CN202222642773.2U Active CN218723609U (zh) | 2022-10-09 | 2022-10-09 | 一种具有自动收卷功能的工程测量用卷尺 |
Country Status (1)
| Country | Link |
|---|---|
| CN (1) | CN218723609U (zh) |
Cited By (1)
| Publication number | Priority date | Publication date | Assignee | Title |
|---|---|---|---|---|
| CN118533021A (zh) * | 2024-07-26 | 2024-08-23 | 山东省国土空间生态修复中心(山东省地质灾害防治技术指导中心、山东省土地储备中心) | 一种自适应土地利用面积测量装置 |
-
2022
- 2022-10-09 CN CN202222642773.2U patent/CN218723609U/zh active Active
Cited By (1)
| Publication number | Priority date | Publication date | Assignee | Title |
|---|---|---|---|---|
| CN118533021A (zh) * | 2024-07-26 | 2024-08-23 | 山东省国土空间生态修复中心(山东省地质灾害防治技术指导中心、山东省土地储备中心) | 一种自适应土地利用面积测量装置 |
Similar Documents
| Publication | Publication Date | Title |
|---|---|---|
| CN219572934U (zh) | 一种墙面平整度检测装置 | |
| CN218723609U (zh) | 一种具有自动收卷功能的工程测量用卷尺 | |
| CN215491435U (zh) | 一种建筑工程裂缝检测装置 | |
| CN211452178U (zh) | 一种用于房建主体检测的墙缝宽度测量装置 | |
| CN211954161U (zh) | 一种建筑工程管理用测量装置 | |
| CN220871604U (zh) | 一种地质测绘用测绘尺 | |
| CN216898586U (zh) | 一种工程测量装置 | |
| CN210346674U (zh) | 一种便携式户外测量装置 | |
| CN217331174U (zh) | 一种新型建筑质量检测装置 | |
| CN211601763U (zh) | 一种工程造价用测量尺 | |
| CN216049498U (zh) | 一种室内测绘工具 | |
| CN212512814U (zh) | 一种工程测绘用测量尺 | |
| CN213515318U (zh) | 一种房屋建筑质量标准尺 | |
| CN209588930U (zh) | 一种测量装置 | |
| CN210774800U (zh) | 一种土壤检测用采样装置 | |
| CN220912210U (zh) | 一种工程检测尺 | |
| CN219798203U (zh) | 一种土地面积测量装置 | |
| CN113884076A (zh) | 一种矿山测量用免调试的标尺架 | |
| CN220206587U (zh) | 一种转弯角度测量装置 | |
| CN221445122U (zh) | 一种垂直度检测装置 | |
| CN216240612U (zh) | 一种煤矿钻井深度测量装置 | |
| CN220119970U (zh) | 一种手持式房产测绘用测绘尺 | |
| CN223204840U (zh) | 一种多功能测量尺 | |
| CN219736847U (zh) | 煤岩样品采样标记装置 | |
| CN211085059U (zh) | 一种深孔参数测量装置 |
Legal Events
| Date | Code | Title | Description |
|---|---|---|---|
| GR01 | Patent grant | ||
| GR01 | Patent grant |