CN218713734U - Ground assembled drainage device - Google Patents
Ground assembled drainage device Download PDFInfo
- Publication number
- CN218713734U CN218713734U CN202222958396.3U CN202222958396U CN218713734U CN 218713734 U CN218713734 U CN 218713734U CN 202222958396 U CN202222958396 U CN 202222958396U CN 218713734 U CN218713734 U CN 218713734U
- Authority
- CN
- China
- Prior art keywords
- ground
- installation section
- installation
- drainage device
- skirt
- Prior art date
- Legal status (The legal status is an assumption and is not a legal conclusion. Google has not performed a legal analysis and makes no representation as to the accuracy of the status listed.)
- Active
Links
Images
Landscapes
- Sewage (AREA)
Abstract
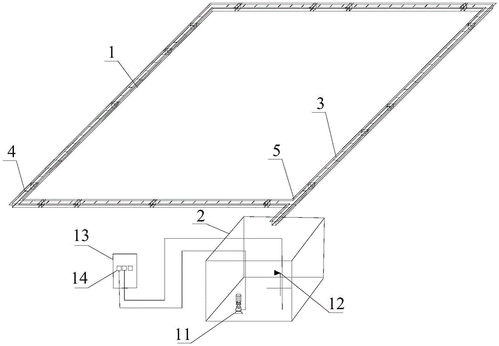
本实用新型公开一种地面组装式排水装置,包括预制排水沟(1)以及与所述预制排水沟末端相连的集水井(2),所述预制排水沟(1)由若干安装节段连接组成;所述安装节段至少包括直安装节段(3)、直角安装节段(4)和三通安装节段(5);所述安装节段为由两个竖直面(6)和一个底面(7)构成的水槽结构,所述两个竖直面(6)的顶部设置有外翻的裙边(8);所述预制排水沟(1)设置在地面开挖的相匹配的沟槽中,通过裙边(8)与地面固定。本实用新型结构简单、造价低廉,便于施工过程中的安装和拆卸,即达到了排水的要求,也减少了临时排水的经济投入,还减轻了工人安装的难度。
The utility model discloses a ground-assembled drainage device, which comprises a prefabricated drainage ditch (1) and a water collection well (2) connected to the end of the prefabricated drainage ditch. The prefabricated drainage ditch (1) is composed of several installation segments connected ; The installation section at least includes a straight installation section (3), a right-angle installation section (4) and a tee installation section (5); the installation section is composed of two vertical surfaces (6) and a The bottom surface (7) constitutes the tank structure, and the top of the two vertical surfaces (6) is provided with an everted skirt (8); the prefabricated drainage ditch (1) is arranged in a matching ditch excavated on the ground In the groove, it is fixed with the ground by the skirt (8). The utility model has simple structure and low cost, and is convenient for installation and disassembly in the construction process, which not only meets the requirement of drainage, but also reduces the economic investment of temporary drainage, and also reduces the difficulty of installation by workers.
Description
技术领域technical field
本实用新型涉及一种地面临时排水沟系统,具体涉及一种地面组装式排水沟装置。The utility model relates to a ground temporary drainage ditch system, in particular to a ground assembly type drainage ditch device.
背景技术Background technique
我们国家在改革开放的过程当中,对于基础设施的建设非常关注,而且投入了大量的资金,用于基础设施的建设,一方面让我们国家的很多企业都已经获得了更好的发展,另外一方面也能够让我们国家的很多人员获得工作的机会,才能够获得更高的收入,进而促进我们国家的消费。In the process of reform and opening up, our country paid great attention to the construction of infrastructure, and invested a lot of money in the construction of infrastructure. On the one hand, many enterprises in our country have achieved better development. On the other hand, On the one hand, it can also allow many people in our country to get job opportunities, so that they can get higher income, and then promote consumption in our country.
在基础设施的建设过程中经常会遇到基坑、支架基础、路基等临时排水截水需求。现有技术中,对于临时排水截水通常会采用如下几种方案:一、考虑成本,很多施工单位会直接选择开挖排水沟。这种方法虽然经济节约,但是遇到雨水流量大的时候,排水沟可能会被水流破坏,还需人工机械经常围护;二、对于部分实力雄厚的施工单位,一般会在经常检查的部位采用浆砌排水沟,这种排水沟结构稳固结实,但需花费大量人力物资材料,后期还需花费大量人工清理,也存在很多问题;三、有部分施工单位会采用预制排水沟,这种排水沟虽然质量稳定,但是经济成本极高,且在施工过程中需大量劳动力进行安装,安装过程需采用机械进行辅助,工序复杂。另外,这种预制排水沟安装过程还存在一定危险性,后期拆除也比较麻烦,难以得到推广。In the process of infrastructure construction, temporary drainage and water interception requirements such as foundation pits, support foundations, and roadbeds are often encountered. In the prior art, the following schemes are usually adopted for temporary drainage and water interception: 1. Considering the cost, many construction units will directly choose to excavate drainage ditches. Although this method is economical and economical, when the rainwater flow is large, the drainage ditch may be damaged by the water flow, and manual machinery is often required to protect it; 2. For some powerful construction units, it is generally used in the frequently inspected parts. Mortar drainage ditch, this kind of drainage ditch structure is stable and strong, but it takes a lot of manpower, materials and materials, and it also needs to spend a lot of manual cleaning in the later stage, and there are many problems; 3. Some construction units will use prefabricated drainage ditch, this kind of drainage ditch Although the quality is stable, the economic cost is extremely high, and a large amount of labor is required for installation during the construction process. The installation process needs to be assisted by machinery, and the process is complicated. In addition, there are certain risks in the installation process of this prefabricated drainage ditch, and it is more troublesome to dismantle it in the later stage, so it is difficult to be popularized.
综上,在基础设施的建设过程中,迫切需要一种经济投入低、安装简便且排水效果稳定的临时排水装置。To sum up, in the process of infrastructure construction, there is an urgent need for a temporary drainage device with low economic investment, easy installation and stable drainage effect.
发明内容Contents of the invention
发明目的:本实用新型目的在于针对现有技术的不足,提供一种安装、拆卸方便,经济成本低,排水效果好的地面组装式排水装置。Purpose of the invention: The purpose of this utility model is to provide a ground-mounted drainage device that is easy to install and disassemble, has low economic cost, and has a good drainage effect in view of the deficiencies of the prior art.
技术方案:本实用新型所述地面组装式排水装置,包括预制排水沟以及与所述预制排水沟末端相连的集水井,所述预制排水沟由若干安装节段连接组成;所述安装节段至少包括直安装节段、直角安装节段和三通安装节段;所述安装节段为由两个竖直面和一个底面构成的水槽结构,所述两个竖直面的顶部设置有外翻的裙边;所述预制排水沟设置在地面开挖的相匹配的沟槽中,通过裙边与地面固定。Technical solution: The ground-assembled drainage device described in the utility model includes a prefabricated drainage ditch and a water collection well connected to the end of the prefabricated drainage ditch. The prefabricated drainage ditch is composed of several installation segments; the installation segments are at least It includes a straight installation section, a right angle installation section and a three-way installation section; the installation section is a sink structure composed of two vertical surfaces and a bottom surface, and the top of the two vertical surfaces is provided with an eversion The skirt; the prefabricated drainage ditch is set in the matching groove excavated on the ground, and fixed to the ground through the skirt.
为了满足工程实际情况需要,所述直安装节段包括至少三种长度规格的短直安装节段、中直安装节段和长直安装节段,根据排水沟的长度选用不同规格的直安装节段组合使用。In order to meet the actual needs of the project, the straight installation section includes at least three lengths of short straight installation section, medium straight installation section and long straight installation section, and the straight installation sections of different specifications are selected according to the length of the drainage ditch. segment combinations.
优选地,所述安装节段由厚度不小于1mm的铁皮制作,取材和制作工艺都非常简单。Preferably, the installation section is made of iron sheet with a thickness not less than 1mm, and the materials and manufacturing process are very simple.
进一步地,所述安装节段的纵截面三条边长度优选为50cm、50cm和50cm;所述裙边的宽度为25cm,尺寸合理,满足一般排水沟槽的需求。Further, the lengths of the three sides of the longitudinal section of the installation segment are preferably 50 cm, 50 cm and 50 cm; the width of the skirt is 25 cm, which is reasonable in size and meets the requirements of general drainage channels.
优选地,所述裙边上设置有固定孔,通过穿过固定孔的铁钎与地面固定连接,一般可选用长度50cm直径12mm的钢筋HRB400作为钢钎来固定,在工地上取材方便。Preferably, the skirt is provided with a fixing hole, and is fixedly connected to the ground through an iron drill passing through the fixing hole. Generally, a steel bar HRB400 with a length of 50 cm and a diameter of 12 mm can be used as a steel drill for fixing, and it is convenient to obtain materials on the construction site.
为了结构稳定,所述安装节段的两个竖直面之间还设置有加强横梁。In order to stabilize the structure, a reinforcing beam is also arranged between the two vertical surfaces of the installation segment.
优选地,所述集水井中设置有潜水污水泵,对集水井中的污水进行排污。Preferably, a submersible sewage pump is arranged in the water collection well to discharge the sewage in the water collection well.
进一步地,所述集水井中设置有水位感应器。Further, a water level sensor is provided in the water collection well.
进一步地,还设置智能控制柜及安装在智能控制柜中的智能控制器,通过所述智能控制器连接并控制所述潜水污水泵和所述水位感应器。Further, an intelligent control cabinet and an intelligent controller installed in the intelligent control cabinet are also provided, and the submersible sewage pump and the water level sensor are connected and controlled through the intelligent controller.
有益效果:(1)本实用新型结构简单、造价低廉,便于施工过程中的安装和拆卸,即达到了排水的要求,也减少了临时排水的经济投入,还减轻了工人安装的难度;2、本实用新型结构简单却能承受高强度水流冲击,不易损坏还可以重复利用,经济又环保;3、本实用新型可以根据现场要求,在现场取材制作,适用于各种施工平面的排水,美观的同时,保证边坡符合标准化建设的要求。Beneficial effects: (1) The utility model has simple structure and low cost, and is convenient for installation and disassembly during the construction process, which not only meets the requirements of drainage, but also reduces the economic investment of temporary drainage, and also reduces the difficulty of installation by workers; 2. The utility model has a simple structure but can withstand the impact of high-intensity water flow. It is not easy to be damaged and can be reused. It is economical and environmentally friendly. 3. The utility model can be made on site according to the requirements of the site. It is suitable for drainage of various construction planes and is beautiful. At the same time, ensure that the slope meets the requirements of standardized construction.
附图说明Description of drawings
图1为本实用新型结构示意图。Fig. 1 is the structural representation of the utility model.
图2为本实用新型中直安装节段的结构示意图。Fig. 2 is a structural schematic diagram of the straight installation section in the utility model.
图3为本实用新型中直角安装节段的结构示意图。Fig. 3 is a structural schematic diagram of a right-angle installation segment in the present invention.
图4为本实用新型中三通安装节段的结构示意图。Fig. 4 is a structural schematic diagram of the tee installation section in the utility model.
图中:1、预制排水沟;2、集水井;3、直安装节段;3-1、短直安装节段;3-2、中直安装节段;3-3、长直安装节段;4、直角安装节段;5、三通安装节段;6、竖直面;7、底面;8、裙边;9、固定孔;10、加强横梁;11、潜水污水泵;12、水位感应器;13、智能控制柜;14、智能控制器。In the figure: 1. Prefabricated drainage ditch; 2. Water collection well; 3. Straight installation section; 3-1, short straight installation section; 3-2, medium straight installation section; 3-3, long straight installation section ;4. Right angle installation section; 5. Tee installation section; 6. Vertical surface; 7. Bottom surface; 8. Skirt; 9. Fixing hole; 10. Reinforced beam; 11. Submersible sewage pump; Sensor; 13. Intelligent control cabinet; 14. Intelligent controller.
具体实施方式Detailed ways
下面通过附图对本实用新型技术方案进行详细说明,但是本实用新型的保护范围不局限于所述实施例。The technical scheme of the utility model will be described in detail below with the accompanying drawings, but the protection scope of the utility model is not limited to the described embodiments.
实施例1:路基施工过程中,根据基坑、支架基础、路基等临时排水截水需求,设计排水系统的平面布置,然后根据平面布置在地面开挖50*50*50cm沟槽。Example 1: During the subgrade construction process, the layout of the drainage system is designed according to the temporary drainage and interception requirements of foundation pits, support foundations, and subgrades, and then a 50*50*50cm trench is excavated on the ground according to the layout.
本实用新型地面组装式排水装置,包括预制排水沟1以及与预制排水沟末端相连的集水井2,上述预制排水沟1由若干安装节段连接组成;上述安装节段至少包括直安装节段3、直角安装节段4和三通安装节段5;上述安装节段为由两个竖直面6和一个底面7构成的水槽结构,上述安装节段的两个竖直面之间还设置有加强横梁10。上述两个竖直面6的顶部设置有外翻的裙边8。安装节段的纵截面三条边长度分别为50cm、50cm和50cm;上述裙边的宽度为25cm。上述直安装节段3包括至少三种长度规格的短直安装节段3-1、中直安装节段3-2和长直安装节段3-3,根据现场实际情况合理选用。上述安装节段由厚度不小于1mm的铁皮制作。将安装节段按照平面布置安装进开挖的沟槽中,在安装过程中需注意每节排水沟安装需重叠部位需安装坡度安装,高处压低处安装节段安装口,在接口处可涂刷一定量的防水胶。上述裙边8上设置有固定孔9,通过穿过固定孔9的铁钎与地面固定连接。在需要车辆出入处可使用加厚钢板搭桥排水沟,从而使车辆可以通过。上述集水井中设置有潜水污水泵11和水位感应器12。本实用新型装置还设置有智能控制柜13和设置在智能控制柜13中的智能控制器14,通过上述智能控制器14连接并控制上述潜水污水泵11和水位感应器12。The ground-assembled drainage device of the utility model includes a
如上所述,尽管参照特定的优选实施例已经表示和表述了本实用新型,但其不得解释为对本实用新型自身的限制。在不脱离所附权利要求定义的本实用新型的精神和范围前提下,可对其在形式上和细节上作出各种变化。As stated above, although the invention has been shown and described with reference to certain preferred embodiments, this should not be construed as limiting the invention itself. Various changes in form and details may be made therein without departing from the spirit and scope of the invention as defined by the appended claims.
Claims (10)
Priority Applications (1)
| Application Number | Priority Date | Filing Date | Title |
|---|---|---|---|
| CN202222958396.3U CN218713734U (en) | 2022-11-07 | 2022-11-07 | Ground assembled drainage device |
Applications Claiming Priority (1)
| Application Number | Priority Date | Filing Date | Title |
|---|---|---|---|
| CN202222958396.3U CN218713734U (en) | 2022-11-07 | 2022-11-07 | Ground assembled drainage device |
Publications (1)
| Publication Number | Publication Date |
|---|---|
| CN218713734U true CN218713734U (en) | 2023-03-24 |
Family
ID=85608245
Family Applications (1)
| Application Number | Title | Priority Date | Filing Date |
|---|---|---|---|
| CN202222958396.3U Active CN218713734U (en) | 2022-11-07 | 2022-11-07 | Ground assembled drainage device |
Country Status (1)
| Country | Link |
|---|---|
| CN (1) | CN218713734U (en) |
-
2022
- 2022-11-07 CN CN202222958396.3U patent/CN218713734U/en active Active
Similar Documents
| Publication | Publication Date | Title |
|---|---|---|
| CN110805022A (en) | A kind of mud solidification treatment device and method for electroosmosis well point and well point dewatering | |
| CN211446950U (en) | Foundation pit supporting structure convenient to drainage | |
| CN201330400Y (en) | Lapping type combined steel plate cofferdam | |
| CN207268009U (en) | A drainage system of underground comprehensive pipe gallery based on the existing sewage channel | |
| CN218713734U (en) | Ground assembled drainage device | |
| CN205259214U (en) | Assembled rainwater storage tank constructed by sinking method | |
| CN220133983U (en) | A pouring device suitable for reverse method well wall-mounted concrete | |
| CN216839469U (en) | Municipal administration pipeline foundation ditch protective structure | |
| CN207469303U (en) | A kind of removable assembled template peace tears operating system open | |
| CN207143746U (en) | Support beam template system under concrete support trestle plate | |
| CN116607558A (en) | Prefabricated assembled foundation of main transformer equipment of transformer substation and construction method of prefabricated assembled foundation | |
| CN218713735U (en) | Assembled drainage device of side slope of road bed | |
| CN211735347U (en) | Mud solidification treatment device for electroosmosis well point and well point dewatering | |
| CN207392235U (en) | Construction template of circular pipe culvert in urban underground comprehensive pipe gallery | |
| CN211773883U (en) | Underground pipeline with integrated supporting piles and pipeline wall | |
| CN108457365A (en) | A kind of stealthy drainage pumping stations of rapid construction | |
| CN209468705U (en) | A kind of structure for repairing culvert using corrugated steel construction rapid reinforcement | |
| CN207176764U (en) | End head formwork fixes rubber water-proof band structure | |
| CN218508262U (en) | Corrugated steel structure culvert entrance to a cave | |
| CN221167296U (en) | High permeability prefabricated light steel skeleton sidewalk construction device | |
| CN214939097U (en) | Road pavement repairing structure | |
| CN115559245B (en) | Road construction isolation belt and construction method | |
| CN221742291U (en) | Movable fence applied to old road transformation | |
| CN222069437U (en) | Self-cleaning heat exchange flange energy pile system | |
| CN221675228U (en) | Municipal pipeline cleaning device |
Legal Events
| Date | Code | Title | Description |
|---|---|---|---|
| GR01 | Patent grant | ||
| GR01 | Patent grant |
