CN218710442U - Fermentation equipment for batch production of D-psicose - Google Patents
Fermentation equipment for batch production of D-psicose Download PDFInfo
- Publication number
- CN218710442U CN218710442U CN202222894490.7U CN202222894490U CN218710442U CN 218710442 U CN218710442 U CN 218710442U CN 202222894490 U CN202222894490 U CN 202222894490U CN 218710442 U CN218710442 U CN 218710442U
- Authority
- CN
- China
- Prior art keywords
- fermentation
- fermentation cylinder
- plate
- sampling
- cylinder
- Prior art date
- Legal status (The legal status is an assumption and is not a legal conclusion. Google has not performed a legal analysis and makes no representation as to the accuracy of the status listed.)
- Active
Links
Images
Landscapes
- Apparatus Associated With Microorganisms And Enzymes (AREA)
Abstract
本实用新型涉及D‑阿洛酮糖生产设备技术领域,且公开了一种用于D‑阿洛酮糖批量化生产的发酵设备,包括发酵筒和密封套,所述发酵筒下部的一侧安装有第二紧固螺栓,所述第二紧固螺栓的内侧活动套接有限定板。该用于D‑阿洛酮糖批量化生产的发酵设备,通过转动第二紧固螺栓,第二紧固螺栓从发酵筒的内部旋转取出后,可将限定板从发酵筒的下部取出,同时转动取样板,取样板内部开设的取样槽与密封套之间形成开口,同时发酵筒内部的发酵物流通至密封套的内部,同时将取样板向下抽出,同时密封套暴露在外侧,且取样板的上部对发酵筒的内部进行堵塞,从而需要对发酵筒内部发酵物发酵效果进行观察时,增加发酵筒内部的密封性。
The utility model relates to the technical field of D-psicose production equipment, and discloses a fermentation equipment for batch production of D-psicose, comprising a fermentation cylinder and a sealing sleeve, and one side of the lower part of the fermentation cylinder is A second fastening bolt is installed, and the inner side of the second fastening bolt is movably sleeved with a limiting plate. In the fermentation equipment for mass production of D-psicose, by turning the second fastening bolt, after the second fastening bolt is rotated and taken out from the inside of the fermentation cylinder, the limiting plate can be taken out from the lower part of the fermentation cylinder, and at the same time Rotate the sampling plate, an opening is formed between the sampling tank inside the sampling plate and the sealing sleeve, and at the same time, the fermentation flow inside the fermentation cylinder flows into the inside of the sealing sleeve, and at the same time, the sampling plate is pulled out downwards, and the sealing sleeve is exposed to the outside, and the The upper part of the sample plate blocks the inside of the fermentation cylinder, so that when it is necessary to observe the fermentation effect of the fermented product inside the fermentation cylinder, the sealing performance of the inside of the fermentation cylinder is increased.
Description
技术领域technical field
本实用新型涉及D-阿洛酮糖生产设备技术领域,具体为一种用于D-阿洛酮糖批量化生产的发酵设备。The utility model relates to the technical field of D-psicose production equipment, in particular to a fermentation equipment for batch production of D-psicose.
背景技术Background technique
D-阿洛酮糖,英文名D-Allulose,分子量180.16,是糖类的一种。在生产D-阿洛酮糖时,首先需要发酵产酶,为了增加发酵效果,研发出一种用于D-阿洛酮糖批量化生产的发酵设备。D-Allulose, English name D-Allulose, molecular weight 180.16, is a kind of sugar. When producing D-psicose, enzymes need to be fermented first. In order to increase the fermentation effect, a fermentation equipment for mass production of D-psicose has been developed.
在现有的用于D-阿洛酮糖批量化生产的发酵设备中,发酵物在发酵过程中,需要保持温度适宜的状态,同时发酵物为了避免空气中的细菌对发酵物造成感染,发酵物会在一个密封罐的内部进行发酵处理,但发酵过程中无法对发酵物的发酵效果进行观察和评判,需要经验丰富的工作人员才能精准的对发酵过程进行评判和把控,往往导致在D-阿洛酮糖批量生产过程中,工作人员对发酵物的发酵效果考察不充分的问题,提前或延长发酵时间会直接影响发酵品质。In the existing fermentation equipment for mass production of D-psicose, the fermented product needs to be kept at a suitable temperature during the fermentation process. The food will be fermented inside a sealed tank, but the fermentation effect of the fermented product cannot be observed and judged during the fermentation process. Experienced staff are needed to accurately judge and control the fermentation process, which often leads to - During the mass production of allulose, the staff did not fully investigate the fermentation effect of the fermented product, and advancing or prolonging the fermentation time will directly affect the fermentation quality.
实用新型内容Utility model content
针对现有用于D-阿洛酮糖批量化生产的发酵设备的不足,本实用新型提供了一种用于D-阿洛酮糖批量化生产的发酵设备,具备通过松动第二紧固螺栓,第二紧固螺栓带动取样板从密封套的内部取出,且取样板向下移动过程中,转动取样板,发酵物可经过密封套输送至取样槽的内部,并取样板向下移动时,发酵物可从取样板的内部向下取出,并在对发酵物进行检测时增加发酵筒内部密封性的优点,解决了上述背景技术中提出的问题。Aiming at the shortcomings of the existing fermentation equipment used for the mass production of D-psicose, the utility model provides a fermentation equipment for the mass production of D-psicose, which has the ability to loosen the second fastening bolt, The second fastening bolt drives the sampling plate to be taken out from the inside of the sealing sleeve, and during the downward movement of the sampling plate, when the sampling plate is rotated, the fermented product can be transported to the inside of the sampling tank through the sealing sleeve, and when the sampling plate moves downward, the fermentation The material can be taken out from the inside of the sampling plate downwards, and the advantages of the internal sealing of the fermentation cylinder are increased when the fermented material is detected, which solves the problems raised in the above-mentioned background technology.
本实用新型提供如下技术方案:一种用于D-阿洛酮糖批量化生产的发酵设备,包括发酵筒和密封套,所述发酵筒下部的一侧安装有第二紧固螺栓,所述第二紧固螺栓的内侧活动套接有限定板,所述限定板的中部活动套接有取样板,所述密封套的上部活动套接有转动杆,所述取样板的外侧活动套接有密封套,所述取样板的内部开设有取样槽,所述转动杆下部的一侧活动套接有连接杆,所述连接杆的下部固定连接有过滤挡板,所述过滤挡板的下部安装有支撑限定销。The utility model provides the following technical scheme: a fermentation equipment for batch production of D-psicose, comprising a fermentation cylinder and a sealing sleeve, a second fastening bolt is installed on one side of the lower part of the fermentation cylinder, the The inner side of the second fastening bolt is movably socketed with a limiting plate, the middle part of the limiting plate is movably socketed with a sampling plate, the upper part of the sealing sleeve is movably socketed with a rotating rod, and the outer side of the sampling plate is movably socketed with a A sealing sleeve, the inside of the sampling plate is provided with a sampling groove, one side of the lower part of the rotating rod is movably socketed with a connecting rod, the lower part of the connecting rod is fixedly connected with a filter baffle, and the lower part of the filter baffle is installed With a support pin.
优选的,所述发酵筒的外侧固定连接有定位杆,所述定位杆的外部活动套接有角度调节支撑板,所述定位杆下部的外侧固定连接有第一紧固螺栓,所述角度调节支撑板的下部安装在地面上,所述角度调节支撑板的外部开设有弧形滑槽,通过推出发酵筒的下部,发酵筒带动第一紧固螺栓在角度调节支撑板内部开设凹槽的内部进行移动,并对发酵筒整体倾角进行调节,方便将发酵筒内部的物料取出。Preferably, the outer side of the fermentation cylinder is fixedly connected with a positioning rod, and the outer movable sleeve of the positioning rod is connected with an angle adjustment support plate, and the outer side of the lower part of the positioning rod is fixedly connected with a first fastening bolt, and the angle adjustment The lower part of the support plate is installed on the ground, and an arc-shaped chute is provided on the outside of the angle-adjusting support plate. By pushing out the lower part of the fermentation cylinder, the fermentation cylinder drives the first fastening bolt to open a groove inside the angle-adjustment support plate. Move and adjust the overall inclination of the fermentation cylinder to facilitate the removal of the materials inside the fermentation cylinder.
优选的,所述发酵筒下部的外侧固定连接有限定夹套,所述限定夹套的内侧活动套接有密封板,所述发酵筒下部的外侧开设有出水孔,所述密封板在限定夹套的内部存在活动空间,通过转动密封板,密封板带动发酵筒下部的开口暴露在外侧,并开口将发酵罐内部多余的液体排出。Preferably, the outer side of the lower part of the fermenting cylinder is fixedly connected with a limiting jacket, and the inner side of the limiting jacket is movably sleeved with a sealing plate, and the outer side of the lower part of the fermenting cylinder is provided with a water outlet hole, and the sealing plate is in the limiting clamp. There is an activity space inside the sleeve, and by rotating the sealing plate, the sealing plate drives the opening of the lower part of the fermentation cylinder to be exposed to the outside, and the opening discharges excess liquid inside the fermentation tank.
优选的,所述转动杆的外侧固连接有搅拌杆,所述转动杆上部的外侧活动套接有上密封盖,所述上密封盖的外侧固定连接有发酵效果控制器,所述搅拌杆紧贴发酵筒的内部,所述发酵效果控制器在上密封盖上部的两侧各安装有一个,所述发酵效果控制器内部分别安装有温度控制器和湿度控制器,通过控制发酵效果控制器分别对发酵筒内部的温度和湿度进行调控,增加物料发酵效果,同时启动转动杆上部安装的电机,可带动搅拌杆混合搅拌处理。Preferably, the outer side of the rotating rod is fixedly connected with a stirring rod, and the outer side of the upper part of the rotating rod is movably socketed with an upper sealing cover, and the outer side of the upper sealing cover is fixedly connected with a fermentation effect controller, and the stirring rod is tightly Paste the inside of the fermentation cylinder, the fermentation effect controller is installed on both sides of the upper sealing cover, the temperature controller and the humidity controller are respectively installed inside the fermentation effect controller, by controlling the fermentation effect controller respectively The temperature and humidity inside the fermentation cylinder are adjusted to increase the fermentation effect of the material, and at the same time, the motor installed on the upper part of the rotating rod is started to drive the stirring rod for mixing and stirring.
优选的,所述密封套的下部固定连接在发酵筒的内部,所述取样板的外部开设有凹槽,所述凹槽与取样槽的内部相互连通,所述第二紧固螺栓穿过限定板同时螺纹限定在发酵筒下部的内部,通过转动取样板,带动取样槽对发酵筒内部的发酵物填充,同时取样板取出,取样板的上部持续对发酵筒的内部进行密封性,并可将发酵物取出并进行检验,增加发酵效果。Preferably, the lower part of the sealing sleeve is fixedly connected to the inside of the fermenter, the outside of the sampling plate is provided with a groove, the groove communicates with the inside of the sampling tank, and the second fastening bolt passes through the defined At the same time, the thread of the plate is limited to the inside of the lower part of the fermentation cylinder. By rotating the sampling plate, the sampling tank is driven to fill the fermentation product inside the fermentation cylinder. At the same time, the sampling plate is taken out. The fermented product is taken out and inspected to increase the fermentation effect.
优选的,所述支撑限定销的下部活动套接在发酵筒的底部,所述过滤挡板紧贴密封套的外壁,所述过滤挡板的内部开设有出水孔,后期对装置进行清洗时,过滤挡板可随着转动杆取出,过滤挡板随带者一起取出,增加发酵筒内部零件清理时增加便捷性。Preferably, the lower part of the support limiting pin is movably socketed on the bottom of the fermentation cylinder, the filter baffle is close to the outer wall of the sealing sleeve, and a water outlet hole is opened inside the filter baffle, and when the device is cleaned later, The filter baffle can be taken out with the rotating rod, and the filter baffle can be taken out together with the person who carries it, which increases the convenience of cleaning the internal parts of the fermentation cylinder.
与现有用于D-阿洛酮糖批量化生产的发酵设备对比,本实用新型具备以下有益效果:Compared with the existing fermentation equipment used for batch production of D-psicose, the utility model has the following beneficial effects:
1、该用于D-阿洛酮糖批量化生产的发酵设备,通过过滤挡板的下部安装有支撑限定销,支撑限定销活动套接在发酵筒的底座,支撑限定销对过滤挡板的位置进行限定,同时过滤挡板与发酵筒的内部形成开口,并当转动杆旋转时,连接杆可围绕转动杆的下部转动,即转动杆转动时,不对连接杆造成干扰,且过滤挡板对物料进行支撑,且过滤挡板的下部形成开口,方便发酵物内部多余的液体进行流通,并后期对装置进行清洗时,过滤挡板可随着转动杆取出,过滤挡板随带者一起取出,增加发酵筒内部零件清理时增加便捷性。1. The fermentation equipment used for mass production of D-psicose is equipped with a support limiting pin through the lower part of the filter baffle. The position is limited, and at the same time, the filter baffle forms an opening with the inside of the fermentation cylinder, and when the rotating rod rotates, the connecting rod can rotate around the lower part of the rotating rod, that is, when the rotating rod rotates, it will not interfere with the connecting rod, and the filtering baffle will The material is supported, and the lower part of the filter baffle forms an opening to facilitate the circulation of excess liquid inside the fermented product, and when the device is cleaned later, the filter baffle can be taken out with the rotating rod, and the filter baffle can be taken out together with the belt, increasing Increase the convenience when cleaning the internal parts of the fermenter.
2、该用于D-阿洛酮糖批量化生产的发酵设备,通过转动第二紧固螺栓,第二紧固螺栓从发酵筒的内部旋转取出后,可将限定板从发酵筒的下部取出,同时转动取样板,取样板内部开设的取样槽与密封套之间形成开口,同时发酵筒内部的发酵物流通至密封套的内部,同时将取样板向下抽出,同时密封套暴露在外侧,且取样板的上部对发酵筒的内部进行堵塞,从而需要对发酵筒内部发酵物发酵效果观察时,增加发酵筒内部的密封性。2. The fermentation equipment used for mass production of D-psicose, by turning the second fastening bolt, after the second fastening bolt is rotated and taken out from the inside of the fermentation cylinder, the limiting plate can be taken out from the lower part of the fermentation cylinder , while rotating the sampling plate, an opening is formed between the sampling tank inside the sampling plate and the sealing sleeve, and at the same time, the fermentation flow inside the fermentation cylinder flows into the inside of the sealing sleeve, and at the same time the sampling plate is pulled out downwards, and the sealing sleeve is exposed to the outside. And the upper part of the sampling plate blocks the interior of the fermentation cylinder, so when it is necessary to observe the fermentation effect of the fermented product inside the fermentation cylinder, the sealing of the interior of the fermentation cylinder is increased.
附图说明Description of drawings
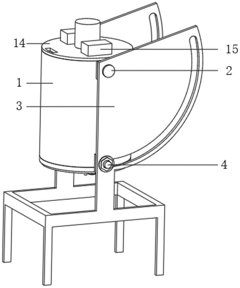
图1为本实用新型主体结构示意图;Fig. 1 is a schematic diagram of the main structure of the utility model;
图2为本实用新型主体缺少外框架仰视结构示意图;Fig. 2 is a structural schematic diagram looking up from the main body of the utility model lacking an outer frame;
图3为本实用新型内部混合装置局部放大结构示意图;Fig. 3 is a schematic diagram of a partially enlarged structure of the internal mixing device of the present utility model;
图4为本实用新型主体剖视结构示意图;Fig. 4 is the schematic diagram of the sectional structure of the main body of the utility model;
图5为本实用新型A处放大结构示意图。Fig. 5 is a schematic diagram of an enlarged structure at A of the utility model.
图中:1、发酵筒;2、定位杆;3、角度调节支撑板;4、第一紧固螺栓;5、限定夹套;6、密封板;7、第二紧固螺栓;8、限定板;9、取样板;10、密封套;11、取样槽;12、转动杆;13、搅拌杆;14、上密封盖;15、发酵效果控制器;16、连接杆;17、过滤挡板;18、支撑限定销。In the figure: 1, fermentation cylinder; 2, positioning rod; 3, angle adjustment support plate; 4, first fastening bolt; 5, limiting jacket; 6, sealing plate; 7, second fastening bolt; 8, limiting Plate; 9, sampling plate; 10, sealing sleeve; 11, sampling tank; 12, rotating rod; 13, stirring rod; 14, upper sealing cover; 15, fermentation effect controller; 16, connecting rod; 17, filter baffle ; 18, support limit pin.
具体实施方式Detailed ways
下面将结合本实用新型实施例中的附图,对本实用新型实施例中的技术方案进行清楚、完整地描述,显然,所描述的实施例仅仅是本实用新型一部分实施例,而不是全部的实施例。基于本实用新型中的实施例,本领域普通技术人员在没有做出创造性劳动前提下所获得的所有其他实施例,都属于本实用新型保护的范围。The technical solutions in the embodiments of the present invention will be clearly and completely described below in conjunction with the accompanying drawings in the embodiments of the present invention. Obviously, the described embodiments are only part of the embodiments of the present invention, not all of them. example. Based on the embodiments of the present utility model, all other embodiments obtained by persons of ordinary skill in the art without making creative efforts belong to the scope of protection of the present utility model.
请参阅图1、图2、图3、图4和图5,一种用于D-阿洛酮糖批量化生产的发酵设备,包括发酵筒1和密封套10,发酵筒1下部的一侧安装有第二紧固螺栓7,第二紧固螺栓7对限定板8与发酵筒1之间的位置进行限定,第二紧固螺栓7的内侧活动套接有限定板8,限定板8的中部活动套接有取样板9,取样板9对密封套10的内部进行密封,密封套10的上部活动套接有转动杆12,转动杆12,转动可对发酵筒1内部的物料进行混合,取样板9的外侧活动套接有密封套10,取样板9的内部开设有取样槽11,取样槽11带动检验样本取出,转动杆12下部的一侧活动套接有连接杆16,连接杆16对过滤挡板17的位置进行支撑,连接杆16的下部固定连接有过滤挡板17,过滤挡板17带动发酵物内部多余的液体进行排除,过滤挡板17的下部安装有支撑限定销18,支撑限定销18对过滤挡板17的位置进行支撑限定。Please refer to Fig. 1, Fig. 2, Fig. 3, Fig. 4 and Fig. 5, a kind of fermentation equipment for batch production of D-psicose, including
参考图1,发酵筒1的外侧固定连接有定位杆2,定位杆2的外部活动套接有角度调节支撑板3,定位杆2下部的外侧固定连接有第一紧固螺栓4,角度调节支撑板3的下部安装在地面上,角度调节支撑板3的外部开设有弧形滑槽,通过角度调节支撑板3安装在地面上,同时定位杆2紧贴发酵筒1上部的外侧,定位杆2对发酵筒1的位置进行限定,当需要对发酵物进行拿取时,推动发酵筒1的下部,并第一紧固螺栓4在角度调节支撑板3外侧开设滑槽的内部移动,发酵筒1的后端翘起,并发酵筒1内部的物料可从发酵筒1的内部向外侧排出,从而在批量生产D-阿洛酮糖时可快速带动发酵后的物料取出。Referring to Fig. 1, the outer side of the
参考图2,发酵筒1下部的外侧固定连接有限定夹套5,限定夹套5的内侧活动套接有密封板6,发酵筒1下部的外侧开设有出水孔,密封板6在限定夹套5的内部存在活动空间,通过转动密封板6,密封板6在限定夹套5的内部转动,并密封板6旋转时,发酵筒1下部开设的小孔露出,并发酵筒1内部多余的液体可经过小孔排出。Referring to Fig. 2, the outer side of the lower part of the
参考图3和图4,转动杆12的外侧固连接有搅拌杆13,转动杆12上部的外侧活动套接有上密封盖14,上密封盖14的外侧固定连接有发酵效果控制器15,搅拌杆13紧贴发酵筒1的内部,发酵效果控制器15在上密封盖14上部的两侧各安装有一个,发酵效果控制器15内部分别安装有温度控制器和湿度控制器,BWD-3K130A干式变压器电脑温控仪温度控制器,湿度控制器为亚特克TH135湿度控制器,通过启动转动杆12,转动杆12带动搅拌杆13旋转,搅拌杆13带动发酵筒1内部的发酵物进行混合搅拌处理,同时上密封盖14安装在发酵筒1的上部,上密封盖14对发酵筒1的上部进行密封,同时上密封盖14的外侧安装有发酵效果控制器15,两个发酵效果控制器15分别对发酵筒1内部的温度和湿度进行调控,增加物料发酵效果。With reference to Fig. 3 and Fig. 4, the outer side of rotating
参考图2和图5,密封套10的下部固定连接在发酵筒1的内部,取样板9的外部开设有凹槽,凹槽与取样槽11的内部相互连通,第二紧固螺栓7穿过限定板8同时螺纹限定在发酵筒1下部的内部,通过转动第二紧固螺栓7,第二紧固螺栓7带动限定板8减小限定,并限定板8从发酵筒1的下部取出,同时转动取样板9,取样板9内部开设的取样槽11与密封套10之间形成开口,同时发酵筒1内部的发酵物流通至密封套10的内部,同时将取样板9向下抽出,同时密封套10暴露在外侧,且取样板9的上部对发酵筒1的内部进行堵塞,从而需要对发酵筒1内部发酵物发酵效果观察时,增加发酵筒1内部的密封性,同时当发酵物发酵不充分时,可推动取样板9向下移动,并取样板9持续对密封套10的内部密封限定处理。Referring to Fig. 2 and Fig. 5, the lower part of the
参考图3,支撑限定销18的下部活动套接在发酵筒1的底部,过滤挡板17紧贴密封套10的外壁,过滤挡板17的内部开设有出水孔,通过过滤挡板17的下部安装有支撑限定销18,支撑限定销18活动套接在发酵筒1的底座,支撑限定销18对过滤挡板17的位置进行限定,同时过滤挡板17与发酵筒1的内部形成开口,并当转动杆12旋转时,连接杆16可围绕转动杆12的下部转动,即转动杆12转动时,不对连接杆16造成干扰,且过滤挡板17对物料进行支撑,且过滤挡板17的下部形成开口,方便发酵物内部多余的液体进行流通,并后期对装置进行清洗时,过滤挡板17可随着转动杆12取出,过滤挡板17随带者一起取出,增加发酵筒1内部零件清理时增加便捷性。With reference to Fig. 3, the lower part of the
工作原理:使用时,将发酵筒1的内部填充发酵物,并上密封盖14对发酵筒1的上部进行密封,同时发酵效果控制器15对发酵物发酵环境进行调节,当发酵物内部液体含量过多时,液体经过过滤挡板17流通至发酵筒1的内部,同时启动转动杆12上部安装的电机,电机带动转动杆12转动,并搅拌杆13对发酵物进行混合处理,同时转动密封板6,密封板6带动发酵筒1内部的多余的液体排出,同时发酵中需要对发酵筒1内部发酵物发酵效果进行观察时,松动第二紧固螺栓7,并带动取样板9向下移动,同时转动取样板9内部开设的取样槽11与密封套10外侧开设的凹槽相互连通,同时凹槽带动发酵物流通至取样槽11的内部,同时抽出取样板9,取样板9带动取样槽11暴露在发酵筒1的外部,并取样板9的上部持续对密封套10的内部进行堵塞,至此在带动发酵物发酵效果进行观察时,可避免发酵物与室外空气接触,导致对发酵物造成损坏的问题,同时发酵结束后,推动发酵筒1的下部翻转,并第一紧固螺栓4在角度调节支撑板3外侧开设滑槽的内部移动,即发酵筒1的上部倾斜,从而快速带动发酵物从发酵筒1内部取出的作用。Working principle: when in use, the interior of the
尽管已经示出和描述了本实用新型的实施例,对于本领域的普通技术人员而言,可以理解在不脱离本实用新型的原理和精神的情况下可以对这些实施例进行多种变化、修改、替换和变型,本实用新型的范围由所附权利要求及其等同物限定。Although the embodiments of the present invention have been shown and described, those skilled in the art can understand that various changes and modifications can be made to these embodiments without departing from the principle and spirit of the present invention , replacements and modifications, the scope of the present utility model is defined by the appended claims and their equivalents.
Claims (6)
Priority Applications (1)
| Application Number | Priority Date | Filing Date | Title |
|---|---|---|---|
| CN202222894490.7U CN218710442U (en) | 2022-11-01 | 2022-11-01 | Fermentation equipment for batch production of D-psicose |
Applications Claiming Priority (1)
| Application Number | Priority Date | Filing Date | Title |
|---|---|---|---|
| CN202222894490.7U CN218710442U (en) | 2022-11-01 | 2022-11-01 | Fermentation equipment for batch production of D-psicose |
Publications (1)
| Publication Number | Publication Date |
|---|---|
| CN218710442U true CN218710442U (en) | 2023-03-24 |
Family
ID=85597244
Family Applications (1)
| Application Number | Title | Priority Date | Filing Date |
|---|---|---|---|
| CN202222894490.7U Active CN218710442U (en) | 2022-11-01 | 2022-11-01 | Fermentation equipment for batch production of D-psicose |
Country Status (1)
| Country | Link |
|---|---|
| CN (1) | CN218710442U (en) |
-
2022
- 2022-11-01 CN CN202222894490.7U patent/CN218710442U/en active Active
Similar Documents
| Publication | Publication Date | Title |
|---|---|---|
| CN117603794A (en) | Fermentation device and fermentation method for manufacturing canned prefabricated food | |
| CN218710442U (en) | Fermentation equipment for batch production of D-psicose | |
| CN220703609U (en) | Beer fermentation device | |
| CN219032129U (en) | Fermentation device for producing red sour soup | |
| CN223522485U (en) | Yellow water collecting equipment used during brewing of Luzhou-flavor liquor | |
| CN215975837U (en) | Fermenting installation is used in compound feed production convenient to accuse temperature | |
| CN221165014U (en) | Insulation can for fermentation of chilli sauce | |
| CN116036934A (en) | A liquid dispensing tank for the production of liquor | |
| CN223373065U (en) | A foie gras processing and fermentation device | |
| CN220284023U (en) | Vinegar unstrained spirits stirring device for edible vinegar processing | |
| CN222411507U (en) | Fermentation equipment is used in edible vinegar production | |
| CN208639459U (en) | A kind of hamburger divider feeding device | |
| CN221332871U (en) | Device for continuously decoloring powdered activated carbon | |
| CN223772947U (en) | Cake crust fermenting installation of soft walnut cake processing | |
| CN215627923U (en) | A kind of automatic stirring biological fermentation tank | |
| CN214654987U (en) | Solid state fermentation test system | |
| CN222331891U (en) | Fermenting installation is used in fodder production | |
| CN219670504U (en) | Natural yeast preparation facilities is used to cake | |
| CN218559870U (en) | Chemical processing auxiliary agent unloading storage device | |
| CN219546975U (en) | Fermentation device for concentrated pig feed production raw materials | |
| CN222024331U (en) | Grape wine fermentation tank convenient for peel filtration | |
| CN219559374U (en) | Stirring device for bamboo salt processing | |
| CN218561426U (en) | A fermenter for edible fungi | |
| CN219259998U (en) | Microorganism draws fermentation cylinder | |
| CN222043161U (en) | Carbon dioxide adjusting device for traditional Chinese medicine fermentation processing |
Legal Events
| Date | Code | Title | Description |
|---|---|---|---|
| GR01 | Patent grant | ||
| GR01 | Patent grant |
