CN218700717U - 一种发泡机用简易搅拌装置 - Google Patents
一种发泡机用简易搅拌装置 Download PDFInfo
- Publication number
- CN218700717U CN218700717U CN202223003645.XU CN202223003645U CN218700717U CN 218700717 U CN218700717 U CN 218700717U CN 202223003645 U CN202223003645 U CN 202223003645U CN 218700717 U CN218700717 U CN 218700717U
- Authority
- CN
- China
- Prior art keywords
- stirring
- fixedly connected
- foaming machine
- tank
- foam
- Prior art date
- Legal status (The legal status is an assumption and is not a legal conclusion. Google has not performed a legal analysis and makes no representation as to the accuracy of the status listed.)
- Expired - Fee Related
Links
- 238000003756 stirring Methods 0.000 title claims abstract description 104
- 238000005187 foaming Methods 0.000 title claims abstract description 55
- XLYOFNOQVPJJNP-UHFFFAOYSA-N water Substances O XLYOFNOQVPJJNP-UHFFFAOYSA-N 0.000 claims abstract description 39
- 239000006260 foam Substances 0.000 claims abstract description 30
- 238000004140 cleaning Methods 0.000 claims abstract description 10
- 238000009434 installation Methods 0.000 claims abstract description 10
- 230000000087 stabilizing effect Effects 0.000 claims description 15
- 238000007789 sealing Methods 0.000 claims description 13
- 238000011010 flushing procedure Methods 0.000 claims description 10
- 239000006058 strengthened glass Substances 0.000 claims description 4
- 238000000034 method Methods 0.000 abstract description 5
- 239000000243 solution Substances 0.000 description 4
- 238000010586 diagram Methods 0.000 description 3
- 239000007864 aqueous solution Substances 0.000 description 2
- 239000004088 foaming agent Substances 0.000 description 2
- 238000012986 modification Methods 0.000 description 2
- 230000004048 modification Effects 0.000 description 2
- 239000002994 raw material Substances 0.000 description 2
- 230000009286 beneficial effect Effects 0.000 description 1
- 238000007664 blowing Methods 0.000 description 1
- 230000000694 effects Effects 0.000 description 1
- 238000005516 engineering process Methods 0.000 description 1
- 230000014509 gene expression Effects 0.000 description 1
- 239000011521 glass Substances 0.000 description 1
- 238000004519 manufacturing process Methods 0.000 description 1
- 239000000203 mixture Substances 0.000 description 1
- 229920002635 polyurethane Polymers 0.000 description 1
- 239000004814 polyurethane Substances 0.000 description 1
- 239000007921 spray Substances 0.000 description 1
- 238000005728 strengthening Methods 0.000 description 1
- 238000005406 washing Methods 0.000 description 1
Images
Landscapes
- Mixers Of The Rotary Stirring Type (AREA)
Abstract
本实用新型涉及一种发泡机用简易搅拌装置,包括发泡机搅拌罐,发泡机搅拌罐的内部设置有搅拌机构,发泡机搅拌罐顶部的两端均设置有冲洗机构,通过往复电机、升降螺杆、导水管和集水箱,待泡沫搅拌完成且排出后,需要对发泡机搅拌罐内部的进行清洗时,启动往复电机使之转动,进而带动升降螺杆转动,进入带动升降块沿着竖直方向向下移动,进而带动安装环、导水管、集水箱和清洗喷头向下移动,软管外接水泵,水泵为现有技术,在图中未画出,水泵将水源泵入导水管和集水箱,最后从清洗喷头喷出对发泡机搅拌罐的内部进行彻底和充分地冲洗,避免泡沫残留,保证下一次泡沫搅拌过程的正常进行,保证泡沫产品的质量,设计实用性得以提升。
Description
技术领域
本实用新型涉及发泡机技术领域,特别是涉及一种发泡机用简易搅拌装置。
背景技术
发泡机,又名泡沫发生器,是一种将发泡剂达到一定浓度的水溶液制成泡沫设备,发泡剂本身是不能自动成为泡沫,必须通过发泡机的机械作用才能成为泡沫,发泡机中需要搅拌装置对水溶液进行搅拌便于生产泡沫。
经检索,中国专利公开号为CN210336652U的专利,公开了一种聚氨酯发泡机用高效搅拌装置,包括壳体和安装在壳体内的搅拌器,所述壳体为柱形中空结构,壳体的上端面居中安装有搅拌电机,底端面居中设置有出料口,搅拌器包括搅拌轴、搅拌主杆、搅拌支杆、搅拌竖杆和搅拌底杆,所述搅拌电机对称两侧面的壳体上端面还设有进料口,搅拌电机的机轴穿过壳体与搅拌轴同轴固定连接。
上述专利中的装置虽然通过形成向下的吹风,将产生的泡沫向下吹动,更加气泡更加充分的进入到原料中,混合的更加均匀,但是在泡沫在搅拌完成且排出后,无法对壳体的内部进行充分和彻底的冲洗,导致泡沫残留,影响下一次的泡沫搅拌过程,影响泡沫产品的质量,设计实用性不足。
实用新型内容
本实用新型提供了一种发泡机用简易搅拌装置,解决了现有技术中的技术问题。
本实用新型解决上述技术问题的方案如下:一种发泡机用简易搅拌装置,包括发泡机搅拌罐,所述发泡机搅拌罐的内部设置有搅拌机构,所述发泡机搅拌罐顶部的两端均设置有冲洗机构,所述冲洗机构的一侧设置有封盖机构,所述冲洗机构包括往复电机,所述往复电机的输出端固定连接有升降螺杆,所述升降螺杆的表面螺纹连接有升降块,所述升降块的一侧固定连接有第一连接杆,所述第一连接杆的一端固定连接有安装环,所述安装环的内部通过多个固定螺栓固定连接有导水管,所述导水管的顶端固定连通有软管,所述导水管的底端固定连通有集水箱,所述集水箱的表面固定连通有多个清洗喷头,所述集水箱的底部固定连接有密封板,所述发泡机搅拌罐顶部的两端均开设有安装孔,所述安装孔与密封板卡合连接。
在上述技术方案的基础上,本实用新型还可以做如下改进。
进一步,所述搅拌机构包括伺服电机,所述伺服电机的顶端与发泡机搅拌罐顶部的中心固定连接,所述伺服电机的输出端穿过发泡机搅拌罐固定连接有搅拌轴,所述搅拌轴的表面固定连接有多个均匀分布的搅拌杆,所述搅拌杆的顶部和底部均固定连接有多个搅拌板,所述搅拌轴的底端与发泡机搅拌罐内壁的底部转动连接。
进一步,所述安装环的一侧固定连接有第二连接杆,所述第二连接杆的一端固定连接有稳固环,所述发泡机搅拌罐顶部的内圈固定连接有两个稳固杆,所述稳固环与稳固杆滑动连接。
进一步,所述第一连接杆和第二连接杆的顶部开设有穿孔,所述封盖机构包括两个定向杆,所述定向杆与穿孔滑动连接,两个所述定向杆的底端固定连接有同一个密封环,所述密封环的内壁与导水管的表面接触,所述定向杆的表面套设有伸缩弹簧。
进一步,所述搅拌板的一侧开设有多个通孔。
进一步,所述发泡机搅拌罐顶部的外圈固定连接有两个L形固定板,所述L形固定板内侧的顶端与升降螺杆的顶端转动连接。
进一步,所述升降块的另一侧固定连接有滑块,所述滑块的一侧与L形固定板内壁的一侧接触。
进一步,所述发泡机搅拌罐的一端固定连接有强化玻璃板。
本实用新型的有益效果是:本实用新型提供了一种发泡机用简易搅拌装置,具有以下优点:
通过往复电机、升降螺杆、导水管和集水箱,待泡沫搅拌完成且排出后,需要对发泡机搅拌罐内部的进行清洗时,启动往复电机使之转动,进而带动升降螺杆转动,进入带动升降块沿着竖直方向向下移动,进而带动安装环、导水管、集水箱和清洗喷头向下移动,软管外接水泵,水泵为现有技术,在图中未画出,水泵将水源泵入导水管和集水箱,最后从清洗喷头喷出对发泡机搅拌罐的内部进行彻底和充分地冲洗,避免泡沫残留,保证下一次泡沫搅拌过程的正常进行,保证泡沫产品的质量,设计实用性得以提升。
上述说明仅是本实用新型技术方案的概述,为了能够更清楚了解本实用新型的技术手段,并可依照说明书的内容予以实施,以下以本实用新型的较佳实施例并配合附图详细说明如后。本实用新型的具体实施方式由以下实施例及其附图详细给出。
附图说明
此处所说明的附图用来提供对本实用新型的进一步理解,构成本申请的一部分,本实用新型的示意性实施例及其说明用于解释本实用新型,并不构成对本实用新型的不当限定。在附图中:
图1为本实用新型提供的一种发泡机用简易搅拌装置的剖视结构示意图;
图2为本实用新型提供的一种发泡机用简易搅拌装置的正视结构示意图;
图3为图1提供的一种发泡机用简易搅拌装置中局部A的放大结构示意图
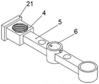
图4为图1提供的一种发泡机用简易搅拌装置中升降块、第一连接杆与安装环的连接结构示意图;
附图中,各标号所代表的部件列表如下:
1、发泡机搅拌罐;2、往复电机;3、升降螺杆;4、升降块;5、第一连接杆;6、安装环;7、导水管;8、软管;9、集水箱;10、清洗喷头;11、密封板;12、伺服电机;13、搅拌轴;14、通孔;15、搅拌板;16、稳固杆;17、定向杆;18、密封环;19、伸缩弹簧;20、L形固定板;21、滑块;22、强化玻璃板。
具体实施方式
以下结合附图1-4对本实用新型的原理和特征进行描述,所举实例只用于解释本实用新型,并非用于限定本实用新型的范围。在下列段落中参照附图以举例方式更具体地描述本实用新型。根据下面说明和权利要求书,本实用新型的优点和特征将更清楚。需说明的是,附图均采用非常简化的形式且均使用非精准的比例,仅用以方便、明晰地辅助说明本实用新型实施例的目的。
需要说明的是,当组件被称为“固定于”另一个组件,它可以直接在另一个组件上或者也可以存在居中的组件。当一个组件被认为是“连接”另一个组件,它可以是直接连接到另一个组件或者可能同时存在居中组件。当一个组件被认为是“设置于”另一个组件,它可以是直接设置在另一个组件上或者可能同时存在居中组件。本文所使用的术语“垂直的”、“水平的”、“左”、“右”以及类似的表述只是为了说明的目的。
除非另有定义,本文所使用的所有的技术和科学术语与属于本实用新型的技术领域的技术人员通常理解的含义相同。本文中在本实用新型的说明书中所使用的术语只是为了描述具体的实施例的目的,不是旨在于限制本实用新型。本文所使用的术语“及/或”包括一个或多个相关的所列项目的任意的和所有的组合。
如图1-4所示,本实用新型提供了一种发泡机用简易搅拌装置,包括发泡机搅拌罐1,发泡机搅拌罐1的内部设置有搅拌机构,发泡机搅拌罐1顶部的两端均设置有冲洗机构,冲洗机构的一侧设置有封盖机构,冲洗机构包括往复电机2,往复电机2的输出端固定连接有升降螺杆3,升降螺杆3的表面螺纹连接有升降块4,升降块4的一侧固定连接有第一连接杆5,第一连接杆5的一端固定连接有安装环6,安装环6的内部通过多个固定螺栓固定连接有导水管7,导水管7的顶端固定连通有软管8,导水管7的底端固定连通有集水箱9,集水箱9的表面固定连通有多个清洗喷头10,集水箱9的底部固定连接有密封板11,发泡机搅拌罐1顶部的两端均开设有安装孔,安装孔与密封板11卡合连接。
优选的,搅拌机构包括伺服电机12,伺服电机12的顶端与发泡机搅拌罐1顶部的中心固定连接,伺服电机12的输出端穿过发泡机搅拌罐1固定连接有搅拌轴13,搅拌轴13的表面固定连接有多个均匀分布的搅拌杆,搅拌杆的顶部和底部均固定连接有多个搅拌板15,搅拌轴13的底端与发泡机搅拌罐1内壁的底部转动连接,通过伺服电机12带动搅拌轴13、搅拌杆和搅拌板15转动,可以充分对泡沫进行搅拌。
优选的,安装环6的一侧固定连接有第二连接杆,第二连接杆的一端固定连接有稳固环,发泡机搅拌罐1顶部的内圈固定连接有两个稳固杆16,稳固环与稳固杆16滑动连接,稳固环沿着稳固杆16的表面滑动,可以使得安装环6和升降块4移动时结构稳定性更强。
优选的,第一连接杆5和第二连接杆的顶部开设有穿孔,封盖机构包括两个定向杆17,定向杆17与穿孔滑动连接,两个定向杆17的底端固定连接有同一个密封环18,密封环18的内壁与导水管7的表面接触,定向杆17的表面套设有伸缩弹簧19,密封环18贴在安装孔的上方,可以避免对发泡机搅拌罐1进行冲洗时大量水源溅出。
优选的,搅拌板15的一侧开设有多个通孔14,通过通孔14,可以进一步提升搅拌的效果。
优选的,发泡机搅拌罐1顶部的外圈固定连接有两个L形固定板20,L形固定板20内侧的顶端与升降螺杆3的顶端转动连接,通过L形固定板20,使得升降螺杆3转动时结构更加稳定。
优选的,升降块4的另一侧固定连接有滑块21,滑块21的一侧与L形固定板20内壁的一侧接触,通过滑块21,可以限制升降块4的移动方向。
优选的,发泡机搅拌罐1的一端固定连接有强化玻璃板22,通过强化玻璃板22,便于工作人员对发泡机搅拌罐1内部的工作情况进行观察。
本实用新型的具体工作原理及使用方法为:
本实用新型提供了一种发泡机用简易搅拌装置,在使用时,启动伺服电机12使之带动搅拌杆和搅拌板15高速转动,对发泡机搅拌罐1内部的原料进行充分搅拌,待泡沫搅拌完成且排出后,需要对发泡机搅拌罐1内部的进行清洗时,启动往复电机2使之转动,进而带动升降螺杆3转动,进入带动升降块4沿着竖直方向向下移动,进而带动安装环6、导水管7、集水箱9和清洗喷头10向下移动,软管8外接水泵,水泵为现有技术,在图中未画出,水泵将水源泵入导水管7和集水箱9,最后从清洗喷头10喷出对发泡机搅拌罐1的内部进行彻底和充分地冲洗,同时压缩伸缩弹簧19,使得密封环18始终抵在安装孔的顶部,避免水分溅出。
以上所述,仅为本实用新型的较佳实施例而已,并非对本实用新型作任何形式上的限制;凡本行业的普通技术人员均可按说明书附图所示和以上所述而顺畅地实施本实用新型;但是,凡熟悉本专业的技术人员在不脱离本实用新型技术方案范围内,利用以上所揭示的技术内容而做出的些许更动、修饰与演变的等同变化,均为本实用新型的等效实施例;同时,凡依据本实用新型的实质技术对以上实施例所作的任何等同变化的更动、修饰与演变等,均仍属于本实用新型的技术方案的保护范围之内。
Claims (8)
1.一种发泡机用简易搅拌装置,包括发泡机搅拌罐(1),其特征在于,所述发泡机搅拌罐(1)的内部设置有搅拌机构,所述发泡机搅拌罐(1)顶部的两端均设置有冲洗机构,所述冲洗机构的一侧设置有封盖机构:
所述冲洗机构包括往复电机(2),所述往复电机(2)的输出端固定连接有升降螺杆(3),所述升降螺杆(3)的表面螺纹连接有升降块(4),所述升降块(4)的一侧固定连接有第一连接杆(5),所述第一连接杆(5)的一端固定连接有安装环(6),所述安装环(6)的内部通过多个固定螺栓固定连接有导水管(7),所述导水管(7)的顶端固定连通有软管(8),所述导水管(7)的底端固定连通有集水箱(9),所述集水箱(9)的表面固定连通有多个清洗喷头(10),所述集水箱(9)的底部固定连接有密封板(11),所述发泡机搅拌罐(1)顶部的两端均开设有安装孔,所述安装孔与密封板(11)卡合连接。
2.根据权利要求1所述一种发泡机用简易搅拌装置,其特征在于,所述搅拌机构包括伺服电机(12),所述伺服电机(12)的顶端与发泡机搅拌罐(1)顶部的中心固定连接,所述伺服电机(12)的输出端穿过发泡机搅拌罐(1)固定连接有搅拌轴(13),所述搅拌轴(13)的表面固定连接有多个均匀分布的搅拌杆,所述搅拌杆的顶部和底部均固定连接有多个搅拌板(15),所述搅拌轴(13)的底端与发泡机搅拌罐(1)内壁的底部转动连接。
3.根据权利要求1所述一种发泡机用简易搅拌装置,其特征在于,所述安装环(6)的一侧固定连接有第二连接杆,所述第二连接杆的一端固定连接有稳固环,所述发泡机搅拌罐(1)顶部的内圈固定连接有两个稳固杆(16),所述稳固环与稳固杆(16)滑动连接。
4.根据权利要求1所述一种发泡机用简易搅拌装置,其特征在于,所述第一连接杆(5)和第二连接杆的顶部开设有穿孔,所述封盖机构包括两个定向杆(17),所述定向杆(17)与穿孔滑动连接,两个所述定向杆(17)的底端固定连接有同一个密封环(18),所述密封环(18)的内壁与导水管(7)的表面接触,所述定向杆(17)的表面套设有伸缩弹簧(19)。
5.根据权利要求2所述一种发泡机用简易搅拌装置,其特征在于,所述搅拌板(15)的一侧开设有多个通孔(14)。
6.根据权利要求1所述一种发泡机用简易搅拌装置,其特征在于,所述发泡机搅拌罐(1)顶部的外圈固定连接有两个L形固定板(20),所述L形固定板(20)内侧的顶端与升降螺杆(3)的顶端转动连接。
7.根据权利要求6所述一种发泡机用简易搅拌装置,其特征在于,所述升降块(4)的另一侧固定连接有滑块(21),所述滑块(21)的一侧与L形固定板(20)内壁的一侧接触。
8.根据权利要求1所述一种发泡机用简易搅拌装置,其特征在于,所述发泡机搅拌罐(1)的一端固定连接有强化玻璃板(22)。
Priority Applications (1)
| Application Number | Priority Date | Filing Date | Title |
|---|---|---|---|
| CN202223003645.XU CN218700717U (zh) | 2022-11-11 | 2022-11-11 | 一种发泡机用简易搅拌装置 |
Applications Claiming Priority (1)
| Application Number | Priority Date | Filing Date | Title |
|---|---|---|---|
| CN202223003645.XU CN218700717U (zh) | 2022-11-11 | 2022-11-11 | 一种发泡机用简易搅拌装置 |
Publications (1)
| Publication Number | Publication Date |
|---|---|
| CN218700717U true CN218700717U (zh) | 2023-03-24 |
Family
ID=85615456
Family Applications (1)
| Application Number | Title | Priority Date | Filing Date |
|---|---|---|---|
| CN202223003645.XU Expired - Fee Related CN218700717U (zh) | 2022-11-11 | 2022-11-11 | 一种发泡机用简易搅拌装置 |
Country Status (1)
| Country | Link |
|---|---|
| CN (1) | CN218700717U (zh) |
-
2022
- 2022-11-11 CN CN202223003645.XU patent/CN218700717U/zh not_active Expired - Fee Related
Similar Documents
| Publication | Publication Date | Title |
|---|---|---|
| CN219849341U (zh) | 一种肥料专用高速搅拌混合机 | |
| CN215877085U (zh) | 一种医药制备用搅拌效果好的搅拌机 | |
| CN212167268U (zh) | 一种化工生产用物料搅拌机 | |
| CN218700717U (zh) | 一种发泡机用简易搅拌装置 | |
| CN206455878U (zh) | 一种带清洗孔搅拌轴的海绵发泡机 | |
| CN111992089A (zh) | 一种建筑施工用涂料搅拌混合设备 | |
| CN213102710U (zh) | 一种机械搅拌式浮选机 | |
| CN222178232U (zh) | 一种混凝土搅拌装置 | |
| CN217662985U (zh) | 一种一体式高速搅拌真空乳化机装置 | |
| CN218131431U (zh) | 一种n,n-二甲基癸酰胺生产用搅拌混合设备 | |
| CN217016226U (zh) | 一种高效灌胶机的混合装置 | |
| CN214681255U (zh) | 一种农业用农药搅拌装置 | |
| CN213160471U (zh) | 一种分散机 | |
| CN218083410U (zh) | 一种抹灰砂浆的预混设备 | |
| CN219596315U (zh) | 一种均匀搅拌装置 | |
| CN223671580U (zh) | 一种一次性餐具生产用便于清洁内壁的塑料拌料机 | |
| CN219647262U (zh) | 一种偶氮二异丁腈溶解用搅拌装置 | |
| CN215782942U (zh) | 一种便于清洁的薄膜原料搅拌装置 | |
| CN221085351U (zh) | 一种混凝土外加剂稀释装置 | |
| CN221291823U (zh) | 一种泥浆搅拌装置 | |
| CN213643868U (zh) | 一种新型涂料助剂加料装置 | |
| CN221160920U (zh) | 砼搅拌机 | |
| CN222400991U (zh) | 一种洗衣液乳化装置 | |
| CN221846850U (zh) | 一种乳化沥青用混合搅拌机 | |
| CN220741680U (zh) | 一种节能环保型预拌混凝土搅拌站 |
Legal Events
| Date | Code | Title | Description |
|---|---|---|---|
| GR01 | Patent grant | ||
| GR01 | Patent grant | ||
| CF01 | Termination of patent right due to non-payment of annual fee |
Granted publication date: 20230324 |
|
| CF01 | Termination of patent right due to non-payment of annual fee |