CN218696959U - High-efficient edging mechanism of glass - Google Patents
High-efficient edging mechanism of glass Download PDFInfo
- Publication number
- CN218696959U CN218696959U CN202222418543.8U CN202222418543U CN218696959U CN 218696959 U CN218696959 U CN 218696959U CN 202222418543 U CN202222418543 U CN 202222418543U CN 218696959 U CN218696959 U CN 218696959U
- Authority
- CN
- China
- Prior art keywords
- fixedly connected
- box
- inner cavity
- glass
- box body
- Prior art date
- Legal status (The legal status is an assumption and is not a legal conclusion. Google has not performed a legal analysis and makes no representation as to the accuracy of the status listed.)
- Active
Links
- 239000011521 glass Substances 0.000 title claims abstract description 46
- 230000007246 mechanism Effects 0.000 title claims abstract description 19
- 238000007688 edging Methods 0.000 title claims description 16
- 238000004140 cleaning Methods 0.000 claims abstract description 26
- 238000005498 polishing Methods 0.000 claims description 9
- 230000000712 assembly Effects 0.000 claims 2
- 238000000429 assembly Methods 0.000 claims 2
- 230000006978 adaptation Effects 0.000 claims 1
- 238000000034 method Methods 0.000 description 10
- 230000008569 process Effects 0.000 description 6
- 238000005520 cutting process Methods 0.000 description 2
- 238000004519 manufacturing process Methods 0.000 description 2
- 238000012986 modification Methods 0.000 description 2
- 230000004048 modification Effects 0.000 description 2
- 238000003860 storage Methods 0.000 description 2
- 230000009471 action Effects 0.000 description 1
- 230000009286 beneficial effect Effects 0.000 description 1
- 238000001816 cooling Methods 0.000 description 1
- 230000007812 deficiency Effects 0.000 description 1
- 238000010586 diagram Methods 0.000 description 1
- 238000009434 installation Methods 0.000 description 1
- 239000007787 solid Substances 0.000 description 1
- 239000000126 substance Substances 0.000 description 1
Images
Classifications
-
- Y—GENERAL TAGGING OF NEW TECHNOLOGICAL DEVELOPMENTS; GENERAL TAGGING OF CROSS-SECTIONAL TECHNOLOGIES SPANNING OVER SEVERAL SECTIONS OF THE IPC; TECHNICAL SUBJECTS COVERED BY FORMER USPC CROSS-REFERENCE ART COLLECTIONS [XRACs] AND DIGESTS
- Y02—TECHNOLOGIES OR APPLICATIONS FOR MITIGATION OR ADAPTATION AGAINST CLIMATE CHANGE
- Y02P—CLIMATE CHANGE MITIGATION TECHNOLOGIES IN THE PRODUCTION OR PROCESSING OF GOODS
- Y02P40/00—Technologies relating to the processing of minerals
- Y02P40/50—Glass production, e.g. reusing waste heat during processing or shaping
- Y02P40/57—Improving the yield, e-g- reduction of reject rates
Landscapes
- Grinding And Polishing Of Tertiary Curved Surfaces And Surfaces With Complex Shapes (AREA)
Abstract
本实用新型涉及一种玻璃的高效磨边机构,包括箱体,所述箱体内腔的左右两侧和前后两侧均固定连接有支撑杆,多个所述支撑杆之间固定连接有支撑板,所述箱体内腔的左右两侧均固定连接有风机,所述箱体内腔的底部固定连接有两个引导板,所述箱体内腔的左右两侧均固定连接有与对应引导板顶部接触的清理组件,所述箱体内腔的顶部设置有打磨组件,所述箱体通过通孔连通有收集箱。该玻璃的高效磨边机构,使用时,将玻璃放置在支撑板上,通过打磨组件进行打磨,打磨的同时启动风机将玻璃碎屑吹向引导板,同时启动清理组件将引导板上的玻璃碎屑从通孔扫向收集箱,进行集中处理,整体结构实现了玻璃的高效磨边机构便于清理的目的。
The utility model relates to a high-efficiency edge grinding mechanism for glass, which comprises a box body. The left and right sides and the front and rear sides of the inner cavity of the box are fixedly connected with support rods, and a plurality of support rods are fixedly connected with support plates. , the left and right sides of the inner cavity of the box are fixedly connected with fans, the bottom of the inner cavity of the box is fixedly connected with two guide plates, and the left and right sides of the inner cavity of the box are fixedly connected with the top of the corresponding guide plate. The cleaning assembly, the top of the box cavity is provided with a grinding assembly, and the box communicates with a collection box through a through hole. The high-efficiency grinding mechanism of the glass, when in use, put the glass on the support plate, and grind it through the grinding component, start the fan at the same time to blow the glass debris to the guide plate, and start the cleaning component to blow the glass debris on the guide plate Chips are swept from the through hole to the collection box for centralized treatment, and the overall structure realizes the purpose of efficient glass edge grinding mechanism for easy cleaning.
Description
技术领域technical field
本实用新型涉及玻璃加工技术领域,具体为一种玻璃的高效磨边机构。The utility model relates to the technical field of glass processing, in particular to a high-efficiency glass edge grinding mechanism.
背景技术Background technique
玻璃是一种非晶体固体,能保持一定的形状,是由玻璃膏融液逐渐冷却,度逐渐增大而获得的物质。Glass is an amorphous solid that can maintain a certain shape. It is a substance obtained by gradually cooling the glass paste melt and increasing its temperature.
在玻璃生产过程中,需要进行磨边加工,以减小玻璃割伤人体的可能性,而在磨边过程中,会有大量的玻璃碎屑散落各地,清理时需要人工一点一点的清扫,较为麻烦,故而提出一种玻璃的高效磨边机构来解决上述问题。In the process of glass production, edging processing is required to reduce the possibility of glass cutting the human body, and in the process of edging, there will be a lot of glass debris scattered all over the place, and manual cleaning is required when cleaning. , relatively troublesome, so a high-efficiency grinding mechanism for glass is proposed to solve the above problems.
实用新型内容Utility model content
针对现有技术的不足,本实用新型提供了一种玻璃的高效磨边机构,具备便于清理等优点,解决了在玻璃生产过程中,需要进行磨边加工,以减小玻璃割伤人体的可能性,而在磨边过程中,会有大量的玻璃碎屑散落各地,清理时需要人工一点一点的清扫的问题。Aiming at the deficiencies of the prior art, the utility model provides a high-efficiency glass edging mechanism, which has the advantages of easy cleaning, etc., and solves the need for edging processing in the glass production process to reduce the possibility of glass cutting the human body Sex, and in the process of edging, there will be a lot of glass debris scattered everywhere, and it needs to be manually cleaned bit by bit when cleaning.
为实现上述目的,本实用新型提供如下技术方案:一种玻璃的高效磨边机构,包括箱体,所述箱体内腔的左右两侧和前后两侧均固定连接有支撑杆,多个所述支撑杆之间固定连接有支撑板,所述箱体内腔的左右两侧均固定连接有风机,所述箱体内腔的底部固定连接有两个引导板,所述箱体内腔的左右两侧均固定连接有与对应引导板顶部接触的清理组件,所述箱体内腔的顶部设置有打磨组件,所述箱体通过通孔连通有收集箱。In order to achieve the above purpose, the utility model provides the following technical solutions: a high-efficiency glass edging mechanism, including a box body, the left and right sides and the front and back sides of the inner cavity of the box are fixedly connected with support rods, and a plurality of the There are support plates fixedly connected between the support rods, fans are fixedly connected to the left and right sides of the inner cavity of the box, and two guide plates are fixedly connected to the bottom of the inner cavity of the box, and the left and right sides of the inner cavity of the box are fixedly connected to each other. A cleaning assembly which is in contact with the top of the corresponding guide plate is fixedly connected, a grinding assembly is arranged on the top of the inner cavity of the box, and the box is connected to a collection box through a through hole.
所述清理组件包括与箱体内腔壁对应一侧固定连接的外壳,两个所述外壳相背一侧的内腔壁均固定连接有驱动电机,所述驱动电机的输出轴固定连接有驱动轴,所述驱动轴的外表面螺纹连接有驱动块,所述驱动块的底部固定连接有连接杆,所述连接杆的底部固定连接有与引导板顶部接触的清理刷。The cleaning assembly includes a shell fixedly connected to the corresponding side of the inner cavity wall of the box, the inner cavity walls on the opposite side of the two shells are fixedly connected with a drive motor, and the output shaft of the drive motor is fixedly connected with a drive shaft , the outer surface of the drive shaft is threadedly connected with a drive block, the bottom of the drive block is fixedly connected with a connecting rod, and the bottom of the connecting rod is fixedly connected with a cleaning brush in contact with the top of the guide plate.
进一步,所述驱动轴的外表面开设有外螺纹,所述驱动块的内腔开设有与外螺纹相适配的内螺纹。Further, the outer surface of the drive shaft is provided with external threads, and the inner cavity of the drive block is provided with internal threads matching the external threads.
进一步,所述驱动块的顶部固定连接有与外壳内腔的顶部滑动连接的限位杆,所述外壳内腔的顶部开设有与限位杆相适配的限位滑槽。Further, the top of the drive block is fixedly connected with a limit rod that is slidably connected to the top of the inner cavity of the casing, and the top of the inner cavity of the casing is provided with a limit chute matching the limit rod.
进一步,所述外壳的顶部呈弧形,所述支撑杆的纵截面呈圆形。Further, the top of the housing is arc-shaped, and the longitudinal section of the support rod is circular.
进一步,所述收集箱的顶部固定连接有两个与箱体底部滑动连接的定位块,所述定位块的纵截面呈T形。Further, the top of the collection box is fixedly connected with two positioning blocks slidingly connected with the bottom of the box body, and the longitudinal section of the positioning blocks is T-shaped.
进一步,所述箱体的底部开设有与定位块相适配的定位槽,所述定位槽与箱体的正面连通。Further, the bottom of the box is provided with a positioning groove matching the positioning block, and the positioning groove communicates with the front of the box.
进一步,所述打磨组件包括与箱体内腔的顶部滑动连接的直线电机,所述直线电机的输出轴固定连接有电动推杆,所述电动推杆的输出轴固定连接有旋转电机,所述旋转电机的输出轴固定连接有旋转轴,所述旋转轴的外表面套接有打磨片。Further, the grinding assembly includes a linear motor slidingly connected to the top of the box cavity, the output shaft of the linear motor is fixedly connected with an electric push rod, the output shaft of the electric push rod is fixedly connected with a rotating motor, and the rotating The output shaft of the motor is fixedly connected with a rotating shaft, and a polishing sheet is sleeved on the outer surface of the rotating shaft.
与现有技术相比,本申请的技术方案具备以下有益效果:Compared with the prior art, the technical solution of the present application has the following beneficial effects:
该玻璃的高效磨边机构,使用时,将玻璃放置在支撑板上,通过打磨组件进行打磨,打磨的同时启动风机将玻璃碎屑吹向引导板,同时启动清理组件将引导板上的玻璃碎屑从通孔扫向收集箱,进行集中处理,整体结构实现了玻璃的高效磨边机构便于清理的目的,节省清理时间。The high-efficiency grinding mechanism of the glass, when in use, places the glass on the support plate and grinds it through the grinding component. While grinding, start the fan to blow the glass debris to the guide plate, and start the cleaning component to remove the glass debris on the guide plate. Chips are swept from the through hole to the collection box for centralized processing. The overall structure realizes the purpose of efficient glass edge grinding mechanism for easy cleaning and saves cleaning time.
附图说明Description of drawings
图1为本实用新型结构示意图;Fig. 1 is the structural representation of the utility model;
图2为本实用新型清理组件的结构示意图;Fig. 2 is the structural representation of the cleaning assembly of the utility model;
图3为本实用新型打磨组件的结构示意图。Fig. 3 is a structural schematic diagram of the grinding assembly of the present invention.
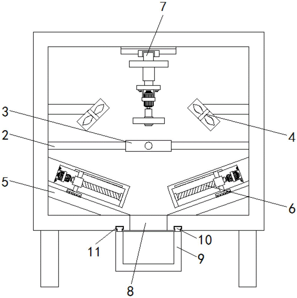
图中:1箱体、2支撑杆、3支撑板、4风机、5引导板、6清理组件、61外壳、62驱动电机、63驱动轴、64驱动块、65连接杆、66清理刷、67限位杆、7打磨组件、71直线电机、72电动推杆、73旋转电机、74旋转轴、75打磨片、8通孔、9收集箱、10定位块、11定位槽。In the figure: 1 box body, 2 support rod, 3 support plate, 4 fan, 5 guide plate, 6 cleaning assembly, 61 shell, 62 drive motor, 63 drive shaft, 64 drive block, 65 connecting rod, 66 cleaning brush, 67 Limit rod, 7 grinding components, 71 linear motor, 72 electric push rod, 73 rotating motor, 74 rotating shaft, 75 grinding sheet, 8 through hole, 9 collecting box, 10 positioning block, 11 positioning groove.
具体实施方式Detailed ways
下面将结合本实用新型实施例中的附图,对本实用新型实施例中的技术方案进行清楚、完整地描述,显然,所描述的实施例仅仅是本实用新型一部分实施例,而不是全部的实施例。基于本实用新型中的实施例,本领域普通技术人员在没有做出创造性劳动前提下所获得的所有其他实施例,都属于本实用新型保护的范围。The technical solutions in the embodiments of the present invention will be clearly and completely described below in conjunction with the accompanying drawings in the embodiments of the present invention. Obviously, the described embodiments are only part of the embodiments of the present invention, not all of them. example. Based on the embodiments of the present utility model, all other embodiments obtained by persons of ordinary skill in the art without making creative efforts belong to the scope of protection of the present utility model.
请参阅图1、图2和图3,本实施例中的一种玻璃的高效磨边机构,包括箱体1,箱体1内腔的左右两侧和前后两侧均固定连接有支撑杆2,多个支撑杆2之间固定连接有支撑板3,箱体1内腔的左右两侧均固定连接有风机4;风机4对准支撑板3,打磨时能够件玻璃和支撑板3上的玻璃碎屑向下吹落。箱体1内腔的底部固定连接有两个引导板5,两个引导板5呈对称设置,且引导板5与箱体1内腔的正面和背面均固定连接。Please refer to Fig. 1, Fig. 2 and Fig. 3, a high-efficiency glass edging mechanism in this embodiment includes a box body 1, and the left and right sides and the front and back sides of the inner cavity of the box body 1 are fixedly connected with
箱体1内腔的左右两侧均固定连接有与对应引导板5顶部接触的清理组件6,箱体1内腔的顶部设置有打磨组件7,箱体1通过通孔8连通有收集箱9;部分玻璃碎屑能够在引导板5的作用下自行滑向通孔8,进入收集箱9进行集中储存。收集箱9的顶部固定连接有两个与箱体1底部滑动连接的定位块10,定位块10的纵截面呈T形,箱体1的底部开设有与定位块10相适配的定位槽11,定位槽11与箱体1的正面连通,定位块10与定位槽11的设置对收集箱9起到了承载作用,还对收集箱9与箱体1的安装起到了定位作用;收集箱9的正面固定连接有把手,通过把手9即可超正面将收集箱9拉出。The left and right sides of the inner cavity of the box body 1 are fixedly connected with the
打磨组件7包括与箱体1内腔的顶部滑动连接的直线电机71,直线电机71的输出轴固定连接有电动推杆72,直线电机71能够带动电动推杆72进行左右运动和前后运动;其中直线电机71为公知的现有技术,故而无需对其具体结构连接关系和工作原理进行过多赘述;电动推杆72的输出轴固定连接有旋转电机73,旋转电机73的输出轴固定连接有旋转轴74,旋转轴74的外表面套接有打磨片75;其中,旋转电机73带动打磨片75的转动,再通过电动推杆72和直线电机71来控制打磨片75的位置对玻璃进行磨边。The
清理组件6包括与箱体1内腔壁对应一侧固定连接的外壳61,外壳61的顶部呈弧形,支撑杆2的纵截面呈圆形;外壳61和支撑杆2的形状使得玻璃碎屑很难堆积在外壳61和支撑杆2,少量的玻璃碎屑堆积只需用毛刷即可。两个外壳61相背一侧的内腔壁均固定连接有驱动电机62,驱动电机62的输出轴固定连接有驱动轴63,驱动轴63的外表面螺纹连接有驱动块64,驱动块64的底部固定连接有连接杆65,连接杆65的底部固定连接有与引导板5顶部接触的清理刷66,驱动块64的顶部固定连接有与外壳61内腔的顶部滑动连接的限位杆67,外壳61内腔的顶部开设有与限位杆67相适配的限位滑槽;限位杆67与限位滑槽的设置对驱动块64起到了限位作用,使得驱动轴63转动时,驱动块64不会跟随转动,而是进行左右运动。The
本实施例中的,通过驱动电机62带动驱动轴63的转动,在限位杆67的限制下,驱动块64和连接杆65带动清理刷66对引导板5进行刷洗,将引导板5上不能自然滑落的玻璃碎屑扫入收集箱9中集中,节省了人工清理的劳动力。In this embodiment, the rotation of the
需要说明的是,驱动轴63的外表面开设有外螺纹,驱动块64的内腔开设有与外螺纹相适配的内螺纹。It should be noted that the outer surface of the
上述实施例的工作原理为:The working principle of the above-mentioned embodiment is:
(1)使用时,将玻璃放置在支撑板3上,启动旋转电机73带动打磨片75的转动,通过电动推杆72控制打磨片75的上下运动,通过直线电机71来控制打磨片75的左右运动和直线运动来对玻璃进行磨边,打磨的同时启动风机4将玻璃碎屑向下吹向引导板5,倾斜的引导板5能够将玻璃碎屑引向收集箱9,而粘附的玻璃碎屑则需启动驱动电机62,带动驱动轴63的转动,从而通过驱动块64和连接杆65带动清理刷66沿引导板5的表面进行刷洗,使得绝大部分玻璃碎屑进入收集箱9内储存,整体结构实现了玻璃的高效磨边机构便于清理的目的,节省清理时间。(1) When in use, place the glass on the
需要说明的是,在本文中,诸如第一和第二等之类的关系术语仅仅用来将一个实体或者操作与另一个实体或操作区分开来,而不一定要求或者暗示这些实体或操作之间存在任何这种实际的关系或者顺序。而且,术语“包括”、“包含”或者其任何其他变体意在涵盖非排他性的包含,从而使得包括一系列要素的过程、方法、物品或者设备不仅包括那些要素,而且还包括没有明确列出的其他要素,或者是还包括为这种过程、方法、物品或者设备所固有的要素。在没有更多限制的情况下,由语句“包括一个……”限定的要素,并不排除在包括所述要素的过程、方法、物品或者设备中还存在另外的相同要素。It should be noted that in this article, relational terms such as first and second are only used to distinguish one entity or operation from another entity or operation, and do not necessarily require or imply that there is a relationship between these entities or operations. There is no such actual relationship or order between them. Furthermore, the term "comprises", "comprises" or any other variation thereof is intended to cover a non-exclusive inclusion such that a process, method, article, or apparatus comprising a set of elements includes not only those elements, but also includes elements not expressly listed. other elements of or also include elements inherent in such a process, method, article, or device. Without further limitations, an element defined by the phrase "comprising a ..." does not exclude the presence of additional identical elements in the process, method, article or apparatus comprising said element.
尽管已经示出和描述了本实用新型的实施例,对于本领域的普通技术人员而言,可以理解在不脱离本实用新型的原理和精神的情况下可以对这些实施例进行多种变化、修改、替换和变型,本实用新型的范围由所附权利要求及其等同物限定。Although the embodiments of the present invention have been shown and described, those skilled in the art can understand that various changes and modifications can be made to these embodiments without departing from the principle and spirit of the present invention , replacements and modifications, the scope of the present utility model is defined by the appended claims and their equivalents.
Claims (7)
Priority Applications (1)
| Application Number | Priority Date | Filing Date | Title |
|---|---|---|---|
| CN202222418543.8U CN218696959U (en) | 2022-09-13 | 2022-09-13 | High-efficient edging mechanism of glass |
Applications Claiming Priority (1)
| Application Number | Priority Date | Filing Date | Title |
|---|---|---|---|
| CN202222418543.8U CN218696959U (en) | 2022-09-13 | 2022-09-13 | High-efficient edging mechanism of glass |
Publications (1)
| Publication Number | Publication Date |
|---|---|
| CN218696959U true CN218696959U (en) | 2023-03-24 |
Family
ID=85632778
Family Applications (1)
| Application Number | Title | Priority Date | Filing Date |
|---|---|---|---|
| CN202222418543.8U Active CN218696959U (en) | 2022-09-13 | 2022-09-13 | High-efficient edging mechanism of glass |
Country Status (1)
| Country | Link |
|---|---|
| CN (1) | CN218696959U (en) |
-
2022
- 2022-09-13 CN CN202222418543.8U patent/CN218696959U/en active Active
Similar Documents
| Publication | Publication Date | Title |
|---|---|---|
| CN108908560A (en) | A wooden chopping board surface treatment device for removing debris by circulating air flow | |
| CN116276518A (en) | A central control shell grinding production line and grinding method | |
| CN218696959U (en) | High-efficient edging mechanism of glass | |
| CN207369642U (en) | A kind of forage grass sectional cutter | |
| CN213438683U (en) | Conveniently collect panel grinding device of sweeps | |
| CN212444685U (en) | Wooden furniture makes panel burnishing device | |
| CN221047406U (en) | Cutting device capable of collecting dust for machining mechanical parts | |
| CN219380101U (en) | Processing device for connecting rod of air compressor | |
| CN218108699U (en) | Electromechanical device dust collector | |
| CN221774792U (en) | A dust treatment machine for processing solid wood custom cabinets | |
| CN212762698U (en) | A kind of solid wood furniture processing equipment | |
| CN221793326U (en) | Stone material cutting device is used in interior decoration construction | |
| CN222344947U (en) | A three-phase asynchronous motor machining and cutting device | |
| CN221818227U (en) | An edge grinding device for processing corrosion-resistant plastic steel doors and windows | |
| CN219522419U (en) | Mechanism is swept to woodwork processing surface piece | |
| CN222327664U (en) | Upper swing fine grinding polishing machine for optical lens production | |
| CN220829691U (en) | Computer dust removal noise reduction device | |
| CN222153028U (en) | Surface debris cleaning device | |
| CN220635438U (en) | A kind of motor processing dust removal device | |
| CN222241717U (en) | Be used for rice milling sand roller surface fluting to use waste material exhaust structure | |
| CN217314639U (en) | Dustproof easy-to-clean electric automation control console | |
| CN214393818U (en) | Deviation rectifying wheel sheet metal support | |
| CN221436117U (en) | Diphase stainless steel pipe burnishing device | |
| CN221644967U (en) | Leather edging device | |
| CN222570254U (en) | Bamboo layering grinding device |
Legal Events
| Date | Code | Title | Description |
|---|---|---|---|
| GR01 | Patent grant | ||
| GR01 | Patent grant | ||
| PE01 | Entry into force of the registration of the contract for pledge of patent right |
Denomination of utility model: An efficient edge grinding mechanism for glass Granted publication date: 20230324 Pledgee: China Construction Bank Corporation Baoshan Branch Pledgor: Baoshan Haotian Glass Products Co.,Ltd. Registration number: Y2025980000079 |
|
| PE01 | Entry into force of the registration of the contract for pledge of patent right |
