CN218637043U - Self-cleaning ceramic membrane - Google Patents
Self-cleaning ceramic membrane Download PDFInfo
- Publication number
- CN218637043U CN218637043U CN202223001371.0U CN202223001371U CN218637043U CN 218637043 U CN218637043 U CN 218637043U CN 202223001371 U CN202223001371 U CN 202223001371U CN 218637043 U CN218637043 U CN 218637043U
- Authority
- CN
- China
- Prior art keywords
- self
- plunger
- cleaning
- membrane
- tubular membrane
- Prior art date
- Legal status (The legal status is an assumption and is not a legal conclusion. Google has not performed a legal analysis and makes no representation as to the accuracy of the status listed.)
- Active
Links
Images
Classifications
-
- Y—GENERAL TAGGING OF NEW TECHNOLOGICAL DEVELOPMENTS; GENERAL TAGGING OF CROSS-SECTIONAL TECHNOLOGIES SPANNING OVER SEVERAL SECTIONS OF THE IPC; TECHNICAL SUBJECTS COVERED BY FORMER USPC CROSS-REFERENCE ART COLLECTIONS [XRACs] AND DIGESTS
- Y02—TECHNOLOGIES OR APPLICATIONS FOR MITIGATION OR ADAPTATION AGAINST CLIMATE CHANGE
- Y02W—CLIMATE CHANGE MITIGATION TECHNOLOGIES RELATED TO WASTEWATER TREATMENT OR WASTE MANAGEMENT
- Y02W10/00—Technologies for wastewater treatment
- Y02W10/10—Biological treatment of water, waste water, or sewage
Landscapes
- Separation Using Semi-Permeable Membranes (AREA)
Abstract
本实用新型属于陶瓷膜技术领域,尤其是一种自清洗式陶瓷膜。本实用新型包括膜壳,膜壳内安装有若干管式膜芯,管式膜芯的进液端安装有自清洗堵头,自清洗堵头包括用于塞住管式膜芯进液端的中空状的柱塞,柱塞的外壁沿柱塞的周向嵌设有若干个高压冲洗槽,且冲洗槽与管式膜芯的内壁贴合,冲洗槽通过高压水管与外接水源连接。当陶瓷膜需要清洗时,打开控制阀,高压冲洗槽喷出高压水柱对管式膜芯内壁进行冲刷,使该陶瓷膜在无拆卸的情况下即可完成清洗工作。
The utility model belongs to the technical field of ceramic membranes, in particular to a self-cleaning ceramic membrane. The utility model comprises a membrane shell, in which several tubular membrane cores are installed, and a self-cleaning plug is installed at the liquid inlet end of the tubular membrane core, and the self-cleaning plug includes a hollow hole for plugging the liquid inlet end of the tubular membrane core. Shaped plunger, the outer wall of the plunger is embedded with several high-pressure flushing tanks along the circumference of the plunger, and the flushing tanks are attached to the inner wall of the tubular membrane core, and the flushing tanks are connected to external water sources through high-pressure water pipes. When the ceramic membrane needs to be cleaned, the control valve is opened, and the high-pressure flushing tank sprays out a high-pressure water column to wash the inner wall of the tubular membrane core, so that the ceramic membrane can complete the cleaning work without disassembly.
Description
技术领域technical field
本实用新型属于陶瓷膜技术领域,尤其涉及一种自清洗式陶瓷膜。The utility model belongs to the technical field of ceramic membranes, in particular to a self-cleaning ceramic membrane.
背景技术Background technique
陶瓷膜是一种新型材料的膜,根据支撑体的不同,陶瓷膜的构型可分为平板、管式、多通道三种,在使用过程中会产生污染和堵塞,使膜渗透通量逐渐下降,尤其是应用于污水处理过程中的陶瓷膜,污堵随时发生。Ceramic membrane is a new type of material membrane. According to different supports, the configuration of ceramic membrane can be divided into three types: flat plate, tubular, and multi-channel. During use, pollution and blockage will occur, and the permeation flux of the membrane will gradually decrease. Decline, especially for ceramic membranes used in sewage treatment, fouling occurs at any time.
而为了节约使用成本,陶瓷膜在不损坏的情况下,可以一直使用。传统的管式陶瓷膜在使用一段时间时候后,虽然外部清洁起来很方便,但是内部却难以清洁,或者清洁不完全,需要拆卸两端取出内部的膜芯,置于外部清洗设备中进行清洗再利用,这样不仅费时费力,而且陶瓷膜经常拆装容易影响整个膜组件的密封性,导致使用起来故障率变高,降低了其寿命。In order to save the cost of use, the ceramic membrane can be used all the time without damage. After the traditional tubular ceramic membrane is used for a period of time, although the outside is easy to clean, the inside is difficult to clean, or the cleaning is not complete. It is necessary to disassemble both ends to take out the inner membrane core, and then clean it in an external cleaning equipment. Utilization, this is not only time-consuming and labor-intensive, but also the frequent disassembly and assembly of the ceramic membrane will easily affect the sealing performance of the entire membrane module, resulting in a higher failure rate during use and reducing its life.
实用新型内容Utility model content
为了克服上述现有技术中的缺陷,为此,本实用新型提供一种自清洗式陶瓷膜。本实用新型具有免拆卸,清洗方便的优点。In order to overcome the above defects in the prior art, the utility model provides a self-cleaning ceramic membrane. The utility model has the advantages of free from disassembly and convenient cleaning.
为实现上述目的,本实用新型采用以下技术方案:In order to achieve the above object, the utility model adopts the following technical solutions:
一种自清洗式陶瓷膜,包括膜壳,膜壳内安装有若干管式膜芯,管式膜芯的进液端安装有自清洗堵头,自清洗堵头包括用于塞住管式膜芯进液端的中空状的柱塞,柱塞的外壁沿柱塞的周向嵌设有若干个高压冲洗槽,且冲洗槽与管式膜芯的内壁贴合,冲洗槽通过高压水管与外接水源连接。A self-cleaning ceramic membrane, including a membrane shell, a number of tubular membrane cores are installed in the membrane shell, and a self-cleaning plug is installed at the liquid inlet end of the tubular membrane core, and the self-cleaning plug includes a plug for plugging the tubular membrane. The hollow plunger at the liquid inlet end of the core, the outer wall of the plunger is embedded with several high-pressure flushing tanks along the circumference of the plunger, and the flushing tanks are attached to the inner wall of the tubular membrane core, and the flushing tanks are connected to the external water source through the high-pressure water pipe connect.
优选的,膜壳的进水端设有顶盖,柱塞的顶部与顶盖固定连接,自清洗堵头还包括固定套设于柱塞外侧的套环,套环的外直径大于管式膜芯的直径,柱塞的尺寸与管式膜芯的尺寸相匹配设置。Preferably, the water inlet end of the membrane shell is provided with a top cover, and the top of the plunger is fixedly connected to the top cover. The self-cleaning plug also includes a collar fixedly sleeved on the outside of the plunger. The outer diameter of the collar is larger than that of the tubular membrane. The diameter of the core and the size of the plunger are set to match the size of the tubular membrane core.
优选的,柱塞的塞壁内设有空腔,空腔通过连通管与高压水管连接,空腔设有若干个出水口,每个出水口与对应位置的高压冲洗槽连通。Preferably, a cavity is provided in the plug wall of the plunger, the cavity is connected to the high-pressure water pipe through a communication pipe, and several water outlets are provided in the cavity, and each water outlet communicates with a high-pressure flushing tank at a corresponding position.
优选的,顶盖内设有容腔,容腔的顶部与进液管连通,容腔的出液口与柱塞的顶部连通。Preferably, a cavity is provided in the top cover, the top of the cavity communicates with the liquid inlet pipe, and the liquid outlet of the cavity communicates with the top of the plunger.
优选的,膜壳的出水端设有底盖,底盖上设有第一贯穿孔,顶盖上设有第二贯穿孔,底盖通过连接杆与顶盖连接,连接杆的两端分别贯穿第一贯穿孔和第二贯穿孔并与螺母螺纹连接。Preferably, the water outlet end of the membrane shell is provided with a bottom cover, the bottom cover is provided with a first through hole, the top cover is provided with a second through hole, the bottom cover is connected with the top cover through a connecting rod, and the two ends of the connecting rod respectively penetrate The first through hole and the second through hole are threadedly connected with the nut.
优选的,高压水管上安装有控制阀。Preferably, a control valve is installed on the high-pressure water pipe.
优选的,管式膜芯的排渣端与排渣管连接,膜壳的底部设有排液管。Preferably, the slag discharge end of the tubular membrane core is connected to the slag discharge pipe, and the bottom of the membrane shell is provided with a liquid discharge pipe.
高压冲洗槽(14)的尾部呈开口状。The afterbody of the high-pressure washing tank (14) is open-shaped.
本实用新型的优点在于:The utility model has the advantages of:
(1)本实用新型通过在管式膜芯的进液端安装自清洗堵头,可避免杂质进入到高压冲洗槽而堵塞高压冲洗槽;在正常使用该陶瓷膜的时候高压冲洗槽不出水,排渣管可排出分离后的固体杂质,当陶瓷膜需要清洗时,打开控制阀,高压冲洗槽喷出高压水柱对管式膜芯内壁进行冲刷,使该陶瓷膜在无拆卸的情况下即可完成清洗工作。(1) The utility model installs a self-cleaning plug on the liquid inlet end of the tubular membrane core, which can prevent impurities from entering the high-pressure flushing tank and blocking the high-pressure flushing tank; when the ceramic membrane is used normally, the high-pressure flushing tank does not produce water, The slag discharge pipe can discharge the separated solid impurities. When the ceramic membrane needs to be cleaned, the control valve is opened, and the high-pressure flushing tank sprays high-pressure water column to wash the inner wall of the tubular membrane core, so that the ceramic membrane can be cleaned without disassembly. Finish cleaning.
(2)本实用新型膜壳的顶盖采用空心结构,顶盖的一端连接进液管,另一端通过自清洗堵头与管式膜芯连通,在管式膜芯数量较多时,液体先进入到顶盖内,再均匀的进入到每个管式膜芯内,保证每个管式膜芯得到有效地使用,而且在清洗管式膜芯时,清洗水还能进入到顶盖内,对顶盖也进行清洗,清洗程度更高。(2) The top cover of the membrane shell of the utility model adopts a hollow structure. One end of the top cover is connected to the liquid inlet pipe, and the other end is connected with the tubular membrane core through a self-cleaning plug. When the number of tubular membrane cores is large, the liquid enters first. into the top cover, and then evenly enters into each tubular membrane core to ensure that each tubular membrane core is used effectively, and when cleaning the tubular membrane core, the cleaning water can still enter the top cover, which is beneficial to the top cover Cleaning is also done to a higher degree.
(3)本实用新型陶瓷膜无需拆卸就可以实现清洗内部的目的,避免了经常拆装陶瓷膜导致其密封性较差的问题;且陶瓷膜中的高压冲洗槽的尾部呈开口状,实现了大范围冲洗管式膜芯内壁的目的,避免了单一直线路径的高压冲洗槽清洗面积较小的情况。(3) The ceramic membrane of the utility model can achieve the purpose of cleaning the inside without disassembly, avoiding the problem of poor sealing caused by frequent disassembly and assembly of the ceramic membrane; and the tail of the high-pressure flushing tank in the ceramic membrane is open, realizing The purpose of flushing the inner wall of the tubular membrane core in a large area avoids the situation that the cleaning area of the high-pressure flushing tank with a single straight path is small.
附图说明Description of drawings
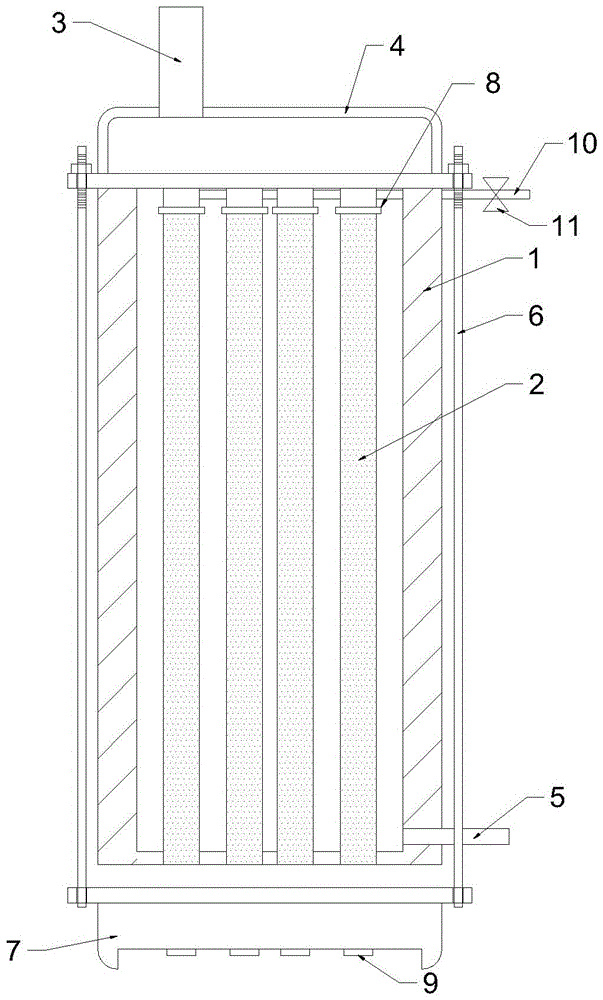
图1为本实用新型的陶瓷膜内部结构示意图。Fig. 1 is a schematic diagram of the internal structure of the ceramic membrane of the present invention.
图2为本实用新型的自清洗堵头仰视结构示意图。Fig. 2 is a schematic structural diagram of the self-cleaning plug of the present invention viewed from above.
图3为本实用新型的自清洗堵头结构示意图。Fig. 3 is a structural schematic diagram of the self-cleaning plug of the present invention.
图中:1-膜壳、2-管式膜芯、3-进液管、4-顶盖、5-排液管、6-连接杆、7-底盖、8-自清洗堵头、9-排渣管、10-高压水管、11-控制阀、12-连通管、13-柱塞、14-高压冲洗槽。In the figure: 1-Membrane shell, 2-Tube membrane core, 3-Inlet pipe, 4-Top cover, 5-Drain pipe, 6-Connecting rod, 7-Bottom cover, 8-Self-cleaning plug, 9 - slag discharge pipe, 10 - high pressure water pipe, 11 - control valve, 12 - connecting pipe, 13 - plunger, 14 - high pressure flushing tank.
具体实施方式Detailed ways
如图1-3所示,一种自清洗式陶瓷膜,管式膜芯2安装在膜壳1内,并且设置有多个,可以提高陶瓷膜的工作效率,膜壳1的两端分别安装顶盖4和底盖7,其中顶盖4的内部设有容腔,容腔的顶部连接进液管3,容腔的底部设有若干出液口,出液口与柱塞13的顶部连通,且柱塞13与顶盖4固定连接,顶盖4内设有的容腔可使得液体通过进液管3进入到容腔内,再进入通过自清洗堵头8进入每个管式膜芯2,使每个管式膜芯2都能得到有效地利用。As shown in Figure 1-3, a self-cleaning ceramic membrane, the
具体的,顶盖4和底盖7通过连接杆6连接,连接杆可以为螺杆,一端贯穿底盖上设有第一贯穿孔,另一端穿过顶盖4上的第二穿孔,并且拧上螺母,随着螺母拧紧,顶盖4和底盖7相互靠近,紧紧地压在膜壳1两端,实现密封,此时的自清洗堵头8的柱塞13也插入管式膜芯2的进液端,且由于自清洗堵头8上还设有套环,使得柱塞13不会完全伸入到管式膜芯2内。Specifically, the
进一步的,自清洗堵头8包括柱塞13和套环,柱塞13的一端插入管式膜芯2的进液端,柱塞13的外周侧嵌设有若干个高压冲洗槽14,当柱塞13插入管式膜芯2时,高压冲洗槽14与管式膜芯2的内壁贴合,形成一个两端设有开口的通孔,由于柱塞13的塞壁内设有空腔,通孔的顶部与空腔连通,若干柱塞13上的空腔通过连通管12连通,并与高压水管10连接,使得外接水源通过高压水管10流入到空腔内,并通过空腔进入到通孔内,最后高压水源沿着管式膜芯2的内壁流下,并清洗管式膜芯2的内壁。另外,高压冲洗槽14的尾部呈开口状,实现了大范围冲洗管式膜芯2内壁的目的,避免直线路径的通孔清洗面积较小。Further, the self-
更进一步的,管式膜芯2的排渣端与排渣管9连接,在陶瓷膜正常工作时,高压水管10通过控制阀11处于常闭状态,此时的排渣管9用来排出管式膜芯2分离液体后产生的残渣,在陶瓷膜自清洗时,排渣管9用来排出冲洗后的残渣和一部分未进入排液管5的液体。Furthermore, the slag discharge end of the
管式膜芯2与膜壳1之间存在空隙,空隙连接排液管5,在使用时,分离的固体杂质从排渣管9排出,而液体通过管式膜芯2外壁进入空隙,随着排液管5排出。管式膜芯2的数量与自清洗堵头8数量一致,自清洗堵头8通过连通管12相互连通,使高压水管10的高压净水可以进入到每个自清洗堵头8内部,高压水管10外接供水系统。There is a gap between the
下面结合实施例中的附图对该装置的工作过程进行详细描述。The working process of the device will be described in detail below in conjunction with the drawings in the embodiments.
高压水管10连接外接供水系统,外部水源通过控制阀11的打开进入到高压水管10中,并通过连通管12流入到每个柱塞13的空腔内,再进入高压冲洗槽14,由于高压冲洗槽14的槽口与管式膜芯2的内壁贴合,形成一个通孔,因此高压水源进入通孔沿管式膜芯2的内壁下流,从而实现冲洗管式膜芯2的内壁的目的,且由于高压冲洗槽14的尾部呈开口状,进而可大范围冲洗管式膜芯2内壁;The high-
此外,若想进一步清洗陶瓷膜,可在管式膜芯2的底部设置电机,电机的输出端可通过链条与若干管式膜芯2连接,使得电机转动时可带动管式膜芯2转动,此时柱塞13不动,进而即使只设置一个高压冲洗槽14也可以清洗整个管式膜芯2。In addition, if you want to further clean the ceramic membrane, you can install a motor at the bottom of the
以上仅为本实用新型创造的较佳实施例而已,并不用以限制本实用新型创造,凡在本实用新型创造的精神和原则之内所作的任何修改、等同替换和改进等,均应包含在本实用新型创造的保护范围之内。The above are only preferred embodiments of the utility model creation, and are not intended to limit the utility model creation. Any modifications, equivalent replacements and improvements made within the spirit and principles of the utility model creation should be included in the Within the scope of protection created by the utility model.
Claims (8)
Priority Applications (1)
| Application Number | Priority Date | Filing Date | Title |
|---|---|---|---|
| CN202223001371.0U CN218637043U (en) | 2022-11-11 | 2022-11-11 | Self-cleaning ceramic membrane |
Applications Claiming Priority (1)
| Application Number | Priority Date | Filing Date | Title |
|---|---|---|---|
| CN202223001371.0U CN218637043U (en) | 2022-11-11 | 2022-11-11 | Self-cleaning ceramic membrane |
Publications (1)
| Publication Number | Publication Date |
|---|---|
| CN218637043U true CN218637043U (en) | 2023-03-17 |
Family
ID=85496403
Family Applications (1)
| Application Number | Title | Priority Date | Filing Date |
|---|---|---|---|
| CN202223001371.0U Active CN218637043U (en) | 2022-11-11 | 2022-11-11 | Self-cleaning ceramic membrane |
Country Status (1)
| Country | Link |
|---|---|
| CN (1) | CN218637043U (en) |
Cited By (2)
| Publication number | Priority date | Publication date | Assignee | Title |
|---|---|---|---|---|
| CN117619149A (en) * | 2024-01-26 | 2024-03-01 | 江苏华诺泰生物医药科技有限公司 | Ultrafiltration mechanism for liquid preparation system |
| CN118255421A (en) * | 2024-04-01 | 2024-06-28 | 江苏新宇天成环保有限公司 | Wastewater treatment device adopting tubular membrane |
-
2022
- 2022-11-11 CN CN202223001371.0U patent/CN218637043U/en active Active
Cited By (3)
| Publication number | Priority date | Publication date | Assignee | Title |
|---|---|---|---|---|
| CN117619149A (en) * | 2024-01-26 | 2024-03-01 | 江苏华诺泰生物医药科技有限公司 | Ultrafiltration mechanism for liquid preparation system |
| CN117619149B (en) * | 2024-01-26 | 2024-05-17 | 江苏华诺泰生物医药科技有限公司 | Ultrafiltration mechanism for liquid preparation system |
| CN118255421A (en) * | 2024-04-01 | 2024-06-28 | 江苏新宇天成环保有限公司 | Wastewater treatment device adopting tubular membrane |
Similar Documents
| Publication | Publication Date | Title |
|---|---|---|
| CN218637043U (en) | Self-cleaning ceramic membrane | |
| CN216946405U (en) | A pulse aeration device, cleaning equipment and membrane bioreactor system | |
| CN221207042U (en) | Surface condensate filter | |
| CN1333080A (en) | External pressing hollow fibre membrane separator and use method thereof | |
| CN222489121U (en) | High-pressure jet type backwashing filter | |
| CN204656349U (en) | A kind of vertical pressure leaching film filtering system | |
| CN115253472A (en) | Water purification filter element shell | |
| CN205084634U (en) | Milipore filter washing unit and have device's water purifier | |
| CN205042221U (en) | A self-cleaning filter | |
| CN202709421U (en) | Electric water heater | |
| CN222111174U (en) | Sensor water saver | |
| CN218529909U (en) | An automatic backwash filter device | |
| CN207307333U (en) | The high-performance back purge system of beam tube type filter | |
| CN220768269U (en) | Water inlet and outlet device for bathtub | |
| CN212914793U (en) | Integral filter | |
| CN220834390U (en) | Filter element structure of candle type filter | |
| CN204275700U (en) | Air cleaner | |
| CN210940400U (en) | Cooling water recycling device for all-steel load radial tire composite press-out line | |
| CN221461348U (en) | Water supply equipment with pressure regulating and self-cleaning functions | |
| CN219784014U (en) | Backwashing filter | |
| CN214075240U (en) | High-pressure automatic drainage filter | |
| CN204746104U (en) | Vertical pressure dipping film system of straining | |
| CN204709896U (en) | Active sand filter | |
| CN220770217U (en) | Plunger valve with non-return function | |
| CN221831783U (en) | Isolation area pipe filter |
Legal Events
| Date | Code | Title | Description |
|---|---|---|---|
| GR01 | Patent grant | ||
| GR01 | Patent grant | ||
| TR01 | Transfer of patent right |
Effective date of registration: 20240220 Address after: No. 1599 Pingzhuang West Road, Fengxian District, Shanghai, June 2014 Patentee after: Lifu (Shanghai) Resource Recycling Technology Co.,Ltd. Country or region after: China Address before: Room 812, 8/F, Building 1, No. 98 Jujin Road, Taiping Street, Xiangcheng District, Suzhou City, Jiangsu Province, 215137 Patentee before: Fuentek (Suzhou) Resource Recycling Technology Co.,Ltd. Country or region before: China |
|
| TR01 | Transfer of patent right | ||
| TR01 | Transfer of patent right |
Effective date of registration: 20250721 Address after: 225100 Jiangsu Province Yangzhou City Hanyang District Economic and Technological Development Zone Jinguang Road 128# Patentee after: Yangzhou Lifu New Material Technology Co.,Ltd. Country or region after: China Address before: No. 1599 Pingzhuang West Road, Fengxian District, Shanghai, June 2014 Patentee before: Lifu (Shanghai) Resource Recycling Technology Co.,Ltd. Country or region before: China |
|
| TR01 | Transfer of patent right |
