CN218611882U - 一种快给进式硬质合金成型铣刀 - Google Patents
一种快给进式硬质合金成型铣刀 Download PDFInfo
- Publication number
- CN218611882U CN218611882U CN202222402556.6U CN202222402556U CN218611882U CN 218611882 U CN218611882 U CN 218611882U CN 202222402556 U CN202222402556 U CN 202222402556U CN 218611882 U CN218611882 U CN 218611882U
- Authority
- CN
- China
- Prior art keywords
- cutting blade
- milling cutter
- cutter
- cutting
- primary
- Prior art date
- Legal status (The legal status is an assumption and is not a legal conclusion. Google has not performed a legal analysis and makes no representation as to the accuracy of the status listed.)
- Active
Links
- 238000003801 milling Methods 0.000 title claims abstract description 39
- 239000000956 alloy Substances 0.000 title claims description 9
- 229910045601 alloy Inorganic materials 0.000 title claims description 5
- 238000005520 cutting process Methods 0.000 claims abstract description 111
- 230000000149 penetrating effect Effects 0.000 claims 1
- 238000007493 shaping process Methods 0.000 abstract description 5
- 238000009434 installation Methods 0.000 description 3
- 238000003825 pressing Methods 0.000 description 3
- 238000000034 method Methods 0.000 description 2
- 238000005553 drilling Methods 0.000 description 1
- 230000010354 integration Effects 0.000 description 1
- 238000004519 manufacturing process Methods 0.000 description 1
- 239000002699 waste material Substances 0.000 description 1
Images
Classifications
-
- Y—GENERAL TAGGING OF NEW TECHNOLOGICAL DEVELOPMENTS; GENERAL TAGGING OF CROSS-SECTIONAL TECHNOLOGIES SPANNING OVER SEVERAL SECTIONS OF THE IPC; TECHNICAL SUBJECTS COVERED BY FORMER USPC CROSS-REFERENCE ART COLLECTIONS [XRACs] AND DIGESTS
- Y02—TECHNOLOGIES OR APPLICATIONS FOR MITIGATION OR ADAPTATION AGAINST CLIMATE CHANGE
- Y02P—CLIMATE CHANGE MITIGATION TECHNOLOGIES IN THE PRODUCTION OR PROCESSING OF GOODS
- Y02P70/00—Climate change mitigation technologies in the production process for final industrial or consumer products
- Y02P70/10—Greenhouse gas [GHG] capture, material saving, heat recovery or other energy efficient measures, e.g. motor control, characterised by manufacturing processes, e.g. for rolling metal or metal working
Landscapes
- Milling Processes (AREA)
Abstract
本实用新型公开了一种快给进式硬质合金成型铣刀,包括杆体组件、夹持组件和切削组件。本实用新型的有益效果是:设置有一次切削刀片和二次切削刀片,使一次切削刀片先进行一次切削,然后二次切削刀片进行二次切削,即对该铣刀每次需要切削的厚度分成两次进行切削,可提高切削速度,进而可实现该铣刀的快速给进切削,设置有环形限位槽,可针对不同的安装需求,将刀柄通过相应位置的环形限位槽与车床的夹持座进行固定,可实现对该成型铣刀不同长度的夹持固定,设置有抵挡块紧贴在一次切削刀片和二次切削刀片的背侧面,对该成型铣刀转动切削过程中,对两个切削刀片起到抵挡支撑作用,在快速给进切削的过程中,避免切削刀片因受力过大而破裂。
Description
技术领域
本实用新型涉及一种成型铣刀,具体为一种快给进式硬质合金成型铣刀,属于切削刀具技术领域。
背景技术
成型铣刀在生产中应用比较广泛,尤其在对各类零部件进行钻孔或切削加工中的应用更为普遍,铣刀在使用过程中,需要与车床的夹持座进行固定连接,进而带动铣刀沿着轴线转动,随着铣刀的不断给进,实现对待加工工件的切削。
但对于现有的铣刀,在对工件进行切削时,为了能够提高切削速率,往往会在每次切削时尽量切削的厚一些,但若一次性切削掉较厚的废料,又会导致容易对切削刀片造成损坏,且切削给刀的推进速度也较为缓慢,同样无法较好的提高切削速率。
实用新型内容
本实用新型的目的就在于为了解决上述至少一个技术问题而提供一种快给进式硬质合金成型铣刀。
本实用新型通过以下技术方案来实现上述目的:一种快给进式硬质合金成型铣刀,包括
杆体组件,其构成该成型铣刀的主体结构,且其包括呈长直状的刀杆以及一体化连接在所述刀杆前端的刀头,所述刀头上开设有长直的排屑槽;
夹持组件,其用于将该成型铣刀与外设车床的夹持座进行固定连接,并位于该成型铣刀的尾端,且其包括与所述刀杆的尾端一体化连接的刀柄,所述刀柄上开设有环形限位槽;
切削组件,其用于对待加工工件进行切削加工,且其包括固定安装在其中一个排屑槽竖直侧面上的一次切削刀片以及固定安装在另一个排屑槽竖直侧面上的二次切削刀片,且所述一次切削刀片位于二次切削刀片的前端,所述一次切削刀片切削刃到刀头中心处的距离小于二次切削刀片切削刃到刀头中心处的距离,所述一次切削刀片和二次切削刀片均为硬质合金材料制成的切削刀片。
作为本实用新型再进一步的方案:两个所述排屑槽的竖直侧面上端一体化连接有抵挡块。
作为本实用新型再进一步的方案:所述排屑槽的竖直侧面开设有用于安放刀片的安置槽。
作为本实用新型再进一步的方案:所述一次切削刀片和二次切削刀片的外侧面均紧贴有等长的压板。
作为本实用新型再进一步的方案:所述环形限位槽呈均匀状开设有若干个。
本实用新型的有益效果是:设置有一次切削刀片和二次切削刀片,使一次切削刀片先进行一次切削,然后二次切削刀片进行二次切削,即对该铣刀每次需要切削的厚度分成两次进行切削,可提高切削速度,进而可实现该铣刀的快速给进切削,设置有环形限位槽,可针对不同的安装需求,将刀柄通过相应位置的环形限位槽与车床的夹持座进行固定,可实现对该成型铣刀不同长度的夹持固定,设置有抵挡块,能够紧贴在一次切削刀片和二次切削刀片的背侧面,进而可对该成型铣刀转动切削过程中,对两个切削刀片起到抵挡支撑作用,即使在快速给进切削的过程中,也能够避免切削刀片因受力过大而破裂。
附图说明
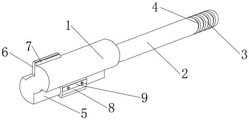
图1为本实用新型整体结构示意图;
图2为本实用新型刀头端面结构示意图;
图3为本实用新型刀头立体结构示意图。
图中:1、刀头,2、刀杆,3、刀柄,4、环形限位槽,5、排屑槽,6、一次切削刀片,7、抵挡块,8、二次切削刀片,9、压板,10、紧固螺丝,11、安置槽。
具体实施方式
下面将结合本实用新型实施例中的附图,对本实用新型实施例中的技术方案进行清楚、完整地描述,显然,所描述的实施例仅仅是本实用新型一部分实施例,而不是全部的实施例。基于本实用新型中的实施例,本领域普通技术人员在没有做出创造性劳动前提下所获得的所有其他实施例,都属于本实用新型保护的范围。
实施例一
如图1至图3所示,一种快给进式硬质合金成型铣刀,包括
杆体组件,其构成该成型铣刀的主体结构,且其包括呈长直状的刀杆2以及一体化连接在所述刀杆2前端的刀头1,所述刀头1上开设有长直的排屑槽5;
夹持组件,其用于将该成型铣刀与外设车床的夹持座进行固定连接,并位于该成型铣刀的尾端,且其包括与所述刀杆2的尾端一体化连接的刀柄3,所述刀柄3上开设有环形限位槽4;
切削组件,其用于对待加工工件进行切削加工,且其包括固定安装在其中一个排屑槽5竖直侧面上的一次切削刀片6以及固定安装在另一个排屑槽5竖直侧面上的二次切削刀片8,且所述一次切削刀片6位于二次切削刀片8的前端,所述一次切削刀片6切削刃到刀头1中心处的距离小于二次切削刀片8切削刃到刀头1中心处的距离,所述一次切削刀片6和二次切削刀片8均为硬质合金材料制成的切削刀片。
在本实用新型实施例中,两个所述排屑槽5的竖直侧面上端一体化连接有抵挡块7,能够紧贴在一次切削刀片6和二次切削刀片8的背侧面,进而可对该成型铣刀转动切削过程中,对两个切削刀片起到抵挡支撑作用,即使在快速给进切削的过程中,也能够避免切削刀片因受力过大而破裂。
在本实用新型实施例中,所述排屑槽5的竖直侧面开设有用于安放刀片的安置槽11,以确保一次切削刀片6和二次切削刀片8能够安装在特定的位置,进而便于进一步的夹紧固定,使一次切削刀片6先进行一次切削,然后二次切削刀片8进行二次切削,即对该铣刀每次需要切削的厚度分成两次进行切削,可提高切削速度,进而可实现该铣刀的快速给进切削。
实施例二
如图1至图3所示,一种快给进式硬质合金成型铣刀,包括
杆体组件,其构成该成型铣刀的主体结构,且其包括呈长直状的刀杆2以及一体化连接在所述刀杆2前端的刀头1,所述刀头1上开设有长直的排屑槽5;
夹持组件,其用于将该成型铣刀与外设车床的夹持座进行固定连接,并位于该成型铣刀的尾端,且其包括与所述刀杆2的尾端一体化连接的刀柄3,所述刀柄3上开设有环形限位槽4;
切削组件,其用于对待加工工件进行切削加工,且其包括固定安装在其中一个排屑槽5竖直侧面上的一次切削刀片6以及固定安装在另一个排屑槽5竖直侧面上的二次切削刀片8,且所述一次切削刀片6位于二次切削刀片8的前端,所述一次切削刀片6切削刃到刀头1中心处的距离小于二次切削刀片8切削刃到刀头1中心处的距离,所述一次切削刀片6和二次切削刀片8均为硬质合金材料制成的切削刀片。
在本实用新型实施例中,所述一次切削刀片6和二次切削刀片8的外侧面均紧贴有等长的压板9,并通过穿过压板9的紧固螺丝10进行固定连接,由对两个切削刀片的点位固定转换为线位固定,可确保两个切削刀片在刀头1上安装的牢固性。
在本实用新型实施例中,所述环形限位槽4呈均匀状开设有若干个,可针对不同的安装需求,将刀柄3通过相应位置的环形限位槽4与车床的夹持座进行固定,可实现对该成型铣刀不同长度的夹持固定。
工作原理:首先根据安装需求,将刀柄3通过相应位置的环形限位槽4与车床的夹持座进行固定,然后将一次切削刀片6和二次切削刀片8安装在特定的位置,切削时,使一次切削刀片6先进行一次切削,然后二次切削刀片8进行二次切削,即对该铣刀每次需要切削的厚度分成两次进行切削,可提高切削速度,进而可实现该铣刀的快速给进切削。
对于本领域技术人员而言,显然本实用新型不限于上述示范性实施例的细节,而且在不背离本实用新型的精神或基本特征的情况下,能够以其他的具体形式实现本实用新型。因此,无论从哪一点来看,均应将实施例看作是示范性的,而且是非限制性的,本实用新型的范围由所附权利要求而不是上述说明限定,因此旨在将落在权利要求的等同要件的含义和范围内的所有变化囊括在本实用新型内。不应将权利要求中的任何附图标记视为限制所涉及的权利要求。
此外,应当理解,虽然本说明书按照实施方式加以描述,但并非每个实施方式仅包含一个独立的技术方案,说明书的这种叙述方式仅仅是为清楚起见,本领域技术人员应当将说明书作为一个整体,各实施例中的技术方案也可以经适当组合,形成本领域技术人员可以理解的其他实施方式。
Claims (5)
1.一种快给进式硬质合金成型铣刀,其特征在于:包括
杆体组件,其构成该成型铣刀的主体结构,且其包括呈长直状的刀杆(2)以及一体化连接在所述刀杆(2)前端的刀头(1),所述刀头(1)上开设有长直的排屑槽(5);
夹持组件,其用于将该成型铣刀与外设车床的夹持座进行固定连接,并位于该成型铣刀的尾端,且其包括与所述刀杆(2)的尾端一体化连接的刀柄(3),所述刀柄(3)上开设有环形限位槽(4);
切削组件,其用于对待加工工件进行切削加工,且其包括固定安装在其中一个排屑槽(5)竖直侧面上的一次切削刀片(6)以及固定安装在另一个排屑槽(5)竖直侧面上的二次切削刀片(8),且所述一次切削刀片(6)位于二次切削刀片(8)的前端,所述一次切削刀片(6)切削刃到刀头(1)中心处的距离小于二次切削刀片(8)切削刃到刀头(1)中心处的距离,所述一次切削刀片(6)和二次切削刀片(8)均为硬质合金材料制成的切削刀片。
2.根据权利要求1所述的一种快给进式硬质合金成型铣刀,其特征在于:两个所述排屑槽(5)的竖直侧面上端一体化连接有抵挡块(7)。
3.根据权利要求1所述的一种快给进式硬质合金成型铣刀,其特征在于:所述排屑槽(5)的竖直侧面开设有用于安放刀片的安置槽(11)。
4.根据权利要求1所述的一种快给进式硬质合金成型铣刀,其特征在于:所述一次切削刀片(6)和二次切削刀片(8)的外侧面均紧贴有等长的压板(9),并通过穿过压板(9)的紧固螺丝(10)进行固定连接。
5.根据权利要求1所述的一种快给进式硬质合金成型铣刀,其特征在于:所述环形限位槽(4)呈均匀状开设有若干个。
Priority Applications (1)
| Application Number | Priority Date | Filing Date | Title |
|---|---|---|---|
| CN202222402556.6U CN218611882U (zh) | 2022-09-09 | 2022-09-09 | 一种快给进式硬质合金成型铣刀 |
Applications Claiming Priority (1)
| Application Number | Priority Date | Filing Date | Title |
|---|---|---|---|
| CN202222402556.6U CN218611882U (zh) | 2022-09-09 | 2022-09-09 | 一种快给进式硬质合金成型铣刀 |
Publications (1)
| Publication Number | Publication Date |
|---|---|
| CN218611882U true CN218611882U (zh) | 2023-03-14 |
Family
ID=85466611
Family Applications (1)
| Application Number | Title | Priority Date | Filing Date |
|---|---|---|---|
| CN202222402556.6U Active CN218611882U (zh) | 2022-09-09 | 2022-09-09 | 一种快给进式硬质合金成型铣刀 |
Country Status (1)
| Country | Link |
|---|---|
| CN (1) | CN218611882U (zh) |
-
2022
- 2022-09-09 CN CN202222402556.6U patent/CN218611882U/zh active Active
Similar Documents
| Publication | Publication Date | Title |
|---|---|---|
| CN101934398B (zh) | 一种用于铝合金平面加工的组合式铣刀 | |
| CN218611882U (zh) | 一种快给进式硬质合金成型铣刀 | |
| CN220295868U (zh) | 一种可调整的大切削深度的组合车刀 | |
| CN105269057B (zh) | 一种复合铣刀 | |
| CN219465406U (zh) | 一种机械加工刀具 | |
| CN1033899C (zh) | 可调式条状刀片机夹刀具 | |
| CN215033699U (zh) | 一种高效复合双刀头车刀 | |
| CN201969891U (zh) | 粗精一体化舍弃式镗孔组合刀具 | |
| CN201324874Y (zh) | 可调式平面铣刀 | |
| CN216462024U (zh) | 一种三刃阶梯状铝用铣刀 | |
| CN214053812U (zh) | 一种硬质合金单刃铣刀 | |
| CN214053819U (zh) | 一种涂层成型铣刀 | |
| CN109304488A (zh) | 一种加工蝶阀体端面同心圆水线的刀具 | |
| CN202224725U (zh) | 螺旋刃具刀片的整体定长切割装置 | |
| CN202622025U (zh) | Cbn插铣刀具 | |
| CN215033676U (zh) | 一种刀架结构 | |
| CN208162711U (zh) | 一种带避空位的平底铣刀 | |
| CN223011928U (zh) | 模具钢高效切削刀具 | |
| CN217529357U (zh) | 一种v型刀 | |
| CN207735607U (zh) | 一种机械加工用便捷式刀具 | |
| CN207840159U (zh) | 一种数控车床的刀具 | |
| CN205183890U (zh) | 大进给量机夹铣刀 | |
| CN211588666U (zh) | 一种用于圆弧槽加工的成型铣刀 | |
| CN214185279U (zh) | 一种深槽加工车刀 | |
| CN216758195U (zh) | 一种用于pcd刀具的断屑装置 |
Legal Events
| Date | Code | Title | Description |
|---|---|---|---|
| GR01 | Patent grant | ||
| GR01 | Patent grant |