CN218607258U - 一种头部解剖用固定装置 - Google Patents

一种头部解剖用固定装置 Download PDF

Info

Publication number
CN218607258U
CN218607258U CN202222894285.0U CN202222894285U CN218607258U CN 218607258 U CN218607258 U CN 218607258U CN 202222894285 U CN202222894285 U CN 202222894285U CN 218607258 U CN218607258 U CN 218607258U
Authority
CN
China
Prior art keywords
head
positioning
rod
head support
support platform
Prior art date
Legal status (The legal status is an assumption and is not a legal conclusion. Google has not performed a legal analysis and makes no representation as to the accuracy of the status listed.)
Expired - Fee Related
Application number
CN202222894285.0U
Other languages
English (en)
Inventor
徐四元
伏辉
李兵
孙建永
马森
Current Assignee (The listed assignees may be inaccurate. Google has not performed a legal analysis and makes no representation or warranty as to the accuracy of the list.)
Changsha Medical University
Original Assignee
Changsha Medical University
Priority date (The priority date is an assumption and is not a legal conclusion. Google has not performed a legal analysis and makes no representation as to the accuracy of the date listed.)
Filing date
Publication date
Application filed by Changsha Medical University filed Critical Changsha Medical University
Priority to CN202222894285.0U priority Critical patent/CN218607258U/zh
Application granted granted Critical
Publication of CN218607258U publication Critical patent/CN218607258U/zh
Expired - Fee Related legal-status Critical Current
Anticipated expiration legal-status Critical

Links

Images

Landscapes

  • Accommodation For Nursing Or Treatment Tables (AREA)

Abstract

本实用新型公开了一种头部解剖用固定装置,属于解剖辅助设备技术领域,包括解剖台,所述解剖台的一侧设有头部支撑台,所述头部支撑台与解剖台之间设有连接组件;本实用新型通过定位组件和支撑垫的配合使用,在将需要解剖的尸体头部放置于支撑垫的顶部后,使用者可通过转动手柄带动定位板向尸体头部的方向压紧,将尸体头部压紧固定在支撑垫上,以对尸体头部进行固定,防止在解剖的过程中尸体头部出现移动,同时通过橡胶垫座和支撑垫的配合使用,可以防止在对尸体固定的过程中对其造成损坏,通过连接组件的设置,可以在解剖的过程中对尸体的头部进行角度转动,以便于操作者对尸体头部的不同位置进行解剖操作。

Description

一种头部解剖用固定装置
技术领域
本实用新型涉及解剖辅助设备技术领域,具体为一种头部解剖用固定装置。
背景技术
现有的用于头部解剖的固定装置都是简单的用钉子进行固定,容易在解剖过程中对尸体头部造成损坏,申请号为CN201920372620.6的中国专利公开了一种尸体头部解剖固定支架,包括底座,所述底座上安装有尸头固定装置,所述尸头固定装置包括若干个固定架,所述固定架通过其底部设置的水平臂连接所述底座;所述固定架的顶部设置有固定架螺纹孔,所述固定架螺纹孔内螺接有尸头固定螺丝。该实用新型的尸体头部解剖固定器结构稳固,造价合理,可拆卸结构使本实用新型易于收纳和搬运,为尸体头部解剖结构相关的教学、科研的开展提供了便利。
上述专利在实际使用过程中就是通过固定螺丝对头部进行固定,尖锥形的固定螺丝容易对尸体头部造成损坏,且在对尸体头部进行解剖时,不能对固定后的尸体头部进行角度转动,使得其使用灵活性较差,因此我们需要提出一种头部解剖用固定装置。
实用新型内容
本实用新型的目的在于提供一种头部解剖用固定装置,具备可在尸体头部进行固定的同时可防止固定位置对其造成损坏,同时可对固定后的尸体头部进行角度转动以提升其使用灵活性的优点,以解决上述背景技术中提出的问题。
为实现上述目的,本实用新型提供一种头部解剖用固定装置,包括解剖台,所述解剖台的一侧设有头部支撑台,所述头部支撑台与解剖台之间设有可对头部支撑台的使用角度进行转动调节的连接组件,所述头部支撑台通过连接组件与解剖台转动连接在一起,所述头部支撑台的一侧还设有用于对头部支撑台的转动角度进行固定的限位组件,所述头部支撑台的前后两侧均对称设有由于对解剖头部进行固定的定位组件,所述定位组件通过滑动组件连接固定于头部支撑台的表面。
优选的,所述连接组件包括固定安装于解剖台一侧的连接轴,所述头部支撑台的内部开设有与连接轴相适配的连接槽,所述连接槽的内壁与连接轴的表面转动连接,所述连接轴的一端贯穿连接槽并延伸至连接槽的外部。
优选的,所述限位组件包括固定安装于头部支撑台一侧的限位管,所述连接轴的表面与限位管的内壁转动连接,所述限位管的表面螺纹连接有限位杆,所述限位杆的一端贯穿限位管并延伸至限位管的内腔与连接轴的表面贴合。
优选的,所述滑动组件包括开设于头部支撑台前后两侧的滑槽,所述滑槽的内腔滑动连接有滑板,所述头部支撑台的前后两侧均滑动连接有滑座,所述滑板的一侧贯穿滑槽并延伸至滑槽的外部与滑座的内壁固定连接。
优选的,所述滑座的表面螺纹连接有锁紧杆,所述锁紧杆的一端贯穿滑座并延伸至滑座的内腔与头部支撑台的表面贴合。
优选的,所述定位组件包括固定安装于滑座顶部的支撑杆,所述支撑杆的顶部固定安装有固定座,所述固定座的表面嵌设有螺纹管,所述螺纹管的内腔螺纹连接有定位杆,所述定位杆的两端均贯穿螺纹管并延伸至螺纹管的外部,所述定位杆的一端固定安装有手柄,所述定位杆的另一端通过连接座转动连接有定位板。
优选的,所述头部支撑台的顶部固定安装有支撑垫,所述定位板远离定位杆的一侧固定连接有橡胶垫座。
与现有技术相比,本实用新型的有益效果是:
1、本实用新型通过定位组件和支撑垫的配合使用,在将需要解剖的尸体头部放置于支撑垫的顶部后,使用者可通过转动手柄带动定位板向尸体头部的方向压紧,将尸体头部压紧固定在支撑垫上,以对尸体头部进行固定,防止在解剖的过程中尸体头部出现移动,同时通过橡胶垫座和支撑垫的配合使用,可以防止在对尸体固定的过程中对其造成损坏,通过连接组件的设置,可以在解剖的过程中对尸体的头部进行角度转动,以便于操作者对尸体头部的不同位置进行解剖操作;
2、本实用新型通过限位组件的设置,可以对头部支撑台调节角度后的使用角度进行限位固定,通过滑动组件的设置,可以对定位组件的使用位置进行移动,以提升本装置使用的灵活性。
附图说明
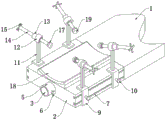
图1为本实用新型的结构示意图;
图2为本实用新型连接组件和限位组件的结构示意图;
图3为本实用新型滑动组件和定位组件的结构示意图;
图4为本实用新型定位杆与螺纹管连接的结构示意图。
图中:1、解剖台;2、头部支撑台;3、连接轴;4、连接槽;5、限位管;6、限位杆;7、滑槽;8、滑板;9、滑座;10、锁紧杆;11、支撑杆;12、固定座;13、螺纹管;14、定位杆;15、手柄;16、连接座;17、定位板;18、支撑垫;19、橡胶垫座。
具体实施方式
下面将结合本实用新型实施例中的附图,对本实用新型实施例中的技术方案进行清楚、完整地描述,显然,所描述的实施例仅仅是本实用新型一部分实施例,而不是全部的实施例。基于本实用新型中的实施例,本领域普通技术人员在没有做出创造性劳动前提下所获得的所有其他实施例,都属于本实用新型保护的范围。
请参阅图1-图4,本实用新型提供一种头部解剖用固定装置,包括解剖台1,解剖台1的一侧设有头部支撑台2,头部支撑台2与解剖台1之间设有可对头部支撑台2的使用角度进行转动调节的连接组件,头部支撑台2通过连接组件与解剖台1转动连接在一起,连接组件包括固定安装于解剖台1一侧的连接轴3,头部支撑台2的内部开设有与连接轴3相适配的连接槽4,连接槽4的内壁与连接轴3的表面转动连接,连接轴3的一端贯穿连接槽4并延伸至连接槽4的外部;
通过连接组件的设置,可以对头部支撑台2的使用角度进行调节,在将尸体头部定位固定在头部支撑台2的顶部进行解剖操作时,使用者若需要对尸体头部的解剖角度进行调节,可通过转动头部支撑台2对其使用角度进行转动,进而转动尸体头部的解剖角度进行调节,在转动头部支撑台2的时候,连接槽4会在连接轴3的表面转动;
作为优选的,头部支撑台2的一侧还设有用于对头部支撑台2的转动角度进行固定的限位组件,限位组件包括固定安装于头部支撑台2一侧的限位管5,连接轴3的表面与限位管5的内壁转动连接,限位管5的表面螺纹连接有限位杆6,限位杆6的一端贯穿限位管5并延伸至限位管5的内腔与连接轴3的表面贴合;
通过限位组件的设置,在将头部支撑台2的使用角度调节完成后,使用者拧紧限位杆6将头部支撑台2的使用角度进行限位固定,在头部支撑台2进行角度调节转动的时候,会带动限位管5在连接轴3的表面转动;
其中,头部支撑台2的前后两侧均对称设有由于对解剖头部进行固定的定位组件,定位组件包括固定安装于滑座9顶部的支撑杆11,支撑杆11的顶部固定安装有固定座12,固定座12的表面嵌设有螺纹管13,螺纹管13的内腔螺纹连接有定位杆14,定位杆14的两端均贯穿螺纹管13并延伸至螺纹管13的外部,定位杆14的一端固定安装有手柄15,定位杆14的另一端通过连接座16转动连接有定位板17,定位组件通过滑动组件连接固定于头部支撑台2的表面,滑动组件包括开设于头部支撑台2前后两侧的滑槽7,滑槽7的内腔滑动连接有滑板8,头部支撑台2的前后两侧均滑动连接有滑座9,滑板8的一侧贯穿滑槽7并延伸至滑槽7的外部与滑座9的内壁固定连接;
通过滑动组件和定位组件的设置,使用者可通过滑动组件对定位组件的使用位置进行调节,使用者可通过在头部支撑台2的表面推动滑座9的使用位置对定位组件的使用位置进行调节,通过滑板8和滑槽7的配合使用,可以提升滑座9移动的稳定性,在将定位组件的使用位置调节完成后,使用者可转动手柄15,手柄15的转动会带动定位杆14转动,由于定位杆14的表面与螺纹管13之间为螺纹连接的连接方式,当定位杆14转动的时候会带动其本身进行移动,定位杆14的移动会带动定位板17移动,四组定位板17可将尸体头部定位固定在头部支撑台2的顶部,本实施例中四组定位杆14均呈向尸体头部的方向呈倾斜设置,可以提升对尸体头部固定的稳定性;
值得说明的是,滑座9的表面螺纹连接有锁紧杆10,锁紧杆10的一端贯穿滑座9并延伸至滑座9的内腔与头部支撑台2的表面贴合,在将定位组件的使用位置调节完成后,使用者可拧紧锁紧杆10将滑座9的使用位置进行固定,进而对定位组件的与头部支撑台2之间的连接位置进行固定,头部支撑台2的顶部固定安装有支撑垫18,定位板17远离定位杆14的一侧固定连接有橡胶垫座19,通过支撑垫18与橡胶垫座19的配合使用,可以对尸体头部起到保护作用,防止尸体头部与定位杆14和头部支撑台2直接接触而在固定的过程中被损坏。
尽管已经示出和描述了本实用新型的实施例,对于本领域的普通技术人员而言,可以理解在不脱离本实用新型的原理和精神的情况下可以对这些实施例进行多种变化、修改、替换和变型,本实用新型的范围由所附权利要求及其等同物限定。

Claims (7)

1.一种头部解剖用固定装置,包括解剖台(1),其特征在于:所述解剖台(1)的一侧设有头部支撑台(2),所述头部支撑台(2)与解剖台(1)之间设有可对头部支撑台(2)的使用角度进行转动调节的连接组件,所述头部支撑台(2)通过连接组件与解剖台(1)转动连接在一起,所述头部支撑台(2)的一侧还设有用于对头部支撑台(2)的转动角度进行固定的限位组件,所述头部支撑台(2)的前后两侧均对称设有由于对解剖头部进行固定的定位组件,所述定位组件通过滑动组件连接固定于头部支撑台(2)的表面。
2.根据权利要求1所述的一种头部解剖用固定装置,其特征在于:所述连接组件包括固定安装于解剖台(1)一侧的连接轴(3),所述头部支撑台(2)的内部开设有与连接轴(3)相适配的连接槽(4),所述连接槽(4)的内壁与连接轴(3)的表面转动连接,所述连接轴(3)的一端贯穿连接槽(4)并延伸至连接槽(4)的外部。
3.根据权利要求2所述的一种头部解剖用固定装置,其特征在于:所述限位组件包括固定安装于头部支撑台(2)一侧的限位管(5),所述连接轴(3)的表面与限位管(5)的内壁转动连接,所述限位管(5)的表面螺纹连接有限位杆(6),所述限位杆(6)的一端贯穿限位管(5)并延伸至限位管(5)的内腔与连接轴(3)的表面贴合。
4.根据权利要求1所述的一种头部解剖用固定装置,其特征在于:所述滑动组件包括开设于头部支撑台(2)前后两侧的滑槽(7),所述滑槽(7)的内腔滑动连接有滑板(8),所述头部支撑台(2)的前后两侧均滑动连接有滑座(9),所述滑板(8)的一侧贯穿滑槽(7)并延伸至滑槽(7)的外部与滑座(9)的内壁固定连接。
5.根据权利要求4所述的一种头部解剖用固定装置,其特征在于:所述滑座(9)的表面螺纹连接有锁紧杆(10),所述锁紧杆(10)的一端贯穿滑座(9)并延伸至滑座(9)的内腔与头部支撑台(2)的表面贴合。
6.根据权利要求4所述的一种头部解剖用固定装置,其特征在于:所述定位组件包括固定安装于滑座(9)顶部的支撑杆(11),所述支撑杆(11)的顶部固定安装有固定座(12),所述固定座(12)的表面嵌设有螺纹管(13),所述螺纹管(13)的内腔螺纹连接有定位杆(14),所述定位杆(14)的两端均贯穿螺纹管(13)并延伸至螺纹管(13)的外部,所述定位杆(14)的一端固定安装有手柄(15),所述定位杆(14)的另一端通过连接座(16)转动连接有定位板(17)。
7.根据权利要求6所述的一种头部解剖用固定装置,其特征在于:所述头部支撑台(2)的顶部固定安装有支撑垫(18),所述定位板(17)远离定位杆(14)的一侧固定连接有橡胶垫座(19)。
CN202222894285.0U 2022-11-01 2022-11-01 一种头部解剖用固定装置 Expired - Fee Related CN218607258U (zh)

Priority Applications (1)

Application Number Priority Date Filing Date Title
CN202222894285.0U CN218607258U (zh) 2022-11-01 2022-11-01 一种头部解剖用固定装置

Applications Claiming Priority (1)

Application Number Priority Date Filing Date Title
CN202222894285.0U CN218607258U (zh) 2022-11-01 2022-11-01 一种头部解剖用固定装置

Publications (1)

Publication Number Publication Date
CN218607258U true CN218607258U (zh) 2023-03-14

Family

ID=85473896

Family Applications (1)

Application Number Title Priority Date Filing Date
CN202222894285.0U Expired - Fee Related CN218607258U (zh) 2022-11-01 2022-11-01 一种头部解剖用固定装置

Country Status (1)

Country Link
CN (1) CN218607258U (zh)

Similar Documents

Publication Publication Date Title
CN107355646A (zh) 一种角度可调的计算机显示器底座
CN204232558U (zh) 制图桌
CN218607258U (zh) 一种头部解剖用固定装置
CN217815925U (zh) 一种便于携带的录像机用可调节支架
CN210812262U (zh) 一种普外科临床用甲状腺手术辅助装置
CN220459337U (zh) 一种采血时手臂摆放架
CN219179841U (zh) 一种档案管理用数据交互设备
CN216819192U (zh) 一种用于电气工程及其自动化的漏电管线修补装置
CN210930177U (zh) 一种学生管理用宣讲桌
CN220794286U (zh) 一种环境监测仪器用支撑结构
CN221723888U (zh) 一种便于调节的支撑固定座
CN221958450U (zh) 一种相机倾角调节装置
CN219461238U (zh) 一种牛结节性皮肤病便捷式采样装置
CN219475974U (zh) 一种方便携带的投影装置
CN219963657U (zh) 一种雾化杯固定装置
CN220513072U (zh) 一种包扎辅助装置
CN219606491U (zh) 一种便于固定的投影设备
CN221902834U (zh) 一种英语专业教学宣讲用的支架
CN108392304B (zh) 一种股骨颈骨折术用复位牵引器
CN223257916U (zh) 一种视频拍摄用辅助架
CN221019450U (zh) 一种可靠性高的焊装夹具
CN219418312U (zh) 一种背单词的辅助设备
CN221469336U (zh) 小提琴演练辅助器
CN221643721U (zh) 一种具有调节夹持大小功能的翻板机
CN221811179U (zh) 一种信息记录板

Legal Events

Date Code Title Description
GR01 Patent grant
GR01 Patent grant
CF01 Termination of patent right due to non-payment of annual fee
CF01 Termination of patent right due to non-payment of annual fee

Granted publication date: 20230314