CN218597114U - Water surface sundry collecting and processing equipment - Google Patents
Water surface sundry collecting and processing equipment Download PDFInfo
- Publication number
- CN218597114U CN218597114U CN202223232721.4U CN202223232721U CN218597114U CN 218597114 U CN218597114 U CN 218597114U CN 202223232721 U CN202223232721 U CN 202223232721U CN 218597114 U CN218597114 U CN 218597114U
- Authority
- CN
- China
- Prior art keywords
- collection box
- fixedly installed
- water
- pipe
- collection
- Prior art date
- Legal status (The legal status is an assumption and is not a legal conclusion. Google has not performed a legal analysis and makes no representation as to the accuracy of the status listed.)
- Expired - Fee Related
Links
- XLYOFNOQVPJJNP-UHFFFAOYSA-N water Substances O XLYOFNOQVPJJNP-UHFFFAOYSA-N 0.000 title claims abstract description 68
- 238000009434 installation Methods 0.000 claims abstract description 4
- 238000004140 cleaning Methods 0.000 abstract description 5
- 238000005086 pumping Methods 0.000 abstract description 5
- 230000000694 effects Effects 0.000 abstract description 2
- 238000010586 diagram Methods 0.000 description 4
- 230000009286 beneficial effect Effects 0.000 description 1
- 230000007547 defect Effects 0.000 description 1
- 238000005516 engineering process Methods 0.000 description 1
- 238000000034 method Methods 0.000 description 1
Images
Classifications
-
- Y—GENERAL TAGGING OF NEW TECHNOLOGICAL DEVELOPMENTS; GENERAL TAGGING OF CROSS-SECTIONAL TECHNOLOGIES SPANNING OVER SEVERAL SECTIONS OF THE IPC; TECHNICAL SUBJECTS COVERED BY FORMER USPC CROSS-REFERENCE ART COLLECTIONS [XRACs] AND DIGESTS
- Y02—TECHNOLOGIES OR APPLICATIONS FOR MITIGATION OR ADAPTATION AGAINST CLIMATE CHANGE
- Y02A—TECHNOLOGIES FOR ADAPTATION TO CLIMATE CHANGE
- Y02A20/00—Water conservation; Efficient water supply; Efficient water use
- Y02A20/20—Controlling water pollution; Waste water treatment
- Y02A20/204—Keeping clear the surface of open water from oil spills
Landscapes
- Filtration Of Liquid (AREA)
Abstract
本实用新型涉及杂物收集处理设备技术领域,且公开了一种水面杂物收集处理设备,解决了目前难以对水域进行全面彻底的清理,导致杂物收集清理效果差的问题,其包括收集箱,所述收集箱的右侧固定安装有排水管,收集箱的内部固定安装有滤网,收集箱的顶部安装有打捞机构和辅助机构,打捞机构与辅助机构连接;本实用新型,通过抽水泵和输水管以及连接管和抽水管之间的配合,继而能够抽取水面上的杂物进行到收集箱内,并通过滤网进行过滤收集,并通过电机和转轴以及主动齿轮和从动齿轮之间的配合,继而能够使得安装柱转动,并使得抽水管带动漏斗的转动,从而便于对水域进行全面彻底的清理。
The utility model relates to the technical field of sundry collection and treatment equipment, and discloses a water surface sundry collection and treatment equipment, which solves the problem that it is difficult to clean up water areas comprehensively and thoroughly at present, resulting in poor collection and cleaning effect of sundries, which includes a collection box , the right side of the collection box is fixedly installed with a drainage pipe, the inside of the collection box is fixedly installed with a filter screen, the top of the collection box is equipped with a salvage mechanism and an auxiliary mechanism, and the salvage mechanism is connected with the auxiliary mechanism; Cooperate with the water pipe, the connecting pipe and the water pumping pipe, and then the sundries on the water surface can be pumped into the collection box, filtered and collected through the filter, and passed between the motor and the rotating shaft, as well as the driving gear and the driven gear. The cooperation can then make the installation column rotate, and make the water suction pipe drive the rotation of the funnel, so as to facilitate the comprehensive and thorough cleaning of the water area.
Description
技术领域technical field
本实用新型属于杂物收集处理设备技术领域,具体为一种水面杂物收集处理设备。The utility model belongs to the technical field of debris collection and treatment equipment, in particular to a water surface debris collection and treatment equipment.
背景技术Background technique
对于护城河、景区湖泊等面积较小的水域来说,水流平稳,流动性差,而且居民、游客众多,容易在水面上产生塑料袋、空瓶等大量堆积杂物,污染水面,影响美观,现有技术中,针对水面上杂物的清理,一般为工作人员在船上,视水域面积大小自动清理或人工打捞,但是,工作人员在船上清理水面杂物,依然存在以下问题:For small water areas such as moats and scenic lakes, the water flow is stable and the fluidity is poor, and there are many residents and tourists, it is easy to produce a large amount of debris such as plastic bags and empty bottles on the water surface, polluting the water surface and affecting the appearance. In the technology, for the cleaning of debris on the water surface, the staff are usually on the ship, and they are automatically cleaned or manually salvaged depending on the size of the water area. However, the following problems still exist when the staff cleans up the debris on the water surface on the ship:
工作人员在船上,通过在船头设置过滤网,然后利用船只的来回行走自动清理杂物,杂物收集后容易掉落,运行时灵活性差,难以对水域进行全面彻底的清理,导致杂物收集清理效果差。When the staff is on the ship, they set up a filter on the bow, and then use the boat to move back and forth to automatically clean up the debris. After the debris is collected, it is easy to fall, and the flexibility is poor during operation. It is difficult to completely clean the water area, resulting in debris collection. Cleanup is poor.
实用新型内容Utility model content
针对上述情况,为克服现有技术的缺陷,本实用新型提供一种水面杂物收集处理设备,有效的解决了目前难以对水域进行全面彻底的清理,导致杂物收集清理效果差的问题。In view of the above situation, in order to overcome the defects of the prior art, the utility model provides a water surface sundry collection and treatment equipment, which effectively solves the problem that it is difficult to completely and thoroughly clean the water area at present, resulting in poor collection and cleaning effect of sundries.
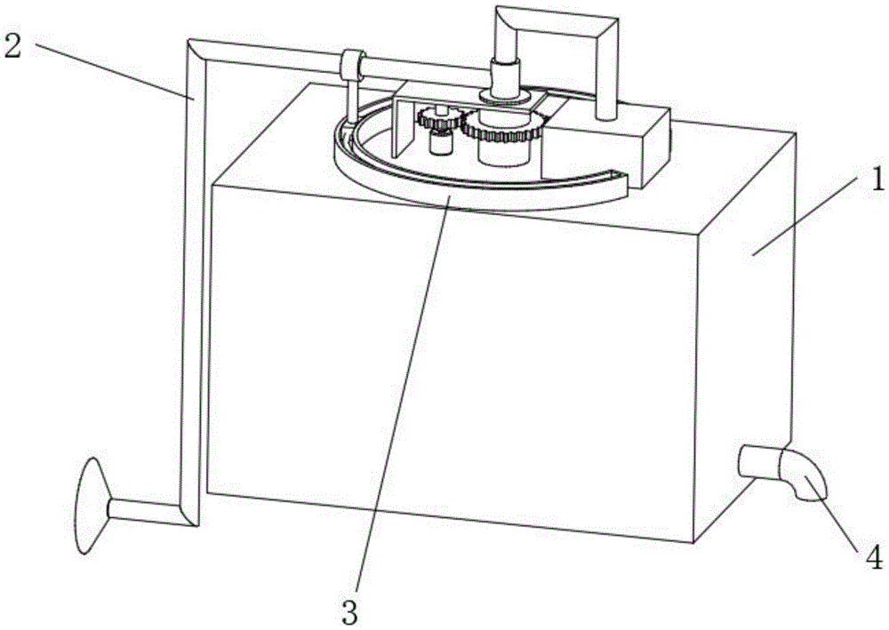
为实现上述目的,本实用新型提供如下技术方案:一种水面杂物收集处理设备,包括收集箱,所述收集箱的右侧固定安装有排水管,收集箱的内部固定安装有滤网,收集箱的顶部安装有打捞机构和辅助机构,打捞机构与辅助机构连接;In order to achieve the above purpose, the utility model provides the following technical solutions: a water surface debris collection and treatment equipment, including a collection box, the right side of the collection box is fixedly installed with a drain pipe, and the inside of the collection box is fixedly installed with a filter screen to collect The top of the box is installed with a salvage mechanism and an auxiliary mechanism, and the salvage mechanism is connected with the auxiliary mechanism;
打捞机构包括位于收集箱顶部的安装柱,安装柱的底端与收集箱的顶部转动连接,安装柱的顶部固定安装有连接管,连接管的左侧固定安装有抽水管,抽水管的底端固定安装有漏斗,连接管的内侧套设有输水管,输水管的底端固定安装有抽水泵,抽水泵固定于收集箱的顶部。The salvage mechanism includes a mounting column located on the top of the collection box, the bottom of the mounting column is rotatably connected to the top of the collecting box, a connecting pipe is fixedly installed on the top of the mounting column, a suction pipe is fixedly installed on the left side of the connecting pipe, and the bottom of the suction pipe A funnel is fixedly installed, the inner side of the connecting pipe is covered with a water pipe, the bottom end of the water pipe is fixedly installed with a water pump, and the water pump is fixed on the top of the collection box.
优选的,所述收集箱的顶部固定安装有L型板,L型板与安装柱转动连接,L型板的内部顶壁转动连接有转轴,转轴的外侧固定安装有主动齿轮,转轴的底端固定安装有电机,电机的底部与收集箱的顶部固定连接。Preferably, an L-shaped plate is fixedly installed on the top of the collection box, and the L-shaped plate is rotatably connected to the mounting column. The inner top wall of the L-shaped plate is rotatably connected to a rotating shaft, and the outer side of the rotating shaft is fixedly installed with a driving gear. The bottom end of the rotating shaft A motor is fixedly installed, and the bottom of the motor is fixedly connected with the top of the collecting box.
优选的,所述安装柱的外侧固定安装有从动齿轮,从动齿轮位于L型板的内部,从动齿轮与主动齿轮啮合。Preferably, a driven gear is fixedly installed on the outside of the mounting column, the driven gear is located inside the L-shaped plate, and the driven gear meshes with the driving gear.
优选的,所述辅助机构包括固定于收集箱顶部的弧形杆,弧形杆的顶部设有顶槽,顶槽的内部固定安装有内杆,内杆的外侧活动安装有滑块,滑块位于顶槽的内部。Preferably, the auxiliary mechanism includes an arc-shaped rod fixed on the top of the collection box, the top of the arc-shaped rod is provided with a top groove, the inside of the top groove is fixedly installed with an inner rod, and the outer side of the inner rod is movably installed with a slider. Located inside the top slot.
优选的,所述滑块的顶部固定安装有支撑柱,支撑柱的顶端固定安装有固定环,固定环与抽水管固定套接。Preferably, a supporting column is fixedly installed on the top of the slider, and a fixing ring is fixedly installed on the top of the supporting column, and the fixing ring is fixedly sleeved with the water suction pipe.
与现有技术相比,本实用新型的有益效果是:Compared with the prior art, the beneficial effects of the utility model are:
(1)、本实用新型,通过抽水泵和输水管以及连接管和抽水管之间的配合,继而能够抽取水面上的杂物进行到收集箱内,并通过滤网进行过滤收集,并通过电机和转轴以及主动齿轮和从动齿轮之间的配合,继而能够使得安装柱转动,并使得抽水管带动漏斗的转动,从而便于对水域进行全面彻底的清理;(1), the utility model, through the cooperation between the water pump and the water delivery pipe and the connection pipe and the water suction pipe, can then extract the sundries on the water surface into the collection box, filter and collect them through the filter screen, and pass them through the motor The cooperation with the rotating shaft and the driving gear and the driven gear can then make the installation column rotate, and make the suction pipe drive the rotation of the funnel, so as to facilitate the comprehensive and thorough cleaning of the water area;
(2)、该新型通过固定环和支撑柱以及滑块和内杆之间的配合,继而当抽水管转动时能够使得滑块沿着内杆滑动,从而对抽水管进行支撑,便于抽水管平稳转动。(2) Through the cooperation between the fixed ring and the supporting column, the slider and the inner rod, the new type can make the slider slide along the inner rod when the water pipe rotates, thereby supporting the water pipe, so that the water pipe is stable turn.
附图说明Description of drawings
附图用来提供对本实用新型的进一步理解,并且构成说明书的一部分,与本实用新型的实施例一起用于解释本实用新型,并不构成对本实用新型的限制。The accompanying drawings are used to provide a further understanding of the utility model, and constitute a part of the description, and are used to explain the utility model together with the embodiments of the utility model, and do not constitute a limitation to the utility model.
在附图中:In the attached picture:
图1为本实用新型水面杂物收集处理设备结构示意图;Fig. 1 is the structure schematic diagram of the utility model water surface sundry collection treatment equipment;
图2为本实用新型收集箱剖视结构示意图;Fig. 2 is the utility model collection box sectional structure schematic diagram;
图3为本实用新型打捞机构结构示意图;Fig. 3 is a structural schematic diagram of the utility model salvage mechanism;
图4为本实用新型辅助机构结构示意图;Fig. 4 is a schematic structural diagram of the auxiliary mechanism of the utility model;
图中:1、收集箱;2、打捞机构;201、安装柱;202、电机;203、抽水管;204、漏斗;205、L型板;206、主动齿轮;207、转轴;208、连接管;209、输水管;2010、抽水泵;2011、从动齿轮;3、辅助机构;301、弧形杆;302、顶槽;303、滑块;304、固定环;305、支撑柱;306、内杆;4、排水管;5、滤网。In the figure: 1, collection box; 2, salvage mechanism; 201, installation column; 202, motor; 203, suction pipe; 204, funnel; 205, L-shaped plate; 206, driving gear; 207, rotating shaft; 208, connecting pipe ; 209, water pipe; 2010, water pump; 2011, driven gear; 3, auxiliary mechanism; 301, arc rod; 302, top groove; 303, slider; 304, fixed ring; 305, support column; 306, Inner rod; 4, drainage pipe; 5, filter screen.
具体实施方式Detailed ways
下面将结合本实用新型实施例中的附图,对本实用新型实施例中的技术方案进行清楚、完整地描述,显然,所描述的实施例仅仅是本实用新型一部分实施例,而不是全部的实施例;基于本实用新型中的实施例,本领域普通技术人员在没有做出创造性劳动前提下所获得的所有其他实施例,都属于本实用新型保护的范围。The technical solutions in the embodiments of the present invention will be clearly and completely described below in conjunction with the accompanying drawings in the embodiments of the present invention. Obviously, the described embodiments are only part of the embodiments of the present invention, not all of them. Example: Based on the embodiments of the present utility model, all other embodiments obtained by persons of ordinary skill in the art without making creative efforts belong to the protection scope of the present utility model.
实施例一,由图1-图4给出,本实用新型包括收集箱1,收集箱1的右侧固定安装有排水管4,收集箱1的内部固定安装有滤网5,收集箱1的顶部安装有打捞机构2和辅助机构3,打捞机构2与辅助机构3连接。Embodiment one, provided by Fig. 1-Fig. 4, the utility model comprises
实施例二,在实施例一的基础上,打捞机构2包括位于收集箱1顶部的安装柱201,安装柱201的底端与收集箱1的顶部转动连接,安装柱201的顶部固定安装有连接管208,连接管208的左侧固定安装有抽水管203,抽水管203的底端固定安装有漏斗204,连接管208的内侧套设有输水管209,输水管209的底端固定安装有抽水泵2010,抽水泵2010固定于收集箱1的顶部,收集箱1的顶部固定安装有L型板205,L型板205与安装柱201转动连接,L型板205的内部顶壁转动连接有转轴207,转轴207的外侧固定安装有主动齿轮206,转轴207的底端固定安装有电机202,电机202的底部与收集箱1的顶部固定连接,安装柱201的外侧固定安装有从动齿轮2011,从动齿轮2011位于L型板205的内部,从动齿轮2011与主动齿轮206啮合;
首先启动抽水泵2010,通过漏斗204抽取水面上的杂物,并通过抽水管203和连接管208以及输水管209进入到收集箱1内部,同时杂物位于滤网5的顶部进行过滤收集,而水通过排水管4排出重新流入水域内,然后启动电机202,带动转轴207的转动,并通过主动齿轮206和从动齿轮2011的啮合作用带动安装柱201的转动,并带动连接管208的转动,然后通过抽水管203带动漏斗204的转动,最后对水域进行全面彻底的清理。First start the
实施例三,在实施例一的基础上,辅助机构3包括固定于收集箱1顶部的弧形杆301,弧形杆301的顶部设有顶槽302,顶槽302的内部固定安装有内杆306,内杆306的外侧活动安装有滑块303,滑块303位于顶槽302的内部,滑块303的顶部固定安装有支撑柱305,支撑柱305的顶端固定安装有固定环304,固定环304与抽水管203固定套接;
当抽水管203转动时,此时通过固定环304和固定环304带动滑块303沿着内杆306移动,并对抽水管203起到支撑的作用,从而便于抽水管203平稳的转动。When the
工作原理:在使用时,首先启动抽水泵2010,通过漏斗204抽取水面上的杂物,并通过抽水管203和连接管208以及输水管209进入到收集箱1内部,同时杂物位于滤网5的顶部进行过滤收集,而水通过排水管4排出重新流入水域内,然后启动电机202,带动转轴207的转动,并通过主动齿轮206和从动齿轮2011的啮合作用带动安装柱201的转动,并带动连接管208的转动,然后通过抽水管203带动漏斗204的转动,最后对水域进行全面彻底的清理,当抽水管203转动时,此时通过固定环304和固定环304带动滑块303沿着内杆306移动,并对抽水管203起到支撑的作用,从而便于抽水管203平稳的转动。Working principle: when in use, first start the
Claims (5)
Priority Applications (1)
| Application Number | Priority Date | Filing Date | Title |
|---|---|---|---|
| CN202223232721.4U CN218597114U (en) | 2022-12-04 | 2022-12-04 | Water surface sundry collecting and processing equipment |
Applications Claiming Priority (1)
| Application Number | Priority Date | Filing Date | Title |
|---|---|---|---|
| CN202223232721.4U CN218597114U (en) | 2022-12-04 | 2022-12-04 | Water surface sundry collecting and processing equipment |
Publications (1)
| Publication Number | Publication Date |
|---|---|
| CN218597114U true CN218597114U (en) | 2023-03-10 |
Family
ID=85409735
Family Applications (1)
| Application Number | Title | Priority Date | Filing Date |
|---|---|---|---|
| CN202223232721.4U Expired - Fee Related CN218597114U (en) | 2022-12-04 | 2022-12-04 | Water surface sundry collecting and processing equipment |
Country Status (1)
| Country | Link |
|---|---|
| CN (1) | CN218597114U (en) |
-
2022
- 2022-12-04 CN CN202223232721.4U patent/CN218597114U/en not_active Expired - Fee Related
Similar Documents
| Publication | Publication Date | Title |
|---|---|---|
| CN216640246U (en) | Road bridge is with preventing stifled pipeline | |
| CN117644475A (en) | Negative pressure dust collector is used in processing of polishing | |
| CN218597114U (en) | Water surface sundry collecting and processing equipment | |
| CN221815667U (en) | A multifunctional spray dust removal equipment | |
| CN218775252U (en) | Component cleaning mechanism for machining middle chuck gas source plate | |
| CN218590079U (en) | Municipal administration is environment-friendly dust device for health engineering | |
| CN108756334A (en) | A kind of pond dirt sewage cleaner | |
| CN113908655B (en) | An air dust removal filtration device used in construction projects | |
| CN211275798U (en) | A self-cleaning mechanism of a sewage suction tank | |
| CN219376335U (en) | Water source filtering device for water conservancy construction | |
| CN219094698U (en) | Polishing and grinding device for castings | |
| CN221889374U (en) | Grease filtering device | |
| CN220408247U (en) | Rust removal equipment with sewage recovery unit | |
| CN219921697U (en) | Flushing drainage equipment | |
| CN220072626U (en) | Cleaning equipment with cleaning fluid filtering structure | |
| CN112081423A (en) | Swimming pool water filter equipment | |
| CN221537464U (en) | A tipping bucket eddy current double tank cleaning machine | |
| CN218963435U (en) | A cleaning device for mechanical parts | |
| CN217792798U (en) | Building external window cleaning device utilizing renewable energy | |
| CN220539876U (en) | Anti-blocking centrifugal pump | |
| CN220461490U (en) | Instrument and meter surface dust removing equipment | |
| CN222092778U (en) | A viscose-based carbon felt cleaning device | |
| CN222442902U (en) | Frying equipment with oil-water separation | |
| CN221412593U (en) | Dust fall device for petroleum exploitation area | |
| CN216935220U (en) | Dust keeper for building engineering |
Legal Events
| Date | Code | Title | Description |
|---|---|---|---|
| GR01 | Patent grant | ||
| GR01 | Patent grant | ||
| CF01 | Termination of patent right due to non-payment of annual fee |
Granted publication date: 20230310 |
|
| CF01 | Termination of patent right due to non-payment of annual fee |
