CN218571781U - A single drawer electric slide rail - Google Patents
A single drawer electric slide rail Download PDFInfo
- Publication number
- CN218571781U CN218571781U CN202222958530.XU CN202222958530U CN218571781U CN 218571781 U CN218571781 U CN 218571781U CN 202222958530 U CN202222958530 U CN 202222958530U CN 218571781 U CN218571781 U CN 218571781U
- Authority
- CN
- China
- Prior art keywords
- drawer
- synchronous
- transmission gear
- rail
- upper rail
- Prior art date
- Legal status (The legal status is an assumption and is not a legal conclusion. Google has not performed a legal analysis and makes no representation as to the accuracy of the status listed.)
- Active
Links
Images
Landscapes
- Drawers Of Furniture (AREA)
Abstract
本实用新型提供一种单抽屉电动滑轨,包括上轨、下轨、衔接上轨、下轨用的中轨,柜体内安装有驱动机构,驱动机构包括驱动电机、传动齿轮组、同步连动杆、同步带、同步齿轮组,传动齿轮组分别设在抽屉左右两侧的后端且可以拆装在对应的下轨上,同步连动杆的两端分别快装在对应的传动齿轮组上,驱动电机后置在抽屉的外侧且驱动电机的输出轴与其中的传动齿轮组啮合连接,抽屉左右两侧的前端分别安装有同步齿轮组,同步带分别套接在同步齿轮组、传动齿轮组上,上轨安装有齿条,齿条可以拆装在上轨且与同步齿轮组啮合连接。结构简单,空间占用少,加强同步运行,减少噪音,提升结构稳定性,保证产品的使用质量。
The utility model provides a single-drawer electric slide rail, which includes an upper rail, a lower rail, and a middle rail connecting the upper rail and the lower rail. A driving mechanism is installed in the cabinet. The driving mechanism includes a driving motor, a transmission gear set, and a synchronous linkage. Rod, synchronous belt, synchronous gear set, the transmission gear set is respectively set at the rear end of the left and right sides of the drawer and can be disassembled on the corresponding lower rail, and the two ends of the synchronous linkage rod are respectively quickly installed on the corresponding transmission gear set , the driving motor is placed on the outside of the drawer and the output shaft of the driving motor is meshed with the transmission gear set. The front ends of the left and right sides of the drawer are respectively equipped with synchronous gear sets, and the synchronous belts are respectively sleeved on the synchronous gear set and the transmission gear set On the top, the upper rail is equipped with a rack, which can be disassembled on the upper rail and meshed with the synchronous gear set. Simple structure, less space occupation, enhanced synchronous operation, reduced noise, improved structural stability, and guaranteed product quality.
Description
技术领域technical field
本实用新型涉及滑轨的技术领域,具体说是一种单抽屉电动滑轨。The utility model relates to the technical field of slide rails, in particular to a single-drawer electric slide rail.
背景技术Background technique
滑轨主要供在家具、电器的抽屉开合用的,其安装在在抽屉和柜体之间。现有的滑轨大部分是手动式的,由使用者施加拉力或推力将抽屉开合。但是,当抽屉负载过重时,使用者需要较大的拉力或推力,费力又容易损坏滑轨,降低产品的使用寿命。The slide rail is mainly used for opening and closing the drawers of furniture and electrical appliances, and it is installed between the drawer and the cabinet body. Most of the existing slide rails are manual, and the drawer is opened and closed by the user applying a pulling force or a pushing force. However, when the load of the drawer is too heavy, the user needs a large pulling or pushing force, which is laborious and easily damages the slide rails, reducing the service life of the product.
为此,市场上出现电机驱动的电动滑轨,可实现抽屉自动推拉,其主要利用电机驱动齿轮沿驱动齿条带动滑动导轨支架以及滑动导轨作水平移动。For this reason, there is an electric slide rail driven by a motor on the market, which can realize the automatic push and pull of the drawer. It mainly utilizes the motor drive gear to drive the slide rail support and the slide rail to move horizontally along the drive rack.
可是,上述结构的电动滑轨在实际应用中存在以下不足:However, the electric slide rail with the above structure has the following deficiencies in practical application:
1)驱动电机固定安装在固定导轨和固定导轨支架之间,占用空间大,降低抽屉容积。1) The drive motor is fixedly installed between the fixed guide rail and the fixed guide rail bracket, which takes up a lot of space and reduces the volume of the drawer.
2)传统驱动电机的安装占用滑轨的负重,降低滑轨的使用稳定性。2) The installation of the traditional driving motor occupies the load of the slide rail, which reduces the stability of the slide rail.
3)传统电动滑轨在运行过程中同步性能差,且使用同步杆使用结构复杂,装配要求高,难以维护与更换。3) The synchronization performance of the traditional electric slide rail is poor during operation, and the structure of the synchronous rod is complex, the assembly requirements are high, and it is difficult to maintain and replace.
4)传统电动滑轨使用过程中,容易出现晃动,噪音大,降低使用体验。4) During the use of traditional electric slide rails, it is prone to shaking and loud noise, which reduces the user experience.
实用新型内容Utility model content
本实用新型的目的在于克服现有技术的不足,提供一种单抽屉电动滑轨,其结构简单,空间占用少,加强同步运行,减少噪音,提升结构稳定性,保证产品的使用质量。The purpose of the utility model is to overcome the deficiencies of the prior art and provide a single-drawer electric slide rail, which has a simple structure, takes up less space, strengthens synchronous operation, reduces noise, improves structural stability, and ensures the quality of use of the product.
本实用新型的发明目的是这样实现的:一种单抽屉电动滑轨,包括安装在抽屉上的上轨、安装在柜体上的下轨、衔接上轨、下轨用的中轨,其中,所述柜体内安装有带上轨动作用的驱动机构,所述驱动机构包括驱动电机、传动齿轮组、同步连动杆、同步带、同步齿轮组,所述传动齿轮组分别设在抽屉左右两侧的后端且可以拆装在对应的下轨上,所述同步连动杆的两端分别快装在对应的传动齿轮组上,所述驱动电机后置在抽屉的外侧且驱动电机的输出轴与其中的传动齿轮组啮合连接,所述抽屉左右两侧的前端分别安装有同步齿轮组,所述同步带分别套接在同步齿轮组、传动齿轮组上,所述上轨安装有随着与同步齿轮组转动以前后直线移动用的齿条,所述齿条可以拆装在上轨且与同步齿轮组啮合连接。The purpose of the invention of this utility model is achieved as follows: a single-drawer electric slide rail, including the upper rail installed on the drawer, the lower rail installed on the cabinet body, and the middle rail used to connect the upper rail and the lower rail, wherein, A driving mechanism with rail action is installed in the cabinet, and the driving mechanism includes a driving motor, a transmission gear set, a synchronous linkage rod, a synchronous belt, and a synchronous gear set. The rear end of the side and can be disassembled on the corresponding lower rail. The two ends of the synchronous linkage rod are quickly installed on the corresponding transmission gear sets. The drive motor is placed on the outside of the drawer and the output of the drive motor The shaft is meshed with the transmission gear set, and the front ends of the left and right sides of the drawer are respectively equipped with synchronous gear sets. The rack is used for linear movement before and after rotation with the synchronous gear set, and the rack can be disassembled on the upper rail and meshed with the synchronous gear set.
根据上述进行优化,所述上轨设有与抽屉快速装配用的上支架,所述上支架设有与上轨扣装连接用的连接卡位和与抽屉扣装连接用的安装卡位。According to the above optimization, the upper rail is provided with an upper bracket for quick assembly with the drawer, and the upper bracket is provided with a connection card position for buckle connection with the upper rail and an installation card position for buckle connection with the drawer.
根据上述进行优化,所述上轨设有连接门支架,所述连接门支架卡装在上支架的前端,且连接门支架安装有随着上轨滑移以开合在柜体用的门板。According to the above optimization, the upper rail is provided with a connecting door bracket, the connecting door bracket is clamped on the front end of the upper bracket, and the connecting door bracket is installed with a door panel that slides with the upper rail to open and close the cabinet.
根据上述进行优化,所述上轨的内侧设有若干个与齿条卡装用的凸扣位,所述齿条安装有与上轨固定连接用的固定螺钉。According to the above optimization, the inner side of the upper rail is provided with several convex buckles for clamping with the rack, and the rack is equipped with fixing screws for fixed connection with the upper rail.
根据上述进行优化,所述柜体内的左右两侧分别设有与对应的下轨固定连接用的左支架和右支架,所述传动齿轮组转动连接在左支架和右支架上。According to the above optimization, the left and right sides of the cabinet are respectively provided with a left bracket and a right bracket for fixed connection with the corresponding lower rail, and the transmission gear set is rotatably connected to the left bracket and the right bracket.
根据上述进行优化,所述驱动电机可以拆装在左支架或右支架上。According to the above optimization, the drive motor can be disassembled on the left bracket or the right bracket.
根据上述进行优化,所述柜体内的左右两侧分别设有与下轨快速装配用的安装板,所述安装板安装有与同步齿轮组转动连接用的固定支架。According to the above optimization, the left and right sides of the cabinet are respectively provided with mounting plates for quick assembly with the lower rail, and the mounting plates are equipped with fixed brackets for rotational connection with the synchronous gear set.
根据上述进行优化,所述传动齿轮组包括分别在抽屉左右两侧的左传动齿轮件、右传动齿轮件,所述同步带分别与左传动齿轮件、右传动齿轮件啮合连接,所述驱动电机的输出轴与左传动齿轮件或与右传动齿轮件啮合连接,所述左传动齿轮件、右传动齿轮件分别插装在同步连动杆两端。Optimized according to the above, the transmission gear set includes a left transmission gear and a right transmission gear respectively on the left and right sides of the drawer, the synchronous belt is meshed with the left transmission gear and the right transmission gear respectively, and the drive motor The output shaft is meshed with the left transmission gear or with the right transmission gear, and the left transmission gear and the right transmission gear are respectively inserted in the two ends of the synchronous linkage rod.
本实用新型的优点在于:The utility model has the advantages of:
1)本结构的驱动电机采取后置安装方式,空间占用少,加强滑轨结构稳定性。1) The driving motor of this structure adopts the rear installation method, which occupies less space and enhances the structural stability of the slide rail.
2)本结构的驱动电机连接在下轨上,不占用滑轨的负重,提升滑轨的使用寿命。2) The drive motor of this structure is connected to the lower rail, which does not take up the load of the slide rail and improves the service life of the slide rail.
3)本结构采用同步连动杆的快拆结构,加强滑轨同步运行,又实现快速装配,操作方便,易于维护与更换,确保滑轨的使用质量。3) This structure adopts the quick-release structure of the synchronous linkage rod, which strengthens the synchronous operation of the slide rails, and realizes quick assembly, convenient operation, easy maintenance and replacement, and ensures the quality of the slide rails.
4)本结构配合同步带、驱动电机、同步齿轮组的结构,使传动更稳定,减少噪音的产生,提升产品的使用体验。4) This structure cooperates with the structure of the synchronous belt, drive motor, and synchronous gear set to make the transmission more stable, reduce the generation of noise, and improve the user experience of the product.
附图说明Description of drawings
附图1为本实用新型较佳实施例的结构示意图。Accompanying
附图2为本实用新型较佳实施例的结构示意图(去掉柜体)。
附图3为本实用新型较佳实施例的结构示意图(去掉柜体与抽屉)。Accompanying
附图4为本实用新型较佳实施例的结构示意图。Accompanying
附图5为本实用新型较佳实施例的分解图。Accompanying
附图6为本实用新型较佳实施例驱动机构的分解图。Accompanying
具体实施方式Detailed ways
下面结合附图对本实用新型作进一步的描述。Below in conjunction with accompanying drawing, the utility model is further described.
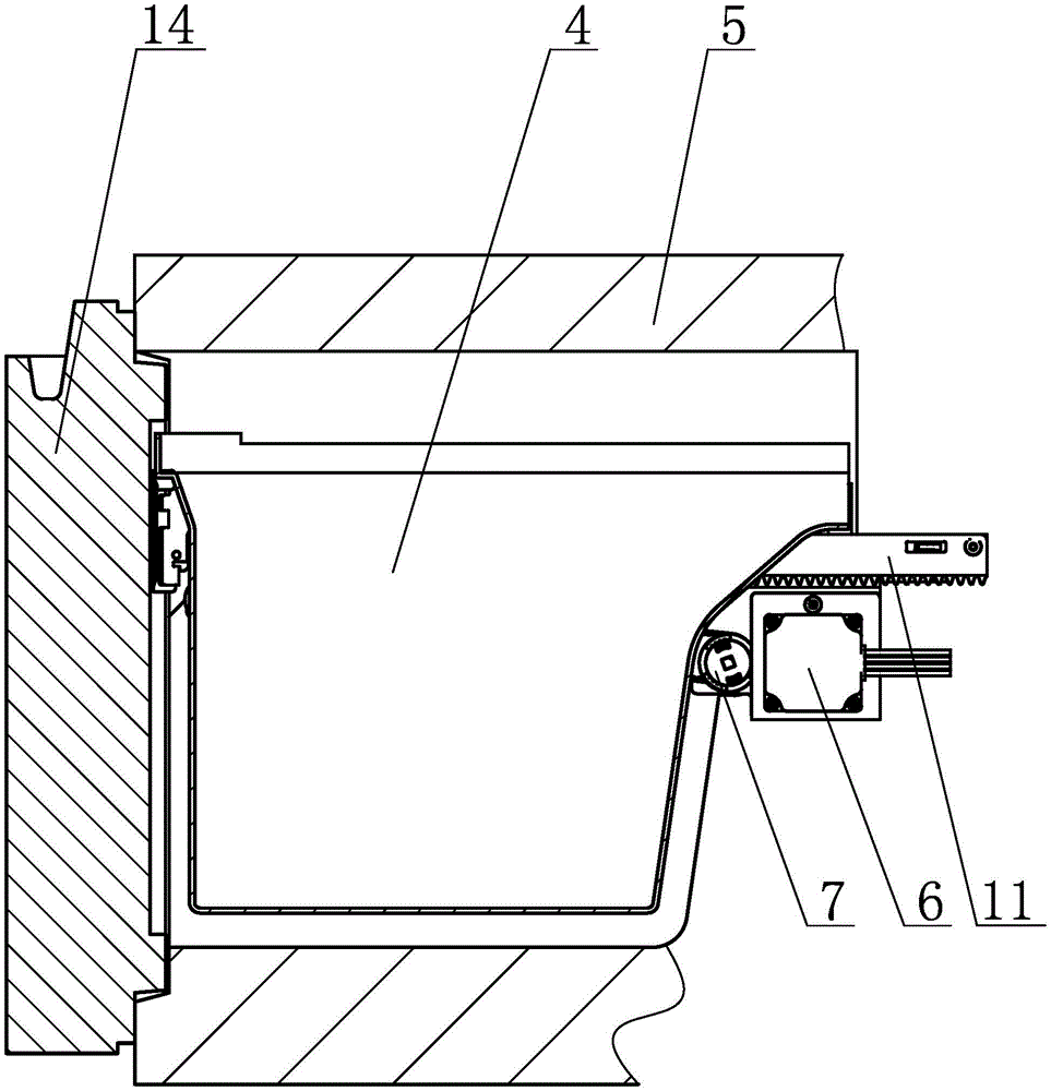
根据附图1至图6所示,本实用新型的单抽屉电动滑轨,包括安装在抽屉4上的上轨1、安装在柜体5上的下轨3、衔接上轨1、下轨3用的中轨2。其中,所述柜体5内安装有带上轨1动作用的驱动机构,所述驱动机构包括驱动电机6、传动齿轮组7、同步连动杆8、同步带9、同步齿轮组10。所述传动齿轮组7分别设在抽屉4左右两侧的后端且可以拆装在对应的下轨3上,所述同步连动杆8的两端分别快装在对应的传动齿轮组7上。所述驱动电机6后置在抽屉4的外侧且驱动电机6的输出轴与其中的传动齿轮组7啮合连接。这样,本结构的驱动电机6采取后置安装方式,空间占用少,加强滑轨结构稳定性。According to the accompanying
参照图1至图6所示,所述抽屉4左右两侧的前端分别安装有同步齿轮组10,所述同步带9分别套接在同步齿轮组10、传动齿轮组7上。通过同步带9与左传动齿轮件71、右传动齿轮件72的结构配合,使传动更稳定,减少噪音的产生,提升产品的使用体验。1 to 6, the front ends of the left and right sides of the
而且,所述上轨1安装有随着与同步齿轮组10转动以前后直线移动用的齿条11,所述齿条11可以拆装在上轨1且与同步齿轮组10啮合连接。Moreover, the
在优化方案中,所述柜体5内的左右两侧分别设有与下轨3快速装配用的安装板19,所述安装板19安装有与同步齿轮组10转动连接用的固定支架20。In the optimized solution, the left and right sides of the
在固定支架20与安装板19的结构配合下,快速装配同步齿轮组10,简化操作步骤,又提升同步齿轮组10运行的可靠性与稳定性。Under the cooperation of the
参照图1至图6所示,进一步细化,所述柜体5内的左右两侧分别设有与对应的下轨3固定连接用的左支架17和右支架18,所述传动齿轮组7转动连接在左支架17和右支架18上。Referring to Figures 1 to 6, further refinement, the left and right sides of the
在优化方案中,所述驱动电机6可以拆装在左支架17或右支架18上,以使驱动电机6连接在下轨3上,不占用滑轨的负重,提升滑轨的使用寿命。In the optimized solution, the
参照图1至图6所示,进一步细化,所述上轨1设有与抽屉4快速装配用的上支架12,所述上支架12设有与上轨1扣装连接用的连接卡位121和与抽屉4扣装连接用的安装卡位122。Referring to Fig. 1 to Fig. 6, for further refinement, the
通过配合连接卡位121与安装卡位122的结构,使上轨1与抽屉4快速拆装,方便现场装配,易于操作,提升装配效率,又保护产品的使用质量。By cooperating with the structure of the
另外,所述上轨1的内侧设有若干个与齿条11卡装用的凸扣位15,所述齿条11安装有与上轨1固定连接用的固定螺钉16。In addition, the inner side of the
在凸扣位15、固定螺钉16的作用下,使齿条11快速装配,又增加结构稳固性,避免齿条11晃动,保证产品的使用效果。Under the action of the
同时,所述上轨1设有连接门支架13,所述连接门支架13卡装在上支架12的前端,且连接门支架13安装有随着上轨1滑移以开合在柜体5用的门板14。装配简单,结构实用可靠,且能实现自动开合抽屉4的同时自动开合门板14,自动化高。At the same time, the
参照图1至图6所示,所述传动齿轮组7包括分别在抽屉4左右两侧的左传动齿轮件71、右传动齿轮件72。所述同步带9分别与左传动齿轮件71、右传动齿轮件72啮合连接,所述驱动电机6的输出轴与左传动齿轮件71或与右传动齿轮件72啮合连接,所述左传动齿轮件71、右传动齿轮件72插装在同步连动杆8两端。1 to 6, the
通过连接架21与卡接孔73的结构配合,实现同步连动杆8采用快拆结构装配在左传动齿轮件71、右传动齿轮件72上,加强滑轨同步运行,又实现快速装配,操作方便,易于维护与更换,确保滑轨的使用质量。Through the structural cooperation between the connecting frame 21 and the
值得注意的是,驱动电机6可以选用步进电机,这样配合同步带9、步进电机、同步齿轮组10的结构,使传动更稳定,减少噪音的产生,提升产品的使用体验。It is worth noting that the
上述具体实施例仅为本实用新型效果较好的具体实施方式,凡与本实用新型的单抽屉电动滑轨相同或等同的结构,均在本实用新型的保护范围内。The specific embodiments above are only specific implementations with better effects of the utility model, and any structures that are the same or equivalent to the single-drawer electric slide rail of the utility model are within the scope of protection of the utility model.
Claims (8)
Priority Applications (1)
| Application Number | Priority Date | Filing Date | Title |
|---|---|---|---|
| CN202222958530.XU CN218571781U (en) | 2022-11-07 | 2022-11-07 | A single drawer electric slide rail |
Applications Claiming Priority (1)
| Application Number | Priority Date | Filing Date | Title |
|---|---|---|---|
| CN202222958530.XU CN218571781U (en) | 2022-11-07 | 2022-11-07 | A single drawer electric slide rail |
Publications (1)
| Publication Number | Publication Date |
|---|---|
| CN218571781U true CN218571781U (en) | 2023-03-07 |
Family
ID=85377310
Family Applications (1)
| Application Number | Title | Priority Date | Filing Date |
|---|---|---|---|
| CN202222958530.XU Active CN218571781U (en) | 2022-11-07 | 2022-11-07 | A single drawer electric slide rail |
Country Status (1)
| Country | Link |
|---|---|
| CN (1) | CN218571781U (en) |
-
2022
- 2022-11-07 CN CN202222958530.XU patent/CN218571781U/en active Active
Similar Documents
| Publication | Publication Date | Title |
|---|---|---|
| CN211130333U (en) | Synchronous sliding rail of electric drawer | |
| CN102620402B (en) | Air conditioner indoor unit panel | |
| CN218571781U (en) | A single drawer electric slide rail | |
| CN101387433A (en) | Auto switching device for air outlet of indoor set of cabinet air-conditioner | |
| CN102488399B (en) | Wheel-type drawer slide rail | |
| CN219845672U (en) | Drawer with automatic cover plate opening and closing functions | |
| CN220192536U (en) | Electric drawer | |
| CN102871381B (en) | Drawer adjusting device | |
| CN102383661B (en) | Safe pick-proof electronic lock | |
| CN210471524U (en) | An electric drawer slide | |
| CN218182744U (en) | Flat push formula switch board convenient to overhaul and maintain | |
| CN115000835B (en) | Expandable combined power distribution cabinet | |
| CN213144138U (en) | Handle lock of narrow-frame side-hung glass door | |
| CN212507886U (en) | Automatic sliding door opening and closing device | |
| CN115778123A (en) | Double-drawer driving mechanism | |
| CN216893872U (en) | Magnetic lock convenient to install | |
| CN211380356U (en) | Integrated kitchen drawer basket | |
| CN218999882U (en) | A Quick Dismounting Mechanism for Synchronous Slide Rails | |
| CN202354863U (en) | Wheel type slide track of drawer | |
| CN209435605U (en) | A kind of electrical control cabinet plate that is slidably installed | |
| CN208972946U (en) | Rectangular cabinet side frame with lifting socket | |
| CN223158087U (en) | Electric telescopic mechanism | |
| CN219733140U (en) | Track assembly of triple-acting flat-open sliding door | |
| CN218125084U (en) | PLC cabinet capable of being assembled quickly | |
| CN217427472U (en) | Adjustable drawer switch cabinet |
Legal Events
| Date | Code | Title | Description |
|---|---|---|---|
| GR01 | Patent grant | ||
| GR01 | Patent grant | ||
| CP03 | Change of name, title or address | ||
| CP03 | Change of name, title or address |
Address after: 225300 north side of Yongfeng Road, high tech Industrial Park, Gaogang District, Taizhou City, Jiangsu Province Patentee after: Jiangsu Jiuxing Precision Technology Co.,Ltd. Country or region after: China Address before: 225300 north side of Yongfeng Road, high tech Industrial Park, Gaogang District, Taizhou City, Jiangsu Province Patentee before: Jiangsu Jiuxing Precision Technology Group Co.,Ltd. Country or region before: China |
