CN218548971U - Short circuit wiring auxiliary device - Google Patents
Short circuit wiring auxiliary device Download PDFInfo
- Publication number
- CN218548971U CN218548971U CN202222385266.5U CN202222385266U CN218548971U CN 218548971 U CN218548971 U CN 218548971U CN 202222385266 U CN202222385266 U CN 202222385266U CN 218548971 U CN218548971 U CN 218548971U
- Authority
- CN
- China
- Prior art keywords
- conductive plate
- auxiliary device
- short
- rod
- circuit wiring
- Prior art date
- Legal status (The legal status is an assumption and is not a legal conclusion. Google has not performed a legal analysis and makes no representation as to the accuracy of the status listed.)
- Active
Links
Images
Landscapes
- Testing Of Short-Circuits, Discontinuities, Leakage, Or Incorrect Line Connections (AREA)
Abstract
本实用新型提供了一种短路接线辅助装置,涉及电力设备的技术领域,该短路接线辅助装置包括辅助装置主体,所述辅助装置主体包括第一导电板和第二导电板,且所述第一导电板和所述第二导电板相对设置。本实用新型提供的短路接线辅助装置的辅助装置主体的第一导电板和第二导电板之间设置有施压弹簧,施压弹簧使第一导电板和第二导电板具有相对运动的趋势,即将辅助装置主体套设在接线板上的时候,第一导电板和第二导电板在施压弹簧的作用下,夹持接线板,使辅助装置主体不易从接线板上脱离,即将铜线的两端分别设置一个辅助装置主体,这样在变压器短路接线的时候,使铜线不易脱落,优化了变压器的试验接线。
The utility model provides a short-circuit wiring auxiliary device, which relates to the technical field of electric equipment. The short-circuit wiring auxiliary device includes an auxiliary device main body, the auxiliary device main body includes a first conductive plate and a second conductive plate, and the first The conductive plate is opposite to the second conductive plate. The auxiliary device main body of the short-circuit wiring auxiliary device provided by the utility model is provided with a pressure spring between the first conductive plate and the second conductive plate, and the pressure spring makes the first conductive plate and the second conductive plate have a tendency of relative movement, When the main body of the auxiliary device is sleeved on the wiring board, the first conductive plate and the second conductive plate clamp the wiring board under the action of the pressure spring, so that the main body of the auxiliary device is not easy to be separated from the wiring board, that is, the connection of the copper wire An auxiliary device main body is arranged at both ends, so that when the transformer is short-circuited, the copper wire is not easy to fall off, and the test connection of the transformer is optimized.
Description
技术领域technical field
本实用新型涉及电力设备的技术领域,尤其是涉及一种短路接线辅助装置。The utility model relates to the technical field of electric equipment, in particular to a short-circuit wiring auxiliary device.
背景技术Background technique
变压器在进行绝缘电阻测试、介质损耗测试、交流耐压、短路阻抗测试等试验项目时,均需将变压器的高压、中压及低压绕组的所有接线板进行短路接线。目前采用最多的短路接线方法是试验人员使用裸铜线依次将各相套管的接线板缠绕短接。试验人员需要根据实际情况不断调整裸铜线的长度,并考虑裸铜线终端的固定问题,在220kV变压器上短接时,试验人员还需反复攀爬套管,高空作业危及人员安全。When the transformer is performing insulation resistance test, dielectric loss test, AC withstand voltage, short-circuit impedance test and other test items, it is necessary to short-circuit all the wiring boards of the high-voltage, medium-voltage and low-voltage windings of the transformer. At present, the most widely used short-circuit wiring method is that the testers use bare copper wires to wind and short-circuit the wiring boards of the bushings of each phase in turn. The testers need to constantly adjust the length of the bare copper wire according to the actual situation, and consider the fixing of the bare copper wire terminal. When the 220kV transformer is short-circuited, the tester needs to repeatedly climb the bushing, and working at heights endangers the safety of personnel.
此外裸铜线在使用线夹固定时存在脱落的风险,多次使用后还会发生散股甚至断裂的情况。综上可发现,传统的方法在进行电力变压器短路接线时耗时、耗力、作业风险高。In addition, there is a risk of falling off the bare copper wire when it is fixed with a wire clamp, and it may become loose or even break after repeated use. In summary, it can be found that the traditional method is time-consuming, labor-intensive, and high-risk when performing short-circuit wiring of power transformers.
实用新型内容Utility model content
本实用新型的目的在于提供短路接线辅助装置,以缓解变压器在短路接线的时候,裸铜线容易脱落的技术问题。The purpose of the utility model is to provide a short-circuit wiring auxiliary device to alleviate the technical problem that the bare copper wire is easy to fall off when the transformer is short-circuited.
本实用新型提供一种短路接线辅助装置,包括辅助装置主体,所述辅助装置主体包括第一导电板和第二导电板,且所述第一导电板和所述第二导电板相对设置,所述第一导电板的第一方向的两端分别设置有一个施压弹簧,且两个所述施压弹簧分别与第二导电板的第一方向的两端对应连接;The utility model provides an auxiliary device for short-circuit wiring, which includes a main body of the auxiliary device, the main body of the auxiliary device includes a first conductive plate and a second conductive plate, and the first conductive plate and the second conductive plate are arranged oppositely, so that Both ends of the first conductive plate in the first direction are respectively provided with a pressure spring, and the two pressure springs are respectively connected to the two ends of the second conductive plate in the first direction;
所述第一方向与所述第一导电板到所述第二导电板的方向垂直。The first direction is perpendicular to the direction from the first conductive plate to the second conductive plate.
在可选的实施方式中,所述第一导电板和所述第二导电板的材质为铜。In an optional embodiment, the first conductive plate and the second conductive plate are made of copper.
在可选的实施方式中,所述第一导电板的远离所述第二导电板的一侧设置有第一安装孔,在所述第一安装孔上设置有第一固定螺栓。In an optional embodiment, a first installation hole is provided on a side of the first conductive plate away from the second conductive plate, and a first fixing bolt is provided on the first installation hole.
在可选的实施方式中,还包括连接线,所述连接线的一端设置有第一连接片,在所述第一连接片上设置有第一连接孔,所述第一固定螺栓穿设在所述第一连接孔内。In an optional embodiment, it also includes a connection line, one end of the connection line is provided with a first connection piece, a first connection hole is provided on the first connection piece, and the first fixing bolt is passed through the inside the first connecting hole.
在可选的实施方式中,所述第一导电板和/或所述第二导电板的表面镀银。In an optional embodiment, the surface of the first conductive plate and/or the second conductive plate is plated with silver.
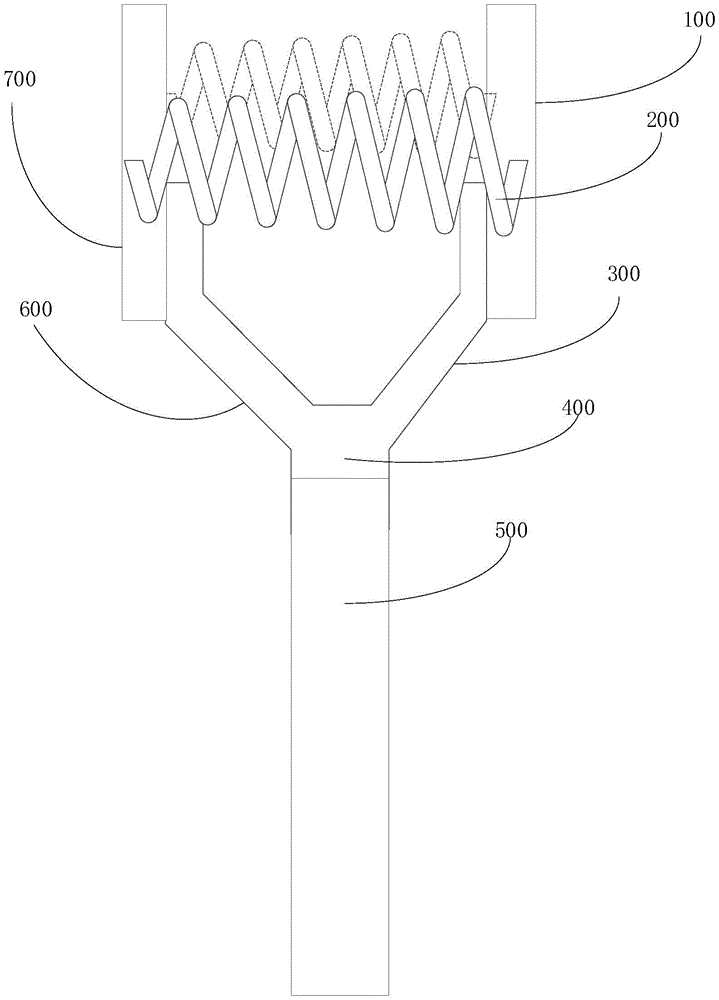
在可选的实施方式中,还包括绝缘杆,所述绝缘杆包括延长杆和支架,所支架可拆卸设置在所述延长杆的一端;In an optional embodiment, it also includes an insulating rod, the insulating rod includes an extension rod and a bracket, and the bracket is detachably arranged at one end of the extension rod;
所述支架包括连接杆、第一支杆和第二支杆,所述连接杆的一端螺接在所述延长杆上,所述第一支杆的一端和所述第二支杆的一端均与所述连接杆的远离所述延长杆的一端连接,所述第一支杆、所述第二支杆和所述连接杆形成Y型结构。The bracket includes a connecting rod, a first rod and a second rod, one end of the connecting rod is screwed on the extension rod, one end of the first rod and one end of the second rod are Connected with an end of the connecting rod away from the extension rod, the first support rod, the second support rod and the connecting rod form a Y-shaped structure.
在可选的实施方式中,所述第二导电板的远离所述第一导电板的一侧设置有第二安装孔,在所述第二安装孔上设置有第二固定螺栓。In an optional embodiment, a second mounting hole is provided on a side of the second conductive plate away from the first conductive plate, and a second fixing bolt is provided on the second mounting hole.
在可选的实施方式中,所述连接线的另一端设置有第二连接片,在所述第二连接片上设置有第二连接孔,所述第二固定螺栓穿设在所述第二连接孔内。In an optional embodiment, the other end of the connecting wire is provided with a second connecting piece, and a second connecting hole is arranged on the second connecting piece, and the second fixing bolt is passed through the second connecting piece. inside the hole.
在可选的实施方式中,所述连接线包括铜线和套设在所述铜线外的透明的绝缘护套,在所述铜线的两端分别设置所述第一连接片和所述第二连接片。In an optional embodiment, the connecting wire includes a copper wire and a transparent insulating sheath sheathed outside the copper wire, and the first connecting piece and the Second connecting piece.
在可选的实施方式中,所述施压弹簧分别与所述第一导电板和所述第二导电板可拆卸连接。In an optional embodiment, the pressing springs are detachably connected to the first conductive plate and the second conductive plate, respectively.
本实用新型提供的短路接线辅助装置的辅助装置主体的第一导电板和第二导电板之间设置有施压弹簧,施压弹簧使第一导电板和第二导电板具有相对运动的趋势,即将辅助装置主体套设在接线板上的时候,第一导电板和第二导电板在施压弹簧的作用下,夹持接线板,使辅助装置主体不易从接线板上脱离,即将铜线的两端分别设置一个辅助装置主体,这样在变压器短路接线的时候,使铜线不易脱落,优化了变压器的试验接线。The auxiliary device main body of the short-circuit connection auxiliary device provided by the utility model is provided with a pressure spring between the first conductive plate and the second conductive plate, and the pressure spring makes the first conductive plate and the second conductive plate have a tendency of relative movement, When the main body of the auxiliary device is sleeved on the wiring board, the first conductive plate and the second conductive plate clamp the wiring board under the action of the pressure spring, so that the main body of the auxiliary device is not easy to be separated from the wiring board, that is, the copper wire An auxiliary device main body is arranged at both ends, so that when the transformer is short-circuited, the copper wire is not easy to fall off, and the test connection of the transformer is optimized.
附图说明Description of drawings
为了更清楚地说明本实用新型具体实施方式或现有技术中的技术方案,下面将对具体实施方式或现有技术描述中所需要使用的附图作简单地介绍,显而易见地,下面描述中的附图是本实用新型的一些实施方式,对于本领域普通技术人员来讲,在不付出创造性劳动的前提下,还可以根据这些附图获得其他的附图。In order to more clearly illustrate the specific implementation of the utility model or the technical solutions in the prior art, the accompanying drawings that need to be used in the description of the specific implementation or the prior art will be briefly introduced below. Obviously, the following descriptions The accompanying drawings are some implementations of the utility model, and those skilled in the art can also obtain other drawings according to these drawings without any creative work.
图1为本实用新型实施例提供的短路接线辅助装置的结构示意图;Fig. 1 is a schematic structural view of a short-circuit wiring auxiliary device provided by an embodiment of the present invention;
图2为图1所示的短路接线辅助装置的应用到变压器短路接线的结构示意图;Fig. 2 is a structural schematic diagram of the application of the short-circuit wiring auxiliary device shown in Fig. 1 to the short-circuit wiring of a transformer;
图3为图1所示的短路接线辅助装置的应用到变压器的接线板下引功能的结构示意图。FIG. 3 is a schematic structural diagram of the short-circuit wiring auxiliary device shown in FIG. 1 applied to the wiring board down-leading function of a transformer.
图标:100-第一导电板;200-施压弹簧;300-第一支杆;400-连接杆;500-延长杆;600-第二支杆;700-第二导电板;800-辅助装置主体;900-接线板;110-变压器;120-连接线。Icon: 100-the first conductive plate; 200-the pressure spring; 300-the first rod; 400-connecting rod; 500-extended rod; 600-the second rod; 700-the second conductive plate; Main body; 900-wiring board; 110-transformer; 120-connecting line.
具体实施方式Detailed ways
下面将结合实施例对本实用新型的技术方案进行清楚、完整地描述,显然,所描述的实施例是本实用新型一部分实施例,而不是全部的实施例。基于本实用新型中的实施例,本领域普通技术人员在没有做出创造性劳动前提下所获得的所有其他实施例,都属于本实用新型保护的范围。The technical solution of the utility model will be clearly and completely described below in conjunction with the embodiments. Apparently, the described embodiments are part of the embodiments of the utility model, but not all of them. Based on the embodiments of the present utility model, all other embodiments obtained by persons of ordinary skill in the art without making creative efforts belong to the scope of protection of the present utility model.
参照图1,本实用新型提供一种短路接线辅助装置,包括辅助装置主体800,所述辅助装置主体800包括第一导电板100和第二导电板700,且所述第一导电板100和所述第二导电板700相对设置,所述第一导电板100的第一方向的两端分别设置有一个施压弹簧200,且两个所述施压弹簧200分别与第二导电板700的第一方向的两端对应连接;Referring to FIG. 1 , the utility model provides a short-circuit wiring auxiliary device, including an auxiliary device
所述第一方向与所述第一导电板100到所述第二导电板700的方向垂直。The first direction is perpendicular to the direction from the first
在一些实施例中,第一导向板到第二导向板的方向与第一方向垂直,第一导电板100的第一方向的两端分别连接有一个施压弹簧200,两个施压弹簧200的一端分别与第一导向板的一端连接,两个施压弹簧200的另一端分别与第二导电板700的一端连接,当辅助装置主体800套设在接线板900上的时候,施压弹簧200处于伸长状态,即两个施压弹簧200使第一导电板100和第二导电板700相向移动,即使第一导电板100和第二导电板700夹持接线板900,使辅助装置主体800与接线板900牢固连接,铜线与辅助装置主体800连接,这样实现在测试变压器110短路的时候,铜线不易与接线板900脱离。In some embodiments, the direction from the first guide plate to the second guide plate is perpendicular to the first direction, and the two ends of the first
在可选的实施方式中,所述第一导电板100和所述第二导电板700的材质为铜。In an optional embodiment, the first
在可选的实施方式中,所述第一导电板100的远离所述第二导电板700的一侧设置有第一安装孔,在所述第一安装孔上设置有第一固定螺栓。In an optional embodiment, a first installation hole is provided on a side of the first
在可选的实施方式中,还包括连接线120,所述连接线120的一端设置有第一连接片,在所述第一连接片上设置有第一连接孔,所述第一固定螺栓穿设在所述第一连接孔内。In an optional embodiment, it also includes a connecting
为了方便连接线120与辅助装置主体800连接,在第一导向板上设置有第一安装孔,连接线120上设置的第一连接片上设置有第一连接孔;第一固定螺栓穿设在第一连接片的第一连接孔内以后,再螺接在第一安装孔内,这样实现了连接线120与第一导电板100的连接。In order to facilitate the connection between the connecting
在可选的实施方式中,所述第一导电板100和/或所述第二导电板700的表面镀银。In an optional embodiment, the surface of the first
第一导电板100和第二导电板700的材质均为铜,为了增加第一导电板100和第二导电板700的耐磨性,在第一导电板100和第二导电板700的表面镀银;材质为铜且表面镀银的第一导电板100和第二导电板700能满足试验用电流要求,结构简单,体积小、接触面大、用料少、载流量大,导电性好及热稳定性高。The material of the first
在可选的实施方式中,还包括绝缘杆,所述绝缘杆包括延长杆500和支架,所支架可拆卸设置在所述延长杆500的一端;In an optional embodiment, an insulating rod is also included, the insulating rod includes an
所述支架包括连接杆400、第一支杆300和第二支杆600,所述连接杆400的一端螺接在所述延长杆500上,所述第一支杆300的一端和所述第二支杆600的一端均与所述连接杆400的远离所述延长杆500的一端连接,所述第一支杆300、所述第二支杆600和所述连接杆400形成Y型结构。The bracket includes a connecting
为了方便试验人员将短路接线辅助装置安装在高处的接线板900上,该短路接线辅助装置还包括绝缘杆,该绝缘杆包括延长杆500和支架,该支架与延长杆500可拆卸连接,一般支架螺接在延长杆500上。In order to facilitate the test personnel to install the short-circuit wiring auxiliary device on the
辅助装置主体800的第一导电板100和第二导电板700能够在施压弹簧200的作用下,套设在支架上,即试验人员使第一导电板100和第二导电板700克服施压弹簧200的弹力,将第一支杆300和第二支杆600插入到第一导电板100和第二导电板700之间,施压弹簧200使第一导电板100和第二导电板700夹紧支架。The first
试验人员通过延长杆500将辅助装置主体800移动到高处,将辅助装置主体800套设在接线板900上,然后试验人员将支架从辅助装置主体800的下端拉出,即使辅助装置主体800固定在接线板900上。The tester moves the auxiliary device
当需要将辅助装置主体800从接线板900上取下的时候,延长杆500将支架插入到第一导电板100好第二导电板700之间,然后旋转延长杆500,使支架的第一支杆300和第二支杆600分别向第一导电板100和第二导电板700施加外力,使第一导电板100和第二导电板700之间的距离增大,进而辅助装置主体800能够从接线板900上脱离。When it is necessary to remove the auxiliary device
在可选的实施方式中,所述第二导电板700的远离所述第一导电板100的一侧设置有第二安装孔,在所述第二安装孔上设置有第二固定螺栓。In an optional embodiment, a second mounting hole is provided on a side of the second
在可选的实施方式中,所述连接线120的另一端设置有第二连接片,在所述第二连接片上设置有第二连接孔,所述第二固定螺栓穿设在所述第二连接孔内。In an optional embodiment, the other end of the connecting
在一些实施例中,第二导电板700上设置第二安装孔,连接线120的一端设置第一连接片,另一端设置有第二连接片,在第二连接片上设置第二连接孔;第二固定螺栓插入到第二连接孔以后,螺接到第二安装孔内,这样实现了连接线120的另一端与第二导电板700的连接。In some embodiments, a second mounting hole is provided on the second
即相邻的两个辅助装置主体800通过连接线120连接,其中一个辅助装置主体800的第一导电板100与连接线120的一端连接,另一个辅助装置主体800的第二导电板700与连接线120的另一端连接,即将辅助装置主体800安装在接线板900上,这样实现了变压器110的短路接线。That is, two adjacent auxiliary device
在可选的实施方式中,所述连接线120包括铜线和套设在所述铜线外的透明的绝缘护套,在所述铜线的两端分别设置所述第一连接片和所述第二连接片。In an optional embodiment, the connecting
在可选的实施方式中,所述施压弹簧200分别与所述第一导电板100和所述第二导电板700可拆卸连接。In an optional embodiment, the
施压弹簧200的两端分别设置有挂钩,在第一导电板100和第二导电板700上分别设置有与施压弹簧200的挂钩匹配的挂耳。Two ends of the
本实用新型提供的短路接线辅助装置的辅助装置主体800的第一导电板100和第二导电板700之间设置有施压弹簧200,施压弹簧200使第一导电板100和第二导电板700具有相对运动的趋势,即将辅助装置主体800套设在接线板900上的时候,第一导电板100和第二导电板700在施压弹簧200的作用下,夹持接线板900,使辅助装置主体800不易从接线板900上脱离,即将铜线的两端分别设置一个辅助装置主体800,这样在变压器110短路接线的时候,使铜线不易脱落,优化了变压器110的试验接线。A
变压器110是电力系统中重要的变电设备,起到变换电压等级的作用。新变压器110投运前应进行交接试验;为了检测变压器110运行工况,需定期进行变压器110例行试验;为了排除变压器110故障,需进行诊断性试验。在交接、例行及诊断性试验中,绝缘电阻试验、介质损耗测试、交流耐压试验、短路阻抗试验,均需将变压器110的高压、中压及低压绕组的所有接线板900进行短路接线。参照图2和图3,该短路接线辅助装置除了应用与变压器110的短路接线,该短路接线辅助装置还能够用于接触点引到地面,进行接线或者换线操作。The
短路接线辅助装置的辅助装置主体800直接与接线板900直接连接,无需考虑接引至地面的绝缘问题,且效果优于手缠绕裸铜线的质量。辅助装置主体800除了短路接线用途外,也可实现套管的接线板900下引功能,且红、绿、黄、黑色四色接线,可将A(a)、B(b)、C(c)、O(o)相区分开来,规避接线错误的问题。The auxiliary device
最后应说明的是:以上各实施例仅用以说明本实用新型的技术方案,而非对其限制;尽管参照前述各实施例对本实用新型进行了详细的说明,本领域的普通技术人员应当理解:其依然可以对前述各实施例所记载的技术方案进行修改,或者对其中部分或者全部技术特征进行等同替换;而这些修改或者替换,并不使相应技术方案的本质脱离本实用新型各实施例技术方案的范围。Finally, it should be noted that: the above embodiments are only used to illustrate the technical solutions of the present utility model, and are not intended to limit it; although the present utility model has been described in detail with reference to the foregoing embodiments, those of ordinary skill in the art should understand : It is still possible to modify the technical solutions described in the foregoing embodiments, or perform equivalent replacements to some or all of the technical features; and these modifications or replacements do not make the essence of the corresponding technical solutions depart from the various embodiments of the present invention Scope of technical solutions.
Claims (10)
Priority Applications (1)
| Application Number | Priority Date | Filing Date | Title |
|---|---|---|---|
| CN202222385266.5U CN218548971U (en) | 2022-09-08 | 2022-09-08 | Short circuit wiring auxiliary device |
Applications Claiming Priority (1)
| Application Number | Priority Date | Filing Date | Title |
|---|---|---|---|
| CN202222385266.5U CN218548971U (en) | 2022-09-08 | 2022-09-08 | Short circuit wiring auxiliary device |
Publications (1)
| Publication Number | Publication Date |
|---|---|
| CN218548971U true CN218548971U (en) | 2023-02-28 |
Family
ID=85273150
Family Applications (1)
| Application Number | Title | Priority Date | Filing Date |
|---|---|---|---|
| CN202222385266.5U Active CN218548971U (en) | 2022-09-08 | 2022-09-08 | Short circuit wiring auxiliary device |
Country Status (1)
| Country | Link |
|---|---|
| CN (1) | CN218548971U (en) |
-
2022
- 2022-09-08 CN CN202222385266.5U patent/CN218548971U/en active Active
Similar Documents
| Publication | Publication Date | Title |
|---|---|---|
| CN103532047B (en) | A kind of operational method and device changing fuse switch on 10kV post | |
| CN207742254U (en) | A kind of absorption type breaker loop resistor testing tool | |
| CN104535804A (en) | Portable current transformer test clamp | |
| CN207366687U (en) | A kind of cable T connector scene overpressure resistance detecting device | |
| CN218548971U (en) | Short circuit wiring auxiliary device | |
| CN108267676A (en) | A kind of novel ac voltage withstanding detection device | |
| CN207518244U (en) | A kind of 220kV double backs overhead transmission line cable cut-offs bar | |
| CN204241601U (en) | A kind of test fuel tank for high-voltage alternating bushing shell for transformer full working scope certification test | |
| CN207318540U (en) | A kind of transformer test p-wire contact switching device | |
| CN205646196U (en) | Looped netowrk cabinet earthing device | |
| CN107727893A (en) | Easy-to-replaceable arrester Leakage Current table external member | |
| CN208013362U (en) | A kind of novel ac voltage withstanding detection device | |
| CN205229199U (en) | General experimental binding post row of transformer | |
| CN211292995U (en) | A power transformer high voltage lead wire transfer device | |
| CN210690637U (en) | A special short-circuit device for electrical testing of high-voltage transformers | |
| CN210985001U (en) | A 500kV Porcelain Column Circuit Breaker Test Terminal Bar | |
| CN203811635U (en) | Cable insulation test fixture | |
| CN209215494U (en) | A kind of movable fixture for the test of multicolumn lightning arrester connected in parallel current distribution | |
| CN216487635U (en) | 10kV Transformer Station Fixed Grounding Device | |
| CN209375102U (en) | A kind of cross connection grounding case with adjustable conductive connection plates | |
| CN202127101U (en) | Wiring board of separation switch | |
| CN209590077U (en) | Power transformer high-potting multifunctional access wire clamp | |
| CN206340886U (en) | The lossless ground connection distribution of bilateral becomes platform | |
| CN112684273A (en) | Grounding current shunting method for grounding short circuit fault of 110kV full-cable outgoing substation | |
| CN106451160A (en) | Double-sided nondestructive grounding power distribution transformation table |
Legal Events
| Date | Code | Title | Description |
|---|---|---|---|
| GR01 | Patent grant | ||
| GR01 | Patent grant |
