CN218483604U - Pest control device - Google Patents
Pest control device Download PDFInfo
- Publication number
- CN218483604U CN218483604U CN202223017172.9U CN202223017172U CN218483604U CN 218483604 U CN218483604 U CN 218483604U CN 202223017172 U CN202223017172 U CN 202223017172U CN 218483604 U CN218483604 U CN 218483604U
- Authority
- CN
- China
- Prior art keywords
- fixedly connected
- box
- bottom box
- pest control
- control device
- Prior art date
- Legal status (The legal status is an assumption and is not a legal conclusion. Google has not performed a legal analysis and makes no representation as to the accuracy of the status listed.)
- Active
Links
Images
Landscapes
- Catching Or Destruction (AREA)
Abstract
本实用新型公开了一种虫害防治装置,属于虫害防治装置技术领域。本实用新型包括杀虫箱,杀虫箱包括底箱和铰接在底箱顶部的顶盖,杀虫箱的内部设置有杀虫机构;杀虫机构包括固定连接在底箱内部的聚集板,聚集板为凹陷状设置,顶盖内壁的顶部固定连接有诱虫灯,聚集板的表面开设有若干个均布的出气口。本实用新型通过设置杀虫机构,可利用害虫的趋光性将害虫引诱至杀虫箱的内部,之后可通过雾化片将杀虫剂雾化并传输至害虫聚集的聚集板顶部,相较于现有喷洒杀虫剂的杀虫方式,引诱式的杀虫方式能将附近的虫类都吸引至杀虫箱的内部从而对害虫进行杀灭,完成对害虫的高效且全面的杀灭。
The utility model discloses a pest control device, which belongs to the technical field of pest control devices. The utility model comprises an insect killing box, the insect killing box includes a bottom box and a top cover hinged on the top of the bottom box, an insect killing mechanism is arranged inside the insect killing box; the insect killing mechanism includes a gathering plate fixedly connected inside the bottom box, The board is set in a concave shape, the top of the inner wall of the top cover is fixedly connected with an insect trap lamp, and the surface of the gathering board is provided with several evenly distributed air outlets. The utility model can use the phototaxis of the pests to lure the pests to the inside of the pest killing box by setting the insecticidal mechanism, and then atomize the insecticide through the atomizing sheet and transfer it to the top of the gathering plate where the pests gather. There is a way of spraying insecticides, and the lure-type way of killing insects can attract nearby insects to the interior of the insect killing box to kill the pests, and complete the efficient and comprehensive killing of pests.
Description
技术领域technical field
本实用新型属于虫害防治装置技术领域,具体为一种虫害防治装置。The utility model belongs to the technical field of pest control devices, in particular to a pest control device.
背景技术Background technique
为了避免害虫对苹果树造成伤害,果农们一般会定时对苹果树喷洒除虫剂,但是苹果树的枝干和树叶体积都比较大,在喷洒除虫剂的时候会对除虫剂进行一定的阻挡,从而使果树部分部位的害虫无法被杀死,杀虫效率不好,并不能对苹果树进行高效且全面的杀虫,不便于人们的使用,降低了实用性。In order to prevent pests from harming apple trees, fruit farmers usually spray insecticides on apple trees regularly, but the branches and leaves of apple trees are relatively large, so they will spray insecticides to a certain extent when spraying insecticides. Blocking, so that the pests in some parts of the fruit trees cannot be killed, the insecticidal efficiency is not good, and the apple trees cannot be efficiently and comprehensively exterminated, which is not convenient for people to use and reduces the practicality.
因此,需要对虫害防治装置进行设计改造,从而有效的防止其出现苹果树的枝干和树叶体积都比较大,在喷洒除虫剂的时候会对除虫剂进行一定的阻挡,从而使果树部分部位的害虫无法被杀死,杀虫效率不好,并不能对苹果树进行高效且全面杀虫的现象。Therefore, it is necessary to design and transform the pest control device, thereby effectively preventing it from appearing. The branches and leaves of the apple tree are relatively large in size. The pests in the apple trees cannot be killed, and the insecticidal efficiency is not good, and it is impossible to efficiently and comprehensively kill the apple trees.
实用新型内容Utility model content
为解决上述背景技术中提出的问题,本实用新型的目的在于提供一种虫害防治装置,具备高效且全面杀虫的优点,解决了现有的喷洒杀虫剂的杀虫方式的并不能对苹果树进行高效且全面的杀虫问题。In order to solve the problems raised in the above-mentioned background technology, the purpose of this utility model is to provide a pest control device, which has the advantages of high efficiency and comprehensive insecticide, and solves the problem that the existing insecticide spraying method cannot affect apples. trees for efficient and comprehensive pest control.
本实用新型提供如下技术方案:一种虫害防治装置,包括杀虫箱,所述杀虫箱包括底箱和铰接在底箱顶部的顶盖,所述杀虫箱的内部设置有杀虫机构;The utility model provides the following technical solutions: an insect pest control device, comprising an insect killing box, the insect killing box includes a bottom box and a top cover hinged on the top of the bottom box, and an insect killing mechanism is arranged inside the insect killing box;
所述杀虫机构包括固定连接在底箱内部的聚集板,所述聚集板为凹陷状设置,所述顶盖内壁的顶部固定连接有诱虫灯,所述聚集板的表面开设有若干个均布的出气口,所述底箱的四周连通有若干个均布的通管,所述底箱的内部填充有杀虫剂,所述底箱内壁的底部固定连接有导水棉,所述导水棉被杀虫剂浸没,所述导水棉的顶部贴合有雾化片,所述雾化片的四周固定连接有连接环,所述连接环的表面固定连接有若干个均布的连接杆,所述连接杆与底箱固定连接。The insecticidal mechanism includes a gathering plate fixedly connected to the inside of the bottom box, the gathering plate is set in a concave shape, the top of the inner wall of the top cover is fixedly connected with an insect trap lamp, and the surface of the gathering plate is provided with several uniform There are several evenly distributed through pipes connected around the bottom box, the inside of the bottom box is filled with insecticide, and the bottom of the inner wall of the bottom box is fixedly connected with water-conducting cotton. The water cotton is submerged in the insecticide, and the top of the water-conducting cotton is pasted with an atomizing sheet, and a connecting ring is fixedly connected around the atomizing sheet, and several evenly distributed connecting rings are fixedly connected on the surface of the connecting ring. rod, and the connecting rod is fixedly connected with the bottom box.
所述顶盖的顶部固定连接有顶棚,所述顶棚的顶部固定连接有太阳能发电片,所述底箱内部的底部固定连接有蓄电池,所述蓄电池与太阳能发电片和诱虫灯电性连接。The top of the top cover is fixedly connected with a ceiling, the top of the ceiling is fixedly connected with a solar power generation sheet, and the bottom inside the bottom box is fixedly connected with a battery, and the battery is electrically connected with the solar power generation sheet and the insect trap.
所述通管的内壁铰接有透明板,所述透明板与通管闭合,所述通管的内壁固定连接有位于透明板外侧的阻挡件,所述阻挡件与透明板贴合。The inner wall of the through pipe is hinged with a transparent plate, and the transparent plate is closed with the through pipe, and the inner wall of the through pipe is fixedly connected with a blocking member located outside the transparent plate, and the blocking member is attached to the transparent plate.
所述聚集板的顶部固定连接有网片。A mesh is fixedly connected to the top of the gathering plate.
所述连接杆的表面固定连接有若干个均布的加固板,所述加固板与底箱固定连接,所述加固板的具体形状为三角形设置。The surface of the connecting rod is fixedly connected with several evenly distributed reinforcing plates, and the reinforcing plates are fixedly connected with the bottom box, and the specific shape of the reinforcing plates is triangular.
所述底箱的底部固定连接有插接杆,所述插接杆的底部为尖锐设置。The bottom of the bottom box is fixedly connected with a plug-in rod, and the bottom of the plug-in rod is sharp.
本实用新型的有益效果如下:The beneficial effects of the utility model are as follows:
1、本实用新型通过设置杀虫机构,可利用害虫的趋光性将害虫引诱至杀虫箱的内部,之后可通过雾化片将杀虫剂雾化并传输至害虫聚集的聚集板顶部,相较于现有喷洒杀虫剂的杀虫方式,引诱式的杀虫方式能将附近的虫类都吸引至杀虫箱的内部从而对害虫进行杀灭,完成对害虫的高效且全面的杀灭。1. The utility model can use the phototaxis of the pests to lure the pests to the inside of the pest killing box by setting the insecticidal mechanism, and then atomize the insecticide through the atomizing sheet and transfer it to the top of the gathering plate where the pests gather. Compared with the existing insecticidal method of spraying insecticides, the lure-type insecticidal method can attract nearby insects to the interior of the insect killing box to kill the pests, and complete the efficient and comprehensive killing of the pests.
2、本实用新型通过设置顶棚、太阳能发电片和蓄电池,使本装置具有自动发电的优点,可减少本装置对公用电力的占用,提高节能效果。2. The utility model has the advantages of automatic power generation by setting the ceiling, solar power generation sheets and batteries, which can reduce the occupation of public power by the device and improve the energy-saving effect.
附图说明Description of drawings
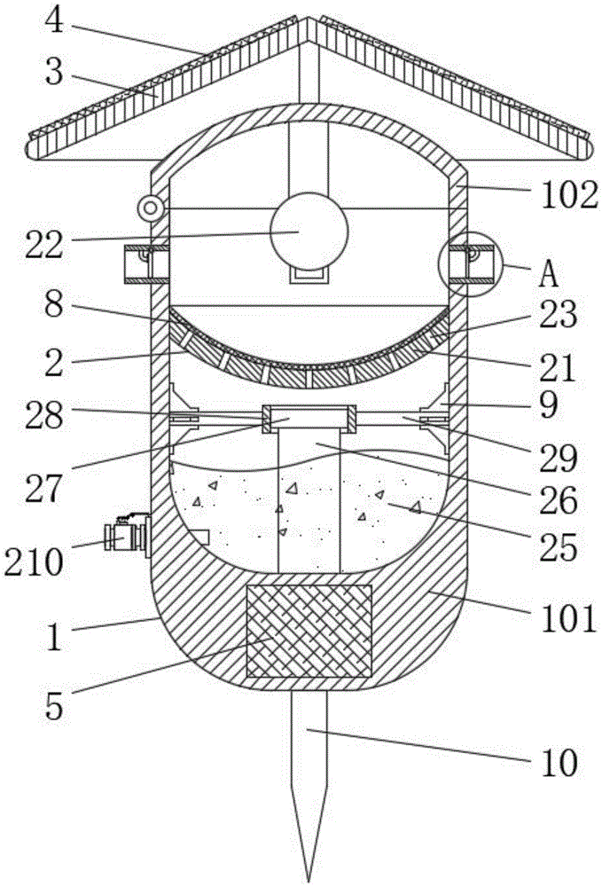
图1为本实用新型结构示意图。Fig. 1 is the structural representation of the utility model.
图2为本实用新型图1中A的放大图。Fig. 2 is an enlarged view of A in Fig. 1 of the present utility model.
具体实施方式Detailed ways
下面将结合本实用新型实施例中的附图,对本实用新型实施例中的技术方案进行清楚、完整地描述。The following will clearly and completely describe the technical solutions in the embodiments of the present invention with reference to the drawings in the embodiments of the present invention.
如图1至图2所示,本实施例虫害防治装置包括杀虫箱1,杀虫箱1包括底箱101和铰接在底箱101顶部的顶盖102,杀虫箱1的内部设置有杀虫机构2;As shown in Figures 1 to 2, the pest control device of the present embodiment includes an
杀虫机构2包括固定连接在底箱101内部的聚集板21,聚集板21为凹陷状设置,顶盖102内壁的顶部固定连接有诱虫灯22,聚集板21的表面开设有若干个均布的出气口23,底箱101的四周连通有若干个均布的通管24,底箱101的内部填充有杀虫剂25,底箱101内壁的底部固定连接有导水棉26,导水棉26被杀虫剂25浸没,导水棉26的顶部贴合有雾化片27,雾化片27的四周固定连接有连接环28,连接环28的表面固定连接有若干个均布的连接杆29,连接杆29与底箱101固定连接,底箱101的一侧固定连接有注水阀210,注水阀210与底箱101连通。The
参考图1,顶盖102的顶部固定连接有顶棚3,顶棚3的顶部固定连接有太阳能发电片4,底箱101内部的底部固定连接有蓄电池5,蓄电池5与太阳能发电片4和诱虫灯22电性连接。Referring to Fig. 1, the top of the
本实施例通过设置顶棚3、太阳能发电片4和蓄电池5,使本装置具有自动发电的优点,可减少本装置对公用电力的占用,提高节能效果。In this embodiment, by setting the
参考图2,通管24的内壁铰接有透明板6,透明板6与通管24闭合,通管24的内壁固定连接有位于透明板6外侧的阻挡件7,阻挡件7与透明板6贴合。Referring to Fig. 2, the inner wall of the
本实施例通过设置透明板6和阻挡件7,使本装置具有防止害虫逃出的情况发生,可对杀虫箱1内部的害虫进行阻挡,避免害虫通过通管24跑出。In this embodiment, by setting the
参考图1,聚集板21的顶部固定连接有网片8。Referring to FIG. 1 , a
本实施例通过设置网片8,使本装置具有撑托害虫的优点,避免害虫将出气口23堵塞,保证出气口23能正常排出雾化的杀虫剂25。In this embodiment, by setting the
参考图1,连接杆29的表面固定连接有若干个均布的加固板9,加固板9与底箱101固定连接,加固板9的具体形状为三角形设置。Referring to Fig. 1, the surface of the connecting
本实施例通过设置加固板9,使本装置具有加固连接的优点,可利用三角形具有较强稳定性的特性对连接杆29进行支撑,从而保证连接杆29的稳定性,避免连接杆29在使用过程中发生晃动的现象。In this embodiment, by setting the
参考图1,底箱101的底部固定连接有插接杆10,插接杆10的底部为尖锐设置。Referring to FIG. 1 , the bottom of the
本实施例通过设置插接杆10,使本装置具有便捷安装的优点,可便捷将本装置插在果林的地面上,同时也可对本装置进行限位,避免本装置在使用的时候发生位移的现象。In this embodiment, by setting the
顶盖102内部的诱虫灯22会通过蓄电池5的电力发出光线,而光线会通过通管24发射出去,进而对害虫进行引诱,利用害虫的趋光性可使害虫通过通管24进入底箱101的内部,进而使害虫聚集在聚集板21的顶部,与此同时底箱101内部的导水棉26会将杀虫剂25输送给连接环28内部的雾化片27,通过雾化片27可将杀虫剂25雾化,之后雾化的杀虫剂25会通过出气口23向上流动至聚集板21的顶部,从而可对聚集板21顶部的害虫进行杀灭,而利用害虫具有趋光性的特性,可使果林中的害虫自动进入杀虫箱1的内部,在这光线的传播能力较远,光线在空气中是可视的特别是晚上,因此每道光线都会对其周围的害虫进行引诱。The
Claims (6)
Priority Applications (1)
| Application Number | Priority Date | Filing Date | Title |
|---|---|---|---|
| CN202223017172.9U CN218483604U (en) | 2022-11-14 | 2022-11-14 | Pest control device |
Applications Claiming Priority (1)
| Application Number | Priority Date | Filing Date | Title |
|---|---|---|---|
| CN202223017172.9U CN218483604U (en) | 2022-11-14 | 2022-11-14 | Pest control device |
Publications (1)
| Publication Number | Publication Date |
|---|---|
| CN218483604U true CN218483604U (en) | 2023-02-17 |
Family
ID=85196639
Family Applications (1)
| Application Number | Title | Priority Date | Filing Date |
|---|---|---|---|
| CN202223017172.9U Active CN218483604U (en) | 2022-11-14 | 2022-11-14 | Pest control device |
Country Status (1)
| Country | Link |
|---|---|
| CN (1) | CN218483604U (en) |
-
2022
- 2022-11-14 CN CN202223017172.9U patent/CN218483604U/en active Active
Similar Documents
| Publication | Publication Date | Title |
|---|---|---|
| CN107960390A (en) | A kind of combined type pest catching machine | |
| CN108902079A (en) | A kind of dual trapping eliminating pest device in farmland and its working method | |
| CN205756720U (en) | Tobacco is planted with luring worm trapping apparatus | |
| CN204540474U (en) | A kind of Pests of Tea-Plants trapper | |
| CN211558542U (en) | Large-coverage-range multipurpose agricultural and forestry pest trapper | |
| CN209788252U (en) | Sex attractant device for trapping and killing pests | |
| CN218483604U (en) | Pest control device | |
| CN211703376U (en) | But remote control's sense of touch start-up formula field atomizing insecticidal device | |
| CN210695612U (en) | Forestry is grown seedlings and is used pest control device | |
| CN207505774U (en) | A kind of combined type pest catching machine | |
| CN204682253U (en) | A kind of rotary disinsector with function of auto-lift | |
| CN218588040U (en) | Rice planting pest trapping net with rain-proof function | |
| CN103548807B (en) | A kind of multipurpose solar agricultural insecticidal drives bird instrument | |
| CN201674902U (en) | Multi-spectrum LED solar insecticidal light | |
| CN213908085U (en) | Insect trapping device for preventing and controlling agricultural diseases and insects | |
| CN212678143U (en) | An agricultural pest trap | |
| CN213095656U (en) | Solar high-voltage insect killing device | |
| CN201591085U (en) | Multifunctional electronic bug killer | |
| CN207252634U (en) | Agricultural insect killing device | |
| CN222737048U (en) | Novel forestry grassland mouse pest control equipment | |
| CN221710971U (en) | An insecticide device for protecting agricultural plants | |
| CN218245289U (en) | A kind of disease and insect pest control box for forestry seedling raising | |
| CN212911390U (en) | Pest control device for vegetable planting in greenhouse | |
| CN216567853U (en) | Green plant deinsectization equipment for landscaping | |
| CN214546718U (en) | A new type of forest pest control device |
Legal Events
| Date | Code | Title | Description |
|---|---|---|---|
| GR01 | Patent grant | ||
| GR01 | Patent grant |
