CN218447515U - 一种可快速散热的易固定微型变压器 - Google Patents

一种可快速散热的易固定微型变压器 Download PDF

Info

Publication number
CN218447515U
CN218447515U CN202221627545.1U CN202221627545U CN218447515U CN 218447515 U CN218447515 U CN 218447515U CN 202221627545 U CN202221627545 U CN 202221627545U CN 218447515 U CN218447515 U CN 218447515U
Authority
CN
China
Prior art keywords
mounting
protective housing
fin
easy
protecting sheathing
Prior art date
Legal status (The legal status is an assumption and is not a legal conclusion. Google has not performed a legal analysis and makes no representation as to the accuracy of the status listed.)
Active
Application number
CN202221627545.1U
Other languages
English (en)
Inventor
徐云丰
Current Assignee (The listed assignees may be inaccurate. Google has not performed a legal analysis and makes no representation or warranty as to the accuracy of the list.)
Changyang Anpinyuan Electronic Technology Co ltd
Original Assignee
Changyang Anpinyuan Electronic Technology Co ltd
Priority date (The priority date is an assumption and is not a legal conclusion. Google has not performed a legal analysis and makes no representation as to the accuracy of the date listed.)
Filing date
Publication date
Application filed by Changyang Anpinyuan Electronic Technology Co ltd filed Critical Changyang Anpinyuan Electronic Technology Co ltd
Priority to CN202221627545.1U priority Critical patent/CN218447515U/zh
Application granted granted Critical
Publication of CN218447515U publication Critical patent/CN218447515U/zh
Active legal-status Critical Current
Anticipated expiration legal-status Critical

Links

Images

Landscapes

  • Cooling Or The Like Of Electrical Apparatus (AREA)

Abstract

本实用新型公开了一种可快速散热的易固定微型变压器,包括防护外壳、散热风机、散热片和限位固定件,防护外壳的底部设置有安装底板,防护外壳通过第二安装件与第一安装螺件的配合实现与安装底板安装连接,防护外壳的内部以及安装底板的顶部设置有变压器本体。本实用新型通过在散热口、散热风机、防尘板、散热片和感热信息传输控制元件的配件,感热信息传输控制元件感应到防护外壳内温度过高,利用信号传输并控制散热风机启动工作可对防护外壳内进行散热促进空气循环工作,则散热口的实现快速通风,则防尘板的设置起到防尘作用,避免大量灰尘进入到防护外壳内,则导热片接触到变压器本体将热量传导至散热片处进行快速散热工作。

Description

一种可快速散热的易固定微型变压器
技术领域
本实用新型涉及微型变压器技术领域,具体为一种可快速散热的易固定微型变压器。
背景技术
变压器按用途可以分为:配电变压器、电力变压器、全密封变压器、组合式变压器、干式变压器、油浸式变压器、单相变压器、电炉变压器、整流变压器、电抗器、抗干扰变压器、防雷变压器、箱式变电器试验变压器、转角变压器、大电流变压器、励磁变压器等,小型变压器主要指单相20kV·A以下、三相50kV·A以下的变压器,其特点是变压器体积小、造价低、用线少。小型变压器的负荷率和利用率一般都较低,它所带的感性负载,一般均未进行容性补偿,小型变压器是工厂电气控制系统中的一种常用设备,随着电子元件大量应用在电厂控制、监测和自动回路中,小型变压器的应用日益广泛。
现有的微型变压器,自身防护性能差,散热性能较弱,导致器体的使用寿命受到影响。
实用新型内容
本实用新型的目的在于提供一种可快速散热的易固定微型变压器,以解决上述背景技术中提出的现有的微型变压器,自身防护性能差,散热性能较弱,导致器体的使用寿命受到影响等问题。
为实现上述目的,本实用新型提供如下技术方案:一种可快速散热的易固定微型变压器,包括防护外壳、散热风机、散热片和限位固定件,所述防护外壳的底部设置有安装底板,所述防护外壳通过第二安装件与第一安装螺件的配合实现与安装底板安装连接,所述防护外壳的内部以及安装底板的顶部设置有变压器本体,所述防护外壳的两侧连接设置有散热口,所述防护外壳顶部的内部连接设置有散热槽,所述散热槽的内部安装有散热风机,所述散热槽的顶部连接设置有防尘板。
优选的,所述防护外壳顶部两端的内部连接设置有散热片,所述散热片的底部连接设置有导热片。
优选的,所述安装底板的两端连接设置有第一安装件,所述第一安装件的内部连接设置有第二安装螺件,所述安装底板内部的中间位置安装有感热信息传输控制元件。
优选的,所述安装底板两端的内部以及防护外壳内部顶部的两端皆连接设置有限位固定件。
优选的,所述防尘板通过两侧连接设置的第三安装螺件实现可与防护外壳顶部安装连接。
优选的,所述限位固定件滑动设置于滑动槽的内部,所述限位固定件的一侧连接设置有增摩垫,所述限位固定件一端的一侧通过弹簧与滑动槽内连接。
优选的,所述限位固定件一端的一侧通过弹簧与滑动槽内连接。
与现有技术相比,本实用新型的有益效果是:
(1)该种可快速散热的易固定微型变压器,通过在散热口、散热风机、防尘板、散热片、导热片和感热信息传输控制元件的配件,感热信息传输控制元件感应到防护外壳内温度过高,利用信号传输并控制散热风机启动工作可对防护外壳内进行散热促进空气循环工作,则散热口的实现快速通风,则防尘板的设置起到防尘作用,避免大量灰尘进入到防护外壳内,则导热片接触到变压器本体将热量传导至散热片处进行快速散热工作;
(2)该种可快速散热的易固定微型变压器,通过在第一安装螺件、第二安装螺件和第三安装螺件配件,第二安装件与第一安装螺件配合实现防护外壳与安装底板安装连接,便于变压器本体放置于防护外壳内,起到防护作用,第一安装件与第二安装螺件配合实现防护外壳、变压器本体以及安装底板整体的固定工作,提高实用性,则防尘板通过第三安装螺件安装至散热槽顶部,便于拆装方便后期更换清洗工作;
(3)该种可快速散热的易固定微型变压器,通过在限位固定件、滑动槽和弹簧等配件,防护外壳内以及安装底板内皆设置有限位固定件,限位固定件可通过弹簧以及自身与滑动槽内滑动连接的作用实现根据变压器本体具体宽度来进行自动限位调节工作,实现限位固定件与增摩垫配合可对变压器本体顶部以及底部位置起到增加摩擦力度的限位夹持固定工作,提高对变压器本体的可放置稳定性。
附图说明
图1为本实用新型正视结构示意图;
图2为本实用新型图1中A处放大结构示意图;
图3为本实用新型防护外壳与安装底板安装连接正视结构示意图;
图4为本实用新型整体俯视结构示意图;
图5为本实用新型安装底板与限位固定件连接俯视结构示意图。
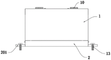
图中:1、防护外壳;2、安装底板;201、第一安装件;3、第二安装件;4、第一安装螺件;5、变压器本体;6、散热口;7、散热槽;8、散热风机;9、防尘板;10、散热片;11、导热片;12、限位固定件;1201、增摩垫;13、第二安装螺件;14、感热信息传输控制元件;15、滑动槽;16、弹簧;17、第三安装螺件。
具体实施方式
下面将结合本实用新型实施例中的附图,对本实用新型实施例中的技术方案进行清楚、完整地描述。基于本实用新型中的实施例,本领域普通技术人员在没有做出创造性劳动前提下所获得的所有其他实施例,都属于本实用新型保护的范围。
请参阅图1-5,本实用新型提供的一种实施例:一种可快速散热的易固定微型变压器,包括防护外壳1、散热风机8、散热片10和限位固定件12,防护外壳1的底部设置有安装底板2,安装底板2的两端连接设置有第一安装件201,第一安装件201的内部连接设置有第二安装螺件13,安装底板2内部的中间位置安装有感热信息传输控制元件14,感热信息传输控制元件14用于感应防护外壳1内温度情况,并控制散热风机8的启动工作;
防护外壳1通过第二安装件3与第一安装螺件4的配合实现与安装底板2安装连接,防护外壳1的内部以及安装底板2的顶部设置有变压器本体5,变压器本体5用于实现放置于防护外壳1内以及安装底板2的顶部;
防护外壳1的两侧连接设置有散热口6,防护外壳1顶部的内部连接设置有散热槽7,散热槽7的内部安装有散热风机8,散热槽7的顶部连接设置有防尘板9,防尘板9起到防尘工作;
防护外壳1顶部两端的内部连接设置有散热片10,散热片10的底部连接设置有导热片11,导热片11用于导热,散热片10用于散热;
安装底板2两端的内部以及防护外壳1内部顶部的两端皆连接设置有限位固定件12,限位固定件12可对变压器本体5起到夹持行为作用;
防尘板9通过两侧连接设置的第三安装螺件17实现可与防护外壳1顶部安装连接;
限位固定件12滑动设置于滑动槽15的内部,限位固定件12的一侧连接设置有增摩垫1201,限位固定件12一端的一侧通过弹簧16与滑动槽15内连接,增摩垫1201实现提高限位固定件12与变压器本体5摩擦力度,提高对其夹持力度,提高夹持稳定性;
限位固定件12一端的一侧通过弹簧16与滑动槽15内连接。
本申请实施例在使用时:第二安装件3与第一安装螺件4配合实现防护外壳1与安装底板2安装连接,便于变压器本体5放置于防护外壳1内,起到防护作用,第一安装件201与第二安装螺件13配合实现防护外壳1、变压器本体5以及安装底板2整体的固定工作,感热信息传输控制元件14感应到防护外壳1内温度过高,利用信号传输并控制散热风机8启动工作可对防护外壳1内进行散热促进空气循环工作,则散热口6的实现快速通风,则防尘板9的设置起到防尘作用,避免大量灰尘进入到防护外壳1内,则导热片11接触到变压器本体5将热量传导至散热片10处进行快速散热工作,限位固定件12可通过弹簧16以及自身与滑动槽15内滑动连接的作用实现根据变压器本体5具体宽度来进行自动限位调节工作。

Claims (7)

1.一种可快速散热的易固定微型变压器,其特征在于,包括防护外壳(1)、散热风机(8)、散热片(10)和限位固定件(12),所述防护外壳(1)的底部设置有安装底板(2),所述防护外壳(1)通过第二安装件(3)与第一安装螺件(4)的配合实现与安装底板(2)安装连接,所述防护外壳(1)的内部以及安装底板(2)的顶部设置有变压器本体(5),所述防护外壳(1)的两侧连接设置有散热口(6),所述防护外壳(1)顶部的内部连接设置有散热槽(7),所述散热槽(7)的内部安装有散热风机(8),所述散热槽(7)的顶部连接设置有防尘板(9)。
2.根据权利要求1所述的一种可快速散热的易固定微型变压器,其特征在于:所述防护外壳(1)顶部两端的内部连接设置有散热片(10),所述散热片(10)的底部连接设置有导热片(11)。
3.根据权利要求1所述的一种可快速散热的易固定微型变压器,其特征在于:所述安装底板(2)的两端连接设置有第一安装件(201),所述第一安装件(201)的内部连接设置有第二安装螺件(13),所述安装底板(2)内部的中间位置安装有感热信息传输控制元件(14)。
4.根据权利要求3所述的一种可快速散热的易固定微型变压器,其特征在于:所述安装底板(2)两端的内部以及防护外壳(1)内部顶部的两端皆连接设置有限位固定件(12)。
5.根据权利要求1所述的一种可快速散热的易固定微型变压器,其特征在于:所述防尘板(9)通过两侧连接设置的第三安装螺件(17)实现可与防护外壳(1)顶部安装连接。
6.根据权利要求4所述的一种可快速散热的易固定微型变压器,其特征在于:所述限位固定件(12)滑动设置于滑动槽(15)的内部,所述限位固定件(12)的一侧连接设置有增摩垫(1201)。
7.根据权利要求6所述的一种可快速散热的易固定微型变压器,其特征在于:所述限位固定件(12)一端的一侧通过弹簧(16)与滑动槽(15)内连接。
CN202221627545.1U 2022-06-27 2022-06-27 一种可快速散热的易固定微型变压器 Active CN218447515U (zh)

Priority Applications (1)

Application Number Priority Date Filing Date Title
CN202221627545.1U CN218447515U (zh) 2022-06-27 2022-06-27 一种可快速散热的易固定微型变压器

Applications Claiming Priority (1)

Application Number Priority Date Filing Date Title
CN202221627545.1U CN218447515U (zh) 2022-06-27 2022-06-27 一种可快速散热的易固定微型变压器

Publications (1)

Publication Number Publication Date
CN218447515U true CN218447515U (zh) 2023-02-03

Family

ID=85077630

Family Applications (1)

Application Number Title Priority Date Filing Date
CN202221627545.1U Active CN218447515U (zh) 2022-06-27 2022-06-27 一种可快速散热的易固定微型变压器

Country Status (1)

Country Link
CN (1) CN218447515U (zh)

Similar Documents

Publication Publication Date Title
US20150124381A1 (en) Switchboard copper busbar heat dissipating device
CN218447515U (zh) 一种可快速散热的易固定微型变压器
CN209489044U (zh) 充电装置
CN210742807U (zh) 一种自降温式计算机主机箱
CN219418627U (zh) 一种散热性强的大功率金属外壳电阻器
CN221446916U (zh) 一种电感器防护散热外壳
CN217933373U (zh) 一种具有过温保护的电源变压器
CN207690645U (zh) 一种高散热性的薄膜电容
CN215956228U (zh) 电机总成及无人机
CN211184644U (zh) 一种半开板型简易高效散热系统
CN211352025U (zh) 一种高效散热的led开关电源
CN219352231U (zh) 一种机箱散热外挂组件
CN212484226U (zh) 一种外用式计算机网络安全设备
CN211378590U (zh) 一种散热性能好的五金电源外壳
CN210867542U (zh) 一种内置旁路软启动器
CN210137204U (zh) 无线充电器
CN223206070U (zh) 一种汽车水冷导热电阻
CN215601201U (zh) 一种新型调压器
CN211295902U (zh) 一种低压配电柜
CN215267303U (zh) 一种开路保护器
CN221531746U (zh) 一种pcb基板用的温控装置
CN223079777U (zh) 一种风冷防水防尘充电器
CN215871234U (zh) 软起动器
CN112701880A (zh) 一种功率电源的电容器模块绝缘散热方式
CN221551740U (zh) 一种散热式断路器智能控制器

Legal Events

Date Code Title Description
GR01 Patent grant
GR01 Patent grant