CN218387381U - 一种适用于复杂地形的光伏跟踪支架驱动装置 - Google Patents
一种适用于复杂地形的光伏跟踪支架驱动装置 Download PDFInfo
- Publication number
- CN218387381U CN218387381U CN202221954183.7U CN202221954183U CN218387381U CN 218387381 U CN218387381 U CN 218387381U CN 202221954183 U CN202221954183 U CN 202221954183U CN 218387381 U CN218387381 U CN 218387381U
- Authority
- CN
- China
- Prior art keywords
- power generation
- photovoltaic power
- photovoltaic
- driving device
- device suitable
- Prior art date
- Legal status (The legal status is an assumption and is not a legal conclusion. Google has not performed a legal analysis and makes no representation as to the accuracy of the status listed.)
- Active
Links
- 238000010248 power generation Methods 0.000 claims abstract description 54
- 244000309464 bull Species 0.000 claims description 9
- 238000012876 topography Methods 0.000 abstract description 13
- 238000005286 illumination Methods 0.000 abstract 4
- 230000005611 electricity Effects 0.000 description 6
- 238000010276 construction Methods 0.000 description 5
- 230000005540 biological transmission Effects 0.000 description 3
- OKTJSMMVPCPJKN-UHFFFAOYSA-N Carbon Chemical compound [C] OKTJSMMVPCPJKN-UHFFFAOYSA-N 0.000 description 2
- 230000009286 beneficial effect Effects 0.000 description 2
- 229910052799 carbon Inorganic materials 0.000 description 2
- 238000010586 diagram Methods 0.000 description 2
- 230000000694 effects Effects 0.000 description 2
- 238000009434 installation Methods 0.000 description 2
- 238000000034 method Methods 0.000 description 2
- TVEXGJYMHHTVKP-UHFFFAOYSA-N 6-oxabicyclo[3.2.1]oct-3-en-7-one Chemical compound C1C2C(=O)OC1C=CC2 TVEXGJYMHHTVKP-UHFFFAOYSA-N 0.000 description 1
- 230000007774 longterm Effects 0.000 description 1
- 238000006386 neutralization reaction Methods 0.000 description 1
- 230000005855 radiation Effects 0.000 description 1
Images
Classifications
-
- Y—GENERAL TAGGING OF NEW TECHNOLOGICAL DEVELOPMENTS; GENERAL TAGGING OF CROSS-SECTIONAL TECHNOLOGIES SPANNING OVER SEVERAL SECTIONS OF THE IPC; TECHNICAL SUBJECTS COVERED BY FORMER USPC CROSS-REFERENCE ART COLLECTIONS [XRACs] AND DIGESTS
- Y02—TECHNOLOGIES OR APPLICATIONS FOR MITIGATION OR ADAPTATION AGAINST CLIMATE CHANGE
- Y02E—REDUCTION OF GREENHOUSE GAS [GHG] EMISSIONS, RELATED TO ENERGY GENERATION, TRANSMISSION OR DISTRIBUTION
- Y02E10/00—Energy generation through renewable energy sources
- Y02E10/50—Photovoltaic [PV] energy
Landscapes
- Photovoltaic Devices (AREA)
Abstract
本申请公开了一种适用于复杂地形的光伏跟踪支架驱动装置,涉及光伏跟踪支架驱动装置技术领域,包括设备主体,设备主体包括驱动组件,通过高度调节器部件,可以根据太阳光的照射角度调节对光伏发电板两端的倾斜角度做出相对应的调整,使得光伏发电板两端的倾斜角度能够符合太阳光的照射角度,通过驱动组件,还可以根据太阳光的照射角度调节对若干组光伏发电板两侧的倾斜角度做出相对应的调整,使得光伏发电板两侧的倾斜角度能够符合太阳光的照射角度,通过上述技术手段,可以有效的提高多组光伏发电板对复杂地形的适应性,同等条件下能够有效的提高发电量的同时,还能够有效的降低项目的度电成本,以达到降本增效的目的。
Description
技术领域
本实用新型涉及光伏跟踪支架驱动装置技术领域,尤其是涉及一种适用于复杂地形的光伏跟踪支架驱动装置。
背景技术
随着国家发布的“碳达峰、碳中和”远期目标,新能源光伏项目开发力度越来越大,但适用于光伏项目建设的土地越来越少,当前光伏项目建设用地多数在山地、丘陵,建设条件也越来越复杂。另一方面,“平价上网”政策已在全国全面实行,伴随着光伏组件价格不降反增,光伏项目“降本增效”再一次得到关注。光伏跟踪支架能有利提高光伏组件接收太阳能辐射,从而达到增加发电量的效果。
鉴于跟踪支架对施工要求及安装精度要求较高,以往光伏跟踪支架通常使用在地势较为平坦的荒漠、戈壁区域,很少使用在地势存在一定起伏的缓坡、丘陵地带,其主要原因在于安装精度要求过高,施工过程中无法保证光伏跟踪支架及驱动装置不发生“硬连接”,“硬连接”将会使得光伏跟踪支架转角不一致,或者驱动装置无法有效旋转,为此,我们需要开发一种适用于复杂地形的光伏跟踪支架驱动装置。
实用新型内容
为了改善上述提到的问题,本实用新型提供一种适用于复杂地形的光伏跟踪支架驱动装置。
本实用新型提供一种适用于复杂地形的光伏跟踪支架驱动装置,采用如下的技术方案:一种适用于复杂地形的光伏跟踪支架驱动装置,包括设备主体,所述设备主体包括驱动组件,所述驱动组件的一侧设置有多组光伏发电板,其中一组所述光伏发电板的一侧与驱动组件之间连接有第一铰接件,若干组所述光伏发电板之间还安装有第二铰接件。
基于上述技术特征:本方案通过在光伏发电板底部两侧加装的支撑架和高度调节器部件,当光伏发电板、正反电机与地面保持平行状态时,通过调整光伏发电板两端高度调节器的不同高度,可以根据太阳光的照射角度调节对光伏发电板两端的倾斜角度做出相对应的调整,使得光伏发电板两端的倾斜角度能够符合太阳光的照射角度;
本方案通过在光伏发电板一端加装的驱动组件,还可以根据太阳光的照射角度调节对若干组光伏发电板两侧的倾斜角度做出相对应的调整,使得光伏发电板两侧的倾斜角度能够符合太阳光的照射角度,配合第一铰接件和第二铰接件结构,在保证若干组光伏发电板在同一条直线上的前提下,可以有效的减少地形起伏变化对各组光伏发电板之间及与正反电机传动连接的影响;
通过上述技术手段,可以有效的提高多组光伏发电板对复杂地形的适应性,同等条件下能够有效的提高发电量的同时,还能够有效的降低项目的度电成本,以达到降本增效的目的。
作为本实用新型所述的一种适用于复杂地形的光伏跟踪支架驱动装置,其中:所述光伏发电板的底部安装有支撑架,所述支撑架的两端均连接有转杆,所述转杆远离支撑架的一端还安装有第一铰接座。
基于上述技术特征:通过在转杆一端加装的第一铰接座,可以将第二铰接件连接在两组光伏发电板的一端之间。
作为本实用新型所述的一种适用于复杂地形的光伏跟踪支架驱动装置,其中:所述支撑架的两侧分别设置有一组高度调节器,所述高度调节器包括电推杆,所述电推杆的底部安装有垫片。
基于上述技术特征:通过在电推杆底部加装的垫片,可以对高度调节器起到平衡支撑的作用。
作为本实用新型所述的一种适用于复杂地形的光伏跟踪支架驱动装置,其中:所述电推杆的输出端安装有套环,所述套环的中部贯穿开设有穿孔,所述穿孔与转杆结构相匹配。
基于上述技术特征:因穿孔与转杆结构相匹配,可以保障高度调节器与转杆之间连接的活动性。
作为本实用新型所述的一种适用于复杂地形的光伏跟踪支架驱动装置,其中:所述第一铰接件与第二铰接件构造相同,所述第一铰接件包括连接臂板,所述连接臂板的两端均安装有铰接板。
基于上述技术特征:通过第一铰接件和第二铰接件结构,在保证若干组光伏发电板在同一条直线上的前提下,可以有效的减少地形起伏变化对各组光伏发电板之间及与正反电机传动连接的影响。
作为本实用新型所述的一种适用于复杂地形的光伏跟踪支架驱动装置,其中:所述驱动组件包括正反电机,所述正反电机的底部设置有支撑杆,所述正反电机的输出端连接有第二铰接座,所述第二铰接座与第一铰接座构造相同,所述第二铰接座、第一铰接座与铰接板之间为铰接配合。
基于上述技术特征:因第二铰接座、第一铰接座与铰接板之间为铰接配合,可以有效的提升若干组光伏发电板之间连接的活动性。
综上所述,本实用新型包括以下至少一种有益效果:
1.本方案通过在光伏发电板底部两侧加装的支撑架和高度调节器部件,当光伏发电板、正反电机与地面保持平行状态时,通过调整光伏发电板两端高度调节器的不同高度,可以根据太阳光的照射角度调节对光伏发电板两端的倾斜角度做出相对应的调整,使得光伏发电板两端的倾斜角度能够符合太阳光的照射角度;
2.本方案通过在光伏发电板一端加装的驱动组件,还可以根据太阳光的照射角度调节对若干组光伏发电板两侧的倾斜角度做出相对应的调整,使得光伏发电板两侧的倾斜角度能够符合太阳光的照射角度,配合第一铰接件和第二铰接件结构,在保证若干组光伏发电板在同一条直线上的前提下,可以有效的减少地形起伏变化对各组光伏发电板之间及与正反电机传动连接的影响;
3.通过上述技术手段,可以有效的提高多组光伏发电板对复杂地形的适应性,同等条件下能够有效的提高发电量的同时,还能够有效的降低项目的度电成本,以达到降本增效的目的。
附图说明
图1是本实用新型的整体结构示意图;
图2是本实用新型的支撑架结构示意图;
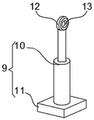
图3是本实用新型的高度调节器结构示意图;
图4是本实用新型的连接臂板结构示意图;
图5是本实用新型的驱动组件结构示意图。
附图标记说明:
1、设备主体;2、驱动组件;3、光伏发电板;4、第一铰接件;5、第二铰接件;6、支撑架;7、转杆;8、第一铰接座;9、高度调节器;10、电推杆;11、垫片;12、套环;13、穿孔;14、连接臂板;15、铰接板;16、正反电机;17、支撑杆;18、第二铰接座。
具体实施方式
以下结合附图1-5对本实用新型作进一步详细说明。
请参阅图1-2,本实用新型提供的一种适用于复杂地形的光伏跟踪支架驱动装置,包括设备主体1,设备主体1包括驱动组件2,驱动组件2的一侧设置有多组光伏发电板3,其中一组光伏发电板3的一侧与驱动组件2之间连接有第一铰接件4,若干组光伏发电板3之间还安装有第二铰接件5,光伏发电板3的底部安装有支撑架6,支撑架6的两端均连接有转杆7,转杆7远离支撑架6的一端还安装有第一铰接座8,通过在转杆7一端加装的第一铰接座8,可以将第二铰接件5连接在两组光伏发电板3的一端之间。
请参阅图3,支撑架6的两侧分别设置有一组高度调节器9,高度调节器9包括电推杆10,电推杆10的底部安装有垫片11,通过在电推杆10底部加装的垫片11,可以对高度调节器9起到平衡支撑的作用,电推杆10的输出端安装有套环12,套环12的中部贯穿开设有穿孔13,穿孔13与转杆7结构相匹配,可以保障高度调节器9与转杆7之间连接的活动性。
请参阅图4-5,第一铰接件4与第二铰接件5构造相同,第一铰接件4包括连接臂板14,连接臂板14的两端均安装有铰接板15,通过第一铰接件4和第二铰接件5结构,在保证若干组光伏发电板3在同一条直线上的前提下,可以有效的减少地形起伏变化对各组光伏发电板3之间及与正反电机16传动连接的影响,驱动组件2包括正反电机16,正反电机16的底部设置有支撑杆17,正反电机16的输出端连接有第二铰接座18,第二铰接座18与第一铰接座8构造相同,第二铰接座18、第一铰接座8与铰接板15之间为铰接配合,可以有效的提升若干组光伏发电板3之间连接的活动性。
工作原理:本方案通过在光伏发电板3底部两侧加装的支撑架6和高度调节器9部件,当光伏发电板3、正反电机16与地面保持平行状态时,通过调整光伏发电板3两端高度调节器9的不同高度,可以根据太阳光的照射角度调节对光伏发电板3两端的倾斜角度做出相对应的调整,使得光伏发电板3两端的倾斜角度能够符合太阳光的照射角度;
本方案通过在光伏发电板3一端加装的驱动组件2,还可以根据太阳光的照射角度调节对若干组光伏发电板3两侧的倾斜角度做出相对应的调整,使得光伏发电板3两侧的倾斜角度能够符合太阳光的照射角度,配合第一铰接件4和第二铰接件5结构,在保证若干组光伏发电板3在同一条直线上的前提下,可以有效的减少地形起伏变化对各组光伏发电板3之间及与正反电机16传动连接的影响;
通过上述技术手段,可以有效的提高多组光伏发电板3对复杂地形的适应性,同等条件下能够有效的提高发电量的同时,还能够有效的降低项目的度电成本,以达到降本增效的目的。
以上均为本实用新型的较佳实施例,并非依此限制本实用新型的保护范围,故:凡依本实用新型的结构、形状、原理所做的等效变化,均应涵盖于本实用新型的保护范围之内。
Claims (6)
1.一种适用于复杂地形的光伏跟踪支架驱动装置,包括设备主体(1),其特征在于:所述设备主体(1)包括驱动组件(2),所述驱动组件(2)的一侧设置有多组光伏发电板(3),其中一组所述光伏发电板(3)的一侧与驱动组件(2)之间连接有第一铰接件(4),若干组所述光伏发电板(3)之间还安装有第二铰接件(5)。
2.根据权利要求1所述的一种适用于复杂地形的光伏跟踪支架驱动装置,其特征在于:所述光伏发电板(3)的底部安装有支撑架(6),所述支撑架(6)的两端均连接有转杆(7),所述转杆(7)远离支撑架(6)的一端还安装有第一铰接座(8)。
3.根据权利要求2所述的一种适用于复杂地形的光伏跟踪支架驱动装置,其特征在于:所述支撑架(6)的两侧分别设置有一组高度调节器(9),所述高度调节器(9)包括电推杆(10),所述电推杆(10)的底部安装有垫片(11)。
4.根据权利要求3所述的一种适用于复杂地形的光伏跟踪支架驱动装置,其特征在于:所述电推杆(10)的输出端安装有套环(12),所述套环(12)的中部贯穿开设有穿孔(13),所述穿孔(13)与转杆(7)结构相匹配。
5.根据权利要求1所述的一种适用于复杂地形的光伏跟踪支架驱动装置,其特征在于:所述第一铰接件(4)与第二铰接件(5)构造相同,所述第一铰接件(4)包括连接臂板(14),所述连接臂板(14)的两端均安装有铰接板(15)。
6.根据权利要求2所述的一种适用于复杂地形的光伏跟踪支架驱动装置,其特征在于:所述驱动组件(2)包括正反电机(16),所述正反电机(16)的底部设置有支撑杆(17),所述正反电机(16)的输出端连接有第二铰接座(18),所述第二铰接座(18)与第一铰接座(8)构造相同,所述第二铰接座(18)、第一铰接座(8)与铰接板(15)之间为铰接配合。
Priority Applications (1)
| Application Number | Priority Date | Filing Date | Title |
|---|---|---|---|
| CN202221954183.7U CN218387381U (zh) | 2022-07-27 | 2022-07-27 | 一种适用于复杂地形的光伏跟踪支架驱动装置 |
Applications Claiming Priority (1)
| Application Number | Priority Date | Filing Date | Title |
|---|---|---|---|
| CN202221954183.7U CN218387381U (zh) | 2022-07-27 | 2022-07-27 | 一种适用于复杂地形的光伏跟踪支架驱动装置 |
Publications (1)
| Publication Number | Publication Date |
|---|---|
| CN218387381U true CN218387381U (zh) | 2023-01-24 |
Family
ID=84962416
Family Applications (1)
| Application Number | Title | Priority Date | Filing Date |
|---|---|---|---|
| CN202221954183.7U Active CN218387381U (zh) | 2022-07-27 | 2022-07-27 | 一种适用于复杂地形的光伏跟踪支架驱动装置 |
Country Status (1)
| Country | Link |
|---|---|
| CN (1) | CN218387381U (zh) |
-
2022
- 2022-07-27 CN CN202221954183.7U patent/CN218387381U/zh active Active
Similar Documents
| Publication | Publication Date | Title |
|---|---|---|
| CN203788228U (zh) | 太阳能单轴跟踪器的主轴连接结构 | |
| CN103746638B (zh) | 一种密集型棚架跟踪式光伏发电装置 | |
| CN110336524A (zh) | 一种便于安装的太阳能光伏面板组件边框结构 | |
| CN218387381U (zh) | 一种适用于复杂地形的光伏跟踪支架驱动装置 | |
| CN105939146A (zh) | 一种自逐日式光伏组件 | |
| CN102738272A (zh) | 一种太阳能光伏系统及其安装方法 | |
| CN212627779U (zh) | 一种可调节角度的光伏架台 | |
| CN106169907A (zh) | 一种追日太阳能发电系统 | |
| CN118030386A (zh) | 风光储一体式垂直轴风力发电设备 | |
| CN217957010U (zh) | 一种分布式光伏发电板可调式支架 | |
| CN214959417U (zh) | 跟踪调节式光伏发电装置 | |
| CN108039861B (zh) | 平板式自动追光太阳能光伏发电系统及其自动追光方法 | |
| CN217693203U (zh) | 一种光伏工程太阳能电板用柔性支架 | |
| CN215498825U (zh) | 一种光伏发电用可调节角度装置 | |
| CN212258872U (zh) | 一种可调光伏支架 | |
| CN214626847U (zh) | 一种用于边防哨所通信基站的风光发电一体化装置 | |
| CN213094112U (zh) | 一种光伏支架地形适应支撑装置 | |
| CN222192228U (zh) | 一种可以在坡地条件下安装的平单轴支架 | |
| CN223246527U (zh) | 一种大坡度地形光伏板自动调整模型 | |
| CN114362642A (zh) | 一种太阳能追光发电支架 | |
| CN221058230U (zh) | 光伏新能源板安装支架 | |
| CN212413098U (zh) | 一种光伏太阳能电池板支架 | |
| CN221862751U (zh) | 一种斜屋顶光伏电站安装结构 | |
| CN217216438U (zh) | 用于滩涂光伏的电池板调平结构 | |
| CN220359107U (zh) | 一种太阳能光伏装置 |
Legal Events
| Date | Code | Title | Description |
|---|---|---|---|
| GR01 | Patent grant | ||
| GR01 | Patent grant |