CN218386700U - Novel split conductor spacer for preventing rubber tile from vibrating and displacing - Google Patents
Novel split conductor spacer for preventing rubber tile from vibrating and displacing Download PDFInfo
- Publication number
- CN218386700U CN218386700U CN202222628024.4U CN202222628024U CN218386700U CN 218386700 U CN218386700 U CN 218386700U CN 202222628024 U CN202222628024 U CN 202222628024U CN 218386700 U CN218386700 U CN 218386700U
- Authority
- CN
- China
- Prior art keywords
- tile
- wire
- clamp
- groove
- rubber tile
- Prior art date
- Legal status (The legal status is an assumption and is not a legal conclusion. Google has not performed a legal analysis and makes no representation as to the accuracy of the status listed.)
- Active
Links
Images
Landscapes
- Suspension Of Electric Lines Or Cables (AREA)
Abstract
本实用新型涉及一种防止胶瓦振动位移的新型分裂导线间隔棒,属于输电线路金具技术领域。技术方案是:线夹主体凹槽(7)和线夹压盖凹槽(8)均为十字型凹槽,胶瓦一凸台(9)和胶瓦二凸台(10)均为十字型凸台,胶瓦一凸台(9)和胶瓦二凸台(10)的十字型凸台分别与线夹主体凹槽(7)和线夹压盖凹槽(8)的十字型凹槽匹配,将线夹主体(3)、线夹压盖(4)、胶瓦一(5)和胶瓦二连接在一起。本实用新型的有益效果:防止胶瓦在风振条件下,发生位移或脱落,避免间隔棒线夹金属部分磨损导线的情况的发生,增强了顺线方向的自由度限位能力,解决了间隔棒线夹磨损导线引发断股和断线这一长期困扰输电线路安全、稳定运行的工程难题。
The utility model relates to a novel split wire spacer bar for preventing the vibration displacement of rubber tiles, which belongs to the technical field of power transmission line fittings. The technical solution is: the main groove (7) of the cable clamp and the groove (8) of the clamp gland are both cross-shaped grooves, and the first rubber tile boss (9) and the second rubber tile boss (10) are both cross-shaped The boss, the cross-shaped boss of the rubber tile first boss (9) and the rubber tile second boss (10) are respectively connected with the cross-shaped groove of the main body groove (7) of the wire clamp and the groove of the wire clamp gland (8) Matching, connect the clamp main body (3), clamp cover (4), rubber tile 1 (5) and rubber tile 2 together. The beneficial effects of the utility model: prevent the rubber tiles from shifting or falling off under the condition of wind vibration, avoid the occurrence of the wire clamp metal part of the spacer bar from wearing out the wire, enhance the degree of freedom limit ability in the direction of the line, and solve the gap The broken strands and broken wires caused by the wear and tear of the rod and wire clips have long been an engineering problem that has plagued the safe and stable operation of transmission lines.
Description
技术领域technical field
本实用新型涉及一种防止胶瓦振动位移的新型分裂导线间隔棒,属于输电线路金具技术领域。The utility model relates to a novel split conductor spacer for preventing rubber tiles from vibrating and shifting, and belongs to the technical field of power transmission line fittings.
背景技术Background technique
间隔棒是指安装在分裂导线上,固定各分裂导线间的间距,以防止导线互相鞭击、抑制微风振动和次档距振荡的金具。目前,电网频繁发生风振(包括次档距振动等)条件下间隔棒等金具线夹磨损导线并导致断线的严重缺陷和事故,涉及500kV和220kV电压等级线路。通过试验进行事故原因分析;试验过程:利用风振试验设备在失效线路同厂家、同型号间隔棒上施加模拟实际运行的各类风振条件,直至重现符合现场发生的缺陷和故障现象;试验结果表明:在线夹胶瓦脱落后,线夹金属部分开始磨损导线;在胶瓦包裹状态下,对导线起到了有效的保护作用。因此,线夹结构在风振(包括次档距振动等)条件下,胶瓦不发生位移、脱落,便能保护导线免于磨损,提高线路运行可靠性,减少断线事故,从而提高线路输送能力。The spacer rod refers to the fittings installed on the split wires to fix the distance between the split wires, so as to prevent the wires from whipping each other, suppress the breeze vibration and the sub-gap vibration. At present, under the condition of wind vibration (including sub-gap vibration, etc.), spacers and other hardware clamps wear wires and lead to serious defects and accidents of broken wires frequently occur in the power grid, involving 500kV and 220kV voltage level lines. The cause of the accident is analyzed through the test; the test process: use the wind vibration test equipment to impose various wind vibration conditions to simulate the actual operation on the spacers of the same manufacturer and model of the failed line until the defects and failure phenomena that occur on the spot are reproduced; the test The results show that the metal part of the cable clamp begins to wear the conductor after the rubber tile falls off, and it can effectively protect the conductor when the rubber tile is wrapped. Therefore, under the conditions of wind vibration (including sub-gap vibration, etc.), the clamp structure can protect the wires from wear without the rubber tiles shifting or falling off, improve the reliability of the line operation, reduce the accidents of broken lines, and thus improve the line transmission. ability.
已有技术都是通过防止舞动的方式,来减少或避免事故发生,但效果不理想,例如:中国专利号2014202427721名称“四分裂导线回转式防舞动阻尼间隔棒”、中国专利号2017106716038名称为“子导线间隔棒及其配置方法”等等,已有技术的线夹主体和线夹压盖与胶瓦之间的连接结构为:线夹主体和线夹压盖上分别设置圆柱凹槽,两个胶瓦顶部均设有圆柱凸台,通过两个胶瓦上的凸台分别与线夹主体和线夹压盖上的圆柱凹槽匹配,将线夹主体和线夹压盖与胶瓦之间固定连接在一起,两个胶瓦将穿过的导线抱紧。但是,圆柱卡槽几乎没有顺线方向的自由度限位能力,在风振(包括次档距振动等)工况下,间隔棒线夹位移或脱落情况时有发生,进而使导线直接受到间隔棒线夹的磨损,致使导线引发断股和断线问题,上述技术难题长期困扰输电线路安全稳定运行。Existing technologies reduce or avoid accidents by preventing galloping, but the effect is not ideal, for example: Chinese Patent No. 2014202427721 titled "Four-split wire rotary anti-galling damping spacer", Chinese Patent No. 2017106716038 titled " Sub-conductor spacer and its configuration method” and so on, the connection structure between the main body of the wire clamp, the gland of the wire clamp and the rubber tile in the prior art is: the main body of the wire clamp and the gland of the wire clamp are respectively provided with cylindrical grooves, and the two The tops of the two rubber tiles are equipped with cylindrical bosses, through which the bosses on the two rubber tiles are matched with the cylindrical grooves on the main body of the wire clamp and the gland of the wire clamp respectively, and the main body of the wire clamp and the gland of the wire clamp are matched with the rubber tiles. They are fixedly connected together, and the two rubber tiles hold the passing wires tightly. However, the cylindrical clamping slot has almost no freedom limit ability in the direction of the line. Under the working conditions of wind vibration (including sub-gap vibration, etc.), the displacement or fall-off of the spacer clamps may occur from time to time, and the conductors will be directly affected by the spacer. The wear and tear of the rod and wire clamps caused the wires to cause strand and wire breakage problems. The above technical problems have long plagued the safe and stable operation of transmission lines.
实用新型内容Utility model content
本实用新型的目的是提供一种防止胶瓦振动位移的新型分裂导线间隔棒,防止间隔棒线夹的胶瓦在风振(包括次档距振动等)条件下,发生位移或脱落,以避免间隔棒线夹金属部分磨损导线情况的发生,解决已有技术存在的上述技术问题。The purpose of this utility model is to provide a new type of split wire spacer that prevents the vibration displacement of rubber tiles, and prevents the rubber tiles of the spacer clamps from shifting or falling off under the condition of wind vibration (including secondary pitch vibration, etc.), so as to avoid The metal part of the spacer wire clip wears the wire, which solves the above-mentioned technical problems in the prior art.
本实用新型的技术方案是:The technical scheme of the utility model is:
一种防止胶瓦振动位移的新型分裂导线间隔棒,包含线夹主体、线夹压盖、胶瓦一和胶瓦二,线夹主体和线夹压盖上分别设置线夹主体凹槽和线夹压盖凹槽,胶瓦一和胶瓦二顶部分别设有胶瓦一凸台和胶瓦二凸台,通过胶瓦一凸台和胶瓦二凸台分别与线夹主体凹槽和线夹压盖凹槽匹配,形成间隔棒线夹,胶瓦一和胶瓦二抱紧导线;其特别之处在于:所述线夹主体凹槽和线夹压盖凹槽均为十字型凹槽,胶瓦一凸台和胶瓦二凸台均为十字型凸台,胶瓦一凸台和胶瓦二凸台的十字型凸台分别与线夹主体凹槽和线夹压盖凹槽的十字型凹槽匹配,将线夹主体、线夹压盖、胶瓦一和胶瓦二连接在一起。A new type of split conductor spacer to prevent the vibration displacement of rubber tiles, including a clamp main body, a clamp gland,
所述胶瓦一和胶瓦二底部分别设有胶瓦一凹槽和胶瓦二凹槽,胶瓦一凹槽和胶瓦二凹槽均为半圆形凹槽,胶瓦一和胶瓦二的底部匹配在一起,将导线夹紧在胶瓦一凹槽和胶瓦二凹槽内。The bottoms of the
所述线夹主体和线夹压盖的一端通过连接销钉连接在一起,连接销钉的两端分别设有卡箍;线夹主体和线夹压盖的另一端通过销钉铰接在一起。One end of the main body of the wire clamp and the gland of the wire clamp is connected together by a connecting pin, and clamps are respectively provided at both ends of the connecting pin; the other end of the main body of the wire clamp and the gland of the wire clamp is hinged together by a pin.
所述间隔棒线夹通过紧固螺栓安装在间隔棒框架上。The spacer bar clamp is installed on the spacer bar frame through fastening bolts.
所述胶瓦一和胶瓦二两个胶瓦的结构相同。The two rubber tiles of the first rubber tile and the second rubber tile have the same structure.
本实用新型的间隔棒数量和位置选择依据档距和运行环境确定。本实用新型的结构不仅可用于分裂导线间隔棒,同时还可用于常规的悬垂和耐张线夹。The number and position of the spacer rods of the utility model are determined according to the gear distance and the operating environment. The structure of the utility model can not only be used for split conductor spacers, but also can be used for conventional hanging and strain clamps.
本实用新型将间隔棒线夹中的线夹主体和线夹压盖与两个胶瓦之间的固定结构由圆柱凹槽优化为十字交叉凹槽,对应的,两个胶瓦顶部的固定结构由圆柱凸起升级为十字交叉凸起。在风振试验设备上,施加相同的振动频率和幅值,振动工况包括顺线、扭转、水平、垂直,经过相同的振动次数后。已有技术间隔棒线夹胶瓦发生明显位移,甚至脱落;本实用新型间隔棒的线夹胶瓦几乎不发生位移或位移很小(小于3mm)。The utility model optimizes the fixing structure between the clamp main body and the clamp gland in the spacer bar clamp and the two rubber tiles from a cylindrical groove to a cross groove. Correspondingly, the fixing structure on the top of the two rubber tiles Upgraded from cylindrical bumps to cross bumps. On the wind vibration test equipment, the same vibration frequency and amplitude are applied, and the vibration conditions include linear, torsional, horizontal, and vertical, after the same number of vibrations. In the prior art, the rubber tiles between the wires of the spacer rods have obvious displacement, or even fall off; the rubber tiles with the wire clips of the spacer rods in the utility model have almost no displacement or very small displacement (less than 3mm).
本实用新型的有益效果:防止胶瓦在风振(包括次档距振动等)条件下,发生位移或脱落,避免间隔棒线夹金属部分磨损导线的情况的发生,增强了顺线方向的自由度限位能力,解决了间隔棒线夹磨损导线引发断股和断线这一长期困扰输电线路安全、稳定运行的工程难题。The beneficial effect of the utility model is to prevent the rubber tile from being displaced or falling off under the condition of wind vibration (including the vibration of the second gear, etc.), to avoid the occurrence of the metal part of the spacer bar clamping the wire to wear the wire, and to enhance the freedom along the line direction. The high limit ability solves the engineering problem that has long plagued the safe and stable operation of transmission lines caused by broken strands and disconnected wires caused by the wear and tear of spacer clamps.
附图说明Description of drawings
图 1 为本实用新型实施例间隔棒整体装配图;Figure 1 is the overall assembly diagram of the spacer rod in the embodiment of the utility model;
图 2 为本实用新型实施例线夹主体结构示意图;Fig. 2 is a schematic diagram of the structure of the main body of the wire clip according to the embodiment of the utility model;
图 3 为本实用新型实施例线夹主体侧视结构示意图;Fig. 3 is a schematic diagram of the side view structure of the main body of the wire clip according to the embodiment of the utility model;
图 4为本实用新型实施例线夹压盖结构示意图;Fig. 4 is a schematic diagram of the structure of the cable clamp gland according to the embodiment of the present invention;
图 5 为本实用新型实施例线夹压盖侧视结构示意图;Figure 5 is a schematic diagram of the side view structure of the clamp gland of the embodiment of the utility model;
图 6 为本实用新型实施例胶瓦一结构示意图;Fig. 6 is a schematic diagram of the structure of the rubber tile of the embodiment of the utility model;
图 7 为本实用新型实施例胶瓦一侧视结构示意图;Fig. 7 is a schematic diagram of the side view structure of the rubber tile of the embodiment of the utility model;
图 8 为本实用新型实施例胶瓦一俯视结构示意图;Fig. 8 is a structural schematic diagram of a top view of the rubber tile of the embodiment of the utility model;
图 9为本实用新型实施例A-A旋转剖视结构示意图;Fig. 9 is a schematic diagram of a rotating sectional structure of embodiment A-A of the utility model;
图 10为本实用新型实施例B-B旋转剖视结构示意图;Fig. 10 is a schematic diagram of the utility model embodiment B-B rotating cross-sectional structure;
图 11为本实用新型实施例剖视结构示意图;Fig. 11 is a schematic cross-sectional structure diagram of an embodiment of the utility model;
图 12为本实用新型实施例侧视结构示意图;Fig. 12 is a side view structural diagram of an embodiment of the utility model;
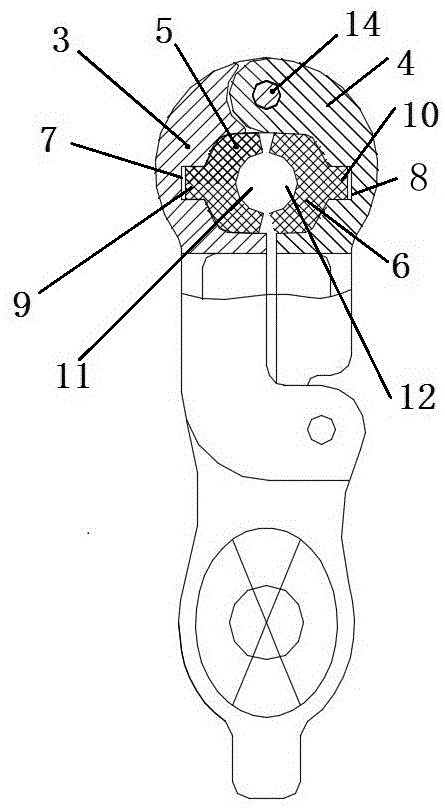
图中:间隔棒框架1、间隔棒线夹2、线夹主体3、线夹压盖4、胶瓦一5、胶瓦二6、线夹主体凹槽7、线夹压盖凹槽8、胶瓦一凸台9、胶瓦二凸台10、胶瓦一凹槽11、胶瓦二凹槽12、导线13、销钉14、紧固螺栓15、连接销钉16、卡箍17、滑套18、减震橡胶垫19。In the figure:
具体实施方式Detailed ways
以下通过附图,结合实施例对本实用新型做进一步说明。Below by accompanying drawing, the utility model is further described in conjunction with embodiment.
一种防止胶瓦振动位移的新型分裂导线间隔棒,包含线夹主体3、线夹压盖4、胶瓦一5和胶瓦二6,线夹主体和线夹压盖上分别设置线夹主体凹槽7和线夹压盖凹槽8,胶瓦一5和胶瓦二6顶部分别设有胶瓦一凸台9和胶瓦二凸台10,通过胶瓦一凸台9和胶瓦二凸台10分别与线夹主体凹槽7和线夹压盖凹槽8匹配,形成间隔棒线夹2,胶瓦一5和胶瓦二6抱紧导线13;其特别之处在于:所述线夹主体凹槽7和线夹压盖凹槽8均为十字型凹槽,胶瓦一凸台9和胶瓦二凸台10均为十字型凸台,胶瓦一凸台9和胶瓦二凸台10的十字型凸台分别与线夹主体凹槽7和线夹压盖凹槽8的十字型凹槽匹配,将线夹主体3、线夹压盖4、胶瓦一5和胶瓦二6连接在一起。A new type of split wire spacer bar for preventing the vibration displacement of rubber tiles, comprising a clamp
所述胶瓦一5和胶瓦二6底部分别设有胶瓦一凹槽11和胶瓦二凹槽12,胶瓦一凹槽11和胶瓦二凹槽12均为半圆形凹槽,胶瓦一5和胶瓦二6的底部匹配在一起,将导线13夹紧在胶瓦一凹槽11和胶瓦二凹槽12内。The bottoms of the
本实用新型的间隔棒数量和位置选择依据档距和运行环境确定。例如:有四分裂导线间隔棒、六分裂导线间隔棒、八分裂导线间隔棒和十分裂导线间隔棒等多种结构。The number and position of the spacer rods of the utility model are determined according to the gear distance and the operating environment. For example: There are four-split wire spacers, six-split wire spacers, eight-split wire spacers, and ten-split wire spacers.
本实用新型的结构不仅可用于分裂导线间隔棒,同时还可用于常规的悬垂和耐张线夹。The structure of the utility model can not only be used for split conductor spacers, but also can be used for conventional hanging and strain clamps.
参照附图,本实施例为四分裂间隔棒,所述线夹主体和线夹压盖的一端通过连接销钉16连接在一起,连接销钉16的两端分别设有卡箍17;线夹主体和线夹压盖的另一端通过销钉14铰接在一起。With reference to the accompanying drawings, the present embodiment is a four-split spacer bar, one end of the clamp main body and the clamp gland is connected together by a connecting
所述间隔棒线夹2通过紧固螺栓15安装在间隔棒框架1上。The
所述紧固螺栓15匹配滑套18和减震橡胶垫19,将间隔棒线夹2安装在间隔棒框架1上。The fastening
打开线夹压盖4,将导线13置于线夹主体3和线夹压盖4中间,放置胶瓦一5和胶瓦二6包裹导线,胶瓦一凸台9和胶瓦二凸台10的十字型凸台分别与线夹主体凹槽7和线夹压盖凹槽8的十字型凹槽分别对应。压紧线夹压盖4,拧紧固定螺栓,以提供足够的压紧力,一方面防止胶瓦脱落,同时避免螺栓在振动过程中返松。Open the
Claims (5)
Priority Applications (1)
| Application Number | Priority Date | Filing Date | Title |
|---|---|---|---|
| CN202222628024.4U CN218386700U (en) | 2022-10-08 | 2022-10-08 | Novel split conductor spacer for preventing rubber tile from vibrating and displacing |
Applications Claiming Priority (1)
| Application Number | Priority Date | Filing Date | Title |
|---|---|---|---|
| CN202222628024.4U CN218386700U (en) | 2022-10-08 | 2022-10-08 | Novel split conductor spacer for preventing rubber tile from vibrating and displacing |
Publications (1)
| Publication Number | Publication Date |
|---|---|
| CN218386700U true CN218386700U (en) | 2023-01-24 |
Family
ID=84927730
Family Applications (1)
| Application Number | Title | Priority Date | Filing Date |
|---|---|---|---|
| CN202222628024.4U Active CN218386700U (en) | 2022-10-08 | 2022-10-08 | Novel split conductor spacer for preventing rubber tile from vibrating and displacing |
Country Status (1)
| Country | Link |
|---|---|
| CN (1) | CN218386700U (en) |
-
2022
- 2022-10-08 CN CN202222628024.4U patent/CN218386700U/en active Active
Similar Documents
| Publication | Publication Date | Title |
|---|---|---|
| KR101408648B1 (en) | Pressure contact type tower top saddle for multi-span suspension bridge | |
| CN222262094U (en) | Portable wedge strain clamp | |
| CN218386700U (en) | Novel split conductor spacer for preventing rubber tile from vibrating and displacing | |
| CN205791392U (en) | Transmission line of electricity protects wire type suspension clamp | |
| CN201319488Y (en) | Antiskid conductor spacer | |
| CN114512949B (en) | A cable suspension fitting for overhead transmission lines | |
| CN220440346U (en) | Power cable anti-galloping device | |
| CN211262640U (en) | Glass insulator falling test device | |
| CN106684759B (en) | A kind of electric pole insulation barrier | |
| CN220874197U (en) | A backup wire clamp device for overhead wires | |
| CN209150319U (en) | A kind of tubular insulation aluminum tube bus splice insulation structure | |
| CN115411684B (en) | A suspension wire clamp for overhead power transmission line | |
| CN106877262A (en) | A kind of suspension clamp with weight hitch point | |
| CN113067300B (en) | Improved generation electric power strain clamp | |
| CN210957720U (en) | Power line drainage device | |
| CN212588053U (en) | Tuning fork type damper | |
| CN111181108B (en) | A wear-resistant device for overhead ground wire of power transmission line | |
| CN217272427U (en) | Flexible hanging device | |
| CN204025530U (en) | A kind of cable wire clamping arrangement being applied to Pipe installing | |
| CN201435586Y (en) | Movable type wire clamp | |
| CN207484291U (en) | A kind of fixing device of cable saddle | |
| CN221597397U (en) | Power cable terminal structure | |
| CN114865568B (en) | Pillar insulator hardware fitting | |
| CN221305468U (en) | Double-flexible-wire fixing fitting for single-connection cross strain insulator string | |
| CN110233458B (en) | Power line drainage device |
Legal Events
| Date | Code | Title | Description |
|---|---|---|---|
| GR01 | Patent grant | ||
| GR01 | Patent grant |
