CN218358841U - Feed mixing device - Google Patents
Feed mixing device Download PDFInfo
- Publication number
- CN218358841U CN218358841U CN202222727138.4U CN202222727138U CN218358841U CN 218358841 U CN218358841 U CN 218358841U CN 202222727138 U CN202222727138 U CN 202222727138U CN 218358841 U CN218358841 U CN 218358841U
- Authority
- CN
- China
- Prior art keywords
- fixedly connected
- rod
- bevel gear
- plate
- mixing device
- Prior art date
- Legal status (The legal status is an assumption and is not a legal conclusion. Google has not performed a legal analysis and makes no representation as to the accuracy of the status listed.)
- Expired - Fee Related
Links
Images
Landscapes
- Apparatuses For Bulk Treatment Of Fruits And Vegetables And Apparatuses For Preparing Feeds (AREA)
Abstract
本实用新型提供一种饲料混合装置,涉及饲料混合领域。该饲料混合装置,包括底座,所述底座顶部固定连接有U形板,所述U形板底部固定连接有固定杆,所述固定杆底部固定连接有圆形板。该饲料混合装置,丝杆与连接板通过滚珠螺母副连接,使得连接板带动两侧设置的刮板往混合桶内部移动,两个刮板均与混合桶内壁相接触,两个刮板下降到混合桶内合适的位置,再通过注水管往混合桶内部注水,通过转动组件的设置,从而使得搅拌杆在转动的情况下,混合桶也处于转动的状态,通过两个刮板将混合桶内壁粘附的饲料进行刮除清洗,这种操作方式,从而解决了人员无需将盖板进行拆卸的问题,从而节省了工作人员的时间,提高了装置的使用效果。
The utility model provides a feed mixing device, which relates to the field of feed mixing. The feed mixing device includes a base, a U-shaped plate is fixedly connected to the top of the base, a fixed rod is fixedly connected to the bottom of the U-shaped plate, and a circular plate is fixedly connected to the bottom of the fixed rod. In this feed mixing device, the screw rod and the connecting plate are connected by ball nut pairs, so that the connecting plate drives the scrapers arranged on both sides to move to the inside of the mixing barrel. Both scrapers are in contact with the inner wall of the mixing barrel, and the two scrapers are lowered to The proper position in the mixing tank, and then inject water into the mixing tank through the water injection pipe, and through the setting of the rotating assembly, so that when the stirring rod is rotating, the mixing tank is also in a rotating state, and the inner wall of the mixing tank is scraped by two scrapers. The adhered feed is scraped and cleaned. This operation method solves the problem that personnel do not need to disassemble the cover plate, thereby saving the time of the staff and improving the use effect of the device.
Description
技术领域technical field
本实用新型涉及一种混合装置,具体为一种饲料混合装置,属于饲料混合技术领域。The utility model relates to a mixing device, in particular to a feed mixing device, which belongs to the technical field of feed mixing.
背景技术Background technique
饲料主要指的是农业或牧业饲养的动物的食物,通常会将养分不同的饲料进行搅拌之后喂食,在搅拌的过程中就需要使用到饲料混合装置。Feed mainly refers to food for animals raised in agriculture or animal husbandry. Feeds with different nutrients are usually stirred and then fed. During the stirring process, a feed mixing device is required.
现公开一种公开号为CN210610982U,该一种饲料混合装置,包括机架和设置在机架上的混合桶,所述混合桶的上端设有可拆卸的盖板,下端设有排料口,所述混合桶内设有刮板,所述刮板的外层为橡胶结构,所述刮板的两侧为与混合桶适配的弧形结构,且带有橡胶凸起,所述盖板上设有电机和注水口,所述电机的输出轴连接有转轴,所述转轴上设有对称的上套筒和下套筒,所述刮板的两端分别设有上连接杆和下连接杆,所述上连接杆和下连接杆分别通过定位螺栓与上套筒和下套筒连接。A publication number is now disclosed as CN210610982U. This feed mixing device includes a frame and a mixing bucket arranged on the frame. The upper end of the mixing bucket is provided with a detachable cover plate, and the lower end is provided with a discharge port. The mixing bucket is provided with a scraper, the outer layer of the scraper is a rubber structure, the two sides of the scraper are arc-shaped structures adapted to the mixing bucket, and have rubber protrusions, the cover plate There is a motor and a water injection port on the top, the output shaft of the motor is connected to a rotating shaft, and the rotating shaft is provided with a symmetrical upper sleeve and a lower sleeve, and the two ends of the scraper are respectively provided with an upper connecting rod and a lower connecting rod. The upper connecting rod and the lower connecting rod are respectively connected with the upper sleeve and the lower sleeve through positioning bolts.
在上述方案中,对混合桶内壁进行清洗时,需要人员将盖板从混合桶上进行拆卸下来,在手动调节两个刮板与混合桶内部接触,之后在安装盖板,往混合桶内注水,通过刮板进行将混合桶内壁粘附的饲料进行刮除,使其清洗的更加方便,但是,这种操作方式较为复杂,不仅浪费工作人员的时间,还降低了装置的使用效果。In the above scheme, when cleaning the inner wall of the mixing tank, personnel are required to remove the cover plate from the mixing tank, manually adjust the two scrapers to contact with the inside of the mixing tank, and then install the cover plate to fill the mixing tank with water , the scraper is used to scrape off the feed adhered to the inner wall of the mixing tank to make it more convenient to clean, but this operation method is relatively complicated, which not only wastes the time of the staff, but also reduces the use effect of the device.
实用新型内容Utility model content
(一)解决的技术问题(1) Solved technical problems
本实用新型的目的就在于为了解决上述问题而提供一种饲料混合装置,以解决现有技术中对混合桶内壁进行清洗时,需要人员将盖板从混合桶上进行拆卸下来,在手动调节两个刮板与混合桶内部接触,之后在安装盖板,往混合桶内注水,通过刮板进行将混合桶内壁粘附的饲料进行刮除,使其清洗的更加方便,但是,这种操作方式较为复杂,不仅浪费工作人员的时间,还降低了装置的使用效果的问题。The purpose of this utility model is to provide a feed mixing device in order to solve the above problems, so as to solve the problem that when cleaning the inner wall of the mixing tank in the prior art, it is necessary for personnel to disassemble the cover plate from the mixing tank. A scraper is in contact with the inside of the mixing tank, and then the cover is installed, water is poured into the mixing tank, and the feed adhered to the inner wall of the mixing tank is scraped off through the scraper to make cleaning more convenient. However, this operation method It is relatively complicated, which not only wastes the time of the staff, but also reduces the problem of the use effect of the device.
(二)技术方案(2) Technical solution
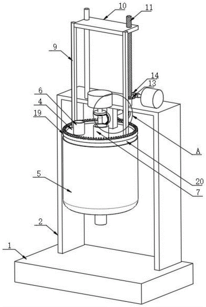
为实现以上目的,本实用新型通过以下技术方案予以实现:一种饲料混合装置,包括底座,所述底座顶部固定连接有U形板,所述U形板底部固定连接有固定杆,所述固定杆底部固定连接有圆形板,所述圆形板外侧转动连接有混合桶,所述混合桶内部设置有搅拌杆,所述搅拌杆与圆形板之间设有转动组件,所述圆形板顶部开设有两个方形槽,两个所述方形槽内部均设有刮板,两个所述刮板之间固定连接有连接板,所述连接板底部设置有丝杆,所述丝杆顶端贯穿连接板并有连接板通过滚珠螺母副连接,固定杆的设置,对圆形板起到固定支撑的作用。In order to achieve the above purpose, the utility model is achieved through the following technical solutions: a feed mixing device, including a base, the top of the base is fixedly connected with a U-shaped plate, the bottom of the U-shaped plate is fixedly connected with a fixed rod, the fixed The bottom of the rod is fixedly connected with a circular plate, and the outer side of the circular plate is rotatably connected with a mixing barrel, and a stirring rod is arranged inside the mixing barrel, and a rotating assembly is arranged between the stirring rod and the circular plate, and the circular There are two square grooves on the top of the plate, scrapers are arranged inside the two square grooves, a connecting plate is fixedly connected between the two scrapers, and a screw rod is arranged at the bottom of the connecting plate, and the screw rod The top runs through the connecting plate and the connecting plate is connected by a ball nut pair, and the setting of the fixing rod plays a role of fixing and supporting the circular plate.
优选地,所述圆形板顶部安装有注水管和进料口,所述混合桶底部安装有出料口。Preferably, a water injection pipe and a material inlet are installed on the top of the circular plate, and an outlet is installed on the bottom of the mixing tank.
优选地,所述搅拌杆顶端贯穿圆形板并与圆形板转动连接,所述圆形板顶部设有驱动电机,所述驱动电机输出端与搅拌杆固定连接,所述驱动电机固定连接于U形板顶部。Preferably, the top of the stirring rod penetrates through the circular plate and is rotationally connected with the circular plate, the top of the circular plate is provided with a driving motor, the output end of the driving motor is fixedly connected to the stirring rod, and the driving motor is fixedly connected to the U-shaped board top.
优选地,所述转动组件包括第一锥齿轮,所述第一锥齿轮固定连接于搅拌杆外侧,所述第一锥齿轮外侧啮合连接有第二锥齿轮,所述第二锥齿轮后侧固定连接有转杆,所述转杆一端贯穿固定杆并与固定杆转动连接,所述转杆一端固定连接有第三锥齿轮,转杆一端贯穿固定杆并与固定杆转动连接方式,对转杆起到转动支撑的作用。Preferably, the rotating assembly includes a first bevel gear, the first bevel gear is fixedly connected to the outside of the stirring rod, the outside of the first bevel gear is meshed with a second bevel gear, and the rear side of the second bevel gear is fixed Connected with a rotating rod, one end of the rotating rod runs through the fixed rod and is rotationally connected with the fixed rod. Play the role of rotating support.
优选地,所述转动组件还包括第四锥齿轮,所述第四锥齿轮啮合连接于第三锥齿轮外侧,所述第四锥齿轮底部固定连接有圆形框,所述圆形框固定连接于混合桶顶部。Preferably, the rotating assembly further includes a fourth bevel gear, the fourth bevel gear is engaged and connected to the outside of the third bevel gear, the bottom of the fourth bevel gear is fixedly connected to a circular frame, and the circular frame is fixedly connected to on top of the mixing tank.
优选地,所述丝杆底端转动连接于U形板顶部,所述丝杆外侧固定连接有蜗轮,所述蜗轮外侧啮合连接有蜗杆,所述U形板顶部固定连接有正反电机,所述正反电机输出端与蜗杆固定连接。Preferably, the bottom end of the screw rod is rotatably connected to the top of the U-shaped plate, the outer side of the screw rod is fixedly connected with a worm wheel, the outer side of the worm wheel is meshed with a worm, and the top of the U-shaped plate is fixedly connected with a positive and negative motor, so The positive and negative motor output ends are fixedly connected with the worm.
优选地,所述丝杆外侧设有限位杆,所述限位杆固定连接于U形板顶部,所述限位杆顶端贯穿连接板并与连接板滑动连接,限位杆的设置,对连接板起到限位的作用,使得丝杆正向或反向转动时,连接板可以进行向下或向上移动。Preferably, a limit rod is provided on the outside of the screw rod, and the limit rod is fixedly connected to the top of the U-shaped plate. The top end of the limit rod passes through the connecting plate and is slidably connected with the connecting plate. The plate acts as a limit, so that when the screw rod rotates forward or reverse, the connecting plate can move downward or upward.
本实用新型提供了一种饲料混合装置,其具备的有益效果如下:The utility model provides a feed mixing device, which has the following beneficial effects:
1、该饲料混合装置,丝杆与连接板通过滚珠螺母副连接,使得连接板带动两侧设置的刮板往混合桶内部移动,两个刮板均与混合桶内壁相接触,两个刮板下降到混合桶内合适的位置,再通过注水管往混合桶内部注水,通过转动组件的设置,从而使得搅拌杆在转动的情况下,混合桶也处于转动的状态,通过两个刮板将混合桶内壁粘附的饲料进行刮除清洗,这种操作方式,从而解决了人员无需将盖板进行拆卸的问题,从而节省了工作人员的时间,提高了装置的使用效果。1. In this feed mixing device, the screw rod and the connecting plate are connected by ball nut pairs, so that the connecting plate drives the scrapers on both sides to move to the inside of the mixing barrel. Both scrapers are in contact with the inner wall of the mixing barrel. The two scrapers Descend to a suitable position in the mixing tank, and then inject water into the mixing tank through the water injection pipe. Through the setting of the rotating assembly, the mixing tank is also in the rotating state when the stirring rod is rotating, and the mixing is carried out by two scrapers. The feed adhered to the inner wall of the bucket is scraped and cleaned. This operation method solves the problem that personnel do not need to disassemble the cover plate, thus saving the time of the staff and improving the use effect of the device.
2、该饲料混合装置,第一锥齿轮与第二锥齿轮啮合连接,转杆带动第三锥齿轮转动,第三锥齿轮与第四锥齿轮啮合连接,第四锥齿轮通过圆形框带动混合桶处于转动状态,从而使得进入混合桶内的两个刮板对混合桶内壁粘附的饲料进行均匀地刮除清洗。2. In the feed mixing device, the first bevel gear meshes with the second bevel gear, the rotating rod drives the third bevel gear to rotate, the third bevel gear meshes with the fourth bevel gear, and the fourth bevel gear drives the mixing through the circular frame. The barrel is in a rotating state, so that the two scrapers entering the mixing barrel evenly scrape and clean the feed adhered to the inner wall of the mixing barrel.
附图说明Description of drawings
图1为本实用新型的整体结构示意图;Fig. 1 is the overall structural representation of the utility model;
图2为本实用新型的混合桶内部结构示意图;Fig. 2 is a schematic diagram of the internal structure of the mixing tank of the present utility model;
图3为本实用新型图1的A部结构放大图;Fig. 3 is an enlarged view of the structure of part A of Fig. 1 of the utility model;
图4为本实用新型的圆形板结构示意图。Fig. 4 is a schematic diagram of the circular plate structure of the present invention.
图中:1、底座;2、U形板;3、固定杆;4、圆形板;5、混合桶;6、注水管;7、进料口;8、方形槽;9、刮板;10、连接板;11、丝杆;12、第一锥齿轮;13、蜗轮;14、蜗杆;15、搅拌杆;16、第二锥齿轮;17、转杆;18、第三锥齿轮;19、第四锥齿轮;20、圆形框。In the figure: 1. base; 2. U-shaped plate; 3. fixed rod; 4. circular plate; 5. mixing bucket; 6. water injection pipe; 7. feed port; 8. square groove; 9. scraper; 10, connecting plate; 11, screw mandrel; 12, first bevel gear; 13, worm gear; 14, worm; 15, stirring rod; 16, second bevel gear; 17, rotating rod; 18, third bevel gear; 19 , the fourth bevel gear; 20, a circular frame.
具体实施方式Detailed ways
本实用新型实施例提供一种饲料混合装置。The embodiment of the utility model provides a feed mixing device.
请参阅图1、图2、图3和图4,包括底座1,底座1顶部固定连接有U形板2,U形板2底部固定连接有固定杆3,固定杆3底部固定连接有圆形板4,圆形板4外侧转动连接有混合桶5,圆形板4顶部安装有注水管6和进料口7,混合桶5底部安装有出料口,混合桶5内部设置有搅拌杆15,搅拌杆15顶端贯穿圆形板4并与圆形板4转动连接,圆形板4顶部设有驱动电机,驱动电机输出端与搅拌杆15固定连接,驱动电机固定连接于U形板2顶部,搅拌杆15与圆形板4之间设有转动组件,圆形板4顶部开设有两个方形槽8,两个方形槽8内部均设有刮板9,两个刮板9之间固定连接有连接板10,连接板10底部设置有丝杆11,丝杆11顶端贯穿连接板10并有连接板10通过滚珠螺母副连接,丝杆11底端转动连接于U形板2顶部,丝杆11外侧固定连接有蜗轮13,蜗轮13外侧啮合连接有蜗杆14,U形板2顶部固定连接有正反电机,正反电机输出端与蜗杆14固定连接,丝杆11外侧设有限位杆,限位杆固定连接于U形板2顶部,限位杆顶端贯穿连接板10并与连接板10滑动连接。Please refer to Figure 1, Figure 2, Figure 3 and Figure 4, including the base 1, the top of the base 1 is fixedly connected with a
具体的,当对混合桶5内壁进行清洗时,通过启动正反电机,对于正反电机型号不做具体限定,以适配设备为准,正反电机输出端带动蜗杆14进行正向转动,蜗杆14与蜗轮13啮合连接,蜗轮13带动丝杆11进行转动,在限位杆的作用下,丝杆11与连接板10通过滚珠螺母副连接,使得连接板10带动两侧设置的刮板9往混合桶5内部移动,两个刮板9均与混合桶5内壁相接触,两个刮板9下降到混合桶5内合适的位置,再通过注水管6往混合桶5内部注水,通过转动组件的设置对于转动组件后续会进一步阐述,从而使得搅拌杆15在转动的情况下,混合桶5也处于转动的状态,通过两个刮板9将混合桶5内壁粘附的饲料进行刮除清洗,这种操作方式,从而解决了人员无需将盖板进行拆卸的问题,从而节省了工作人员的时间,提高了装置的使用效果。Specifically, when cleaning the inner wall of the
请再次参阅图1、图2、图3和图4,转动组件包括第一锥齿轮12,第一锥齿轮12固定连接于搅拌杆15外侧,第一锥齿轮12外侧啮合连接有第二锥齿轮16,第二锥齿轮16后侧固定连接有转杆17,转杆17一端贯穿固定杆3并与固定杆3转动连接,转杆17一端固定连接有第三锥齿轮18,转动组件还包括第四锥齿轮19,第四锥齿轮19啮合连接于第三锥齿轮18外侧,第四锥齿轮19底部固定连接有圆形框20,圆形框20固定连接于混合桶5顶部。Please refer to Fig. 1, Fig. 2, Fig. 3 and Fig. 4 again, the rotating assembly includes a
具体的,当通过注水管6往混合桶5内部注水时,此时启动驱动电机,对于驱动电机型号不做具体限定,以适配设备为准,驱动电机输出端带动搅拌杆15在混合桶5内进行转动,搅拌杆15带动外侧固定连接的第一锥齿轮12转动,第一锥齿轮12与第二锥齿轮16啮合连接,转杆17带动第三锥齿轮18转动,第三锥齿轮18与第四锥齿轮19啮合连接,第四锥齿轮19通过圆形框20带动混合桶5处于转动状态,从而使得进入混合桶5内的两个刮板9对混合桶5内壁粘附的饲料进行均匀地刮除清洗。Specifically, when water is poured into the
以上显示和描述了本实用新型的基本原理和主要特征和本实用新型的优点。本行业的技术人员应该了解,本实用新型不受上述实施例的限制,上述实施例和说明书中描述的只是说明本实用新型的原理,在不脱离本实用新型精神和范围的前提下,本实用新型还会有各种变化和改进,这些变化和改进都落入要求保护的本实用新型范围内。本实用新型要求保护范围由所附的权利要求书及其等效物界定。The basic principles and main features of the present utility model and the advantages of the present utility model have been shown and described above. Those skilled in the art should understand that the utility model is not limited by the above-mentioned embodiments. The above-mentioned embodiments and descriptions only illustrate the principle of the utility model. Without departing from the spirit and scope of the utility model, the utility model The new model also has various changes and improvements, and these changes and improvements all fall within the scope of the claimed utility model. The scope of protection required by the utility model is defined by the appended claims and their equivalents.
Claims (7)
Priority Applications (1)
| Application Number | Priority Date | Filing Date | Title |
|---|---|---|---|
| CN202222727138.4U CN218358841U (en) | 2022-10-17 | 2022-10-17 | Feed mixing device |
Applications Claiming Priority (1)
| Application Number | Priority Date | Filing Date | Title |
|---|---|---|---|
| CN202222727138.4U CN218358841U (en) | 2022-10-17 | 2022-10-17 | Feed mixing device |
Publications (1)
| Publication Number | Publication Date |
|---|---|
| CN218358841U true CN218358841U (en) | 2023-01-24 |
Family
ID=84931649
Family Applications (1)
| Application Number | Title | Priority Date | Filing Date |
|---|---|---|---|
| CN202222727138.4U Expired - Fee Related CN218358841U (en) | 2022-10-17 | 2022-10-17 | Feed mixing device |
Country Status (1)
| Country | Link |
|---|---|
| CN (1) | CN218358841U (en) |
-
2022
- 2022-10-17 CN CN202222727138.4U patent/CN218358841U/en not_active Expired - Fee Related
Similar Documents
| Publication | Publication Date | Title |
|---|---|---|
| CN221093893U (en) | Wastewater treatment equipment with even dosing and impurity removal functions | |
| CN116375283A (en) | Environmental protection equipment for sewage treatment | |
| CN219849341U (en) | Special high-speed stirring mixer of fertilizer | |
| CN207227136U (en) | A kind of sanitary sewage disposal aeration tank | |
| CN218403930U (en) | Efficient excrement fermentation treatment equipment for livestock and poultry breeding | |
| CN218358841U (en) | Feed mixing device | |
| CN218951398U (en) | Production equipment of plant growth-promoting microbial agent | |
| CN221643300U (en) | Slurry tank lifting structure | |
| CN223602431U (en) | Stirring device for producing road marking paint | |
| CN223688986U (en) | Silt cleaning device for land utilization and ecological restoration | |
| CN218988956U (en) | Breed sewage treatment equipment with disinfection function | |
| CN222328717U (en) | A vertical high-speed mixer | |
| CN222931420U (en) | Diamond material washing equipment | |
| CN221287683U (en) | Biological agent configuration device for repairing oil-containing soil | |
| CN219489809U (en) | Microbial toilet excrement treatment device | |
| CN220919003U (en) | Stirring device for vermicelli production | |
| CN219816097U (en) | Dirty agitating unit of beasts and birds excrement | |
| CN221788394U (en) | Waste water treatment device | |
| CN221558127U (en) | Biopharmaceutical mixing arrangement | |
| CN221656467U (en) | Scale control polymer auxiliary agent preparation facilities | |
| CN221729328U (en) | An integrated feeding and drinking trough | |
| CN221045907U (en) | Organic fertilizer production equipment | |
| CN221089477U (en) | Mixer that uses is built to engineering | |
| CN221988541U (en) | A raw material fermentation tank for livestock feed production | |
| CN217068984U (en) | Convenient-to-clean pain relieving paste processing and smashing device |
Legal Events
| Date | Code | Title | Description |
|---|---|---|---|
| GR01 | Patent grant | ||
| GR01 | Patent grant | ||
| CF01 | Termination of patent right due to non-payment of annual fee | ||
| CF01 | Termination of patent right due to non-payment of annual fee |
Granted publication date: 20230124 |
