CN218355967U - Excrement and urine disconnect-type ecological lavatory - Google Patents
Excrement and urine disconnect-type ecological lavatory Download PDFInfo
- Publication number
- CN218355967U CN218355967U CN202222594348.0U CN202222594348U CN218355967U CN 218355967 U CN218355967 U CN 218355967U CN 202222594348 U CN202222594348 U CN 202222594348U CN 218355967 U CN218355967 U CN 218355967U
- Authority
- CN
- China
- Prior art keywords
- urine
- feces
- outflow pipe
- storage tank
- toilet
- Prior art date
- Legal status (The legal status is an assumption and is not a legal conclusion. Google has not performed a legal analysis and makes no representation as to the accuracy of the status listed.)
- Expired - Fee Related
Links
Images
Classifications
-
- Y—GENERAL TAGGING OF NEW TECHNOLOGICAL DEVELOPMENTS; GENERAL TAGGING OF CROSS-SECTIONAL TECHNOLOGIES SPANNING OVER SEVERAL SECTIONS OF THE IPC; TECHNICAL SUBJECTS COVERED BY FORMER USPC CROSS-REFERENCE ART COLLECTIONS [XRACs] AND DIGESTS
- Y02—TECHNOLOGIES OR APPLICATIONS FOR MITIGATION OR ADAPTATION AGAINST CLIMATE CHANGE
- Y02A—TECHNOLOGIES FOR ADAPTATION TO CLIMATE CHANGE
- Y02A50/00—TECHNOLOGIES FOR ADAPTATION TO CLIMATE CHANGE in human health protection, e.g. against extreme weather
- Y02A50/30—Against vector-borne diseases, e.g. mosquito-borne, fly-borne, tick-borne or waterborne diseases whose impact is exacerbated by climate change
Landscapes
- Sanitary Device For Flush Toilet (AREA)
Abstract
本实用新型公开了一种粪尿分离式生态厕所,包括支撑板,所述支撑板上设有厕所屋体,所述厕所屋体内设有小便池和蹲便池,所述支撑板下方设有储尿池和储粪池,所述蹲便池底部连接有第一尿液流出管和粪便流出管,所述小便池底部连接有第二尿液流出管,所述第一尿液流出管和所述第二尿液流出管合并形成集尿管,所述集尿管通至所述储尿池内,所述粪便流出管通至所述储粪池内。本实用新型的生态厕所具有运行成本低、管理维护方便、干净卫生、感官效果好、不会对环境造成任何污染并能够实现资源循环等优点。
The utility model discloses a feces and urine separation type ecological toilet, which comprises a support plate, a toilet body is arranged on the support plate, a urinal and a squatting urinal are arranged in the body of the toilet, and a A urine storage tank and a cesspool, the bottom of the squatting urinal is connected with a first urine outflow pipe and a feces outflow pipe, the bottom of the urinal is connected with a second urine outflow pipe, the first urine outflow pipe and The second urine outflow pipes merge to form a urine collection pipe, the urine collection pipe leads into the urine storage tank, and the feces outflow pipe leads into the cesspool. The ecological toilet of the utility model has the advantages of low operating cost, convenient management and maintenance, clean and hygienic, good sensory effects, no pollution to the environment, and resource recycling.
Description
技术领域technical field
本实用新型涉及生态厕所技术领域,具体为一种粪尿分离式生态厕所。The utility model relates to the technical field of ecological toilets, in particular to a waste-urine separation type ecological toilet.
背景技术Background technique
“一个土坑两块砖,三尺土墙围四边。”这是中国农村旱厕的真实写照,夏天蝇蛆成群,冬天粪尿结冰,终日臭气熏天,这种旱厕不仅污染了环境,而且极易导致寄生虫病、肠道传染病和血吸虫病流行。因此改变农村的露天厕所、临时厕所等情况刻不容缓。"A pit with two bricks, surrounded by three-foot-earth walls." This is a true portrayal of dry toilets in rural China. Fly maggots swarm in summer, and feces and urine freeze in winter. environment, and can easily lead to the prevalence of parasitic diseases, intestinal infectious diseases and schistosomiasis. Therefore, it is urgent to change the situation of open-air toilets and temporary toilets in rural areas.
农村传统的简易厕所缺乏粪尿收集处理与防渗措施,雨天容易满溢流出,致使大量虫卵、病菌和污染物扩散,污染农村环境。据世界卫生组织(WHO)统计,“全球大约有23 亿人缺乏安全的厕所卫生设施,其中约9.46亿人没有厕所卫生设施”。截至2016年底,我国参与第三次农业普查的2.3亿农户中,36.2%的农民使用水冲式卫生厕所,12.4%的农户使用卫生旱厕”。虽然水冲式厕所提高了厕所卫生条件,但水冲式厕所存在诸多弊端︰①水资源耗费巨大;②污水厂运行负荷和成本显著提高;③存在污泥处置和氮磷等资源回收与利用问题。The traditional simple toilets in rural areas lack feces and urine collection and anti-seepage measures, and they are prone to overflow in rainy days, resulting in the spread of a large number of insect eggs, germs and pollutants, polluting the rural environment. According to the World Health Organization (WHO), "approximately 2.3 billion people around the world lack safe toilet sanitation facilities, of which about 946 million people do not have toilet sanitation facilities". As of the end of 2016, among the 230 million rural households participating in the third agricultural census in my country, 36.2% of the farmers used flush toilets, and 12.4% of the households used dry toilets.” Although flush toilets have improved the sanitary conditions of toilets, but There are many disadvantages in flushing toilets: ① huge consumption of water resources; ② significantly increased operating load and cost of sewage plants; ③ problems with sludge disposal and resource recovery and utilization such as nitrogen and phosphorus.
我们结合美丽乡村建设对农村厕所生态化改造的实际需求,在对不同地区农村厕所现状调查分析的基础上,研制出了农村厕所低成本生态化的改造方案和安装布置形式,为农村“厕所革命”献力。Combining the actual needs of the construction of beautiful countryside for the ecological transformation of rural toilets, and based on the investigation and analysis of the status quo of rural toilets in different regions, we have developed a low-cost ecological transformation plan and installation layout form of rural toilets, which will serve as a "toilet revolution" in rural areas. "Dedication.
实用新型内容Utility model content
本实用新型的目的在于提供一种粪尿分离式生态厕所,以解决上述背景技术中提出的问题。The purpose of this utility model is to provide a kind of excrement and urine separation type ecological toilet, to solve the problems raised in the above-mentioned background technology.
为解决上述技术问题,本实用新型提供如下技术方案:In order to solve the above technical problems, the utility model provides the following technical solutions:
一种粪尿分离式生态厕所,包括支撑板,所述支撑板上设有厕所屋体,所述厕所屋体内设有小便池和蹲便池,所述支撑板下方设有储尿池和储粪池,所述蹲便池底部连接有第一尿液流出管和粪便流出管,所述小便池底部连接有第二尿液流出管,所述第一尿液流出管和所述第二尿液流出管合并形成集尿管,所述集尿管通至所述储尿池,所述粪便流出管通至所述储粪池。A kind of excrement and urine separation type ecological toilet, comprising a support plate, a toilet body is arranged on the support plate, a urinal and a squatting urinal are arranged in the body of the toilet, a urine storage tank and a storage tank are arranged under the support plate. A cesspool, the bottom of the squatting urinal is connected with a first urine outflow pipe and a feces outflow pipe, the bottom of the urinal is connected with a second urine outflow pipe, the first urine outflow pipe and the second urine outflow pipe The liquid outflow pipes are combined to form a urine collection pipe, the urine collection pipe leads to the urine storage tank, and the feces outflow pipe leads to the septic storage tank.
其中,所述储粪池内设有中空的锥形圆台,所述锥形圆台的顶部正对着粪便流出管,所述锥形圆台的底部连接有圆台支架。Wherein, the septic tank is provided with a hollow conical circular frustum, the top of the conical circular frustum is facing the feces outflow pipe, and the bottom of the conical circular frustum is connected with a circular frustum support.
其中,所述蹲便池中部顶部为弧形的凸起部,连接所述凸起部与所述第一尿液流出管、所述粪便流出管的连接面均为斜面,Wherein, the top of the middle part of the squatting urinal is an arc-shaped raised portion, and the connecting surfaces connecting the raised portion with the first urine outflow pipe and the feces outflow pipe are inclined planes,
其中,所述储粪池底部设有掺有菌种的草木灰和秸秆混合层。Wherein, the bottom of the dung storage tank is provided with a mixed layer of plant ash mixed with bacteria and straw.
其中,所述储粪池顶部连接有排气管,所述排气管穿过支撑板通至所述厕所屋体的顶部外。Wherein, the top of the septic tank is connected with an exhaust pipe, and the exhaust pipe passes through the support plate to the outside of the top of the toilet body.
其中,所述厕所屋体的顶部设有太阳能板。Wherein, the top of the toilet body is provided with a solar panel.
其中,所述厕所屋体的墙体上设有排气扇。Wherein, the wall of the toilet room is provided with an exhaust fan.
其中,还包括不锈钢或彩钢板楼梯,所述不锈钢或彩钢板楼梯顶部通至所述支撑板。Among them, stainless steel or color steel plate stairs are also included, and the top of the stainless steel or color steel plate stairs leads to the support plate.
其中,所述储尿池和所述储粪池的底部分别设有滚轮。Wherein, the bottoms of the urine storage tank and the dung storage tank are respectively provided with rollers.
有益效果Beneficial effect
本实用新型提供了一种粪尿分集式生态厕所,具备以下有益效果:The utility model provides a excrement and urine diversity ecological toilet, which has the following beneficial effects:
本实用新型粪尿分集式生态厕所主要适用于干旱缺水地区、难以下挖的山地地区、冰冻时间较长的寒冷地区以及对农家肥有需求的地区,生态厕所具有运行成本低、管理维护方便、干净卫生、感官效果好、不会对环境造成任何污染并能够实现资源循环等优点。The utility model excrement and urine diversity ecological toilet is mainly suitable for arid and water-deficient areas, mountainous areas that are difficult to dig, cold areas with long freezing time and areas that require farmyard manure. The ecological toilet has the advantages of low operating cost and convenient management and maintenance. , Clean and hygienic, good sensory effect, will not cause any pollution to the environment and can realize resource recycling and other advantages.
附图说明Description of drawings
图1为本实用新型生态厕所主视的结构示意图;Fig. 1 is the structural representation of the main view of the utility model ecological toilet;
图2 为本实用新型生态厕所左视的结构示意图(未带楼梯)。Fig. 2 is a structural schematic diagram of the utility model ecological toilet from the left (without stairs).
图3 为本实有新型中蹲便池的剖面结构示意图。Fig. 3 is a schematic cross-sectional structure diagram of the novel mid-squatting urinal of the present invention.
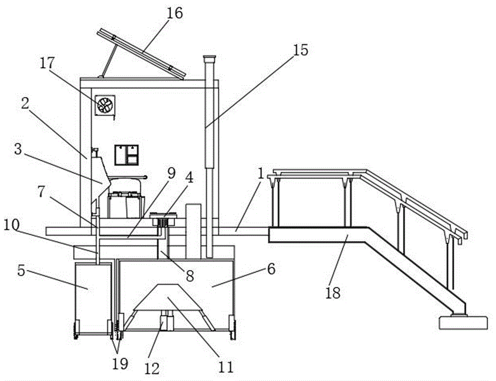
图中:1.支撑板,2.厕所屋体,3.小便池,4.蹲便池,5 储尿池,6.储粪池,7.第一尿液流出管,8.粪便流出管,9.第二尿液流出管,10.集尿管,11.锥形圆台,12.圆台支架,13.凸起部,14.斜面,15.排气管,16.太阳能板,17.排气扇,18.不锈钢或彩钢板楼梯,19.滚轮。In the figure: 1. Support board, 2. Toilet body, 3. Urinal, 4. Squatting urinal, 5. Urine storage tank, 6. Feces storage tank, 7. First urine outflow pipe, 8. Feces outflow pipe , 9. Second urine outflow pipe, 10. Urine collecting pipe, 11. Conical round table, 12. Round table support, 13. Raised part, 14. Inclined surface, 15. Exhaust pipe, 16. Solar panel, 17. Exhaust fan, 18. Stainless steel or color steel plate stairs, 19. Rollers.
具体实施方式Detailed ways
下面将结合本实用新型实施例中的附图,对本实用新型实施例中的技术方案进行清楚、完整地描述,显然,所描述的实施例仅仅是本实用新型一部分实施例,而不是全部的实施例。基于本实用新型中的实施例,本领域普通技术人员在没有做出创造性劳动前提下所获得的所有其他实施例,都属于本实用新型保护的范围。The technical solutions in the embodiments of the present invention will be clearly and completely described below in conjunction with the accompanying drawings in the embodiments of the present invention. Obviously, the described embodiments are only part of the embodiments of the present invention, not all of them. example. Based on the embodiments of the present utility model, all other embodiments obtained by persons of ordinary skill in the art without making creative efforts belong to the scope of protection of the present utility model.
请参阅图1-图3,本实施例提供一种粪尿分离式生态厕所,包括支撑板1,支撑板1上设有厕所屋体2,厕所屋体2内设有小便池3和蹲便池4,支撑板1下方设有储尿池5和储粪池6,蹲便池4底部连接有第一尿液流出管7和粪便流出管8,小便池3底部连接有第二尿液流出管9,第一尿液流出管7和第二尿液流出管9合并形成集尿管10,集尿管10通至储尿池5,粪便流出管8通至储粪池6。储粪池6底部设有掺有菌种的草木灰和秸秆混合层(图中未示出),尿池里也添加有菌种。菌种可购买市售的菌种。Please refer to Fig. 1-Fig. 3, the present embodiment provides a kind of excrement and urine separation type ecological toilet, comprises
多个国家和公司都已研究出分解尿液和粪便的菌种(例如日本的NS-30型、CN-100型、GS-300型及大自然型四类。NS-30型是液体状态,另有类同NS-30型的固体状态的GS-300型;芬兰的除臭、除味、消纳化粪池臭气粪便的菌种;深圳龙澄公司研制的LG-SSB-Ⅱ型复合菌种;上海金迪生物研究所研制的菌种等),只需要正确使用和适当保存即可。本实用新型的原理是把粪和尿分开单独收集,将无害的尿液导入储尿桶加入特定菌种后加以利用,粪便需在储粪池6内与特定菌种混合发酵以后变成肥料。Many countries and companies have researched bacteria that decompose urine and feces (such as Japan's NS-30 type, CN-100 type, GS-300 type and natural type four types. NS-30 type is in a liquid state, There is also the GS-300 type in a solid state similar to the NS-30 type; Finland's deodorizing, deodorizing, and absorbing septic tank odorous feces strains; LG-SSB-Ⅱ compound type developed by Shenzhen Longcheng Company Strains; strains developed by Shanghai Jindi Institute of Biology, etc.), only need to be used correctly and properly preserved. The principle of the utility model is to separate and collect feces and urine separately, import the harmless urine into the urine storage tank and add specific strains for use, and the feces need to be mixed and fermented with specific strains in the
其中,储粪池6内设有中空的锥形圆台11,锥形圆台11的顶部正对着粪便流出管8,锥形圆台11的底部连接有圆台支架12。Wherein, the
其中,蹲便池4中部顶部为弧形的凸起部13,连接凸起部13与第一尿液流出管7、粪便流出管8的连接面均为斜面14,便于尿液与粪便的分别收集。Wherein, the top of the middle part of the squatting
其中,其中,储粪池6顶部连接有排气管15,排气管15穿过支撑板1通至厕所屋体2的顶部外。Wherein, wherein, the top of the
其中,厕所屋体2的顶部设有太阳能板16。厕所屋体2的墙体上设有排气扇17。Wherein, the top of the
其中,还包括不锈钢或彩钢板楼梯18,不锈钢或彩钢板楼梯18顶部通至支撑板1。Among them, stainless steel or color
其中,储尿池5和储粪池6的底部分别设有滚轮19。Wherein, the bottoms of the urine storage tank 5 and the
使用分析use analysis
1.如厕方式。1. The way to go to the toilet.
男性在如厕时使用小便池3以及蹲厕的与储粪池6相接的孔内;女性在如厕时需要将尿液如厕至与储尿池5相连接的孔内,粪便需被如厕至与储粪池6相连接的孔,实现粪尿分集。Men use the
2.分解过程2. Decomposition process
在使用之前,可在储粪池6底铺一层秸秆和草木灰,再加入适量的特制菌种。在如厕完毕后再撒入适量菌种以及草木灰,这样既可以保证粪便能与菌种充分反应,又可以掩盖粪便的气味。在储尿池5集满以后可以加入液体菌种,发酵以后就做成尿酵素了,尿酵素是优质的液体肥。Before use, a layer of straw and plant ash can be spread on the bottom of the
3.人本思想3. Humanistic thought
根据农村的经济情况、如厕习惯以及粪尿分集的情况,我们更建议采用蹲便,但是考虑到一些个人因素,根据农村的现实条件,我们建议就地取材,在木凳中间挖孔代替坐便。根据节能环保原则,建议在厕所顶部安装太阳能板,厕所的供电由太阳能全权解决(照明、排气等)According to the rural economic situation, toilet habits, and the situation of excrement and urine diversion, we recommend squatting, but considering some personal factors, according to the actual conditions in rural areas, we recommend using local materials and digging holes in the middle of wooden stools instead of sitting. convenient. According to the principle of energy conservation and environmental protection, it is recommended to install solar panels on the top of the toilet, and the power supply of the toilet is fully resolved by solar energy (lighting, exhaust, etc.)
4.粪便堆积方式4. The way of feces accumulation
正常粪箱都会出现中间“堆积如山”,四周“干干净净”的尴尬局面,为解决这个问题,我们设计了粪箱中央的中空圆台设计。粪便可能会先集中掉落在粪池中央,在堆积至顶时,再次掉落的粪便将会顺着圆台光滑的边缘散落着四周,解决了粪便堆积不均匀问题。Normal manure tanks will have the embarrassing situation of "pile up like a mountain" in the middle and "clean and clean" around. To solve this problem, we designed a hollow round table design in the center of the manure tank. The feces may fall in the center of the septic tank first, and when they are piled up to the top, the fallen feces will be scattered around along the smooth edge of the round table, which solves the problem of uneven accumulation of feces.
5.粪箱粪车一体化5. Integration of manure tank and manure truck
本实用新型为粪箱粪车一体化,由于普通的储粪池6、储尿池5由于较大的体型和重量,移动较为困难。因此我们在储粪池6下安装了滚轮19,使储粪池6和储尿池5实现了自由移动,真正实现有机肥料“哪里需要推哪里,随时需要随时推”。在储粪池6、储尿池5下方安装阀口,随时需要随时打开阀口,可控制有机肥用量。The utility model is the integration of excrement tanks and excrement trucks, and it is relatively difficult to move due to the larger size and weight of the common
6.设计定位6. Design positioning
粪尿分集式厕所主要适用于干旱缺水地区、难以下挖的山地地区、冰冻时间较长的寒冷地区以及对农家肥有需求的地区,生态厕所具有运行成本低、管理维护方便、干净卫生、感官效果好、不会对环境造成任何污染并能够实现资源循环等优点。Urine-diverting toilets are mainly suitable for arid and water-scarce areas, mountainous areas that are difficult to dig, cold areas with long freezing times, and areas that require farmyard manure. Ecological toilets have the advantages of low operating costs, convenient management and maintenance, clean and hygienic, It has the advantages of good sensory effect, no pollution to the environment and the ability to realize resource recycling.
尽管已经示出和描述了本实用新型的实施例,对于本领域的普通技术人员而言,可以理解在不脱离本实用新型的原理和精神的情况下可以对这些实施例进行多种变化、修改、替换和变型,本实用新型的范围由所附权利要求及其等同物限定。Although the embodiments of the present invention have been shown and described, those skilled in the art can understand that various changes and modifications can be made to these embodiments without departing from the principle and spirit of the present invention , replacements and modifications, the scope of the present utility model is defined by the appended claims and their equivalents.
Claims (9)
Priority Applications (1)
| Application Number | Priority Date | Filing Date | Title |
|---|---|---|---|
| CN202222594348.0U CN218355967U (en) | 2022-09-29 | 2022-09-29 | Excrement and urine disconnect-type ecological lavatory |
Applications Claiming Priority (1)
| Application Number | Priority Date | Filing Date | Title |
|---|---|---|---|
| CN202222594348.0U CN218355967U (en) | 2022-09-29 | 2022-09-29 | Excrement and urine disconnect-type ecological lavatory |
Publications (1)
| Publication Number | Publication Date |
|---|---|
| CN218355967U true CN218355967U (en) | 2023-01-24 |
Family
ID=84956634
Family Applications (1)
| Application Number | Title | Priority Date | Filing Date |
|---|---|---|---|
| CN202222594348.0U Expired - Fee Related CN218355967U (en) | 2022-09-29 | 2022-09-29 | Excrement and urine disconnect-type ecological lavatory |
Country Status (1)
| Country | Link |
|---|---|
| CN (1) | CN218355967U (en) |
-
2022
- 2022-09-29 CN CN202222594348.0U patent/CN218355967U/en not_active Expired - Fee Related
Similar Documents
| Publication | Publication Date | Title |
|---|---|---|
| CN202761179U (en) | Flush-free toilet | |
| CN108968764A (en) | The recycling Collection utilization system of town and country lavatory excreta | |
| CN203238723U (en) | Active urine recovery system based on temperature control | |
| CN218355967U (en) | Excrement and urine disconnect-type ecological lavatory | |
| CN209489950U (en) | Resource-type biological toilet | |
| CN202537374U (en) | Rural environment-friendly water-saving dry pail latrine | |
| CN2579322Y (en) | Combined water flushing-free biological toilet | |
| CN2440445Y (en) | Assembled lavatory with separated urine from shit | |
| CN102285818A (en) | Domestic sewage and garbage collection treatment method based on decompression discharge technique | |
| CN113622489B (en) | A freeze-proof clean source separation toilet | |
| CN115478593A (en) | A kind of excrement separation device | |
| CN201046088Y (en) | An environmental protection thermal insulation toilet | |
| CN212154259U (en) | Microbial degradation dry toilet pool | |
| CN111297242A (en) | Public dry pail latrine of plateau severe cold farming-pasturing area ecological health | |
| CN201109747Y (en) | Anaerobic-aerobic treatment system apparatus for countryside domesticity sewage | |
| CN2416154Y (en) | Water-closet with means to prevent freezing | |
| CN203977896U (en) | A kind of connect biomass pool accumulate formula lavatory | |
| CN205773592U (en) | Unpowered aerobic reactor | |
| CN212307677U (en) | Indoor water induction toilet bowl and outdoor heat-insulation movable excrement treatment toilet | |
| CN214402912U (en) | Sanitary dry toilet | |
| CN201301570Y (en) | Flushing-free environment-friendly sanitary toilet | |
| CN201395956Y (en) | Sanitary toilet built through precast slab | |
| CN201551263U (en) | Waterless, deodorizing, hygienic, and environmentally friendly toilets | |
| CN1957818A (en) | Structure, method, and material of linkage in use for flushing free, no need of electric energy environmental protection water closet | |
| CN200984129Y (en) | Environment protecting urn water closet |
Legal Events
| Date | Code | Title | Description |
|---|---|---|---|
| GR01 | Patent grant | ||
| GR01 | Patent grant | ||
| CF01 | Termination of patent right due to non-payment of annual fee |
Granted publication date: 20230124 |
|
| CF01 | Termination of patent right due to non-payment of annual fee |
