CN218342054U - Rubber joint rotation type compound die workstation - Google Patents
Rubber joint rotation type compound die workstation Download PDFInfo
- Publication number
- CN218342054U CN218342054U CN202222283544.6U CN202222283544U CN218342054U CN 218342054 U CN218342054 U CN 218342054U CN 202222283544 U CN202222283544 U CN 202222283544U CN 218342054 U CN218342054 U CN 218342054U
- Authority
- CN
- China
- Prior art keywords
- fixed
- rubber joint
- threaded rod
- mould
- rod
- Prior art date
- Legal status (The legal status is an assumption and is not a legal conclusion. Google has not performed a legal analysis and makes no representation as to the accuracy of the status listed.)
- Active
Links
- 150000001875 compounds Chemical class 0.000 title abstract description 19
- 229920003266 Leaf® Polymers 0.000 claims abstract description 20
- 230000009471 action Effects 0.000 claims description 13
- 238000004519 manufacturing process Methods 0.000 claims description 9
- 238000001125 extrusion Methods 0.000 claims description 8
- 230000002457 bidirectional effect Effects 0.000 claims description 7
- 230000001105 regulatory effect Effects 0.000 claims description 5
- 230000007246 mechanism Effects 0.000 abstract description 8
- 238000001514 detection method Methods 0.000 abstract description 5
- 230000009977 dual effect Effects 0.000 abstract description 2
- 238000000034 method Methods 0.000 abstract description 2
- 230000000694 effects Effects 0.000 description 7
- 210000003813 thumb Anatomy 0.000 description 3
- BKUKXOMYGPYFJJ-UHFFFAOYSA-N 2-ethylsulfanyl-1h-benzimidazole;hydrobromide Chemical compound Br.C1=CC=C2NC(SCC)=NC2=C1 BKUKXOMYGPYFJJ-UHFFFAOYSA-N 0.000 description 1
- 230000004075 alteration Effects 0.000 description 1
- 230000009286 beneficial effect Effects 0.000 description 1
- 230000007547 defect Effects 0.000 description 1
- 238000010586 diagram Methods 0.000 description 1
- 238000009434 installation Methods 0.000 description 1
- 230000004048 modification Effects 0.000 description 1
- 238000012986 modification Methods 0.000 description 1
- 230000009467 reduction Effects 0.000 description 1
- 230000000630 rising effect Effects 0.000 description 1
- 238000003756 stirring Methods 0.000 description 1
- 238000006467 substitution reaction Methods 0.000 description 1
Images
Landscapes
- On-Site Construction Work That Accompanies The Preparation And Application Of Concrete (AREA)
Abstract
The utility model discloses a rubber joint rotary type die closing workbench, which comprises a workbench body, wherein a tool box is fixed on the upper end surface of the workbench body, a motor is fixed on the lower end surface of the workbench body, and a disc is fixed at the tail end of an output shaft of the motor; further comprising: the layer board is fixed on the disc, and bearing connection has two-way threaded rod on the layer board to two-way threaded rod bearing connects on the disc, be connected with four rotatable fly leafs through the column hub connection on the layer board. This rubber joint rotation type compound die workstation adopts adjustable dual stop gear, can realize carrying out the centre gripping to the rubber joint mould of different shapes fixed to guarantee the stability of rubber joint mould, avoid the compound die in-process mould to slide, cooperation rotary mechanism can rotate the rubber joint mould, both can guarantee the normal clear of compound die, can make things convenient for the compound die to carry out comprehensive detection again, improves the functional of workstation.
Description
Technical Field
The utility model relates to a workstation technical field for the rubber joint mould specifically is a rubber joint rotation type compound die workstation.
Background
Rubber joint is also known as rubber tube soft joint, it is mainly connected fixedly through the flange, it has advantages such as vibration/noise reduction and anti hot rising shrinkage, widely used in the connection of industrial pipe-line system, in rubber joint production process, need realize design production through the mould, after the mould is made, need carry out compound die detection to the mould, in order to guarantee follow-up rubber joint's normal production, when carrying out compound die detection, need be through the compound die equipment of special compound die workstation with the auxiliary mold, current compound die workstation for rubber joint mainly adopts simple planar workstation to be used for the compound die installation of mould, this kind of workstation still has certain defect when using:
the mould closing workbench for the existing rubber joint is used for assembling a mould, the mould is mainly and directly placed on a workbench surface, when the mould is closed, collision between the moulds can generate certain vibration, the existing mould closing workbench for the rubber joint is lack of an adjustable limiting mechanism, the mould is difficult to limit and fix, the mould is easy to slide, the mould closing precision is influenced, after the mould is closed, the mould is convenient to detect in all directions, the mould needs to be rotated, the existing mould closing workbench for the rubber joint is lack of a rotating mechanism, the mould needs to be rotated manually, the mould weight is large, the rotation difficulty is caused, the actual detection is influenced, and the like, so that the existing mould closing workbench for the rubber joint is required to be improved according to the problems so as to meet the actual requirements.
SUMMERY OF THE UTILITY MODEL
An object of the utility model is to provide a rubber joint rotation type compound die workstation to it leads to being difficult to the pivoted problem of mould to provide the fixed and lack rotary mechanism that leads to being difficult to realize the mould that lacks adjustable stop gear in solving above-mentioned background art.
In order to achieve the above object, the utility model provides a following technical scheme: a rubber joint rotary type die closing workbench comprises a workbench body, wherein a tool box is fixed on the upper end face of the workbench body, a motor is fixed on the lower end face of the workbench body, and a disc is fixed at the tail end of an output shaft of the motor;
further comprising:
the layer board is fixed on the disc, and bearing connection has two-way threaded rod on the layer board to two-way threaded rod bearing connection is on the disc, be connected with four rotatable fly leafs of group through the column hub on the layer board, and the fly leaf top is provided with mobilizable mounting panel to there is first threaded rod through threaded connection on the mounting panel to be used for the regulating action, and first threaded rod bearing connection is on splint simultaneously.
Preferably, the last symmetry of two-way threaded rod is fixed with the hand thumb wheel, and has the movable block through threaded connection on the two-way threaded rod and be used for the regulating action, through rotating the hand thumb wheel, can make two-way threaded rod rotate, and the pivoted action between cooperation two-way threaded rod and the movable block can make the movable block atress remove to provide basic effort for the rotation of connecting rod.
Preferably, be connected with rotatable connecting rod through the column hub connection on the movable block, and the connecting rod is the symmetric distribution about the central line of movable block to the connecting rod other end rotates through the column hub connection on the fly leaf, and when the connecting rod rotated, the fly leaf atress was rotatory around the layer board this moment, thereby adjusted the distance between the fly leaf, so that the rubber joint mould that adapts to different shapes is fixed, improved device's adaptability.
Preferably, a sliding rod is connected to the groove in the movable plate in a sliding mode, the sliding rod is nested in the groove in the disc and can slide, when the movable plate is stressed to rotate, the length of the movable plate and the length of the sliding rod can be adjusted through the sliding effect between the sliding rod and the movable plate and the sliding effect between the sliding rod and the disc, and the rotating stability of the movable plate can be guaranteed.
Preferably, the mounting plate is further provided with a sliding block and a positioning screw rod;
the sliding block is fixed on the mounting plate, and is nested in the groove on the movable plate and can slide;
positioning screw, through the screw thread with mounting panel interconnect, and positioning screw and fly leaf contact production extrusion force realize the fixed action, through the sliding action between slider and the fly leaf, can adjust the position of mounting panel to adjust splint's position, make splint upper padding plate and mould contact, thereby realize the regulatory action, the position of deuterogamying positioning screw and fly leaf contact production extrusion force can be fixed, the stability after the assurance mounting panel position control.
Preferably, the clamping plate is also provided with a backing plate and a cross rod;
the base plate is fixed on the clamping plate and used for protection, and the base plate is of an arc-shaped structure;
the horizontal pole, the vertical fixation is in on the splint, and the horizontal pole runs through the mounting panel and can carry out the horizontal slip, when fixing the mould, through rotating first threaded rod, can make the splint atress remove, produce the extrusion force to the mould until splint to can guarantee to the fixed stability of mould, and when splint removed, through the sliding action between horizontal pole and the mounting panel, can guarantee that splint are stable linear motion.
Compared with the prior art, the beneficial effects of the utility model are that: this rubber joint rotation type compound die workstation adopts adjustable dual stop gear, can realize carrying out the centre gripping to the rubber joint mould of different shapes fixed to guarantee the stability of rubber joint mould, avoid the compound die in-process mould to slide, cooperation rotary mechanism can rotate the rubber joint mould, both can guarantee the normal clear of compound die, can make things convenient for the comprehensive detection of going on behind the compound die again, improve the functional of workstation, its concrete content is as follows:
1. the rubber joint rotary type die closing workbench is provided with a connecting rod, a movable block can be moved by rotating a bidirectional threaded rod before fixing a rubber joint die, and the movable block can be forced to rotate by matching with the rotating action of the connecting rod, so that the position of a movable plate is adjusted, the position of a clamping mechanism is adjusted, the rubber joint die with different structures can be conveniently fixed, and the adaptability of the device is improved;
2. this rubber joint rotation type compound die workstation sets up splint, when connecting the mould to rubber and fixing, can once adjust the position of splint through removing the mounting panel to adapt to not unidimensional rubber and connecting the mould and fix, the effect of cooperation first threaded rod can realize the position secondary control to splint, guarantees the fixed stability of rubber joint mould.
Drawings
FIG. 1 is a front view of the sectional structure of the worktable body of the present invention;
FIG. 2 is an enlarged schematic view of the structure at A in FIG. 1 according to the present invention;
FIG. 3 is a schematic top view of the worktable body of the present invention;
FIG. 4 is a schematic view of the front sectional structure of the movable plate of the present invention;
fig. 5 is a schematic diagram of the side view section structure of the movable plate of the present invention.
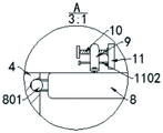
In the figure: 1. a table body; 2. a tool box; 3. a motor; 4. a disc; 5. a support plate; 6. a bidirectional threaded rod; 601. a hand-pulling wheel; 602. a movable block; 7. a connecting rod; 8. a movable plate; 801. a slide bar; 9. mounting a plate; 901. a slider; 902. positioning a screw rod; 10. a first threaded rod; 11. a splint; 1101. a base plate; 1102. a cross bar.
Detailed Description
The technical solutions in the embodiments of the present invention will be described clearly and completely with reference to the accompanying drawings in the embodiments of the present invention, and it is obvious that the described embodiments are only some embodiments of the present invention, not all embodiments. Based on the embodiments in the present invention, all other embodiments obtained by a person skilled in the art without creative work belong to the protection scope of the present invention.
Referring to fig. 1-5, the present invention provides a technical solution: a rotary type die assembly workbench for a rubber joint comprises a workbench body 1, wherein a tool box 2 is fixed on the upper end face of the workbench body 1, a motor 3 is fixed on the lower end face of the workbench body 1, and a disc 4 is fixed at the tail end of an output shaft of the motor 3;
further comprising:
Hand-pulling wheels 601 are symmetrically fixed on the bidirectional threaded rod 6, and a movable block 602 is connected to the bidirectional threaded rod 6 through threads for adjustment; the movable block 602 is connected with a rotatable connecting rod 7 through a columnar shaft, the connecting rod 7 is symmetrically distributed about the center line of the movable block 602, and the other end of the connecting rod 7 is rotatably connected to the movable plate 8 through the columnar shaft; the movable plate 8 is provided with a sliding rod 801 in a sliding connection mode, and the sliding rod 801 is nested in the groove in the disc 4 and can slide.
When fixing the mould for rubber joint production, adjust fixture's position according to the structure of mould earlier, can make two-way threaded rod 6 rotate through stirring hand thumb wheel 601, through the threaded connection effect between two-way threaded rod 6 and the movable block 602, can make the movable block 602 remove, thereby make connecting rod 7 atress rotatory, rotation effect through connecting rod 7, can make fly leaf 8 atress rotate, when fly leaf 8 rotates, through the flexible sliding action between slide bar 801 and the fly leaf 8 and the sliding action between the fluting on slide bar 801 and the disc 4, can guarantee fly leaf 8 pivoted stability, thereby adjust fixture's angle, so that the mould that adapts to different structures is fixed.
The mounting plate 9 is also provided with a sliding block 901 and a positioning screw 902; the slider 901 is fixed on the mounting plate 9, and the slider 901 is nested in the groove on the movable plate 8 and can slide; the positioning screw 902 is connected with the mounting plate 9 through threads, and the positioning screw 902 is in contact with the movable plate 8 to generate extrusion force to realize a fixing effect; the splint 11 is also provided with a backing plate 1101 and a cross bar 1102; the backing plate 1101 is fixed on the splint 11 for protection, and the backing plate 1101 is of an arc structure; and the cross bar 1102 is vertically fixed on the clamping plate 11, and the cross bar 1102 penetrates through the mounting plate 9 to slide left and right.
When fixing the mould, at first place the mould lower mould on layer board 5, through the sliding action between slider 901 and fly leaf 8, can adjust the position of mounting panel 9, until adjusting splint 11 to suitable position can, so that adapt to not unidimensional mould and fix, after adjusting, rethread rotation positioning screw 902, until positioning screw 902 and fly leaf 8 contact and produce the extrusion force, can realize the locate action to mounting panel 9, guarantee the stability after the mounting panel 9 position control, after adjusting, rotate first threaded rod 10 again, through the threaded connection effect between first threaded rod 10 and mounting panel 9, can make splint 11 remove, cooperate the sliding action between horizontal pole 1102 and mounting panel 9, can guarantee the stability that splint 11 remove, until backing plate 1101 on splint 11 and the mould contact produce the extrusion force and realize fixing can, thereby accomplish the fixed action of mould, when going on the lower mould, when needing to rotate the mould lower mould, start motor 3, drive disc 4 and lower mould through motor 3 and rotate, can adjust the angle of lower mould, so as to adapt to the actual operation demand, and can detect through the rubber joint after carrying out the mould rotation.
The working principle is as follows: as shown in fig. 1-5, when the rubber joint rotary die-closing workbench is used, the whole workbench is firstly installed and fixed, then the motor 3 is powered by an external power supply, when the rubber joint production die is fixed, the position of the clamping mechanism is adjusted according to the structure of the die, the bidirectional threaded rod 6 can be rotated by toggling the hand-dial wheel 601, so that the movable block 602 moves, in cooperation with the rotation of the connecting rod 7, the movable plate 8 can be rotated under the stress, so that the angle of the clamping mechanism can be adjusted, so that the die with different structures can be fixed, then the lower die of the die is placed on the supporting plate 5, when the die is fixed, the position of the mounting plate 9 can be adjusted through the sliding action between the sliding block 901 and the movable plate 8, until the clamping plate 11 is adjusted to a proper position, and is locked through the positioning screw, then the first pair of dies 10 is rotated, so that the clamping plate 11 can be moved, until the cushion plate on the clamping plate 11 contacts with the die to generate extrusion force, so that the fixation is realized, when the upper die needs are carried out, when the rubber joint production of the rubber joint is needed, the rubber joint can be detected, the rotating principle that the lower die can be detected by the rotating operation of the rotary threaded rod 3, and the rotating operation of the lower die can be detected, and the rubber joint can be detected, so that the rubber joint can be completely detected, and the rubber joint can be detected, and the rubber joint.
Although embodiments of the present invention have been shown and described, it will be appreciated by those skilled in the art that changes, modifications, substitutions and alterations can be made in these embodiments without departing from the principles and spirit of the invention, the scope of which is defined in the appended claims and their equivalents.
Claims (6)
1. A rubber joint rotary type die closing workbench comprises a workbench body (1), wherein a tool box (2) is fixed on the upper end face of the workbench body (1), a motor (3) is fixed on the lower end face of the workbench body (1), and a disc (4) is fixed at the tail end of an output shaft of the motor (3);
it is characterized by also comprising:
layer board (5), fix on disc (4), and bearing connection has two-way threaded rod (6) on layer board (5) to two-way threaded rod (6) bearing connection is on disc (4), there are four rotatable fly leafs (8) of group through the column hub connection on layer board (5), and fly leaf (8) top is provided with mobilizable mounting panel (9) to there is first threaded rod (10) through threaded connection on mounting panel (9) and is used for the regulating action, and first threaded rod (10) bearing connection is on splint (11) simultaneously.
2. A rotary clamp closing station for a rubber joint as claimed in claim 1, wherein: hand-pulling wheels (601) are symmetrically fixed on the bidirectional threaded rod (6), and a movable block (602) is connected to the bidirectional threaded rod (6) through threads and used for adjusting.
3. A rotary clamp closing station for a rubber joint as claimed in claim 2, wherein: the movable block (602) is connected with a rotatable connecting rod (7) through a cylindrical shaft, the connecting rod (7) is symmetrically distributed about the center line of the movable block (602), and the other end of the connecting rod (7) is rotatably connected to the movable plate (8) through the cylindrical shaft.
4. A rotary clamp closing station for a rubber joint as claimed in claim 3, wherein: a sliding rod (801) is connected to the upper groove of the movable plate (8) in a sliding mode, and the sliding rod (801) is nested in the upper groove of the disc (4) and can slide.
5. A rotary clamp closing station for a rubber joint as claimed in claim 1, wherein: the mounting plate (9) is also provided with a sliding block (901) and a positioning screw rod (902);
the sliding block (901) is fixed on the mounting plate (9), and the sliding block (901) is nested in the groove on the movable plate (8) and can slide;
positioning screw (902), through the screw thread with mounting panel (9) interconnect, and positioning screw (902) and fly leaf (8) contact production extrusion force realize the fixed action.
6. A rotary clamp closing station for a rubber joint as claimed in claim 1, wherein: the splint (11) is also provided with a backing plate (1101) and a cross bar (1102);
the backing plate (1101) is fixed on the clamping plate (11) and used for protection, and the backing plate (1101) is of an arc-shaped structure;
and the cross rod (1102) is vertically fixed on the clamping plate (11), and the cross rod (1102) penetrates through the mounting plate (9) to slide left and right.
Priority Applications (1)
| Application Number | Priority Date | Filing Date | Title |
|---|---|---|---|
| CN202222283544.6U CN218342054U (en) | 2022-08-30 | 2022-08-30 | Rubber joint rotation type compound die workstation |
Applications Claiming Priority (1)
| Application Number | Priority Date | Filing Date | Title |
|---|---|---|---|
| CN202222283544.6U CN218342054U (en) | 2022-08-30 | 2022-08-30 | Rubber joint rotation type compound die workstation |
Publications (1)
| Publication Number | Publication Date |
|---|---|
| CN218342054U true CN218342054U (en) | 2023-01-20 |
Family
ID=84915533
Family Applications (1)
| Application Number | Title | Priority Date | Filing Date |
|---|---|---|---|
| CN202222283544.6U Active CN218342054U (en) | 2022-08-30 | 2022-08-30 | Rubber joint rotation type compound die workstation |
Country Status (1)
| Country | Link |
|---|---|
| CN (1) | CN218342054U (en) |
-
2022
- 2022-08-30 CN CN202222283544.6U patent/CN218342054U/en active Active
Similar Documents
| Publication | Publication Date | Title |
|---|---|---|
| CN214161941U (en) | Frock of H shaped steel welding upset | |
| CN210254471U (en) | Convenient fixed automatic cutting device | |
| CN217670300U (en) | Electric piping slotting device for building electromechanical installation | |
| CN206084282U (en) | Two -way device that steps up of back support formula | |
| CN218342054U (en) | Rubber joint rotation type compound die workstation | |
| CN218193176U (en) | Bellows cutting device with assistance-localization real-time structure | |
| CN210081016U (en) | Device for welding | |
| CN220196935U (en) | Model cutting auxiliary assembly | |
| CN221817489U (en) | Aluminum template sawing machine | |
| CN220944959U (en) | Protective clamp | |
| CN216912965U (en) | Aluminum plate cutting fixing device with rotation angle structure | |
| CN213945292U (en) | Can turn to mould processing of operation and use laser marking machine | |
| CN220218171U (en) | Clamping device for brake pedal machining | |
| CN219664804U (en) | Automatic cabinet body panel beating bending device of location | |
| CN218312192U (en) | Automatic clamp for numerical control machine tool | |
| CN222999721U (en) | Aluminum template slot milling machine | |
| CN222791486U (en) | Hardware fitting deckle edge hardware mould of polishing | |
| CN222819279U (en) | Processing machine tool for graphite heater | |
| CN221455000U (en) | Catalytic electrode rotary positioning device | |
| CN219944386U (en) | Workpiece bending device capable of adjusting bending angle | |
| CN223431032U (en) | Solar energy pivot aluminium alloy interior round chamfering equipment | |
| CN222569752U (en) | Workpiece positioning mechanism for welding equipment | |
| CN223056474U (en) | Bidirectional bending equipment for frame tube | |
| CN222198398U (en) | H-shaped steel straightening roller with adjustable roller sleeve spacing | |
| CN223251768U (en) | A cutting device for processing plastic parts |
Legal Events
| Date | Code | Title | Description |
|---|---|---|---|
| GR01 | Patent grant | ||
| GR01 | Patent grant |