CN218336690U - Cloud desktop all-in-one protector - Google Patents
Cloud desktop all-in-one protector Download PDFInfo
- Publication number
- CN218336690U CN218336690U CN202221990345.2U CN202221990345U CN218336690U CN 218336690 U CN218336690 U CN 218336690U CN 202221990345 U CN202221990345 U CN 202221990345U CN 218336690 U CN218336690 U CN 218336690U
- Authority
- CN
- China
- Prior art keywords
- cloud desktop
- machine
- cloud
- protection device
- elastic mechanism
- Prior art date
- Legal status (The legal status is an assumption and is not a legal conclusion. Google has not performed a legal analysis and makes no representation as to the accuracy of the status listed.)
- Active
Links
Images
Landscapes
- Aiming, Guidance, Guns With A Light Source, Armor, Camouflage, And Targets (AREA)
Abstract
本实用新型公开了一种云桌面一体机防护装置,属于桌面云办公一体机领域。一种云桌面一体机防护装置,包括底板,所述底板顶端的四周均装配有支撑架;防护装置,装配于所述支撑架上,并通过所述防护装置对云桌面一体机进行防护;其中所述防护装置包括与所述支撑架内壁滑动连接的活动板,所述活动板的一侧转动安装有伸缩杆,并于所述伸缩杆的另一端转动安装有支撑板,且两个所述支撑板之间均装配有固定块,同时所述支撑板的两端均装配有限位块,并通过所述限位块对云桌面一体机进行固定;本实用新型通过防护装置对云桌面一体机的外表面进行包裹,使其整体陷入防护装置内部,进而保证云桌面一体机的安全性。
The utility model discloses a protective device for a cloud desktop all-in-one machine, which belongs to the field of a desktop cloud office all-in-one machine. A cloud desktop all-in-one machine protection device, including a base plate, a support frame is equipped around the top of the bottom plate; the protection device is assembled on the support frame, and the cloud table all-in-one machine is protected by the protection device; wherein The protective device includes a movable plate slidingly connected with the inner wall of the support frame, a telescopic rod is rotatably installed on one side of the movable plate, and a support plate is rotatably mounted on the other end of the telescopic rod, and the two The support plates are equipped with fixing blocks, and at the same time, both ends of the support plates are equipped with limit blocks, and the cloud desktop all-in-one machine is fixed through the limit blocks; Wrap the outer surface of the cloud desktop so that it is completely immersed in the protective device, thereby ensuring the safety of the cloud desktop all-in-one machine.
Description
技术领域technical field
本实用新型涉及桌面云办公一体机技术领域,尤其涉及一种云桌面一体机防护装置。The utility model relates to the technical field of a desktop cloud office all-in-one machine, in particular to a protective device for a cloud desktop all-in-one machine.
背景技术Background technique
桌面云,可以通过客户端或者其他任何与网络相连的设备来访问跨平台的应用程序,以及整个云桌面,和传统的PC相比,大的机箱换成了一些小盒子,一个类似电视机顶盒的东西,鼠标、键盘、显示器、网线都与这个相连,机房桌子宽敞了许多。The desktop cloud can access cross-platform applications and the entire cloud desktop through the client or any other device connected to the network. Compared with the traditional PC, the large chassis is replaced by some small boxes, a TV set-top box Things, the mouse, keyboard, monitor, and network cables are all connected to this, and the table in the computer room is much more spacious.
现有的桌面云办公一体机不具备防护功能,当意外碰撞后极易造成损伤,导致设备损毁不能正常使用,进而为了保证云桌面一体机不会受到碰撞,导致产生损坏,从而开发了一种云桌面一体机防护装置。The existing desktop cloud office all-in-one machine does not have a protective function, and it is very easy to cause damage after an accidental collision, resulting in equipment damage and cannot be used normally. In order to ensure that the cloud desktop all-in-one machine will not be damaged due to collision, a Cloud desktop all-in-one protection device.
实用新型内容Utility model content
本实用新型的目的是为了解决现有技术中云桌面一体机在使用时容易受到碰撞,导致整体产生损坏的问题,而提出的一种云桌面一体机防护装置。The purpose of the utility model is to solve the problem in the prior art that the cloud desktop all-in-one machine is easily subject to collision during use, resulting in damage to the whole, and proposes a cloud desktop all-in-one machine protection device.
为了实现上述目的,本实用新型采用了如下技术方案:In order to achieve the above object, the utility model adopts the following technical solutions:
一种云桌面一体机防护装置,包括底板,所述底板顶端的四周均装配有支撑架;A protective device for a cloud desktop all-in-one machine, comprising a bottom plate, and support frames are installed around the top of the bottom plate;
防护装置,装配于所述支撑架上,并通过所述防护装置对云桌面一体机进行防护;The protective device is assembled on the support frame, and the cloud desktop all-in-one machine is protected by the protective device;
其中所述防护装置包括与所述支撑架内壁滑动连接的活动板,所述活动板的一侧转动安装有伸缩杆,并于所述伸缩杆的另一端转动安装有支撑板,且两个所述支撑板之间均装配有固定块,同时所述支撑板的两端均装配有限位块,并通过所述限位块对云桌面一体机进行固定。Wherein the protective device includes a movable plate slidingly connected with the inner wall of the support frame, a telescopic rod is rotatably installed on one side of the movable plate, and a support plate is rotatably mounted on the other end of the telescopic rod, and the two Fixing blocks are installed between the support plates, and limit blocks are installed at both ends of the support plates, and the cloud desktop all-in-one machine is fixed through the limit blocks.
优选地,所述支撑架的内壁装配有第一弹性机构,所述第一弹性机构的一端与所述底板连接,另一端与所述活动板的一端连接。Preferably, the inner wall of the support frame is equipped with a first elastic mechanism, one end of the first elastic mechanism is connected to the bottom plate, and the other end is connected to one end of the movable plate.
优选地,所述限位块的内腔装配拉伸杆,且所述拉伸杆的一端延伸至所述限位块的外部。Preferably, the inner cavity of the limiting block is equipped with a stretching rod, and one end of the stretching rod extends to the outside of the limiting block.
优选地,所述拉伸杆的另一端装配有第二弹性机构,所述第二弹性机构的另一端装配有夹块。Preferably, the other end of the stretch rod is equipped with a second elastic mechanism, and the other end of the second elastic mechanism is equipped with a clamp block.
优选地,所述限位块的内壁滑动安装有卡块,同时所述卡块的一侧与所述夹块的外表面卡接,所述卡块的另一端与云桌面一体机的外表面连接。Preferably, a clamping block is slidably installed on the inner wall of the limiting block, and at the same time, one side of the clamping block engages with the outer surface of the clamping block, and the other end of the clamping block engages with the outer surface of the cloud desktop all-in-one machine connect.
优选地,所述固定块的外表面装配有橡胶层。Preferably, the outer surface of the fixing block is equipped with a rubber layer.
与现有技术相比,本实用新型提供了一种云桌面一体机防护装置,具备以下有益效果:Compared with the prior art, the utility model provides a cloud desktop all-in-one protective device, which has the following beneficial effects:
1、该云桌面一体机防护装置,通过防护装置对云桌面一体机的外表面进行包裹,使其整体陷入防护装置内部,进而保证云桌面一体机的安全性。1. The protective device of the cloud desktop all-in-one machine wraps the outer surface of the cloud desktop all-in-one machine through the protective device, so that the whole is trapped inside the protective device, thereby ensuring the safety of the cloud desktop all-in-one machine.
2、该云桌面一体机防护装置,通过在支撑架上滑动的活动板,带动伸缩杆与支撑板对固定块进行支撑,并使云桌面一体机处于半空状态,进而使得任意一处产生碰撞均可通过支撑架上的第一弹性机构对其进行缓冲,保证云桌面一体机不会受到影响。2. The protective device of the cloud desktop all-in-one machine, through the movable plate sliding on the support frame, drives the telescopic rod and the support plate to support the fixed block, and makes the cloud desktop all-in-one machine in a half-empty state, so that any collision occurs at any place. It can be buffered by the first elastic mechanism on the support frame to ensure that the cloud desktop all-in-one machine will not be affected.
3、该云桌面一体机防护装置,通过限位块上的拉伸杆配合第二弹性机构对夹块进行支撑,使得云桌面一体机上的卡块延伸至限位块上时,通过夹块对其进行固定,从而保证云桌面一体机的稳定性。3. The protective device of the cloud desktop all-in-one machine supports the clamping block through the stretch rod on the limit block and the second elastic mechanism, so that when the block on the cloud desktop all-in-one machine extends to the limit block, the clamp block It is fixed to ensure the stability of the cloud desktop all-in-one machine.
该装置中未涉及部分均与现有技术相同或可采用现有技术加以实现,本实用新型通过防护装置对云桌面一体机的外表面进行包裹,使其整体陷入防护装置内部,进而保证云桌面一体机的安全性,同时通过在支撑架上滑动的活动板,带动伸缩杆与支撑板对固定块进行支撑,并使云桌面一体机处于半空状态,进而使得任意一处产生碰撞均可通过支撑架上的第一弹性机构对其进行缓冲,保证云桌面一体机不会受到影响。The parts not involved in the device are the same as the existing technology or can be realized by using the existing technology. The utility model wraps the outer surface of the cloud desktop all-in-one machine through the protective device, so that the whole is immersed in the protective device, thereby ensuring the cloud desktop. The safety of the all-in-one machine, at the same time, through the movable plate sliding on the support frame, the telescopic rod and the support plate are driven to support the fixed block, and the cloud desktop all-in-one machine is in a half-empty state, so that any collision can be passed through the support The first elastic mechanism on the rack buffers it to ensure that the cloud desktop all-in-one machine will not be affected.
附图说明Description of drawings
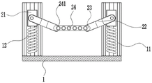
图1为本实用新型提出的一种云桌面一体机防护装置的结构示意图;Fig. 1 is a structural schematic diagram of a cloud desktop all-in-one machine protection device proposed by the utility model;
图2为本实用新型提出的一种云桌面一体机防护装置外部结构俯视图;Fig. 2 is a top view of the external structure of a cloud desktop all-in-one machine protection device proposed by the utility model;
图3为本实用新型提出的一种云桌面一体机防护装置内部结构剖视图;Fig. 3 is a cross-sectional view of the internal structure of a cloud desktop all-in-one machine protection device proposed by the utility model;
图4为本实用新型提出的一种云桌面一体机防护装置限位块内部结构示意图。Fig. 4 is a schematic diagram of the internal structure of the limit block of a cloud desktop all-in-one protective device proposed by the utility model.
图中:1、底板;2、防护装置;11、支撑架;12、第一弹性机构;21、活动板;22、伸缩杆;23、支撑板;24、固定块;25、限位块;241、橡胶层;251、拉伸杆;252、第二弹性机构;253、夹块;254、卡块。In the figure: 1, bottom plate; 2, protective device; 11, support frame; 12, first elastic mechanism; 21, movable plate; 22, telescopic rod; 23, support plate; 24, fixed block; 25, limit block; 241, rubber layer; 251, stretching rod; 252, second elastic mechanism; 253, clamping block; 254, clamping block.
具体实施方式detailed description
下面将结合本实用新型实施例中的附图,对本实用新型实施例中的技术方案进行清楚、完整地描述,显然,所描述的实施例仅仅是本实用新型一部分实施例,而不是全部的实施例。The technical solutions in the embodiments of the present invention will be clearly and completely described below in conjunction with the accompanying drawings in the embodiments of the present invention. Obviously, the described embodiments are only part of the embodiments of the present invention, not all of them. example.
在本实用新型的描述中,需要理解的是,术语“上”、“下”、“前”、“后”、“左”、“右”、“顶”、“底”、“内”、“外”等指示的方位或位置关系为基于附图所示的方位或位置关系,仅是为了便于描述本实用新型和简化描述,而不是指示或暗示所指的装置或元件必须具有特定的方位、以特定的方位构造和操作,因此不能理解为对本实用新型的限制。In describing the present utility model, it should be understood that the terms "upper", "lower", "front", "rear", "left", "right", "top", "bottom", "inner", The orientation or positional relationship indicated by "outside" is based on the orientation or positional relationship shown in the drawings, which is only for the convenience of describing the utility model and simplifying the description, rather than indicating or implying that the referred device or element must have a specific orientation , are constructed and operated in a specific orientation and therefore cannot be construed as limiting the invention.
实施例:参照图1-4,一种云桌面一体机防护装置2,包括底板1,底板1顶端的四周均装配有支撑架11,其中在不改变原有设备的基础上,于支撑架11上装配有防护装置2并通过防护装置2对云桌面一体机进行防护,避免其产生碰撞时产生损坏。Embodiment: Referring to Figures 1-4, a cloud desktop all-in-one
其中防护装置2包括与支撑架11内壁滑动连接的活动板21,同时支撑架11的内壁装配有第一弹性机构12,其中第一弹性机构12为弹簧等均有弹性的设备,第一弹性机构12的一端与底板1连接,另一端与活动板21的一端连接,使得活动板21向下移动时挤压第二弹性机构252,并通过第一弹性机构12对其进行缓冲,而且活动板21的一侧转动安装有伸缩杆22,并于伸缩杆22的另一端转动安装有支撑板23,且两个支撑板23之间均装配有固定块24,当其放置在固定块24上时,由于重力将固定块24向下压,进而将活动板21在支撑架11上挤压第一弹性机构12,通过第一弹性机构12对云桌面一体机进行缓冲,并与地面产生一定缝隙。Wherein the
同时支撑板23的两端均装配有限位块25,并通过限位块25对云桌面一体机进行固定,由于限位块25的内腔装配拉伸杆251,并于拉伸杆251的一端延伸至限位块25的外部,且拉伸杆251的另一端装配有第二弹性机构252,其中第二弹性机构252为弹簧等具有弹性的设备,第二弹性机构252的另一端装配有夹块253,从而通过限位块25的内壁滑动安装的卡块254与夹块253的外表面卡接,卡块254的另一端与云桌面一体机的外表面连接,使其保持稳定,而且固定块24的外表面装配有橡胶层241,对云桌面一体机的底部进行防护。At the same time, the two ends of the
本实用新型中,将云桌面一体机放置在固定板上,由于云桌面一体机自身的重量,使得固定块24带动支撑板23向下移动,并通过伸缩杆22将活动板21在支撑架11上向下移动,挤压第一弹性机构12,进而通过第一弹性机构12对活动板21进行支撑,从而使云桌面一体机处于地面一定高度,并且通过支撑板23上的限位块25对云桌面一体机的外表面进行固定,将拉伸杆251向外拉动,使夹块253与第二弹性机构252向一侧移动,进而将卡块254移动至限位块25内部,并松开拉伸杆251,通过第二弹性机构252将夹块253推动至卡块254表面,对其进行固定。In the utility model, the cloud desktop all-in-one machine is placed on the fixed plate. Due to the weight of the cloud table all-in-one machine itself, the
以上所述,仅为本实用新型较佳的具体实施方式,但本实用新型的保护范围并不局限于此,任何熟悉本技术领域的技术人员在本实用新型揭露的技术范围内,根据本实用新型的技术方案及其实用新型构思加以等同替换或改变,都应涵盖在本实用新型的保护范围之内。The above is only a preferred embodiment of the utility model, but the scope of protection of the utility model is not limited thereto. The equivalent replacement or change of the new technical solution and the concept of the utility model shall be covered by the protection scope of the utility model.
Claims (6)
Priority Applications (1)
| Application Number | Priority Date | Filing Date | Title |
|---|---|---|---|
| CN202221990345.2U CN218336690U (en) | 2022-07-30 | 2022-07-30 | Cloud desktop all-in-one protector |
Applications Claiming Priority (1)
| Application Number | Priority Date | Filing Date | Title |
|---|---|---|---|
| CN202221990345.2U CN218336690U (en) | 2022-07-30 | 2022-07-30 | Cloud desktop all-in-one protector |
Publications (1)
| Publication Number | Publication Date |
|---|---|
| CN218336690U true CN218336690U (en) | 2023-01-17 |
Family
ID=84871992
Family Applications (1)
| Application Number | Title | Priority Date | Filing Date |
|---|---|---|---|
| CN202221990345.2U Active CN218336690U (en) | 2022-07-30 | 2022-07-30 | Cloud desktop all-in-one protector |
Country Status (1)
| Country | Link |
|---|---|
| CN (1) | CN218336690U (en) |
-
2022
- 2022-07-30 CN CN202221990345.2U patent/CN218336690U/en active Active
Similar Documents
| Publication | Publication Date | Title |
|---|---|---|
| CN209229261U (en) | A kind of antidetonation computer housing | |
| CN209820959U (en) | Anti-deformation detection device for production of anti-deformation carton | |
| CN107842702A (en) | A kind of Support bracket supported for tablet personal computer | |
| CN209184206U (en) | High shielded railway signal cable | |
| CN218336690U (en) | Cloud desktop all-in-one protector | |
| CN206209533U (en) | A kind of seismic Calculation machine | |
| CN108455037B (en) | Damping device is used in transportation of computer mainframe | |
| CN206754720U (en) | A kind of computer supporting frame | |
| CN210091412U (en) | A kind of multifunctional English teaching projection equipment | |
| CN209743985U (en) | A convenient fixed MOX display terminal | |
| CN217914881U (en) | Optical glass fixing base with protection architecture | |
| CN216291472U (en) | WiFi machine takes precautions against earthquakes | |
| CN211554801U (en) | Buffering formula fixed knot constructs for computer | |
| CN207569470U (en) | A kind of suspension arrangement for computer display | |
| CN211977931U (en) | Portable equipment box for surveying instrument | |
| CN208318797U (en) | A kind of Anti-seismic bed | |
| CN210923004U (en) | A stable and fixed elastic testing device for the production of wrapped foam | |
| CN218010731U (en) | Suspension device for fire extinguisher | |
| CN208180932U (en) | A kind of vehicle-mounted mounting bracket of electronics | |
| CN216529519U (en) | Communication base that stability is high | |
| CN211877717U (en) | Medical Mask Synthetic Blood Penetration Tester | |
| CN111882981A (en) | Warning device for overhauling terminal row of electric cabinet of transformer substation | |
| CN211600016U (en) | Shock attenuation protection mechanism of electromechanical device | |
| CN218266993U (en) | A pipeline transportation gas intelligent monitoring terminal equipment | |
| CN211061966U (en) | Server guard box with adjustable size |
Legal Events
| Date | Code | Title | Description |
|---|---|---|---|
| GR01 | Patent grant | ||
| GR01 | Patent grant | ||
| PE01 | Entry into force of the registration of the contract for pledge of patent right |
Denomination of utility model: A protection device for a cloud desktop all-in-one machine Granted publication date: 20230117 Pledgee: Bank of Tai'an Limited by Share Ltd. Pledgor: Shandong eternal Electronic Technology Co.,Ltd. Registration number: Y2025980048070 |
|
| PE01 | Entry into force of the registration of the contract for pledge of patent right |
