CN218296098U - A ventilation dust pelletizing system for improving indoor environment - Google Patents
A ventilation dust pelletizing system for improving indoor environment Download PDFInfo
- Publication number
- CN218296098U CN218296098U CN202222005335.5U CN202222005335U CN218296098U CN 218296098 U CN218296098 U CN 218296098U CN 202222005335 U CN202222005335 U CN 202222005335U CN 218296098 U CN218296098 U CN 218296098U
- Authority
- CN
- China
- Prior art keywords
- ventilation
- pipe
- unit
- dust removal
- indoor environment
- Prior art date
- Legal status (The legal status is an assumption and is not a legal conclusion. Google has not performed a legal analysis and makes no representation as to the accuracy of the status listed.)
- Expired - Fee Related
Links
- 238000009423 ventilation Methods 0.000 title claims abstract description 66
- 239000000428 dust Substances 0.000 title claims abstract description 55
- 238000005453 pelletization Methods 0.000 title 1
- 238000004140 cleaning Methods 0.000 claims abstract description 35
- 239000012717 electrostatic precipitator Substances 0.000 claims description 19
- 238000005265 energy consumption Methods 0.000 abstract description 5
- 238000000746 purification Methods 0.000 abstract description 5
- 230000005611 electricity Effects 0.000 abstract description 4
- 230000007246 mechanism Effects 0.000 abstract description 4
- 238000010586 diagram Methods 0.000 description 3
- 230000000694 effects Effects 0.000 description 3
- OKTJSMMVPCPJKN-UHFFFAOYSA-N Carbon Chemical compound [C] OKTJSMMVPCPJKN-UHFFFAOYSA-N 0.000 description 2
- 230000009471 action Effects 0.000 description 2
- 230000005684 electric field Effects 0.000 description 2
- 238000004070 electrodeposition Methods 0.000 description 2
- CBENFWSGALASAD-UHFFFAOYSA-N Ozone Chemical compound [O-][O+]=O CBENFWSGALASAD-UHFFFAOYSA-N 0.000 description 1
- 238000004887 air purification Methods 0.000 description 1
- 238000013459 approach Methods 0.000 description 1
- 238000000222 aromatherapy Methods 0.000 description 1
- 230000009286 beneficial effect Effects 0.000 description 1
- 230000007547 defect Effects 0.000 description 1
- 238000005516 engineering process Methods 0.000 description 1
- 230000002070 germicidal effect Effects 0.000 description 1
- 238000009434 installation Methods 0.000 description 1
- 238000000034 method Methods 0.000 description 1
- 230000032258 transport Effects 0.000 description 1
- 238000005406 washing Methods 0.000 description 1
- XLYOFNOQVPJJNP-UHFFFAOYSA-N water Substances O XLYOFNOQVPJJNP-UHFFFAOYSA-N 0.000 description 1
Images
Landscapes
- Filtering Of Dispersed Particles In Gases (AREA)
Abstract
一种用于改善室内环境的通风除尘系统,涉及室内环境净化技术领域,包括通风管,所述通风管的顶部安装有通风单元,通风管的内侧固定有过滤网,所述通风单元上安装有清洁单元,清洁单元与过滤网接触设置,所述通风管的底部设有除尘单元,除尘单元的出口位置安装有排灰单元;其中,还包括进风管,所述进风管连通固定在通风管的侧面,进风管的进风口与室内连通,该用于改善室内环境的通风除尘系统,通过自然风作为动力机构,无需用电,从而降低了能耗,减少了使用成本,其清灰方便,省时省力。
A ventilation and dust removal system for improving the indoor environment, which relates to the technical field of indoor environment purification, includes a ventilation pipe, a ventilation unit is installed on the top of the ventilation pipe, a filter screen is fixed on the inside of the ventilation pipe, and a Cleaning unit, the cleaning unit is set in contact with the filter screen, the bottom of the ventilation pipe is provided with a dust removal unit, and an ash discharge unit is installed at the outlet of the dust removal unit; it also includes an air inlet pipe, and the air inlet pipe is connected and fixed on the ventilation pipe. On the side of the pipe, the air inlet of the air inlet pipe is connected to the room. The ventilation and dust removal system used to improve the indoor environment uses natural wind as the power mechanism and does not require electricity, thereby reducing energy consumption and use costs. Its dust removal Convenient, save time and effort.
Description
技术领域technical field
本实用新型涉及室内环境净化技术领域,尤其是涉及一种用于改善室内环境的通风除尘系统。The utility model relates to the technical field of indoor environment purification, in particular to a ventilation and dust removal system for improving the indoor environment.
背景技术Background technique
现有技术中,授权公布号为CN 208025682 U的专利公开了一种用于改善室内环境的空气净化装置,包括净化箱;所述进气管的上面设置有吸风机,进气管的左端设置有吸尘罩,进气管的右端连通有网管,网管的下端延伸设置在弧形网板的下侧;所述净化箱的内腔上端左侧设置有水洗装置;所述安装板上卡接设置有活性炭板;所述连接杆的上面设置有臭氧发生器;所述连接杆上设置有紫外线杀菌灯;所述净化箱的右侧上方相扣设置有抽屉,抽屉上设置有香薰杯;In the prior art, the patent with authorized publication number CN 208025682 U discloses an air purification device for improving indoor environment, including a purification box; a suction fan is arranged above the air inlet pipe, and a suction fan is arranged on the left end of the air inlet pipe. Dust cover, the right end of the air intake pipe is connected with a network pipe, and the lower end of the network pipe is extended to the lower side of the arc-shaped mesh plate; a water washing device is installed on the left side of the upper end of the inner cavity of the purification box; activated carbon is clamped on the installation plate board; the top of the connecting rod is provided with an ozone generator; the connecting rod is provided with an ultraviolet germicidal lamp; the upper right side of the purification box is interlocked with a drawer, and an aromatherapy cup is provided on the drawer;
其在使用过程中,如果需要通风的花,就需要吸风机一直进行工,从而来带动室内的空气流动,以此来达到通风的效果,吸风机一直工作能耗较高,从而增加了使用成本。During its use, if the flowers need to be ventilated, the suction fan needs to work continuously to drive the air flow in the room, so as to achieve the effect of ventilation. The suction fan always works with high energy consumption, which increases the cost of use. .
实用新型内容Utility model content
本实用新型要解决的技术问题是克服现有的缺陷,提供一种用于改善室内环境的通风除尘系统,通过自然风作为动力机构,无需用电,从而降低了能耗,减少了使用成本,其清灰方便,省时省力,可以有效解决背景技术中的问题。The technical problem to be solved by the utility model is to overcome the existing defects and provide a ventilation and dust removal system for improving the indoor environment, which uses natural wind as the power mechanism and does not need electricity, thereby reducing energy consumption and use costs. It is convenient to clean dust, saves time and effort, and can effectively solve the problems in the background technology.
为了实现所述实用新型目的,本实用新型采用如下技术方案:In order to realize the purpose of the utility model, the utility model adopts the following technical solutions:
一种用于改善室内环境的通风除尘系统,包括通风管,所述通风管的顶部安装有通风单元,通风管的内侧固定有过滤网,所述通风单元上安装有清洁单元,清洁单元与过滤网接触设置,所述通风管的底部设有除尘单元,除尘单元的出口位置安装有排灰单元;A ventilation and dust removal system for improving the indoor environment, comprising a ventilation pipe, a ventilation unit is installed on the top of the ventilation pipe, a filter screen is fixed on the inside of the ventilation pipe, a cleaning unit is installed on the ventilation unit, the cleaning unit and the filter The net contact setting, the bottom of the ventilation pipe is equipped with a dust removal unit, and the outlet of the dust removal unit is equipped with an ash discharge unit;
其中,还包括进风管,所述进风管连通固定在通风管的侧面,进风管的进风口与室内连通。Wherein, it also includes an air inlet pipe, the air inlet pipe is communicated and fixed on the side of the ventilation pipe, and the air inlet of the air inlet pipe communicates with the room.
进一步的,所述通风单元包括风帽,风帽转动安装在通风管的顶部,所述风帽设置在房顶上。Further, the ventilation unit includes a wind cap, which is rotatably mounted on the top of the ventilation pipe, and the wind cap is arranged on the roof.
进一步的,所述通风单元还包括连接架、转轴和涡轮,连接架固定在风帽的内侧,所述涡轮通过转轴与连接架转动连接,涡轮设置在过滤网的上方。Further, the ventilation unit further includes a connecting frame, a rotating shaft and a turbine, the connecting frame is fixed on the inside of the hood, the turbine is rotatably connected to the connecting frame through the rotating shaft, and the turbine is arranged above the filter screen.
进一步的,所述清洁单元包括清洁刷和安装架,安装架固定在转轴的底端侧面,所述清洁刷装配在安装架上,清洁刷设置在过滤网的下方,且清洁刷的刷毛与过滤网的表面接触。Further, the cleaning unit includes a cleaning brush and a mounting frame, the mounting frame is fixed on the bottom side of the rotating shaft, the cleaning brush is assembled on the mounting frame, the cleaning brush is arranged under the filter screen, and the bristles of the cleaning brush are connected with the filter mesh surface contact.
进一步的,所述除尘单元包括静电除尘器和灰斗,静电除尘器安装在通风管的底部,所述静电除尘器与通风管内部连通,灰斗连通固定在静电除尘器的出灰口位置,所述静电除尘器电性连接外部PLC控制器。Further, the dust removal unit includes an electrostatic precipitator and an ash hopper, the electrostatic precipitator is installed at the bottom of the ventilation pipe, the electrostatic precipitator communicates with the interior of the ventilation pipe, and the ash hopper is connected and fixed at the ash outlet of the electrostatic precipitator. The electrostatic precipitator is electrically connected to an external PLC controller.
进一步的,所述排灰单元包括送料管、排灰管、步进电机和螺旋叶片,送料管连通固定在灰斗上,所述步进电机安装在送料管的端部,螺旋叶片固定在步进电机的输出轴上且设置在送料管的侧面,所述排灰管连通固定在送料管上,所述步进电机电性连接外部PLC控制器。Further, the ash discharge unit includes a feed pipe, ash discharge pipe, stepping motor and screw blade, the feed pipe is connected and fixed on the ash hopper, the step motor is installed at the end of the feed pipe, and the helical blade is fixed on the step The output shaft of the feeding motor is arranged on the side of the feeding pipe, the ash discharge pipe is communicated and fixed on the feeding pipe, and the stepping motor is electrically connected to an external PLC controller.
与现有技术相比,本实用新型的有益效果是:本用于改善室内环境的通风除尘系统,具有以下好处:Compared with the prior art, the beneficial effect of the utility model is that the ventilation and dust removal system for improving the indoor environment has the following advantages:
1、通过通风单元对室内进行通风,其通过自然风作为动力机构,无需用电,从而降低了能耗,减少了使用成本。1. Ventilate the room through the ventilation unit, which uses natural wind as the power mechanism and does not need electricity, thereby reducing energy consumption and use costs.
2、通过清洁单元对过滤网上的灰尘进行清理,其灰尘清理通过通风单元进行带动,无需增设电机,减少了设备成本,同时,通过清灰,避免灰尘附着在通风单元上,从而保证了通风单元的使用效果。2. Clean the dust on the filter screen through the cleaning unit, and the dust cleaning is driven by the ventilation unit, without adding a motor, which reduces the equipment cost. At the same time, by cleaning the dust, it prevents dust from adhering to the ventilation unit, thus ensuring the ventilation unit. use effect.
3、通过除尘单元进行静电除尘,便于使灰尘进行沉降,从而便于将灰尘排出。3. Electrostatic dust removal is carried out through the dust removal unit, which facilitates the dust to settle and discharge the dust.
4、通过排灰单元将灰尘排出,其清灰方便,省时省力。4. The dust is discharged through the dust discharge unit, which is convenient for dust removal and saves time and effort.
附图说明Description of drawings
图1为本实用新型的立体结构示意图;Fig. 1 is the three-dimensional structure schematic diagram of the present utility model;
图2为本实用新型的立体第一剖面结构示意图;Fig. 2 is a schematic diagram of the first three-dimensional cross-sectional structure of the utility model;
图3为本实用新型的立体第二剖面结构示意图。Fig. 3 is a schematic diagram of the second three-dimensional cross-sectional structure of the utility model.
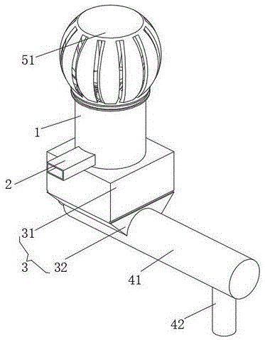
图中:1通风管、2进风管、3除尘单元、31静电除尘器、32灰斗、4排灰单元、41送料管、42排灰管、43步进电机、44螺旋叶片、5通风单元、51风帽、52连接架、53转轴、54涡轮、6过滤网、7清洁单元、71清洁刷、72安装架。In the figure: 1 ventilation pipe, 2 air inlet pipe, 3 dust removal unit, 31 electrostatic precipitator, 32 ash hopper, 4 ash discharge unit, 41 feeding pipe, 42 ash discharge pipe, 43 stepper motor, 44 helical blade, 5 ventilation Unit, 51 hood, 52 connecting frame, 53 rotating shaft, 54 turbine, 6 filter screen, 7 cleaning unit, 71 cleaning brush, 72 mounting frame.
具体实施方式detailed description
通过下面的实施例可以详细地解释本实用新型,公开本实用新型的目的旨在保护本实用新型范围内的一切技术改进。The utility model can be explained in detail through the following examples, and the purpose of disclosing the utility model is to protect all technical improvements within the scope of the utility model.
请参阅图1-3,本实施例提供一种技术方案:一种用于改善室内环境的通风除尘系统,包括通风管1,通风管1的顶部安装有通风单元5,通风管1的内侧固定有过滤网6,通风单元5上安装有清洁单元7,清洁单元7与过滤网6接触设置,通风管1的底部设有除尘单元3,除尘单元3的出口位置安装有排灰单元4;Please refer to Fig. 1-3, present embodiment provides a kind of technical scheme: a kind of ventilation and dust removal system for improving indoor environment, comprises
其中,还包括进风管2,进风管2连通固定在通风管1的侧面,进风管2的进风口与室内连通。Wherein, also comprise
通风单元5包括风帽51,风帽51转动安装在通风管1的顶部,风帽51设置在房顶上,通风单元5还包括连接架52、转轴53和涡轮54,连接架52固定在风帽51的内侧,涡轮54通过转轴53与连接架52转动连接,涡轮54设置在过滤网6的上方,风帽51带动连接架52转动,连接架52通过转轴53带动涡轮54转动,涡轮54进行抽风,进风管2内的空气通过涡轮54被抽出,从而来对室内进行通风,其通过自然风作为动力机构,无需用电,从而降低了能耗,减少了使用成本。The
清洁单元7包括清洁刷71和安装架72,安装架72固定在转轴53的底端侧面,清洁刷71装配在安装架72上,清洁刷71设置在过滤网6的下方,且清洁刷71的刷毛与过滤网6的表面接触,转轴53通过安装架72带动清洁刷71转动,清洁刷71对过滤网6上的灰尘进行清理,其灰尘清理通过通风单元5进行带动,无需增设电机,减少了设备成本,同时,通过清灰,避免灰尘附着在通风单元5上,从而保证了通风单元5的使用效果。
除尘单元3包括静电除尘器31和灰斗32,静电除尘器31安装在通风管1的底部,静电除尘器31与通风管1内部连通,灰斗32连通固定在静电除尘器31的出灰口位置,静电除尘器31电性连接外部PLC控制器,清理的灰尘在高压电场作用下聚集到静电除尘器31的电极位置,然后沉积到灰斗32内,通过静电除尘,便于使灰尘进行沉降,从而便于将灰尘排出。The
排灰单元4包括送料管41、排灰管42、步进电机43和螺旋叶片44,送料管41连通固定在灰斗32上,步进电机43安装在送料管41的端部,螺旋叶片44固定在步进电机43的输出轴上且设置在送料管41的侧面,排灰管42连通固定在送料管41上,步进电机43电性连接外部PLC控制器,步进电机43的输出轴带动螺旋叶片44转动,螺旋叶片44将灰斗32内的灰尘进行输送,灰尘最后通过排灰管42排出,其清灰方便,省时省力。
本实用新型提供的一种用于改善室内环境的通风除尘系统的工作原理如下:风帽51带动连接架52转动,连接架52通过转轴53带动涡轮54转动,涡轮54进行抽风,进风管2内的空气通过涡轮54被抽出,从而来对室内进行通风,空气在流动时通过过滤网6进行过滤,同时,转轴53通过安装架72带动清洁刷71转动,清洁刷71对过滤网6上的灰尘进行清理,清理的灰尘在高压电场作用下聚集到静电除尘器31的电极位置,然后沉积到灰斗32内,步进电机43的输出轴带动螺旋叶片44转动,螺旋叶片44将灰斗32内的灰尘进行输送,灰尘最后通过排灰管42排出。The working principle of a ventilation and dust removal system for improving the indoor environment provided by the utility model is as follows: the
值得注意的是,以上实施例中所公开的静电除尘器31和步进电机43均根据实际应用场景进行选项配置。It is worth noting that the
本实用新型未详述部分为现有技术,尽管结合优选实施方案具体展示和介绍了本实用新型,具体实现该技术方案方法和途径很多,以上所述仅是本实用新型的优选实施方式,但所属领域的技术人员应该明白,在不脱离所附权利要求书所限定的本实用新型的精神和范围内,在形式上和细节上可以对本实用新型做出各种变化,均为本实用新型的保护范围。The unspecified part of the utility model is the prior art. Although the utility model has been specifically shown and introduced in conjunction with the preferred embodiment, there are many ways and approaches to realize the technical solution. The above is only a preferred embodiment of the utility model, but Those skilled in the art should understand that without departing from the spirit and scope of the utility model defined by the appended claims, various changes can be made to the utility model in terms of form and details, all of which are part of the utility model. protected range.
Claims (6)
Priority Applications (1)
| Application Number | Priority Date | Filing Date | Title |
|---|---|---|---|
| CN202222005335.5U CN218296098U (en) | 2022-08-01 | 2022-08-01 | A ventilation dust pelletizing system for improving indoor environment |
Applications Claiming Priority (1)
| Application Number | Priority Date | Filing Date | Title |
|---|---|---|---|
| CN202222005335.5U CN218296098U (en) | 2022-08-01 | 2022-08-01 | A ventilation dust pelletizing system for improving indoor environment |
Publications (1)
| Publication Number | Publication Date |
|---|---|
| CN218296098U true CN218296098U (en) | 2023-01-13 |
Family
ID=84794140
Family Applications (1)
| Application Number | Title | Priority Date | Filing Date |
|---|---|---|---|
| CN202222005335.5U Expired - Fee Related CN218296098U (en) | 2022-08-01 | 2022-08-01 | A ventilation dust pelletizing system for improving indoor environment |
Country Status (1)
| Country | Link |
|---|---|
| CN (1) | CN218296098U (en) |
-
2022
- 2022-08-01 CN CN202222005335.5U patent/CN218296098U/en not_active Expired - Fee Related
Similar Documents
| Publication | Publication Date | Title |
|---|---|---|
| CN204268602U (en) | A kind of electrostatic air cleaner | |
| CN112212377A (en) | Energy-concerving and environment-protective kitchen cabinet oil smoke clarification plant | |
| CN111795441A (en) | An air purification treatment unit | |
| CN218251912U (en) | Washing frock of old and useless SCR honeycomb formula denitration catalyst tablet | |
| CN218296098U (en) | A ventilation dust pelletizing system for improving indoor environment | |
| CN209131068U (en) | A water-washed indoor charged water mist cyclone air purification device | |
| CN220346157U (en) | Wet electrostatic precipitator | |
| CN213873037U (en) | Air exhaust and dust removal device of fresh air system | |
| CN218442643U (en) | Dust protected ventilator device | |
| CN216092875U (en) | Dust collecting equipment is used in production of tiling dry-mixed mortar | |
| CN215094933U (en) | Granular raw material washing type filtering and dust removing device | |
| CN215523651U (en) | Environment-friendly multistage air purification equipment | |
| CN213454033U (en) | Dustproof effectual ventilation unit for workshop | |
| CN218722044U (en) | Air purifier with bidirectional air inlet structure | |
| CN215336937U (en) | Air purification device for respiratory disease treatment | |
| CN117006107B (en) | Centrifugal ventilator with purifying system | |
| CN210772544U (en) | Indoor air purification device | |
| CN210584192U (en) | A dust collecting equipment for cement manufacture | |
| CN218853812U (en) | Purification management equipment based on air treatment | |
| CN107327955A (en) | A kind of air purifier with two layers of filter | |
| CN113551282A (en) | Wet-method electrostatic combined type oil fume purification all-in-one machine and use method thereof | |
| CN218166444U (en) | Incineration flue gas treatment equipment | |
| CN219400569U (en) | A cylindrical electrostatic precipitator | |
| CN214635117U (en) | Efficient dust remover equipment | |
| CN219559031U (en) | Atmospheric pollution prevention and treatment filter equipment |
Legal Events
| Date | Code | Title | Description |
|---|---|---|---|
| GR01 | Patent grant | ||
| GR01 | Patent grant | ||
| CF01 | Termination of patent right due to non-payment of annual fee | ||
| CF01 | Termination of patent right due to non-payment of annual fee |
Granted publication date: 20230113 |
