CN218294224U - Split type retainer for deep groove ball bearing - Google Patents
Split type retainer for deep groove ball bearing Download PDFInfo
- Publication number
- CN218294224U CN218294224U CN202221966490.7U CN202221966490U CN218294224U CN 218294224 U CN218294224 U CN 218294224U CN 202221966490 U CN202221966490 U CN 202221966490U CN 218294224 U CN218294224 U CN 218294224U
- Authority
- CN
- China
- Prior art keywords
- retainer
- hemisphere
- holder
- holes
- Prior art date
- Legal status (The legal status is an assumption and is not a legal conclusion. Google has not performed a legal analysis and makes no representation as to the accuracy of the status listed.)
- Active
Links
- 229910000831 Steel Inorganic materials 0.000 claims abstract description 14
- 239000010959 steel Substances 0.000 claims abstract description 14
- 230000000149 penetrating effect Effects 0.000 claims description 2
- 230000000903 blocking effect Effects 0.000 abstract description 2
- 238000005299 abrasion Methods 0.000 description 4
- 238000000034 method Methods 0.000 description 4
- 238000005096 rolling process Methods 0.000 description 4
- 239000011324 bead Substances 0.000 description 2
- 230000001050 lubricating effect Effects 0.000 description 2
- 230000006978 adaptation Effects 0.000 description 1
- 230000009286 beneficial effect Effects 0.000 description 1
- 230000005540 biological transmission Effects 0.000 description 1
- 230000015572 biosynthetic process Effects 0.000 description 1
- 230000005611 electricity Effects 0.000 description 1
- 238000002347 injection Methods 0.000 description 1
- 239000007924 injection Substances 0.000 description 1
- 238000005461 lubrication Methods 0.000 description 1
- 238000012423 maintenance Methods 0.000 description 1
- 238000010248 power generation Methods 0.000 description 1
- 239000000243 solution Substances 0.000 description 1
Images
Classifications
-
- Y—GENERAL TAGGING OF NEW TECHNOLOGICAL DEVELOPMENTS; GENERAL TAGGING OF CROSS-SECTIONAL TECHNOLOGIES SPANNING OVER SEVERAL SECTIONS OF THE IPC; TECHNICAL SUBJECTS COVERED BY FORMER USPC CROSS-REFERENCE ART COLLECTIONS [XRACs] AND DIGESTS
- Y02—TECHNOLOGIES OR APPLICATIONS FOR MITIGATION OR ADAPTATION AGAINST CLIMATE CHANGE
- Y02E—REDUCTION OF GREENHOUSE GAS [GHG] EMISSIONS, RELATED TO ENERGY GENERATION, TRANSMISSION OR DISTRIBUTION
- Y02E10/00—Energy generation through renewable energy sources
- Y02E10/70—Wind energy
- Y02E10/72—Wind turbines with rotation axis in wind direction
Landscapes
- Rolling Contact Bearings (AREA)
Abstract
The utility model discloses a split type holder for deep groove ball bearing, the holder includes first holder and second holder, evenly distributed has several first hemisphere pocket holes on the terminal surface of first holder, evenly distributed has several second hemisphere pocket holes with several first hemisphere pocket holes one-to-one on the terminal surface of second holder, the centre of sphere of first hemisphere pocket hole and the centre of sphere of corresponding second hemisphere pocket hole set up along the holder axial non-concentrically, corresponding first hemisphere pocket hole forms the full pocket hole of ellipsoid shape that is used for blocking the bearing steel ball with the combination of second hemisphere pocket hole, first holder forms the holder through the fix with rivet with second holder; the utility model discloses can effectively reduce the wearing and tearing of holder, improve the fail safe nature of holder, the whole life of guarantee bearing.
Description
Technical Field
The utility model relates to a deep groove ball bearing holder technical field especially relates to a split type holder for deep groove ball bearing.
Background
In recent years, with the large-scale rapid development of wind power generation, a bearing is an important part for maintaining normal work among wind turbine components, is a core part for ensuring normal operation of the wind turbine, is high in replacement difficulty and high in maintenance cost, and is applied to a yaw and pitch system, a main shaft and gear box transmission system, a power driving system and a generator system of the wind turbine. The deep groove ball bearing is widely applied to a generator system of a wind turbine generator, and has the working requirements that: high speed, high temperature, heavy load, low vibration, low noise, and high safety and life reliability.
The deep groove ball bearing generally comprises four parts, namely an inner ring, an outer ring, rolling bodies and a retainer, wherein the retainer plays a role in isolating the rolling bodies and guaranteeing normal movement of the rolling bodies in a rolling bearing, the deep groove ball bearing used in a generator is generally guided by a flange of the inner ring or the outer ring, a pocket is in a straight pocket type, the abrasion failure of the retainer is an important reason of bearing failure in the operation process of a high-speed heavy-load bearing, under the condition of high-speed heavy load, the retainer guided by the flange of the inner ring or the outer ring works for a long time and is easy to generate serious abrasion with the flange of the inner ring or the flange of the outer ring, the abrasion further causes the size change of the retainer, the fit clearance is increased, the working vibration and the noise are increased, and finally the integral working performance of the bearing is lost.
Disclosure of Invention
In order to overcome not enough in the background art, the utility model discloses a deep groove ball bearing is with split type holder, the utility model discloses can effectively reduce the wearing and tearing of holder, improve the fail safe nature of holder, guarantee the whole life of bearing.
In order to achieve the above purpose, the utility model adopts the following technical scheme:
the utility model provides a split type holder in ball pocket hole of wind-powered electricity generation deep groove ball bearing steel ball guide, including installing the holder between bearing inner race and bearing inner race, the holder includes first holder and second holder, evenly distributed has the first hemisphere pocket hole of several on the terminal surface of first holder, evenly distributed has the second hemisphere pocket hole of several and the first hemisphere pocket hole one-to-one on the terminal surface of second holder on the terminal surface of several and the first hemisphere pocket hole on the first holder terminal surface, the centre of sphere of first hemisphere pocket hole and the centre of sphere of corresponding second hemisphere pocket hole set up along holder axial non-concentrically, corresponding first hemisphere pocket hole forms the full pocket hole of ellipsoid shape that is used for blocking the axle bearing steel ball with the combination of second hemisphere pocket hole, first holder passes through the rivet fixed formation holder of second holder.
Furthermore, a groove is formed in the end face of the first retainer on the same side as the first hemispherical pocket hole, and a convex edge matched with the groove is formed in the end face of the second retainer on the same side as the second hemispherical pocket hole.
Furthermore, a plurality of first rivet holes penetrating through the first retainer are uniformly distributed on the end face of the first retainer, and a plurality of second rivet holes in one-to-one correspondence with the plurality of first rivet holes on the first retainer are uniformly distributed on the end face of the second retainer.
Furthermore, the included angle between the first rivet hole on the first retainer and the center line of the adjacent first hemisphere pocket and the included angle between the second rivet hole on the second retainer and the center line of the adjacent second hemisphere pocket are both 6 degrees and 40 degrees.
Furthermore, the distance from the inner bottom surface of the first hemispherical pocket to the inner bottom surface of the second hemispherical pocket is larger than the diameter of the bearing steel ball.
Furthermore, a gap exists between the oval full pocket and the bearing steel ball.
Compared with the prior art, the beneficial effects of the utility model are that: in the practical application process, the retainer is guided by a plurality of steel balls, so that the retainer can not contact the inner ring and the outer ring of the bearing, the abrasion of the retainer is reduced, the vibration of the retainer is reduced, the integral service life reliability of the bearing is improved, the design limitation that small gaps are needed between the existing retainer and the inner ring or the outer ring flange is avoided, the selection of an oil injection position is more flexible, a lubricating point can be arranged between the inner ring and the retainer, and a lubricating point can also be arranged between the outer ring and the retainer;
through the setting of the whole pocket hole of ellipse, compare the straight pocket hole holder of tradition, the whole pocket hole of ellipse not only makes the holder reduce radial guide clearance, has reduced vibration and noise by a wide margin, makes moreover have sufficient lubrication and reasonable bearing temperature rise between steel ball and holder in the bearing working process.
Drawings
Fig. 1 is a schematic structural view of the present invention;
fig. 2 is a schematic structural view of a first retainer of the present invention;
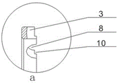
FIG. 3 isbase:Sub>A sectional view A-A of FIG. 2;
FIG. 4 is an enlarged view of part a of FIG. 3;
fig. 5 is a schematic structural view of a second retainer of the present invention;
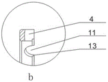
FIG. 6 is a cross-sectional view B-B of FIG. 5;
fig. 7 is an enlarged schematic view of a portion b of fig. 6.
In the figure: 1. a bearing outer race; 2. a bearing steel ball; 3. a first holder; 4. a second holder; 5. an ellipsoidal full pocket; 6. a gap; 7. a bearing inner race; 8. a first hemispherical pocket; 9. a first rivet hole; 10. a groove; 11. a second hemispherical pocket; 12. a second rivet hole; 13. and (7) protruding ribs.
Detailed Description
In the following description, the technical solutions of the present invention will be described with reference to the drawings in the embodiments of the present invention, it should be understood that, if there are the orientations or positional relationships indicated by the terms "upper", "lower", "front", "rear", "left", "right", etc., it only corresponds to the drawings of the present invention, and for convenience of description, it is not intended to indicate or imply that the indicated device or element must have a specific orientation.
Referring to the attached drawings 1-7 of the specification, the utility model provides a technical scheme:
in the first embodiment, the split type cage for the deep groove ball bearing comprises a cage arranged between a bearing outer ring 1 and a bearing inner ring 7, the cage comprises a first cage 3 and a second cage 4, a plurality of first hemispherical pockets 8 are uniformly distributed on the end surface of the first cage 3, a plurality of second hemispherical pockets 11 which correspond to the plurality of first hemispherical pockets 8 on the end surface of the first cage 3 one by one are uniformly distributed on the end surface of the second cage 4, the ball centers of the first hemispherical pockets 8 and the corresponding ball centers of the second hemispherical pockets 11 are arranged along the axial direction of the cage in a non-concentric way, the ball center angles of the first hemispherical pockets 8 and the second hemispherical pockets 11 are both larger than 180 degrees, the distance from the inner bottom surface of the first hemispherical pockets 8 to the inner bottom surface of the second hemispherical pockets 11 is larger than the diameter of a bearing steel ball 2, the corresponding first hemispherical pockets 8 and second hemispherical pockets 11 are combined to form an ellipsoidal full-ball-shaped cage 5 for clamping and placing the steel ball 2 of the bearing, there is clearance 6 between oval full pocket 5 and the bearing steel ball 2, evenly distributed has the first rivet hole 9 that the several runs through first holder on the terminal surface of first holder 3, evenly distributed has the second rivet hole 12 of several and the first rivet hole 9 one-to-one correspondence of several on the first holder on the terminal surface of second holder 4, after first holder 3 corresponds the lock with second holder 4, through the rivet in proper order run through corresponding first rivet hole 9 and second rivet hole 12 and accomplish the holder and fix, as an embodiment, the number of first hemisphere pocket 8 and second hemisphere pocket 11 is 22, the number of corresponding first rivet hole 9 and second rivet hole 12 is 44, the first rivet hole 9 on the first holder 3 and the central line contained angle of adjacent first hemisphere pocket 8, the first hemisphere pocket 9 of first holder is the same as the second hemisphere pocket 8, and the included angle between the second rivet hole 12 of the second retainer 4 and the central line of the adjacent second hemisphere pocket 11 is 6 degrees and 40 degrees.
Embodiment two, in order to make first holder 3 and second holder 4 at the concatenation combination in-process, corresponding first hemisphere pocket 8 can accurately correspond with second hemisphere pocket 11, be equipped with recess 10 with the terminal surface of first hemisphere pocket 8 homonymy on the first holder 3, be equipped with on the second holder 4 with the terminal surface of second hemisphere pocket 11 homonymy with the bead 13 of recess 10 looks adaptation, it is concrete, all be equipped with recess 10 in the first hemisphere pocket 8 both sides of several of first holder 3 terminal surface, all be equipped with bead 13 in the 11 both sides of several second hemisphere pocket of second holder 4 terminal surface.
The details of the present invention not described in detail are prior art, and it will be apparent to those skilled in the art that the present invention is not limited to the details of the foregoing exemplary embodiments, and that the present invention may be embodied in other specific forms without departing from the spirit or essential characteristics thereof; the present embodiments are therefore to be considered in all respects as illustrative and not restrictive, the scope of the invention being indicated by the appended claims rather than by the foregoing description, and all changes which come within the meaning and range of equivalency of the claims are therefore intended to be embraced therein, and any reference signs in the claims are not intended to be construed as limiting the scope of the claims.
Claims (5)
1. The utility model provides a split type holder is used to deep groove ball bearing, is including installing the holder between bearing inner race (7) and bearing outer lane (1), its characterized in that: the retainer comprises a first retainer (3) and a second retainer (4), a plurality of first hemisphere pocket holes (8) are uniformly distributed on the end face of the first retainer (3), a plurality of second hemisphere pocket holes (11) corresponding to the first hemisphere pocket holes (8) of the plurality on the end face of the first retainer (3) are uniformly distributed on the end face of the second retainer (4), the sphere center of the first hemisphere pocket holes (8) and the sphere center of the corresponding second hemisphere pocket holes (11) are arranged along the axial direction of the retainer in a non-concentric mode, the corresponding first hemisphere pocket holes (8) and the second hemisphere pocket holes (11) are combined to form an ellipsoidal full pocket hole (5) used for clamping and placing a bearing steel ball (2), a groove (10) is formed in the end face of the first retainer (3) and on the same side as the first hemisphere pocket holes (8), a convex rib (13) matched with the groove (10) is formed in the end face of the second retainer (4) and on the same side as the second hemisphere pocket holes (11), and a rivet is fixed to form the first retainer (3) and the second retainer (4).
2. The split cage for the deep groove ball bearing according to claim 1, wherein: a plurality of first rivet holes (9) penetrating through the first retainer are uniformly distributed on the end face of the first retainer (3), and a plurality of second rivet holes (12) corresponding to the plurality of first rivet holes (9) on the first retainer one by one are uniformly distributed on the end face of the second retainer (4).
3. The split type retainer for the deep groove ball bearing according to claim 2, characterized in that: the included angle between the center line of the first rivet hole (9) on the first retainer (3) and the adjacent first hemispherical pocket hole (8) and the included angle between the center line of the second rivet hole (12) on the second retainer (4) and the adjacent second hemispherical pocket hole (11) are both 6 degrees and 40 degrees.
4. The split cage for the deep groove ball bearing according to claim 1, wherein: the distance between the inner bottom surface of the first hemisphere pocket hole (8) and the inner bottom surface of the second hemisphere pocket hole (11) is larger than the diameter of the bearing steel ball (2).
5. The split cage for the deep groove ball bearing according to claim 4, characterized in that: a gap (6) is formed between the ellipsoidal full pocket (5) and the bearing steel ball (2).
Priority Applications (1)
| Application Number | Priority Date | Filing Date | Title |
|---|---|---|---|
| CN202221966490.7U CN218294224U (en) | 2022-07-28 | 2022-07-28 | Split type retainer for deep groove ball bearing |
Applications Claiming Priority (1)
| Application Number | Priority Date | Filing Date | Title |
|---|---|---|---|
| CN202221966490.7U CN218294224U (en) | 2022-07-28 | 2022-07-28 | Split type retainer for deep groove ball bearing |
Publications (1)
| Publication Number | Publication Date |
|---|---|
| CN218294224U true CN218294224U (en) | 2023-01-13 |
Family
ID=84792792
Family Applications (1)
| Application Number | Title | Priority Date | Filing Date |
|---|---|---|---|
| CN202221966490.7U Active CN218294224U (en) | 2022-07-28 | 2022-07-28 | Split type retainer for deep groove ball bearing |
Country Status (1)
| Country | Link |
|---|---|
| CN (1) | CN218294224U (en) |
-
2022
- 2022-07-28 CN CN202221966490.7U patent/CN218294224U/en active Active
Similar Documents
| Publication | Publication Date | Title |
|---|---|---|
| US8459872B2 (en) | Bearing with alternative load path for extreme loads | |
| KR101161484B1 (en) | Gear box for wind turbine generator and wind turbine generator | |
| CN218294224U (en) | Split type retainer for deep groove ball bearing | |
| US10655610B2 (en) | Wire races for wind turbine bearings | |
| CN213808512U (en) | High-precision low-friction super-huge type bearing solid retainer | |
| CN217421884U (en) | Ball bearing locking-type retainer | |
| CN201416598Y (en) | Slewing bearing | |
| CN218644648U (en) | Low-heating wind power main shaft bearing | |
| CN217977063U (en) | High strength fan carousel is holder for bearing | |
| CN209083971U (en) | The pin shaft location structure and planetary gear lubrication system of wind power speed-increasing gearbox | |
| CN115654005A (en) | Low-heating wind power main shaft bearing | |
| CN216691830U (en) | Bearing positioning pin, shaft system assembly and turbocharger | |
| CN213176493U (en) | Reinforced rolling mill bearing | |
| CN212250832U (en) | Solid retainer for angular contact and QJ type four-point contact ball bearing | |
| CN210344034U (en) | Asymmetric double-row angular contact ball bearing | |
| CN209781453U (en) | super-huge high-speed centrifugal casting machine bearing | |
| CN210484409U (en) | Cylindrical roller bearing of wind power speed increasing box | |
| CN212297281U (en) | Retainer for wind power low-wear self-aligning roller bearing | |
| CN220204419U (en) | Improved tapered roller bearing retainer | |
| CN217301293U (en) | Self-aligning roller bearing for gear box | |
| CN216343404U (en) | Multi-section arc trimming roller and self-aligning roller bearing thereof | |
| CN112253618A (en) | Double-inner-ring three-point contact ball bearing | |
| CN216343376U (en) | Deep groove ball bearing | |
| CN114087273A (en) | Bearing positioning pin, shaft system assembly and turbocharger | |
| CN221547537U (en) | Agricultural machinery bearing |
Legal Events
| Date | Code | Title | Description |
|---|---|---|---|
| GR01 | Patent grant | ||
| GR01 | Patent grant | ||
| CP03 | Change of name, title or address | ||
| CP03 | Change of name, title or address |
Address after: 471039 No. 96, Jianxi, Luoyang District, Henan, Jianshe Road Patentee after: Luoyang Bearing Group Co.,Ltd. Country or region after: China Address before: 471039 No. 96, Jianxi, Luoyang District, Henan, Jianshe Road Patentee before: LUOYANG LYC BEARING Co.,Ltd. Country or region before: China |