CN218277341U - 一种pcb板清洁装置 - Google Patents
一种pcb板清洁装置 Download PDFInfo
- Publication number
- CN218277341U CN218277341U CN202221627154.XU CN202221627154U CN218277341U CN 218277341 U CN218277341 U CN 218277341U CN 202221627154 U CN202221627154 U CN 202221627154U CN 218277341 U CN218277341 U CN 218277341U
- Authority
- CN
- China
- Prior art keywords
- roller
- pcb board
- cleaning device
- plates
- gyro wheel
- Prior art date
- Legal status (The legal status is an assumption and is not a legal conclusion. Google has not performed a legal analysis and makes no representation as to the accuracy of the status listed.)
- Active
Links
- 238000004140 cleaning Methods 0.000 title claims abstract description 28
- 230000007246 mechanism Effects 0.000 claims abstract description 30
- 230000005540 biological transmission Effects 0.000 claims description 16
- 239000012790 adhesive layer Substances 0.000 claims description 4
- 239000012780 transparent material Substances 0.000 claims description 3
- 229920000297 Rayon Polymers 0.000 abstract description 9
- 239000000428 dust Substances 0.000 abstract description 7
- 239000003292 glue Substances 0.000 abstract description 4
- 238000004519 manufacturing process Methods 0.000 abstract description 2
- 239000010410 layer Substances 0.000 description 7
- 230000000694 effects Effects 0.000 description 3
- 238000010586 diagram Methods 0.000 description 2
- 230000009286 beneficial effect Effects 0.000 description 1
- 239000011521 glass Substances 0.000 description 1
- 150000003071 polychlorinated biphenyls Chemical class 0.000 description 1
- 125000006850 spacer group Chemical group 0.000 description 1
Images
Landscapes
- Cleaning In General (AREA)
Abstract
本实用新型涉及PCB板生产加工领域,尤其涉及一种PCB板清洁装置,两个侧板间隔平行设置,输送机构设置在两个侧板中间,辊轴间隔转动安装在两个侧板中间,传动轮固定安装在辊轴上,输送带转动套设在两个传动轮上,输送带上间隔固定安装有辅助板,两个侧板上设置有清洁机构,两个肋板对应固定安装在两个侧板上端一侧,滚轮间隔转动安装在两个肋板中间,滚轮外圆壁上设置有粘胶层,该设计将PCB板放置在输送带上,移动到滚轮下方,并与转动的滚轮接触,通过滚轮上设置的粘胶层粘除PCB板上的灰尘,便捷高效,同时对PCB板无损伤。
Description
技术领域
本实用新型涉及PCB板生产加工领域,尤其涉及一种PCB板清洁装置。
背景技术
中文名称为印制电路板,又称印刷线路板,是重要的电子部件,是电子元器件的支撑体,是电子元器件电气连接的载体,由于它是采用电子印刷术制作的,故被称为“印刷”电路板,由于PCB板上遍布电子元件,凹凸不平,故现有技术中多采用粘胶辊对PCB板进行清洁处理,但是有时PCB板厚度不一,现有清洁装置无法适应不同厚度的PCB板,导致无法与PCB板充分贴合接触,影响清洁效果,针对现有问题,提出一种PCB板清洁装置。
实用新型内容
本实用新型的目的是为了解决现有技术中存在现有清洁装置无法适应不同厚度的PCB板的缺点,而提出的一种PCB板清洁装置。
为了实现上述目的,本实用新型采用了如下技术方案:
设计一种PCB板清洁装置,包括两个侧板,两个所述侧板间隔平行设置,还包括:
输送机构,所述输送机构设置在两个所述侧板中间,所述输送机构包括辊轴、传动轮、输送带,所述辊轴间隔转动安装在两个所述侧板中间,所述传动轮固定安装在所述辊轴上,所述输送带转动套设在两个所述传动轮上,所述输送带上间隔固定安装有辅助板,两个所述侧板上设置有清洁机构,所述清洁机构包括两个肋板、滚轮,两个所述肋板对应固定安装在两个所述侧板上端一侧,所述滚轮间隔转动安装在两个所述肋板中间,所述滚轮外圆壁上设置有粘胶层。
优选的,所述肋板上对应间隔开设有凹槽,所述凹槽内固定安装有滑杆,所述滑杆上滑动安装有滑动件,所述滑动件与所述滚轮两端转动连接,所述滑杆上套设有弹簧,所述弹簧上端与所述滑杆上端固定连接。
优选的,还包括驱动机构,所述驱动机构包括电机、转动轴、传动带,所述电机固定安装在其中一个所述侧板内侧,所述转动轴固定安装在所述电机输出轴上,所述传动带间隔套设在所述转动轴上,两个所述传动轮上错位开设有活动槽,所述传动带另一端通过所述活动槽传动套设在所述辊轴上。
优选的,还包括防护机构,所述防护机构包括连接件、顶板、螺栓,所述顶板放置在所述肋板上端,所述连接件间隔对应固定安装在所述肋板及所述顶板两侧,所述螺栓螺纹连接安装在所述连接件上。
优选的,所述顶板为透明材质。
本实用新型提出的一种PCB板清洁装置,有益效果在于:
通过设置侧板、输送机构、清洁机构,将PCB板放置在输送带上,移动到滚轮下方,并与转动的滚轮接触,通过滚轮上设置的粘胶层粘除PCB板上的灰尘,便捷高效,同时对PCB板无损伤。
附图说明
图1为本实用新型提出的一种PCB板清洁装置的侧视结构示意图。
图2为本实用新型提出的一种PCB板清洁装置的部分机构结构示意图。
图3为本实用新型提出的一种PCB板清洁装置的部分机构结构示意图。
图4为本实用新型提出的一种PCB板清洁装置的剖面结构示意图。
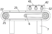
图中:侧板1、输送机构2、辊轴21、传动轮22、活动槽221、输送带23、清洁机构3、肋板31、凹槽311、滚轮32、滑杆33、滑动件34、弹簧35、防护机构4、连接件41、顶板42、螺栓43、辅助板5、驱动机构6、电机61、转动轴62、传动带63、支撑腿7。
具体实施方式
下面将结合本实用新型实施例中的附图,对本实用新型实施例中的技术方案进行清楚、完整地描述,显然,所描述的实施例仅仅是本实用新型一部分实施例,而不是全部的实施例。
实施例1
参照图1-4,一种PCB板清洁装置,包括两个侧板1,两个侧板1间隔平行设置,还包括:
输送机构2,输送机构2设置在两个侧板1中间,输送机构2包括辊轴21、传动轮22、输送带23,辊轴21间隔转动安装在两个侧板1中间,传动轮22固定安装在辊轴21上,输送带23转动套设在两个传动轮22上,输送带23上间隔固定安装有辅助板5,两个侧板1上设置有清洁机构3,清洁机构3包括两个肋板31、滚轮32,两个肋板31对应固定安装在两个侧板1上端一侧,滚轮32间隔转动安装在两个肋板31中间,滚轮32外圆壁上设置有粘胶层,将PCB板放置在输送带23上,移动到滚轮32下方,并与转动的滚轮32接触,通过滚轮32上设置的粘胶层粘除PCB板上的灰尘,便捷高效,同时对PCB板无损伤。
肋板31上对应间隔开设有凹槽311,凹槽311内固定安装有滑杆33,滑杆33上滑动安装有滑动件34,滑动件34与滚轮32两端转动连接,滑杆33上套设有弹簧35,弹簧35上端与滑杆33上端固定连接,当不同厚度的PCB板移动到滚轮32下方时,为使滚轮32上的粘胶层与PCB板更好的接触,通过在滑杆33滑动设置的滑动件34以及弹簧35,使得对应的滚轮32可以适应不同厚度的PCB板进行上下调节,优化除尘效果。
还包括驱动机构6,驱动机构6包括电机61、转动轴62、传动带63,电机61固定安装在其中一个侧板1内侧,转动轴62固定安装在电机61输出轴上,传动带63间隔套设在转动轴62上,两个传动轮22上错位开设有活动槽221,传动带63另一端通过活动槽221传动套设在辊轴21上,当电机61带动转动轴62转动时,通过传动带63带动辊轴21转动,进行带动输送带23转动。
实施例2
根据实施例1,实施例1中将PCB板放置在输送带23上,移动到滚轮32下方,并与转动的滚轮32接触,通过滚轮32上设置的粘胶层粘除PCB板上的灰尘,便捷高效,同时对PCB板无损伤,然而,暴露的滚轮32,使得粘胶层易吸附空气中的灰尘,不便于使用,参照图1-4,作为本发明的另一优选实施例,在实施例1的基础上,还包括防护机构4。
防护机构4包括连接件41、顶板42、螺栓43,顶板42放置在肋板31上端,连接件41间隔对应固定安装在肋板31及顶板42两侧,螺栓43螺纹连接安装在连接件41上,顶板42为透明材质,可为玻璃板或者塑料板,通过螺栓43及连接件41,将顶板42固定安装在两个肋板31上,可通过顶板42观察滚轮32上设置的粘胶层的脏污程度,便于及时更换。
工作原理:当不同厚度的PCB板移动到滚轮32下方时,为使滚轮32上的粘胶层与PCB板更好的接触,通过在滑杆33滑动设置的滑动件34以及弹簧35,使得对应的滚轮32可以适应不同厚度的PCB板进行上下调节,优化除尘效果,通过螺栓43及连接件41,将顶板42固定安装在两个肋板31上,可通过顶板42观察滚轮32上设置的粘胶层的脏污程度,便于及时更换。
以上所述,仅为本实用新型较佳的具体实施方式,但本实用新型的保护范围并不局限于此,任何熟悉本技术领域的技术人员在本实用新型揭露的技术范围内,根据本实用新型的技术方案及其实用新型构思加以等同替换或改变,都应涵盖在本实用新型的保护范围之内。
Claims (5)
1.一种PCB板清洁装置,包括两个侧板(1),两个所述侧板(1)间隔平行设置,其特征在于,还包括:
输送机构(2),所述输送机构(2)设置在两个所述侧板(1)中间,所述输送机构(2)包括辊轴(21)、传动轮(22)、输送带(23),所述辊轴(21)间隔转动安装在两个所述侧板(1)中间,所述传动轮(22)固定安装在所述辊轴(21)上,所述输送带(23)转动套设在两个所述传动轮(22)上,所述输送带(23)上间隔固定安装有辅助板(5),两个所述侧板(1)上设置有清洁机构(3),所述清洁机构(3)包括两个肋板(31)、滚轮(32),两个所述肋板(31)对应固定安装在两个所述侧板(1)上端一侧,所述滚轮(32)间隔转动安装在两个所述肋板(31)中间,所述滚轮(32)外圆壁上设置有粘胶层。
2.根据权利要求1所述的PCB板清洁装置,其特征在于,所述肋板(31)上对应间隔开设有凹槽(311),所述凹槽(311)内固定安装有滑杆(33),所述滑杆(33)上滑动安装有滑动件(34),所述滑动件(34)与所述滚轮(32)两端转动连接,所述滑杆(33)上套设有弹簧(35),所述弹簧(35)上端与所述滑杆(33)上端固定连接。
3.根据权利要求1所述的PCB板清洁装置,其特征在于,还包括驱动机构(6),所述驱动机构(6)包括电机(61)、转动轴(62)、传动带(63),所述电机(61)固定安装在其中一个所述侧板(1)内侧,所述转动轴(62)固定安装在所述电机(61)输出轴上,所述传动带(63)间隔套设在所述转动轴(62)上,两个所述传动轮(22)上错位开设有活动槽(221),所述传动带(63)另一端通过所述活动槽(221)传动套设在所述辊轴(21)上。
4.根据权利要求1所述的PCB板清洁装置,其特征在于,还包括防护机构(4),所述防护机构(4)包括连接件(41)、顶板(42)、螺栓(43),所述顶板(42)放置在所述肋板(31)上端,所述连接件(41)间隔对应固定安装在所述肋板(31)及所述顶板(42)两侧,所述螺栓(43)螺纹连接安装在所述连接件(41)上。
5.根据权利要求4所述的PCB板清洁装置,其特征在于,所述顶板(42)为透明材质。
Priority Applications (1)
| Application Number | Priority Date | Filing Date | Title |
|---|---|---|---|
| CN202221627154.XU CN218277341U (zh) | 2022-06-27 | 2022-06-27 | 一种pcb板清洁装置 |
Applications Claiming Priority (1)
| Application Number | Priority Date | Filing Date | Title |
|---|---|---|---|
| CN202221627154.XU CN218277341U (zh) | 2022-06-27 | 2022-06-27 | 一种pcb板清洁装置 |
Publications (1)
| Publication Number | Publication Date |
|---|---|
| CN218277341U true CN218277341U (zh) | 2023-01-10 |
Family
ID=84758564
Family Applications (1)
| Application Number | Title | Priority Date | Filing Date |
|---|---|---|---|
| CN202221627154.XU Active CN218277341U (zh) | 2022-06-27 | 2022-06-27 | 一种pcb板清洁装置 |
Country Status (1)
| Country | Link |
|---|---|
| CN (1) | CN218277341U (zh) |
-
2022
- 2022-06-27 CN CN202221627154.XU patent/CN218277341U/zh active Active
Similar Documents
| Publication | Publication Date | Title |
|---|---|---|
| CN218277341U (zh) | 一种pcb板清洁装置 | |
| CN221190643U (zh) | 一种玻璃输送机构 | |
| CN208245368U (zh) | 一种用于导光板清洁的清洁机 | |
| CN216174945U (zh) | 一种覆盖膜清洁组件 | |
| JP2703447B2 (ja) | 紙粉除去装置及び紙粉除去方法 | |
| CN211919824U (zh) | 一种电路板清洗线的上料装置 | |
| CN1618532A (zh) | 除尘装置 | |
| CN218173700U (zh) | 一种汽车零部件组装流水线的除尘结构 | |
| CN110540065A (zh) | 一种玻璃转运装置 | |
| CN220027892U (zh) | 一种硬化膜加工除尘装置 | |
| JP2013151355A (ja) | 乗客コンベアの踏板清掃装置 | |
| CN118491919A (zh) | 清洁装置及检测设备 | |
| CN214984135U (zh) | 一种标签生产制造用具有清扫结构的油墨印刷装置 | |
| CN214052743U (zh) | 一种板件双面清洁机用高效除尘结构 | |
| CN216004170U (zh) | 一种装配线输送系统 | |
| CN114410940B (zh) | 一种工业用钢板热处理自动升降接料装置 | |
| CN210187919U (zh) | 一种清洁机 | |
| CN210333471U (zh) | 一种8辊磁力轮清洁机 | |
| CN220699469U (zh) | 空气过滤器组框装置 | |
| CN218139900U (zh) | 一种塑料膜材覆膜机 | |
| CN219919304U (zh) | 一种电路板表面处理装置 | |
| CN218470679U (zh) | 一种智能工程数据采集装置 | |
| CN218140816U (zh) | 一种花纹板成型机上料机构 | |
| CN216969079U (zh) | 一种用于保护墨盒喷头的蓝带贴附设备 | |
| CN217595398U (zh) | 一种片材除尘设备 |
Legal Events
| Date | Code | Title | Description |
|---|---|---|---|
| GR01 | Patent grant | ||
| GR01 | Patent grant |