CN218250476U - 一种公路桥梁预制梁板混凝土废料用的处理装置 - Google Patents

一种公路桥梁预制梁板混凝土废料用的处理装置 Download PDF

Info

Publication number
CN218250476U
CN218250476U CN202221818928.7U CN202221818928U CN218250476U CN 218250476 U CN218250476 U CN 218250476U CN 202221818928 U CN202221818928 U CN 202221818928U CN 218250476 U CN218250476 U CN 218250476U
Authority
CN
China
Prior art keywords
waste
concrete waste
fixedly connected
crushing box
crushing
Prior art date
Legal status (The legal status is an assumption and is not a legal conclusion. Google has not performed a legal analysis and makes no representation as to the accuracy of the status listed.)
Active
Application number
CN202221818928.7U
Other languages
English (en)
Inventor
包兴
赵明霞
Current Assignee (The listed assignees may be inaccurate. Google has not performed a legal analysis and makes no representation or warranty as to the accuracy of the list.)
Individual
Original Assignee
Individual
Priority date (The priority date is an assumption and is not a legal conclusion. Google has not performed a legal analysis and makes no representation as to the accuracy of the date listed.)
Filing date
Publication date
Application filed by Individual filed Critical Individual
Priority to CN202221818928.7U priority Critical patent/CN218250476U/zh
Application granted granted Critical
Publication of CN218250476U publication Critical patent/CN218250476U/zh
Active legal-status Critical Current
Anticipated expiration legal-status Critical

Links

Images

Landscapes

  • Processing Of Solid Wastes (AREA)

Abstract

本实用新型公开了一种公路桥梁预制梁板混凝土废料用的处理装置,属于公路桥梁施工技术领域,一种公路桥梁预制梁板混凝土废料用的处理装置,在对混凝土废料进行粉碎后,通过传送装置将其向推车内进行输送,在此过程中,通过传送皮带内的磁条对混凝土废料中的钢筋等金属进行吸引,并在凸轮的转动下致使传送装置上下振动,使钢筋等金属更好的吸附在传送皮带上,随着传送装置对废料的输送,最终使得混凝土废料进入推车中,钢筋等金属废料进入接料箱中,达到对预制梁板中金属废料与混凝土废料进行分类处理的目的,无需后续人工对金属废料进行分拣,节省了人力财力,降低了对预制梁板混凝土废料进行处理的成本。

Description

一种公路桥梁预制梁板混凝土废料用的处理装置
技术领域
本实用新型涉及公路桥梁施工技术领域,更具体地说,涉及一种公路桥梁预制梁板混凝土废料用的处理装置。
背景技术
专利号为201920100385.7的一篇实用新型,介绍了《一种公路桥梁预制梁板混凝土废料处理装置》,包括破碎箱本体,所述破碎箱本体的顶部开设有入料口,所述破碎箱本体靠近入料口的一侧活动连接有防尘网。该公路桥梁预制梁板混凝土废料处理装置,工作时机器的内部会产生大量粉尘,通过设置防尘网,废料放入机后将防尘网关闭,达到防尘的目的,粉碎后的碎块和粉尘碎渣掉落到传送带上,粉尘碎渣通过过滤板上的过滤孔掉落至收集抽屉内,碎块被传送带送出落入接料车的内部,达到回收材料分类回收的目的,方便快捷,工作时可以通过液压杆将底部支撑板放下,减震板起到减震的目的。
上述实用新型,在实际使用过程中,仅对混凝土废料进行粉碎,然后对粉碎后不同大小的废料进行筛分,然而在预制梁板混凝土废料中还包含有钢筋等金属废料,此处理装置不能够对钢筋和混凝土废料进行分类回收,工人还需逐一将钢筋等金属废料从混凝土中分离出来,费时费力,直接导致对预制梁板混凝土废料进行处理的成本较高。
实用新型内容
1.要解决的技术问题
针对现有技术中存在的问题,本实用新型的目的在于提供一种公路桥梁预制梁板混凝土废料用的处理装置,它可以实现在对公路桥梁预制梁板混凝土废料进行处理的过程中,在对混凝土废料进行粉碎后,通过传送装置将其向推车内进行输送,在此过程中,通过传送皮带内的磁条对混凝土废料中的钢筋等金属进行吸引,并在凸轮的转动下致使传送装置上下振动,使钢筋等金属更好的吸附在传送皮带上,随着传送装置对废料的输送,最终使得混凝土废料进入推车中,钢筋等金属废料进入接料箱中,达到对预制梁板中金属废料与混凝土废料进行分类处理的目的,无需后续人工对金属废料进行分拣,节省了人力财力,降低了对预制梁板混凝土废料进行处理的成本。
2.技术方案
为解决上述问题,本实用新型采用如下的技术方案。
一种公路桥梁预制梁板混凝土废料用的处理装置,包括粉碎箱,所述粉碎箱的上端固定连接有进料槽,所述粉碎箱的内腔安装有粉碎装置,所述粉碎箱的内底端固定连接有支撑柱,所述支撑柱的外端套设有支撑板和弹簧,所述弹簧位于支撑板和粉碎箱之间,所述支撑柱的上端固定连接有圆板,所述圆板位于支撑板的上侧,所述支撑板的上端安装有传送装置,所述粉碎箱的内底端设有底座,所述底座的上端设有接料箱,所述接料箱的上端固定连接有分料板,所述粉碎箱的内腔设有推车,所述推车位于传送装置的右侧,所述粉碎箱的正面安装有第三电机,所述第三电机的输出端固定连接有转轴,所述转轴贯穿于粉碎箱的前后两端,所述转轴的外端固定连接有凸轮,所述凸轮位于支撑板的上端,本方案可以实现在对公路桥梁预制梁板混凝土废料进行处理的过程中,在对混凝土废料进行粉碎后,通过传送装置将其向推车内进行输送,在此过程中,通过传送皮带内的磁条对混凝土废料中的钢筋等金属进行吸引,并在凸轮的转动下致使传送装置上下振动,使钢筋等金属更好的吸附在传送皮带上,随着传送装置对废料的输送,最终使得混凝土废料进入推车中,钢筋等金属废料进入接料箱中,达到对预制梁板中金属废料与混凝土废料进行分类处理的目的,无需后续人工对金属废料进行分拣,节省了人力财力,降低了对预制梁板混凝土废料进行处理的成本。
进一步的,所述粉碎装置包括转动连接于粉碎箱内腔且相互啮合的一对粉碎辊,一对所述粉碎辊的后端分别固定连接有第一齿轮和第二齿轮,所述第二齿轮与第一齿轮相互啮合,所述第一齿轮的后端固定连接有第一电机,所述第一电机安装于粉碎箱的后端,通过设置粉碎装置,通过启动第一电机带动第一齿轮转动,第一齿轮与第二齿轮相互啮合,进而可同时带动两个粉碎辊相互转动啮合,从而对混凝土废料进行粉碎,具有较好的粉碎效果,能使钢筋与混凝土废料分离,便于后续的分类处理工作。
进一步的,所述传送装置包括固定连接于支撑板上端的四个支撑杆,其中两个所述支撑杆之间转动连接有第一皮带轮,另两个所述支撑杆之间转动连接有第二皮带轮,所述第一皮带轮和第二皮带轮的外端套设有传送皮带,所述第一皮带轮的后端固定连接有第二电机,所述第二电机安装于其中一个支撑杆的后端,所述传送皮带的内腔设有多个磁条,通过设置传送装置,通过启动第二电机带动第一皮带轮转动,第一皮带轮转动带动传送皮带传动,从而可利用传送皮带的传动将混凝土废料从左向右运输,运输过程中,传送皮带内的磁条可对混凝土废料中的钢筋进行吸引,使其吸附在传送皮带上,便于后续将钢筋与混凝土废料分离。
进一步的,所述分料板采用橡胶材料制成,所述分料板的上端与传送皮带的外端相贴合,通过设置采用橡胶材料制成的分料板,且其上端与传送皮带的外端相贴合,在传送皮带带动钢筋废料运输时,分料板可将吸附在传送皮带上的钢筋等金属废料与传送皮带剥离,使钢筋等金属废料顺利进入至接料箱中。
进一步的,所述粉碎箱的左右内壁分别固定连接有第一挡板和第二挡板,所述第一挡板位于传送装置和第二挡板之间,通过设置第一挡板和第二挡板,在利用粉碎装置对混凝土废料进行粉碎后,第一挡板和第二挡板可对粉碎后废料的下落进行缓冲,减小其下落时对传送皮带的冲击,降低传送皮带受到的磨损,延长传送皮带的使用寿命。
进一步的,所述接料箱的内底端开凿有通孔,所述粉碎箱的内底端开凿有限位槽,所述限位槽位于底座的右侧,通过设置通孔,在利用接料箱对钢筋等金属进行收集后,其表面会残留有灰尘,可通过对接料箱进行震荡,使其表面的灰尘从通孔中漏出,提高钢筋等金属回收后的纯度,通过设置限位槽,可对推车上的车轮进行限位,防止其在对粉碎后混凝土废料进行收集的过程中因混凝土的冲击产生移动。
3.有益效果
相比于现有技术,本实用新型的优点在于:
(1)本实用新型,通过设置粉碎装置,通过第一电机带动第一齿轮转动,第一齿轮与第二齿轮相互啮合,进而可同时带动两个粉碎辊相互转动啮合,对混凝土废料进行粉碎,具有较好的粉碎效果,能使钢筋与混凝土废料分离,便于后续的分类处理工作,避免了工人还需逐一将钢筋等金属废料从混凝土中分离出来的步骤,大大提高了工作效率。
(2)本实用新型,通过设置传送装置、第三电机、转轴、凸轮和弹簧,粉碎后的混凝土和钢筋等金属废料落在传动皮带上后,通过第二电机带动第一皮带轮、第二皮带轮和传送皮带运作,带动混凝土和钢筋废料从左向右运输,同时通过启动第三电机带动转轴和凸轮转动,并在弹簧的配合作用下,致使支撑板沿支撑柱上下振动,从而带动传送装置和混凝土、钢筋废料振动,在磁条的作用下,进一步使钢筋等金属废料吸附在传送皮带上,其后在分料板的分离作用下能使钢筋等金属废料全部进入接料箱中,而混凝土废料在惯性的作用下进入至推车中,从而完成对混凝土和钢筋等金属废料的分离工作。
附图说明
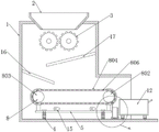
图1为本实用新型的整体结构正面示意图;
图2为本实用新型的粉碎装置结构示意图;
图3为本实用新型的粉碎箱内部结构侧面示意图;
图4为本实用新型的A处结构放大示意图。
图中标号说明:
1、粉碎箱;2、进料槽;3、粉碎装置;301、粉碎辊;302、第一齿轮;303、第二齿轮;304、第一电机;4、支撑柱;5、支撑板;6、弹簧;7、圆板;8、传送装置;801、支撑杆;802、第一皮带轮;803、第二皮带轮;804、传送皮带;805、第二电机;806、磁条;9、底座;10、接料箱;11、分料板;12、推车;13、第三电机;14、转轴;15、凸轮;16、第一挡板;17、第二挡板;18、通孔;19、限位槽。
具体实施方式
下面将结合本实用新型实施例中的附图,对本实用新型实施例中的技术方案进行清楚、完整地描述;显然,所描述的实施例仅仅是本实用新型一部分实施例,而不是全部的实施例,基于本实用新型中的实施例,本领域普通技术人员在没有做出创造性劳动前提下所获得的所有其他实施例,都属于本实用新型保护的范围。
在本实用新型的描述中,需要说明的是,术语“上”、“下”、“内”、“外”、“顶/底端”等指示的方位或位置关系为基于附图所示的方位或位置关系,仅是为了便于描述本实用新型和简化描述,而不是指示或暗示所指的装置或元件必须具有特定的方位、以特定的方位构造和操作,因此不能理解为对本实用新型的限制。此外,术语“第一”、“第二”仅用于描述目的,而不能理解为指示或暗示相对重要性。
在本实用新型的描述中,需要说明的是,除非另有明确的规定和限定,术语“安装”、“设置有”、“套设/接”、“连接”等,应做广义理解,例如“连接”,可以是固定连接,也可以是可拆卸连接,或一体地连接;可以是机械连接,也可以是电连接;可以是直接相连,也可以通过中间媒介间接相连,可以是两个元件内部的连通。对于本领域的普通技术人员而言,可以具体情况理解上述术语在本实用新型中的具体含义。
实施例:
请参阅图1-4,一种公路桥梁预制梁板混凝土废料用的处理装置,包括粉碎箱1,粉碎箱1的上端固定连接有进料槽2,粉碎箱1的内腔安装有粉碎装置3,粉碎箱1的内底端固定连接有支撑柱4,支撑柱4的外端套设有支撑板5和弹簧6,弹簧6位于支撑板5和粉碎箱1之间,支撑柱4的上端固定连接有圆板7,圆板7位于支撑板5的上侧,支撑板5的上端安装有传送装置8,粉碎箱1的内底端设有底座9,底座9的上端设有接料箱10,接料箱10的上端固定连接有分料板11,粉碎箱1的内腔设有推车12,推车12位于传送装置8的右侧,粉碎箱1的正面安装有第三电机13,第三电机13的输出端固定连接有转轴14,转轴14贯穿于粉碎箱1的前后两端,转轴14的外端固定连接有凸轮15,凸轮15位于支撑板5的上端,本方案可以实现在对公路桥梁预制梁板混凝土废料进行处理的过程中,在对混凝土废料进行粉碎后,通过传送装置8将其向推车12内进行输送,在此过程中,通过传送皮带804内的磁条806对混凝土废料中的钢筋等金属进行吸引,并在凸轮15的转动下致使传送装置8上下振动,使钢筋等金属更好的吸附在传送皮带804上,随着传送装置8对废料的输送,最终使得混凝土废料进入推车12中,钢筋等金属废料进入接料箱10中,达到对预制梁板中金属废料与混凝土废料进行分类处理的目的,无需后续人工对金属废料进行分拣,节省了人力财力,降低了对预制梁板混凝土废料进行处理的成本。
请参阅图1-3,粉碎装置3包括转动连接于粉碎箱1内腔且相互啮合的一对粉碎辊301,一对粉碎辊301的后端分别固定连接有第一齿轮302和第二齿轮303,第二齿轮303与第一齿轮302相互啮合,第一齿轮302的后端固定连接有第一电机304,第一电机304安装于粉碎箱1的后端,通过设置粉碎装置3,通过启动第一电机304带动第一齿轮302转动,第一齿轮302与第二齿轮303相互啮合,进而可同时带动两个粉碎辊301相互转动啮合,从而对混凝土废料进行粉碎,具有较好的粉碎效果,能使钢筋与混凝土废料分离,便于后续的分类处理工作。
请参阅图1和图3-4,传送装置8包括固定连接于支撑板5上端的四个支撑杆801,其中两个支撑杆801之间转动连接有第一皮带轮802,另两个支撑杆801之间转动连接有第二皮带轮803,第一皮带轮802和第二皮带轮803的外端套设有传送皮带804,第一皮带轮802的后端固定连接有第二电机805,第二电机805安装于其中一个支撑杆801的后端,传送皮带804的内腔设有多个磁条806,通过设置传送装置8,通过启动第二电机805带动第一皮带轮802转动,第一皮带轮802转动带动传送皮带804传动,从而可利用传送皮带804的传动将混凝土废料从左向右运输,运输过程中,传送皮带804内的磁条806可对混凝土废料中的钢筋进行吸引,使其吸附在传送皮带804上,便于后续将钢筋与混凝土废料分离。
请参阅图1和图4,分料板11采用橡胶材料制成,分料板11的上端与传送皮带804的外端相贴合,通过设置采用橡胶材料制成的分料板11,且其上端与传送皮带804的外端相贴合,在传送皮带804带动钢筋废料运输时,分料板11可将吸附在传送皮带804上的钢筋等金属废料与传送皮带804剥离,使钢筋等金属废料顺利进入至接料箱10中。
请参阅图1,粉碎箱1的左右内壁分别固定连接有第一挡板16和第二挡板17,第一挡板16位于传送装置8和第二挡板17之间,通过设置第一挡板16和第二挡板17,在利用粉碎装置3对混凝土废料进行粉碎后,第一挡板16和第二挡板17可对粉碎后废料的下落进行缓冲,减小其下落时对传送皮带804的冲击,降低传送皮带804受到的磨损,延长传送皮带804的使用寿命。
请参阅图1和图4,接料箱10的内底端开凿有通孔18,粉碎箱1的内底端开凿有限位槽19,限位槽19位于底座9的右侧,通过设置通孔18,在利用接料箱10对钢筋等金属进行收集后,其表面会残留有灰尘,可通过对接料箱10进行震荡,使其表面的灰尘从通孔18中漏出,提高钢筋等金属回收后的纯度,通过设置限位槽19,可对推车12上的车轮进行限位,防止其在对粉碎后混凝土废料进行收集的过程中因混凝土的冲击产生移动。
本实用新型中,首先启动第一电机304带动第一齿轮302和粉碎辊301转动,通过第一齿轮302与第二齿轮303的相互啮合,从而同时带动两个粉碎辊301相互转动啮合,然后将预制梁板混凝土废料从进料槽2处加入至粉碎箱1内,利用两个粉碎辊301相互转动啮合对混凝土废料进行粉碎,使混凝土废料与其内的钢筋等金属分离,粉碎后的混凝土废料混杂着钢筋等金属依次沿第二挡板17和第一挡板16落至传送皮带804的上端,此时同时启动第二电机805和第三电机13,第二电机805工作带动第一皮带轮802转动,第一皮带轮802转动带动传送皮带804传动,从而在传送皮带804的传动下将混凝土废料从左向右运输,运输过程中,传送皮带804内的磁条806可对混凝土废料中的钢筋进行吸引,使其吸附在传送皮带804上,第三电机13工作带动转轴14和凸轮15转动,并在弹簧6的配合作用下,可致使支撑板5沿支撑柱4上下振动,从而带动传送装置8上下振动,从而带动混凝土和钢筋废料振动,在磁条806的作用下,进一步使钢筋等金属废料吸附在传送皮带804上,当传送皮带804将钢筋等金属带至接料箱10上方时,分料板11可将吸附在传送皮带804上的钢筋等金属废料与传送皮带804剥离,使钢筋等金属废料进入至接料箱10中,而混凝土废料在惯性的作用下进入至推车12中,从而完成对混凝土和钢筋等金属废料的分离工作,与现有技术相比,本方案可以实现在对公路桥梁预制梁板混凝土废料进行处理的过程中,在对混凝土废料进行粉碎后,通过传送装置8将其向推车12内进行输送,在此过程中,通过传送皮带804内的磁条806对混凝土废料中的钢筋等金属进行吸引,并在凸轮15的转动下致使传送装置8上下振动,使钢筋等金属更好的吸附在传送皮带804上,随着传送装置8对废料的输送,最终使得混凝土废料进入推车12中,钢筋等金属废料进入接料箱10中,达到对预制梁板中金属废料与混凝土废料进行分类处理的目的,无需后续人工对金属废料进行分拣,节省了人力财力,降低了对预制梁板混凝土废料进行处理的成本。
以上所述,仅为本实用新型较佳的具体实施方式;但本实用新型的保护范围并不局限于此。任何熟悉本技术领域的技术人员在本实用新型揭露的技术范围内,根据本实用新型的技术方案及其改进构思加以等同替换或改变,都应涵盖在本实用新型的保护范围内。

Claims (6)

1.一种公路桥梁预制梁板混凝土废料用的处理装置,包括粉碎箱(1),其特征在于:所述粉碎箱(1)的上端固定连接有进料槽(2),所述粉碎箱(1)的内腔安装有粉碎装置(3),所述粉碎箱(1)的内底端固定连接有支撑柱(4),所述支撑柱(4)的外端套设有支撑板(5)和弹簧(6),所述弹簧(6)位于支撑板(5)和粉碎箱(1)之间,所述支撑柱(4)的上端固定连接有圆板(7),所述圆板(7)位于支撑板(5)的上侧,所述支撑板(5)的上端安装有传送装置(8),所述粉碎箱(1)的内底端设有底座(9),所述底座(9)的上端设有接料箱(10),所述接料箱(10)的上端固定连接有分料板(11),所述粉碎箱(1)的内腔设有推车(12),所述推车(12)位于传送装置(8)的右侧,所述粉碎箱(1)的正面安装有第三电机(13),所述第三电机(13)的输出端固定连接有转轴(14),所述转轴(14)贯穿于粉碎箱(1)的前后两端,所述转轴(14)的外端固定连接有凸轮(15),所述凸轮(15)位于支撑板(5)的上端。
2.根据权利要求1所述的一种公路桥梁预制梁板混凝土废料用的处理装置,其特征在于:所述粉碎装置(3)包括转动连接于粉碎箱(1)内腔且相互啮合的一对粉碎辊(301),一对所述粉碎辊(301)的后端分别固定连接有第一齿轮(302)和第二齿轮(303),所述第二齿轮(303)与第一齿轮(302)相互啮合,所述第一齿轮(302)的后端固定连接有第一电机(304),所述第一电机(304)安装于粉碎箱(1)的后端。
3.根据权利要求1所述的一种公路桥梁预制梁板混凝土废料用的处理装置,其特征在于:所述传送装置(8)包括固定连接于支撑板(5)上端的四个支撑杆(801),其中两个所述支撑杆(801)之间转动连接有第一皮带轮(802),另两个所述支撑杆(801)之间转动连接有第二皮带轮(803),所述第一皮带轮(802)和第二皮带轮(803)的外端套设有传送皮带(804),所述第一皮带轮(802)的后端固定连接有第二电机(805),所述第二电机(805)安装于其中一个支撑杆(801)的后端,所述传送皮带(804)的内腔设有多个磁条(806)。
4.根据权利要求1和3任意一项所述的一种公路桥梁预制梁板混凝土废料用的处理装置,其特征在于:所述分料板(11)采用橡胶材料制成,所述分料板(11)的上端与传送皮带(804)的外端相贴合。
5.根据权利要求1和3任意一项所述的一种公路桥梁预制梁板混凝土废料用的处理装置,其特征在于:所述粉碎箱(1)的左右内壁分别固定连接有第一挡板(16)和第二挡板(17),所述第一挡板(16)位于传送装置(8)和第二挡板(17)之间。
6.根据权利要求1所述的一种公路桥梁预制梁板混凝土废料用的处理装置,其特征在于:所述接料箱(10)的内底端开凿有通孔(18),所述粉碎箱(1)的内底端开凿有限位槽(19),所述限位槽(19)位于底座(9)的右侧。
CN202221818928.7U 2022-07-13 2022-07-13 一种公路桥梁预制梁板混凝土废料用的处理装置 Active CN218250476U (zh)

Priority Applications (1)

Application Number Priority Date Filing Date Title
CN202221818928.7U CN218250476U (zh) 2022-07-13 2022-07-13 一种公路桥梁预制梁板混凝土废料用的处理装置

Applications Claiming Priority (1)

Application Number Priority Date Filing Date Title
CN202221818928.7U CN218250476U (zh) 2022-07-13 2022-07-13 一种公路桥梁预制梁板混凝土废料用的处理装置

Publications (1)

Publication Number Publication Date
CN218250476U true CN218250476U (zh) 2023-01-10

Family

ID=84762585

Family Applications (1)

Application Number Title Priority Date Filing Date
CN202221818928.7U Active CN218250476U (zh) 2022-07-13 2022-07-13 一种公路桥梁预制梁板混凝土废料用的处理装置

Country Status (1)

Country Link
CN (1) CN218250476U (zh)

Similar Documents

Publication Publication Date Title
CN106733098A (zh) 一种环保型建筑装潢垃圾处理装置
CN113522404A (zh) 一种市政房建垃圾粉碎设备及运用该设备的垃圾处理方法
CN211274969U (zh) 一种方便收集的道路施工用破碎装置
CN209238024U (zh) 一种具有破碎功能的建筑垃圾筛分装置
CN212632819U (zh) 一种建筑施工用钢筋混凝土分离利用装置
CN218359558U (zh) 一种建筑垃圾粉碎装置
CN218250476U (zh) 一种公路桥梁预制梁板混凝土废料用的处理装置
CN211538170U (zh) 一种破碎机的二次粉碎装置
CN221868594U (zh) 一种破碎骨料分级回收装置
CN219187258U (zh) 一种可分选金属的建筑垃圾回收装置
CN111701980A (zh) 一种可进行金属回收的建筑垃圾分级处理装置
CN217042968U (zh) 一种矿石破碎机
CN214974690U (zh) 一种建筑垃圾再生骨料输送用除尘装置
CN216369479U (zh) 一种废弃混凝土资源化回收利用装置
CN117443543A (zh) 一种多层立交桥式固废处理系统
CN212595971U (zh) 一种建筑垃圾回收处理装置
CN117358367A (zh) 一种煤矸石固废处理设备
CN210022294U (zh) 一种用于建筑垃圾回收的快速破碎装置
CN211865195U (zh) 一种建筑垃圾粉碎及除铁装置
CN211514841U (zh) 一种破碎机的分选装置
CN219702219U (zh) 一种路桥施工碎料处理装置
CN221638238U (zh) 一种建筑施工用破碎机
CN113695001A (zh) 一种露天采矿用高效节能矿石处理装置
CN222739266U (zh) 一种环保资源再利用建筑垃圾分类装置
CN219003369U (zh) 一种具有渣土筛分功能的垃圾处理装置

Legal Events

Date Code Title Description
GR01 Patent grant
GR01 Patent grant