CN218248730U - A sewage filter device for water environment treatment - Google Patents
A sewage filter device for water environment treatment Download PDFInfo
- Publication number
- CN218248730U CN218248730U CN202222409083.2U CN202222409083U CN218248730U CN 218248730 U CN218248730 U CN 218248730U CN 202222409083 U CN202222409083 U CN 202222409083U CN 218248730 U CN218248730 U CN 218248730U
- Authority
- CN
- China
- Prior art keywords
- filter
- box
- fixedly installed
- several
- filter box
- Prior art date
- Legal status (The legal status is an assumption and is not a legal conclusion. Google has not performed a legal analysis and makes no representation as to the accuracy of the status listed.)
- Active
Links
- XLYOFNOQVPJJNP-UHFFFAOYSA-N water Substances O XLYOFNOQVPJJNP-UHFFFAOYSA-N 0.000 title claims abstract description 55
- 239000010865 sewage Substances 0.000 title claims abstract description 39
- 238000004140 cleaning Methods 0.000 claims abstract description 27
- 230000007246 mechanism Effects 0.000 claims abstract description 8
- 238000007689 inspection Methods 0.000 claims abstract description 4
- 238000003756 stirring Methods 0.000 claims description 19
- 238000001914 filtration Methods 0.000 claims description 10
- 238000007790 scraping Methods 0.000 description 12
- 238000000034 method Methods 0.000 description 7
- 230000008569 process Effects 0.000 description 5
- 238000010586 diagram Methods 0.000 description 4
- 241000282414 Homo sapiens Species 0.000 description 2
- 230000000694 effects Effects 0.000 description 2
- 238000009825 accumulation Methods 0.000 description 1
- 230000009286 beneficial effect Effects 0.000 description 1
- 238000004891 communication Methods 0.000 description 1
- 230000006378 damage Effects 0.000 description 1
- 238000005516 engineering process Methods 0.000 description 1
- 230000007613 environmental effect Effects 0.000 description 1
- 238000007667 floating Methods 0.000 description 1
- 238000012423 maintenance Methods 0.000 description 1
- 230000004083 survival effect Effects 0.000 description 1
- 238000003911 water pollution Methods 0.000 description 1
Images
Landscapes
- Filtration Of Liquid (AREA)
Abstract
本实用新型属于水环境治理技术领域,尤其为一种水环境治理用污水过滤装置,包括过滤箱,所述过滤箱左端固定安装有水泵,所述水泵输出端固定安装有进水管,所述过滤箱前端左部设置有检修门,所述过滤箱内上壁和内下壁之间固定安装有过滤机构,所述过滤箱右端下部固定安装有排水管,所述过滤箱下端左部固定安装有清理装置,所述清理装置内部与过滤箱内部相通,所述过滤箱下端四角共同固定安装有支撑底座,所述支撑底座内下壁右部固定安装有控制器。本实用新型可以防止过滤板堵塞,且可以自行对过滤板上的过滤孔进行清理,预防堵塞的方式,通过设置的清理装置可以对垃圾进行收集,防止污水箱堵塞。
The utility model belongs to the technical field of water environment treatment, in particular to a sewage filter device for water environment treatment, comprising a filter box, a water pump is fixedly installed at the left end of the filter box, and a water inlet pipe is fixedly installed at the output end of the water pump. There is an inspection door on the left side of the front end of the box, a filter mechanism is fixedly installed between the inner upper wall and the inner lower wall of the filter box, a drainage pipe is fixedly installed on the lower part of the right end of the filter box, and a A cleaning device, the interior of the cleaning device communicates with the interior of the filter box, the four corners of the lower end of the filter box are jointly fixed with a support base, and the right part of the inner lower wall of the support base is fixed with a controller. The utility model can prevent the clogging of the filter plate, and can clean the filter holes on the filter plate by itself to prevent clogging, and can collect garbage through the provided cleaning device to prevent the clogging of the sewage tank.
Description
技术领域technical field
本实用新型涉及水环境治理技术领域,特别涉及一种水环境治理用污水过滤装置。The utility model relates to the technical field of water environment treatment, in particular to a sewage filter device for water environment treatment.
背景技术Background technique
水环境是构成环境的基本要素之一,是人类社会赖以生存和发展的重要场所,也是受人类干扰和破坏最严重的领域。水环境的污染和破坏已成为当今世界主要的环境问题之一,所以水环境的治理是非常有必要的,由于很多湖泊河流内都飘一些垃圾,对水造成了污染,在进行水环境治理过程中,比较直接的方法通过过滤装置对被污染的水进行处理,减少水的污染。在现有的水环境治理用污水过滤装置在使用过程中至少有以下弊端:1、现有的水环境治理用污水过滤装置在使用过程中,常见的过滤通过过滤网对将污水内的垃圾进行过滤处理,从而减少垃圾在水内腐烂给水资源造成污染,但是传统的过滤装置内设置的过滤网容易在过程中发生堵塞的情况,从而无法进行污水过滤的工作,需要对过滤网进行拆卸处理,从而才能继续进行过滤,非常的麻烦,效率低;2、现有的水环境治理用污水过滤装置在使用过程中,由于过滤装置在过滤污水过程中,会将水中的垃圾进行过滤处理,一些较大的垃圾在过滤后,会堵住出水口,从而造成堆积,从而造成堵塞,且垃圾会跟着水流返回,从而无法过滤较大的垃圾,过滤效果低,故此,我们推出一种新的水环境治理用污水过滤装置。The water environment is one of the basic elements of the environment, an important place for the survival and development of human society, and the most seriously disturbed and damaged area by human beings. The pollution and destruction of the water environment has become one of the main environmental problems in the world today, so the treatment of the water environment is very necessary. Since there are some garbage floating in many lakes and rivers, which pollutes the water, in the process of water environment treatment Among them, the more direct method is to treat the polluted water through a filter device to reduce water pollution. The existing sewage filter device for water environment treatment has at least the following disadvantages in the use process: 1. During the use of the existing sewage filter device for water environment treatment, the common filter will filter the garbage in the sewage through the filter screen. Filtration treatment, so as to reduce the pollution caused by garbage rotting in the water, but the filter screen installed in the traditional filter device is prone to clogging in the process, so that the work of sewage filtration cannot be carried out, and the filter screen needs to be disassembled. Thereby just can continue to filter, very troublesome, efficiency is low; After filtering, the large garbage will block the water outlet, causing accumulation and blockage, and the garbage will return with the water flow, so that the larger garbage cannot be filtered, and the filtering effect is low. Therefore, we introduce a new water environment Sewage filtration device for treatment.
实用新型内容Utility model content
本实用新型的主要目的在于提供一种水环境治理用污水过滤装置,可以有效解决背景技术中的问题。The main purpose of the utility model is to provide a sewage filter device for water environment treatment, which can effectively solve the problems in the background technology.
为实现上述目的,本实用新型采取的技术方案为:In order to achieve the above object, the technical scheme that the utility model takes is:
一种水环境治理用污水过滤装置,包括过滤箱,所述过滤箱左端固定安装有水泵,所述水泵输出端固定安装有进水管,所述过滤箱前端左部设置有检修门,所述过滤箱内上壁和内下壁之间固定安装有过滤装置,所述过滤箱右端下部固定安装有排水管,所述过滤箱下端左部固定安装有清理装置,所述清理装置内部与过滤箱内部相通,所述过滤箱下端四角共同固定安装有支撑底座,所述支撑底座内下壁右部固定安装有控制器。A sewage filter device for water environment treatment, comprising a filter box, a water pump is fixedly installed at the left end of the filter box, a water inlet pipe is fixedly installed at the output end of the water pump, an inspection door is arranged at the left end of the front end of the filter box, and the filter A filter device is fixedly installed between the upper wall and the inner lower wall of the box, a drainage pipe is fixedly installed at the lower part of the right end of the filter box, and a cleaning device is fixedly installed at the left part of the lower end of the filter box. The inside of the cleaning device and the inside of the filter box In the same way, the four corners of the lower end of the filter box are jointly fixed with a support base, and the right part of the inner lower wall of the support base is fixed with a controller.
优选的,所述过滤装置包括活动过滤板,所述活动过滤板左端开有若干个一号滤孔,所述活动过滤板右端四角均固定安装有齿柱,上方所述两个齿柱外表面下部和下方两个齿柱外表面上部均设置有齿口,四个所述齿柱两两穿插固定连接有转杆,两个所述转杆前端均固定安装有驱动马达,四个所述齿柱外表面右部均穿插活动连接有固定筒,四个所述齿柱右端均固定安装有弹簧,四个所述弹簧右端分别与四个固定筒内右壁相接触,四个所述齿柱外表面中部共同穿插活动连接有自清理装置。Preferably, the filter device includes a movable filter plate, the left end of the movable filter plate is provided with a number of No. 1 filter holes, the four corners of the right end of the movable filter plate are fixed with tooth columns, and the outer surfaces of the two tooth columns above are The outer surfaces of the lower and lower two toothed columns are provided with gear openings, and the four toothed columns are interspersed and fixedly connected with rotating rods. The front ends of the two rotating rods are fixedly equipped with drive motors. The right part of the outer surface of the column is interspersed with a fixed cylinder, and the right ends of the four toothed columns are fixedly equipped with springs, and the right ends of the four springs are respectively in contact with the inner right walls of the four fixed cylinders. A self-cleaning device is interspersed and flexibly connected in the middle of the outer surface.
优选的,所述自清理装置包括固定过滤板,所述固定过滤板左端开有若干个穿通的二号滤孔,若干个所述固定过滤板左端固定安装有若干个锥刺,若干个所述锥刺分别与若干个二号滤孔交错分布。Preferably, the self-cleaning device includes a fixed filter plate, and the left end of the fixed filter plate is provided with several No. Cone thorns are respectively interlaced with several No. 2 filter holes.
优选的,所述固定过滤板左端四角分别与四个齿柱穿插活动连接,若干个所述锥刺外表面分别与若干个一号滤孔穿插活动连接,所述固定过滤板上端和下端均与过滤箱内壁固定连接,两个所述驱动马达后端均与过滤箱前端固定连接,两个所述转杆后端均与过滤箱内后壁轴承连接,四个所述固定筒均与过滤箱内右壁四角固定连接。Preferably, the four corners of the left end of the fixed filter plate are respectively interspersed and movably connected with four tooth columns, and the outer surfaces of several of the cone thorns are respectively interspersed and movably connected with several No. 1 filter holes, and the upper and lower ends of the fixed filter plate are connected with The inner wall of the filter box is fixedly connected, the rear ends of the two drive motors are fixedly connected with the front end of the filter box, the rear ends of the two rotating rods are connected with the inner rear wall bearings of the filter box, and the four fixed cylinders are connected with the filter box The four corners of the inner right wall are fixedly connected.
优选的,所述清理装置包括垃圾收集箱,所述垃圾收集箱前端下部设置有排污门,所述垃圾收集箱前端上部固定安装有驱动电机,所述驱动电机输出端固定安装有旋杆,所述旋杆后端与垃圾收集箱内后壁轴承连接,所述旋杆外表面固定安装有若干个搅拌杆,若干个所述搅拌杆呈等距离环形阵列分布,所述垃圾收集箱内左壁固定安装有若干个刮杆,若干个所述搅拌杆外表面分别与若干个刮杆交错分布。Preferably, the cleaning device includes a garbage collection box, the lower front end of the garbage collection box is provided with a sewage door, the upper front end of the garbage collection box is fixed with a drive motor, and the output end of the drive motor is fixed with a rotary rod. The rear end of the rotary rod is connected to the inner rear wall bearing of the garbage collection box. Several stirring rods are fixedly installed on the outer surface of the rotary rod. The several stirring rods are distributed in an equidistant circular array. The left wall of the garbage collection box is Several scraping rods are fixedly installed, and the outer surfaces of the several stirring rods are interlaced with several scraping rods respectively.
优选的,所述垃圾收集箱上端与过滤箱下端固定连接,且所述垃圾收集箱内部与过滤箱内部相通。Preferably, the upper end of the garbage collection box is fixedly connected to the lower end of the filter box, and the inside of the garbage collection box communicates with the inside of the filter box.
与现有技术相比,本实用新型具有如下有益效果:Compared with the prior art, the utility model has the following beneficial effects:
1、本实用新型中,通过在过滤机构上设置自清洁装置,自清洁装置由固定过滤板和若干个锥刺组成,通过在固定过滤板上设置若干个二号滤孔,在污进入过滤箱内后,通过活动过滤板上设置的一号滤孔对污水进行过滤,水里的垃圾和碎渣会被活动过滤板阻挡,由于较小的垃圾会堵塞一号滤孔,从而通过控制器控制启动两个驱动马达从而带动两个转杆转动,从而使四个异形齿轮带动齿柱向右转动,由于异形齿轮外表面只有一般齿口,从而在转动过程中,带动齿柱向固定筒内部滑动,从而与弹簧发生在固定筒内发生挤压,从而使活动过滤板上的若干个一号滤孔与若干个锥刺穿插连接,从而将一号滤孔内的垃圾进行处理,在异形齿轮旋转到没有齿口一侧时,齿柱会由于惯性被弹簧从固定筒内齿柱弹出,从而使活动过滤板进行过滤,不会发生堵塞的风险;1. In this utility model, a self-cleaning device is installed on the filter mechanism. The self-cleaning device is composed of a fixed filter plate and several cones. After entering, the sewage is filtered through the No. 1 filter hole set on the movable filter plate. The garbage and debris in the water will be blocked by the movable filter plate. Since the smaller garbage will block the No. 1 filter hole, it is controlled by the controller. Start two driving motors to drive the two rotating rods to rotate, so that the four special-shaped gears drive the tooth column to rotate to the right. Since the outer surface of the special-shaped gear only has a general tooth opening, during the rotation process, the tooth column is driven to the inside of the fixed cylinder. Sliding, so that it is squeezed with the spring in the fixed cylinder, so that several No. 1 filter holes on the movable filter plate are inserted and connected with several cone piercings, so that the garbage in the No. 1 filter holes is processed, and the special-shaped gear When it is rotated to the side without the tooth mouth, the tooth column will be ejected from the tooth column in the fixed cylinder by the spring due to inertia, so that the movable filter plate can filter without the risk of clogging;
2、本实用新型中,将清理装置上设置驱动电机,在污水进入过滤箱内后,通过控制器控制启旋杆进行顺时针转动,由于垃圾收集箱内右壁上部固定安装有若干个刮杆,若干个刮杆与旋杆外表面固定安装的若干个搅拌杆交错发布,从而在旋杆顺时针转动的同时,使若干个搅拌杆转动时与刮杆不接触,从而在转动时,将水中的垃圾通过顺时针转动到垃圾收集箱内,通过刮杆将垃圾刮入垃圾收集箱内不会跟随搅拌杆跑出来,从而对垃圾进行收集,保持内部的畅通,通过排污门可以将垃圾收集箱内垃圾进行处理,非常的方便,便于水环境治理污水过滤的使用。2. In the utility model, a driving motor is installed on the cleaning device. After the sewage enters the filter box, the controller controls the opening lever to rotate clockwise. Since several scraping levers are fixedly installed on the upper part of the right wall in the garbage collection box , several scraping rods and several stirring rods fixedly installed on the outer surface of the rotating rod are interleaved, so that when the rotating rod rotates clockwise, the several stirring rods are not in contact with the scraping rod when rotating, so that when rotating, the water will be The garbage is rotated clockwise into the garbage collection box, and the garbage is scraped into the garbage collection box through the scraper rod and will not run out with the stirring rod, so as to collect the garbage and keep the interior unblocked. The garbage collection box can be removed through the sewage door. It is very convenient to process the internal garbage, and it is convenient for the use of sewage filtration in water environment treatment.
附图说明Description of drawings
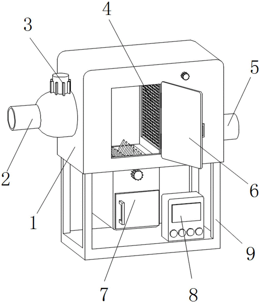
图1为本实用新型一种水环境治理用污水过滤装置的整体结构示意图;Fig. 1 is the overall structure schematic diagram of a kind of water environment treatment sewage filtering device of the present utility model;
图2为本实用新型一种水环境治理用污水过滤装置的过滤机构整体结构示意图;Fig. 2 is a schematic diagram of the overall structure of the filter mechanism of a sewage filter device for water environment treatment of the present invention;
图3为本实用新型一种水环境治理用污水过滤装置的自清洁装置整体结构示意图;Fig. 3 is a schematic diagram of the overall structure of the self-cleaning device of a sewage filter device for water environment treatment of the present invention;
图4为本实用新型一种水环境治理用污水过滤装置的清理装置整体结构示意图。Fig. 4 is a schematic diagram of the overall structure of a cleaning device of a sewage filter device for water environment treatment according to the present invention.
图中:1、过滤箱;2、进水管;3、水泵;4、过滤机构;401、活动过滤板;402、一号滤孔;403、齿柱;404、异形齿轮;405、驱动马达;406、转杆;407、弹簧;408、固定筒;409、自清洁装置;41、固定过滤板;42、二号滤孔;43、锥刺;5、排水管;6、检修门;7、清理装置;701、垃圾收集箱;702、排污门;703、驱动电机;704、旋杆;705、搅拌杆;706、刮杆;8、控制器;9、支撑底座。In the figure: 1, filter box; 2, water inlet pipe; 3, water pump; 4, filter mechanism; 401, movable filter plate; 402, No. 1 filter hole; 403, tooth column; 404, special-shaped gear; 406, rotating rod; 407, spring; 408, fixed cylinder; 409, self-cleaning device; 41, fixed filter plate; 42, No. 2 filter hole; 43, cone thorn; 5, drainage pipe; 6, maintenance door; 7, Cleaning device; 701, garbage collection box; 702, sewage door; 703, driving motor; 704, rotating rod; 705, stirring rod; 706, scraping rod; 8, controller; 9, supporting base.
具体实施方式detailed description
为使本实用新型实现的技术手段、创作特征、达成目的与功效易于明白了解,下面结合具体实施方式,进一步阐述本实用新型。In order to make the technical means, creative features, goals and effects achieved by the utility model easy to understand, the utility model will be further elaborated below in conjunction with specific embodiments.
在本实用新型的描述中,需要说明的是,术语“上”、“下”、“内”、“外”“前端”、“后端”、“两端”、“一端”、“另一端”等指示的方位或位置关系为基于附图所示的方位或位置关系,仅是为了便于描述本实用新型和简化描述,而不是指示或暗示所指的装置或元件必须具有特定的方位、以特定的方位构造和操作,因此不能理解为对本实用新型的限制。此外,术语“第一”、“第二”仅用于描述目的,而不能理解为指示或暗示相对重要性。In the description of the present utility model, it should be noted that the terms "upper", "lower", "inner", "outer", "front end", "rear end", "both ends", "one end", "another end" The orientation or positional relationship indicated by ", etc. is based on the orientation or positional relationship shown in the drawings, which is only for the convenience of describing the utility model and simplifying the description, rather than indicating or implying that the device or element referred to must have a specific orientation, so as to Specific orientation configurations and operations, therefore, should not be construed as limitations on the invention. In addition, the terms "first" and "second" are used for descriptive purposes only, and should not be understood as indicating or implying relative importance.
在本实用新型的描述中,需要说明的是,除非另有明确的规定和限定,术语“安装”、“设置有”、“连接”等,应做广义理解,例如“连接”,可以是固定连接,也可以是可拆卸连接,或一体地连接;可以是机械连接,也可以是电连接;可以是直接相连,也可以通过中间媒介间接相连,可以是两个元件内部的连通。对于本领域的普通技术人员而言,可以具体情况理解上述术语在本实用新型中的具体含义。In the description of the present utility model, it should be noted that, unless otherwise specified and limited, the terms "installed", "set with", "connected", etc. should be understood in a broad sense, such as "connected", which can be a fixed The connection can also be a detachable connection or an integral connection; it can be a mechanical connection or an electrical connection; it can be a direct connection or an indirect connection through an intermediary, and it can be the internal communication of two components. Those of ordinary skill in the art can understand the specific meanings of the above terms in the present invention in specific situations.
实施例Example
请参阅图1-4,本实用新型提供一种技术方案:Please refer to Figure 1-4, the utility model provides a technical solution:
一种水环境治理用污水过滤装置,包括过滤箱1,过滤箱1左端固定安装有水泵3,水泵3输出端固定安装有进水管2,过滤箱1前端左部设置有检修门6,过滤箱1内上壁和内下壁之间固定安装有过滤机构4,过滤箱1右端下部固定安装有排水管5,过滤箱1下端左部固定安装有清理装置7,清理装置7内部与过滤箱1内部相通,过滤箱1下端四角共同固定安装有支撑底座9,支撑底座9内下壁右部固定安装有控制器8。A sewage filter device for water environment treatment, comprising a
本实施例中,过滤机构4包括活动过滤板401,活动过滤板401左端开有若干个一号滤孔402,活动过滤板401右端四角均固定安装有齿柱403,上方两个齿柱403外表面下部和下方两个齿柱403外表面上部均设置有齿口,四个齿柱403外表面均啮合连接有异形齿轮404,四个异形齿轮404两两穿插固定连接有转杆406,两个转杆406前端均固定安装有驱动马达405,四个齿柱403外表面右部均穿插活动连接有固定筒408,四个齿柱403右端均固定安装有弹簧407,四个弹簧407右端分别与四个固定筒408内右壁相接触,四个齿柱403外表面中部共同穿插活动连接有自清洁装置409;自清洁装置409包括固定过滤板41,固定过滤板41左端开有若干个穿通的二号滤孔42,若干个固定过滤板41左端固定安装有若干个锥刺43,若干个锥刺43分别与若干个二号滤孔42交错分布;固定过滤板41左端四角分别与四个齿柱403穿插活动连接,若干个锥刺43外表面分别与若干个一号滤孔402穿插活动连接,固定过滤板41上端和下端均与过滤箱1内壁固定连接,两个驱动马达405后端均与过滤箱1前端固定连接,两个转杆406后端均与过滤箱1内后壁轴承连接,四个固定筒408均与过滤箱1内右壁四角固定连接;通过在过滤机构4上设置自清洁装置409,自清洁装置409由固定过滤板41和若干个锥刺43组成,通过在固定过滤板41上设置若干个二号滤孔42,在污进入过滤箱1内后,通过活动过滤板401上设置的一号滤孔402对污水进行过滤,水里的垃圾和碎渣会被活动过滤板401阻挡,由于较小的垃圾会堵塞一号滤孔402,从而通过控制器8控制启动两个驱动马达405从而带动两个转杆406转动,从而使四个异形齿轮404带动齿柱403向右转动,由于异形齿轮404外表面只有一般齿口,从而在转动过程中,带动齿柱403向固定筒408内部滑动,从而与弹簧407发生在固定筒408内发生挤压,从而使活动过滤板401上的若干个一号滤孔402与若干个锥刺43穿插连接,从而将一号滤孔402内的垃圾进行处理,在异形齿轮404旋转到没有齿口一侧时,齿柱403会由于惯性被弹簧407从固定筒408内齿柱403弹出,从而使活动过滤板401进行过滤,不会发生堵塞的风险。In the present embodiment, the
本实施例中,清理装置7包括垃圾收集箱701,垃圾收集箱701前端下部设置有排污门702,垃圾收集箱701前端上部固定安装有驱动电机703,驱动电机703输出端固定安装有旋杆704,旋杆704后端与垃圾收集箱701内后壁轴承连接,旋杆704外表面固定安装有若干个搅拌杆705,若干个搅拌杆705呈等距离环形阵列分布,垃圾收集箱701内左壁固定安装有若干个刮杆706,若干个搅拌杆705外表面分别与若干个刮杆706交错分布;垃圾收集箱701上端与过滤箱1下端固定连接,且垃圾收集箱701内部与过滤箱1内部相通;将清理装置7上设置驱动电机703,在污水进入过滤箱1内后,通过控制器8控制启旋杆704进行顺时针转动,由于垃圾收集箱701内右壁上部固定安装有若干个刮杆706,若干个刮杆706与旋杆704外表面固定安装的若干个搅拌杆705交错发布,从而在旋杆704顺时针转动的同时,使若干个搅拌杆705转动时与刮杆706不接触,从而在转动时,将水中的垃圾通过顺时针转动到垃圾收集箱701内,通过刮杆706将垃圾刮入垃圾收集箱701内不会跟随搅拌杆705跑出来,从而对垃圾进行收集,保持内部的畅通,通过排污门702可以将垃圾收集箱701内垃圾进行处理,非常的方便,便于水环境治理污水过滤的使用。In this embodiment, the
需要说明的是,本实用新型为一种水环境治理用污水过滤装置,在使用过程中,首先将2放入污水内,通过3将污水排入1内,通过在过滤机构4上设置自清洁装置409,自清洁装置409由固定过滤板41和若干个锥刺43组成,通过在固定过滤板41上设置若干个二号滤孔42,在污进入过滤箱1内后,通过活动过滤板401上设置的一号滤孔402对污水进行过滤,水里的垃圾和碎渣会被活动过滤板401阻挡,由于较小的垃圾会堵塞一号滤孔402,从而通过控制器8控制启动两个驱动马达405从而带动两个转杆406转动,从而使四个异形齿轮404带动齿柱403向右转动,由于异形齿轮404外表面只有一般齿口,从而在转动过程中,带动齿柱403向固定筒408内部滑动,从而与弹簧407发生在固定筒408内发生挤压,从而使活动过滤板401上的若干个一号滤孔402与若干个锥刺43穿插连接,从而将一号滤孔402内的垃圾进行处理,在异形齿轮404旋转到没有齿口一侧时,齿柱403会由于惯性被弹簧407从固定筒408内齿柱403弹出,从而使活动过滤板401进行过滤,将清理装置7上设置驱动电机703,在污水进入过滤箱1内后,通过控制器8控制启旋杆704进行顺时针转动,由于垃圾收集箱701内右壁上部固定安装有若干个刮杆706,若干个刮杆706与旋杆704外表面固定安装的若干个搅拌杆705交错发布,从而在旋杆704顺时针转动的同时,使若干个搅拌杆705转动时与刮杆706不接触,从而在转动时,将水中的垃圾通过顺时针转动到垃圾收集箱701内,通过刮杆706将垃圾刮入垃圾收集箱701内不会跟随搅拌杆705跑出来,从而对垃圾进行收集,保持内部的畅通,通过排污门702可以将垃圾收集箱701内垃圾进行处理,非常的方便,便于水环境治理污水过滤的使用。It should be noted that this utility model is a sewage filter device for water environment treatment.
以上显示和描述了本实用新型的基本原理和主要特征和本实用新型的优点。本行业的技术人员应该了解,本实用新型不受上述实施例的限制,上述实施例和说明书中描述的只是说明本实用新型的原理,在不脱离本实用新型精神和范围的前提下,本实用新型还会有各种变化和改进,这些变化和改进都落入要求保护的本实用新型范围内。本实用新型要求保护范围由所附的权利要求书及其等效物界定。The basic principles and main features of the present utility model and the advantages of the present utility model have been shown and described above. Those skilled in the art should understand that the utility model is not limited by the above-mentioned embodiments. The above-mentioned embodiments and descriptions only illustrate the principle of the utility model. Without departing from the spirit and scope of the utility model, the utility model The new model also has various changes and improvements, and these changes and improvements all fall within the scope of the claimed utility model. The scope of protection required by the utility model is defined by the appended claims and their equivalents.
Claims (6)
Priority Applications (1)
| Application Number | Priority Date | Filing Date | Title |
|---|---|---|---|
| CN202222409083.2U CN218248730U (en) | 2022-09-09 | 2022-09-09 | A sewage filter device for water environment treatment |
Applications Claiming Priority (1)
| Application Number | Priority Date | Filing Date | Title |
|---|---|---|---|
| CN202222409083.2U CN218248730U (en) | 2022-09-09 | 2022-09-09 | A sewage filter device for water environment treatment |
Publications (1)
| Publication Number | Publication Date |
|---|---|
| CN218248730U true CN218248730U (en) | 2023-01-10 |
Family
ID=84713326
Family Applications (1)
| Application Number | Title | Priority Date | Filing Date |
|---|---|---|---|
| CN202222409083.2U Active CN218248730U (en) | 2022-09-09 | 2022-09-09 | A sewage filter device for water environment treatment |
Country Status (1)
| Country | Link |
|---|---|
| CN (1) | CN218248730U (en) |
-
2022
- 2022-09-09 CN CN202222409083.2U patent/CN218248730U/en active Active
Similar Documents
| Publication | Publication Date | Title |
|---|---|---|
| CN221788434U (en) | A sewage filtering device for municipal water supply and drainage sewage | |
| CN114405151A (en) | Gravity rotary type sewage treatment device and sewage treatment method | |
| CN118359343A (en) | Mine waste water is with integrating recovery processing device | |
| CN210543584U (en) | Primary filtering structure of horizontal water treatment equipment | |
| CN218248730U (en) | A sewage filter device for water environment treatment | |
| CN116328397B (en) | Industrial waste water quick purification device | |
| CN221181891U (en) | Pharmacy effluent treatment plant | |
| CN221014819U (en) | A wastewater utilization device based on urban life discharge | |
| CN221579954U (en) | A sand filter tank for sewage treatment | |
| CN119926020A (en) | A sewage purification and filtering device for preventing and controlling water environment pollution | |
| CN219156555U (en) | Multistage filtering device for treating industrial wastewater | |
| CN119569166A (en) | Rail transit sewage comprehensive treatment and recycling system | |
| CN219002258U (en) | Sewage treatment filter | |
| CN218893513U (en) | Solid-liquid separation device | |
| CN215462371U (en) | Sewage slag scraping micro-filter | |
| CN212067962U (en) | A shrimp farming sewage device | |
| CN117160095A (en) | A garden landscape water improvement and management system and method | |
| CN117800459A (en) | An industrial sewage treatment device with self-cleaning function | |
| CN210845416U (en) | Integrated equipment for eutrophic water treatment | |
| CN222286529U (en) | Municipal wastewater treatment equipment with anti-blocking mechanism | |
| CN221131258U (en) | Waste water filtering device | |
| CN220633232U (en) | A filtering mechanism for a landscape ecological water circulation treatment system | |
| CN118059574B (en) | A rural sewage treatment equipment | |
| CN220715016U (en) | Anticorrosive self-cleaning filter | |
| CN221579821U (en) | Sectional water inlet type integrated sewage treatment device |
Legal Events
| Date | Code | Title | Description |
|---|---|---|---|
| GR01 | Patent grant | ||
| GR01 | Patent grant |
