CN218234545U - 一种自带限位结构的隔震支座 - Google Patents
一种自带限位结构的隔震支座 Download PDFInfo
- Publication number
- CN218234545U CN218234545U CN202222455868.3U CN202222455868U CN218234545U CN 218234545 U CN218234545 U CN 218234545U CN 202222455868 U CN202222455868 U CN 202222455868U CN 218234545 U CN218234545 U CN 218234545U
- Authority
- CN
- China
- Prior art keywords
- connecting plate
- plate
- lower connecting
- shock
- spout
- Prior art date
- Legal status (The legal status is an assumption and is not a legal conclusion. Google has not performed a legal analysis and makes no representation as to the accuracy of the status listed.)
- Active
Links
- 230000035939 shock Effects 0.000 title claims description 74
- 238000009413 insulation Methods 0.000 title claims description 35
- 238000002955 isolation Methods 0.000 claims abstract description 17
- 238000010521 absorption reaction Methods 0.000 claims description 21
- 238000013016 damping Methods 0.000 claims description 13
- 230000002265 prevention Effects 0.000 claims description 9
- 238000009434 installation Methods 0.000 claims description 7
- 238000006073 displacement reaction Methods 0.000 abstract description 7
- 230000000694 effects Effects 0.000 abstract description 5
- 230000006378 damage Effects 0.000 abstract description 3
- 125000006850 spacer group Chemical group 0.000 description 12
- 230000009286 beneficial effect Effects 0.000 description 1
- 230000005540 biological transmission Effects 0.000 description 1
- 238000010586 diagram Methods 0.000 description 1
- 230000009970 fire resistant effect Effects 0.000 description 1
- 238000010008 shearing Methods 0.000 description 1
- 230000003313 weakening effect Effects 0.000 description 1
Images
Landscapes
- Buildings Adapted To Withstand Abnormal External Influences (AREA)
Abstract
本实用新型公开了一种自带限位结构的隔震支座,包括隔震支座本体、滑槽、连接件和限位杆,隔震支座本体的顶部和底部分别连接有上连接板和下连接板,上连接板和下连接板两侧的内部分别连接有滑槽,连接件通过侧部连接的滑块沿着滑槽滑动实现活动连接于滑槽的内部。本实用新型通过在当因为震力而导致上连接板和下连接板之间发生位移时,可利用连接件挡住滑块且可在滑槽内滑动,实现限位杆将上连接板和下连接板固定住且起到活动相互限位的作用,避免了上连接板和下连接板之间因位移过大而导致隔震支座本体的损坏问题出现。
Description
技术领域
本实用新型涉及设防建筑隔震支座技术领域,具体为一种自带限位结构的隔震支座。
背景技术
隔震支座是安装在楼层上部结构与基础层之间的隔震层,主要通过减小或削弱能量的传递已达到减隔震的目的。应用范围属于设防建筑、防地震灾区。目前隔震支座和铅芯隔震支座均因其具有足够的袋向承载能力、良好的水平剪切变形能力和水平恢复能力而受到人们的青睐,广泛地应用于桥梁、建筑等行业。
现有的隔震支座在地震震动力度加大时:1、支座内水平位移较大,容易在隔震中受到碰撞而损坏,从而会降低隔震支座的使用寿命,隔震效果大大减弱;2、其次现有的隔震支座的抗震性减震性不够强劲,导致无法很好的缓冲地震带来的震动,降低适用于设防建筑领域的使用率;3、现有的隔震支座不具备防火隔热的防护性能,无法避免在火灾发生时受到使用寿命的影响,亟待开发。
实用新型内容
本实用新型的目的在于提供一种自带限位结构的隔震支座,以解决上述背景技术中提出的问题。
为实现上述目的,本实用新型提供如下技术方案:一种自带限位结构的隔震支座,包括隔震支座本体、滑槽、连接件和限位杆,所述隔震支座本体的顶部和底部分别连接有上连接板和下连接板,所述上连接板和下连接板两侧的内部分别连接有滑槽,所述连接件通过侧部连接的滑块沿着滑槽滑动实现活动连接于滑槽的内部。
优选的,所述上连接板的底部和下连接板的顶部分别固定有减震弹簧。
优选的,所述上连接板的顶部以及下连接板的底部皆连接有减震隔垫,则顶部和底部位置的减震隔垫的顶部和底部皆设置有防火外层。
优选的,所述减震隔垫和防火外层通过两端内部设置的安装螺丝与安装螺孔螺纹连接实现与上连接板和下连接板安装连接。
优选的,所述减震隔垫、防火外层以及上连接板和下连接板两端的内部连接有安装螺孔。
优选的,所述安装螺丝的头端设置于放置槽的内部。
优选的,所述减震弹簧的顶部和底部连接有弹簧减震连接上板和弹簧减震连接下板。
优选的,所述连接件与限位杆为活动转动连接,则相邻两个限位杆为交叉接触设置。
与现有技术相比,本实用新型的有益效果是:
(1)该种自带限位结构的隔震支座,通过在当因为震力而导致上连接板和下连接板之间发生位移时,可利用连接件挡住滑块且可在滑槽内滑动,实现限位杆将上连接板和下连接板固定住且起到活动相互限位的作用,避免了上连接板和下连接板之间因位移过大而导致隔震支座本体的损坏问题出现;
(2)该种自带限位结构的隔震支座,通过在设置减震弹簧、弹簧减震连接上板和弹簧减震连接下板,利用减震弹簧的减震性,可有效的减小地震时带来的震动,则可很好的适用于设防建筑领域,提高减震性能;
(3)该种自带限位结构的隔震支座,通过在利用防火外层的隔热性能可有效避免了发生火灾时对隔震支座本体的使用寿命造成影响,且减震隔垫的设置可在一定程度上削弱了外界带来的震动力度,可以为隔震支座本体减小顶部和底部传达的压力,避免了地震过大导致隔震支座损害。
附图说明
图1为本实用新型正视结构示意图;
图2为本实用新型图1中A处放大结构示意图;
图3为本实用新型俯视结构示意图;
图4为本实用新型隔震支座本体与减震弹簧连接正视结构示意图;
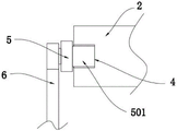
图5为本实用新型限位杆与上连接板连接局部放大结构示意图。
图中:1、隔震支座本体;2、上连接板;3、下连接板;4、滑槽;5、连接件;501、滑块;6、限位杆;7、减震弹簧;701、弹簧减震连接上板;702、弹簧减震连接下板;8、减震隔垫;9、防火外层;10、安装螺丝;11、安装螺孔;12、放置槽。
具体实施方式
下面将结合本实用新型实施例中的附图,对本实用新型实施例中的技术方案进行清楚、完整地描述。基于本实用新型中的实施例,本领域普通技术人员在没有做出创造性劳动前提下所获得的所有其他实施例,都属于本实用新型保护的范围。
请参阅图1-5,本实用新型提供的一种实施例:一种自带限位结构的隔震支座,包括隔震支座本体1、滑槽4、连接件5和限位杆6,隔震支座本体1的顶部和底部分别连接有上连接板2和下连接板3,上连接板2的底部和下连接板3的顶部分别固定有减震弹簧7,减震弹簧7的顶部和底部连接有弹簧减震连接上板701和弹簧减震连接下板702,可有效的减小地震时带来的震动,则可很好的适用于设防建筑领域,提高减震性能;
上连接板2和下连接板3两侧的内部分别连接有滑槽4,连接件5通过侧部连接的滑块501沿着滑槽4滑动实现活动连接于滑槽4的内部,连接件5与限位杆6为活动转动连接,则相邻两个限位杆6为交叉接触设置,利用连接件5挡住滑块501且可在滑槽4内滑动,实现限位杆6将上连接板2和下连接板3固定住且起到活动相互限位的作用,避免了上连接板2和下连接板3之间因位移过大而导致隔震支座本体1的损坏问题出现。
上连接板2的顶部以及下连接板3的底部皆连接有减震隔垫8,则顶部和底部位置的减震隔垫8的顶部和底部皆设置有防火外层9,利用防火外层9的隔热性能可有效避免了发生火灾时对隔震支座本体1的使用寿命造成影响,且减震隔垫8的设置可在一定程度上削弱了外界带来的震动力度。
减震隔垫8和防火外层9通过两端内部设置的安装螺丝10与安装螺孔11螺纹连接实现与上连接板2和下连接板3安装连接,便于后期对减震隔垫8和防火外层9进行更换。
减震隔垫8、防火外层9以及上连接板2和下连接板3两端的内部连接有安装螺孔11。
安装螺丝10的头端设置于放置槽12的内部,安装螺丝10藏至放置槽12的内部,避免影响隔震支座本体1的放置安装工作。
本申请实施例在使用时:当因为震力而导致上连接板2和下连接板3之间发生位移时,可利用连接件5挡住滑块501且可在滑槽4内滑动,实现限位杆6将上连接板2和下连接板3固定住且起到活动相互限位的作用,避免了上连接板2和下连接板3之间因位移过大而导致隔震支座本体1的损坏问题出现,减震弹簧7、弹簧减震连接上板701和弹簧减震连接下板702,利用减震弹簧7的减震性,可有效的减小地震时带来的震动,利用防火外层9的隔热性能可有效避免了发生火灾时对隔震支座本体1的使用寿命造成影响,且减震隔垫8的设置可在一定程度上削弱了外界带来的震动力度,后期可通过安装螺丝10与安装螺孔11螺纹连接的作用便于对减震隔垫8和防火外层9进行拆装。
Claims (8)
1.一种自带限位结构的隔震支座,其特征在于,包括隔震支座本体(1)、滑槽(4)、连接件(5)和限位杆(6),所述隔震支座本体(1)的顶部和底部分别连接有上连接板(2)和下连接板(3),所述上连接板(2)和下连接板(3)两侧的内部分别连接有滑槽(4),所述连接件(5)通过侧部连接的滑块(501)沿着滑槽(4)滑动实现活动连接于滑槽(4)的内部。
2.根据权利要求1所述的一种自带限位结构的隔震支座,其特征在于:所述上连接板(2)的底部和下连接板(3)的顶部分别固定有减震弹簧(7)。
3.根据权利要求2所述的一种自带限位结构的隔震支座,其特征在于:所述上连接板(2)的顶部以及下连接板(3)的底部皆连接有减震隔垫(8),则顶部和底部位置的减震隔垫(8)的顶部和底部皆设置有防火外层(9)。
4.根据权利要求3所述的一种自带限位结构的隔震支座,其特征在于:所述减震隔垫(8)和防火外层(9)通过两端内部设置的安装螺丝(10)与安装螺孔(11)螺纹连接实现与上连接板(2)和下连接板(3)安装连接。
5.根据权利要求4所述的一种自带限位结构的隔震支座,其特征在于:所述减震隔垫(8)、防火外层(9)以及上连接板(2)和下连接板(3)两端的内部连接有安装螺孔(11)。
6.根据权利要求4所述的一种自带限位结构的隔震支座,其特征在于:所述安装螺丝(10)的头端设置于放置槽(12)的内部。
7.根据权利要求4所述的一种自带限位结构的隔震支座,其特征在于:所述减震弹簧(7)的顶部和底部连接有弹簧减震连接上板(701)和弹簧减震连接下板(702)。
8.根据权利要求1所述的一种自带限位结构的隔震支座,其特征在于:所述连接件(5)与限位杆(6)为活动转动连接,则相邻两个限位杆(6)为交叉接触设置。
Priority Applications (1)
| Application Number | Priority Date | Filing Date | Title |
|---|---|---|---|
| CN202222455868.3U CN218234545U (zh) | 2022-09-16 | 2022-09-16 | 一种自带限位结构的隔震支座 |
Applications Claiming Priority (1)
| Application Number | Priority Date | Filing Date | Title |
|---|---|---|---|
| CN202222455868.3U CN218234545U (zh) | 2022-09-16 | 2022-09-16 | 一种自带限位结构的隔震支座 |
Publications (1)
| Publication Number | Publication Date |
|---|---|
| CN218234545U true CN218234545U (zh) | 2023-01-06 |
Family
ID=84664127
Family Applications (1)
| Application Number | Title | Priority Date | Filing Date |
|---|---|---|---|
| CN202222455868.3U Active CN218234545U (zh) | 2022-09-16 | 2022-09-16 | 一种自带限位结构的隔震支座 |
Country Status (1)
| Country | Link |
|---|---|
| CN (1) | CN218234545U (zh) |
-
2022
- 2022-09-16 CN CN202222455868.3U patent/CN218234545U/zh active Active
Similar Documents
| Publication | Publication Date | Title |
|---|---|---|
| CN100478538C (zh) | 变刚度变阻尼三向隔振/震支座 | |
| CN212715645U (zh) | 一种抗震钢梁结构 | |
| CN103469896A (zh) | 抗拉拔隔震橡胶支座 | |
| CN219196308U (zh) | 装配式建筑用钢结构抗震节点 | |
| CN107447644B (zh) | 一种大跨度桥梁减隔震系统 | |
| CN207793853U (zh) | 一种桥梁抗震阻尼支座 | |
| CN203546906U (zh) | 抗拉拔隔震橡胶支座 | |
| CN201087579Y (zh) | 变刚度变阻尼三向隔振/震装置 | |
| CN218234545U (zh) | 一种自带限位结构的隔震支座 | |
| CN117822761A (zh) | 一种弹簧-阻尼三维减振隔震摩擦摆支座 | |
| CN210164081U (zh) | 一种装配式建筑减震结构 | |
| CN210887574U (zh) | 一种新型装配式混凝土梁柱的干式连接节点 | |
| CN115584800A (zh) | 一种用于外挂墙板的柔性连接组件 | |
| CN214573299U (zh) | 一种自复位减震支座 | |
| CN211472872U (zh) | 一种防震的钢结构连接装置 | |
| CN218323182U (zh) | 一种预制楼梯连接节点 | |
| CN216973817U (zh) | 一种抗震房建结构 | |
| CN216475721U (zh) | 一种墙间装配可自复位节点摩擦阻尼器的古建筑木墙 | |
| CN217053015U (zh) | 抗震桥梁支座 | |
| CN220580249U (zh) | 一种活动房抗震安全结构 | |
| CN215978599U (zh) | 一种建筑结构设计梁柱加固结构 | |
| CN216379978U (zh) | 一种减震效果好的钢通廊与建筑物连接的滑动支座 | |
| CN221682142U (zh) | 一种钢结构防震建筑结构 | |
| CN212376381U (zh) | 一种土木工程抗震效果好的房建框架结构 | |
| CN212641726U (zh) | 一种装配式建筑减震结构 |
Legal Events
| Date | Code | Title | Description |
|---|---|---|---|
| GR01 | Patent grant | ||
| GR01 | Patent grant |