CN218227039U - Wood log barrel breaking machine for processing wood products - Google Patents
Wood log barrel breaking machine for processing wood products Download PDFInfo
- Publication number
- CN218227039U CN218227039U CN202222445623.2U CN202222445623U CN218227039U CN 218227039 U CN218227039 U CN 218227039U CN 202222445623 U CN202222445623 U CN 202222445623U CN 218227039 U CN218227039 U CN 218227039U
- Authority
- CN
- China
- Prior art keywords
- log
- base
- cutting
- breaker
- walking
- Prior art date
- Legal status (The legal status is an assumption and is not a legal conclusion. Google has not performed a legal analysis and makes no representation as to the accuracy of the status listed.)
- Active
Links
Images
Landscapes
- Debarking, Splitting, And Disintegration Of Timber (AREA)
Abstract
本实用新型公开了一种木制品加工的原木破筒机,包括基座和圆木,基座的顶端设有圆木,圆木上方的基座顶端设有行走架,圆木两侧的行走架底端皆安装有行走座,行走座下方的基座外壁上皆安装有齿条,且齿条与基座固定连接,行走座的底端皆设有两组行走轮,且行走轮皆与基座滑动连接,行走座的外壁上皆安装有旋转驱动件,旋转驱动件的底端安装有齿轮,且齿轮与齿条相互啮合。本实用新型不仅实现了原木破筒机对圆木自动移动式多段切割破筒加工,方便了自动移动对破筒长度进行调节加工,而且提高了圆木多段加工的便利性。
The utility model discloses a log breaking machine for processing wood products, which comprises a base and a log. The top of the base is provided with a log, and the top of the base above the log is provided with a walking frame. The bottom of the frame is equipped with a walking seat, and the outer wall of the base under the walking seat is equipped with a rack, and the rack is fixedly connected with the base. The base is slidingly connected, and the outer wall of the walking seat is provided with a rotary driving part, and the bottom end of the rotary driving part is provided with a gear, and the gear and the rack are meshed with each other. The utility model not only realizes the automatic moving multi-section cutting and breaking processing of the log by the log breaking machine, facilitates the automatic movement to adjust the length of the breaking tube, but also improves the convenience of the multi-section processing of the log.
Description
技术领域technical field
本实用新型涉及原木破筒机技术领域,具体为一种木制品加工的原木破筒机。The utility model relates to the technical field of log barrel breaking machines, in particular to a log barrel breaking machine for processing wood products.
背景技术Background technique
木材加工具体是指以木材为原料,主要用机械或化学方法进行的加工,其产品仍然保持木材的基本特性,木材加工技术主要包括木材切削、木材干燥、木材胶合、木材表面装饰灯基本加工技术,木材家具制造中所应用的各种木材加工机床,常用的有带锯机、圆锯机、平刨床、压刨床、开榫机、铣床、原木破筒机等,来使家具生产过程实现机械化和自动化,最大限度提高劳动生产率、减轻劳动强度,降低原料消耗,降低生产成本,原木破筒机在木制品加工中有着重要的应用。Wood processing specifically refers to the processing of wood as raw material, mainly by mechanical or chemical methods, and its products still maintain the basic characteristics of wood. Wood processing technology mainly includes wood cutting, wood drying, wood gluing, and wood surface decorative lighting. Basic processing technology , Various wood processing machine tools used in the manufacture of wood furniture, commonly used are band saws, circular saws, planers, planers, tenoning machines, milling machines, log breaking machines, etc., to mechanize the furniture production process And automation, maximizing labor productivity, reducing labor intensity, reducing raw material consumption, and reducing production costs. Log breakers have important applications in wood product processing.
现有的此类原木破筒机虽然具有切割破筒的功能,采用工人手动将圆木切成指定形状,工人每次的切割长度具有一定的差异,使用时一般不便于对圆木自动移动式多段切割破筒加工,对破筒长度进行调节式加工,大大的影响了原木破筒机使用时多段破筒切割的便利性。Although the existing log breaker has the function of cutting and breaking the barrel, the workers manually cut the logs into the specified shape, and the cutting length of the workers each time has a certain difference. It is generally not convenient to automatically move the logs when using them. Multi-stage cutting and barrel breaking processing, and the adjustable processing of the length of the barrel breaking, greatly affects the convenience of multi-stage barrel breaking and cutting when the log barrel breaking machine is used.
实用新型内容Utility model content
本实用新型的目的在于提供一种木制品加工的原木破筒机,以解决上述背景技术中提出原木破筒机不便于对圆木自动移动式多段切割破筒加工的问题。The purpose of the utility model is to provide a log breaker for processing wood products, so as to solve the problem that the log breaker is not convenient for automatic moving multi-section cutting and breaking processing of logs in the above-mentioned background technology.
为实现上述目的,本实用新型提供如下技术方案:一种木制品加工的原木破筒机,包括基座和圆木,所述基座的顶端设有圆木,所述圆木上方的基座顶端设有行走架,所述圆木两侧的行走架底端皆安装有行走座,所述行走座下方的基座外壁上皆安装有齿条,且齿条与基座固定连接,所述行走座的底端皆设有两组行走轮,且行走轮皆与基座滑动连接,所述行走座的外壁上皆安装有旋转驱动件,所述旋转驱动件的底端安装有齿轮,且齿轮与齿条相互啮合。In order to achieve the above purpose, the utility model provides the following technical solutions: a log breaking machine for processing wood products, including a base and a log, the top of the base is provided with a log, and the base above the log The top is provided with a walking frame, and the bottom ends of the walking frames on both sides of the log are equipped with a walking seat, and a rack is installed on the outer wall of the base below the walking seat, and the rack is fixedly connected with the base. The bottom end of the walking seat is provided with two sets of walking wheels, and the walking wheels are all slidably connected with the base, and the outer wall of the walking seat is equipped with a rotating drive member, and the bottom end of the rotating drive member is equipped with a gear, and The gear and the rack mesh with each other.
优选的,所述圆木一侧的基座顶端安装有挡块,所述基座顶端远离挡块的一侧安装有夹具座。Preferably, a stopper is installed on the top of the base on one side of the log, and a clamp seat is installed on the side of the top of the base away from the stopper.
优选的,所述夹具座的顶端安装有螺纹套,所述螺纹套的内部设有螺纹杆,且螺纹杆的两端皆延伸至螺纹套的外部。Preferably, a threaded sleeve is installed on the top of the fixture seat, a threaded rod is provided inside the threaded sleeve, and both ends of the threaded rod extend to the outside of the threaded sleeve.
优选的,所述螺纹杆的一端安装有手柄,所述螺纹杆的另一端安装有支撑杆,所述支撑杆靠近圆木的一侧安装有夹块头。Preferably, a handle is mounted on one end of the threaded rod, a support rod is mounted on the other end of the threaded rod, and a clamp head is mounted on a side of the support rod close to the log.
优选的,所述行走架的内部设有切割箱,所述切割箱的内部设有切割片,所述切割箱上方的行走架内部安装有四组伸缩驱动件,所述伸缩驱动件的底端皆安装有推杆,且推杆的底端皆与切割箱相连接。Preferably, the inside of the walking frame is provided with a cutting box, the inside of the cutting box is provided with a cutting sheet, and four sets of telescopic driving parts are installed inside the walking frame above the cutting box, and the bottom ends of the telescopic driving parts Push rods are all installed, and the bottom ends of the push rods are all connected with the cutting box.
优选的,所述行走架的外壁上安装有控制面板,所述控制面板的输出端与旋转驱动件的输入端电性连接。Preferably, a control panel is installed on the outer wall of the walking frame, and the output end of the control panel is electrically connected to the input end of the rotary driving member.
与现有技术相比,本实用新型的有益效果是:该原木破筒机不仅实现了原木破筒机对圆木自动移动式多段切割破筒加工,方便了自动移动对破筒长度进行调节加工,而且提高了圆木多段加工的便利性;Compared with the prior art, the beneficial effect of the utility model is that the log breaker not only realizes the automatic moving multi-section cutting and breaking process of the log, but also facilitates the automatic movement to adjust the length of the broken barrel. , and improve the convenience of round wood multi-stage processing;
(1)通过由旋转驱动件驱动齿轮旋转,在齿轮和齿条的配合下,旋转驱动件带动行走座水平移动,由行走座驱动行走架水平移动,行走轮对行走座进行滑动支撑,来对行走架进行水平调节,由行走架驱动切割片移动,由切割片对圆木进行多段式破筒加工,实现了原木破筒机对圆木自动移动式多段切割破筒加工,方便了自动移动对破筒长度进行调节加工,提高了圆木多段加工的便利性;(1) The gear is driven to rotate by the rotating driving part, and under the cooperation of the gear and the rack, the rotating driving part drives the traveling seat to move horizontally, and the traveling seat drives the traveling frame to move horizontally, and the traveling wheel slides and supports the traveling seat. The walking frame is adjusted horizontally, the cutting piece is driven by the walking frame to move, and the cutting piece is used for multi-stage barrel breaking processing of the round wood, which realizes the automatic mobile multi-stage cutting and breaking processing of the round wood by the log barrel breaking machine, which is convenient for automatic movement. The length of the broken cylinder is adjusted and processed, which improves the convenience of multi-section processing of logs;
(2)通过由手柄驱动螺纹杆旋转,在螺纹杆和螺纹套的螺纹配合下,螺纹杆水平移动,由螺纹杆带动支撑杆和夹块头移动,由夹块头对圆木进行夹持固定,实现了原木破筒机对圆木便捷的夹持固定,提高了圆木装夹的便利性;(2) The handle drives the threaded rod to rotate, and under the thread cooperation of the threaded rod and the threaded sleeve, the threaded rod moves horizontally, the threaded rod drives the support rod and the clamping head to move, and the clamping head clamps and fixes the log to realize The convenient clamping and fixing of logs by the log breaker improves the convenience of log clamping;
(3)通过由伸缩驱动件驱动推杆往下移动,由推杆带动切割箱往下移动,由切割片对圆木进行切割加工,当切割完成后,来将切割片进行提起,来方便下一段圆木的切割加工,实现了原木破筒机便捷的操作控制,提高了原木破筒机操作时的便利性。(3) The push rod is driven downward by the telescopic driver, and the cutting box is driven downward by the push rod, and the log is cut by the cutting piece. When the cutting is completed, the cutting piece is lifted to facilitate the next step. The cutting process of a section of logs realizes the convenient operation and control of the log breaker and improves the convenience of the log breaker operation.
附图说明Description of drawings
图1为本实用新型的正视剖面结构示意图;Fig. 1 is the front view sectional structure schematic diagram of the utility model;
图2为本实用新型的侧视剖面结构示意图;Fig. 2 is a side view sectional structure schematic diagram of the utility model;
图3为本实用新型的螺纹杆正视剖面结构示意图;Fig. 3 is the schematic diagram of the front view section structure of the threaded rod of the present utility model;
图4为本实用新型的图2中A处剖视放大结构示意图。Fig. 4 is a schematic diagram of an enlarged cross-sectional structure at A in Fig. 2 of the present invention.
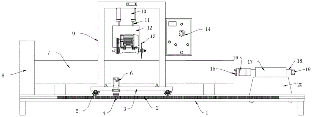
图中:1、基座;2、齿条;3、行走座;4、齿轮;5、行走轮;6、旋转驱动件;7、圆木;8、挡块;9、行走架;10、伸缩驱动件;11、推杆;12、切割箱;13、切割片;14、控制面板;15、夹块头;16、支撑杆;17、螺纹套;18、螺纹杆;19、手柄;20、夹具座。In the figure: 1. Base; 2. Rack; 3. Traveling seat; 4. Gear; 5. Traveling wheel; 6. Rotary drive; 7. Log; 8. Block; Telescopic driver; 11. Push rod; 12. Cutting box; 13. Cutting piece; 14. Control panel; 15. Clamp head; 16. Support rod; 17. Thread sleeve; Fixture seat.
具体实施方式detailed description
下面将结合本实用新型实施例中的附图,对本实用新型实施例中的技术方案进行清楚、完整地描述。基于本实用新型中的实施例,本领域普通技术人员在没有做出创造性劳动前提下所获得的所有其他实施例,都属于本实用新型保护的范围。The following will clearly and completely describe the technical solutions in the embodiments of the present invention with reference to the drawings in the embodiments of the present invention. Based on the embodiments of the present utility model, all other embodiments obtained by persons of ordinary skill in the art without making creative efforts belong to the scope of protection of the present utility model.
请参阅图1-4,本实用新型提供的一种实施例:一种木制品加工的原木破筒机,包括基座1和圆木7,基座1的顶端设有圆木7,圆木7上方的基座1顶端设有行走架9,圆木7两侧的行走架9底端皆安装有行走座3,行走座3下方的基座1外壁上皆安装有齿条2,且齿条2与基座1固定连接,行走座3的底端皆设有两组行走轮5,且行走轮5皆与基座1滑动连接,行走轮5起到滑动支撑的作用,行走座3的外壁上皆安装有旋转驱动件6,旋转驱动件6起到动力驱动的作用,旋转驱动件6的底端安装有齿轮4,且齿轮4与齿条2相互啮合;Please refer to Fig. 1-4, an embodiment provided by the utility model: a log breaking machine for processing wood products, including a
使用时通过将圆木7放置在基座1的顶端,由切割片13对圆木7进行切割加工,当切割完成后,操作控制面板14打开旋转驱动件6,由旋转驱动件6驱动齿轮4旋转,在齿轮4和齿条2的配合下,在基座1对齿条2的支撑下,旋转驱动件6带动行走座3水平移动,由行走座3驱动行走架9水平移动,行走轮5对行走座3进行滑动支撑,来对行走架9进行水平调节,由行走架9驱动切割片13移动,由切割片13对圆木7进行多段式破筒加工,行走架9的移动距离受旋转驱动件6控制,旋转驱动件6受操作控制面板14进行控制,实现了原木破筒机对圆木自动移动式多段切割破筒加工,方便了自动移动对破筒长度进行调节加工,提高了圆木多段加工的便利性;During use, the
圆木7一侧的基座1顶端安装有挡块8,基座1顶端远离挡块8的一侧安装有夹具座20,夹具座20的顶端安装有螺纹套17,螺纹套17的内部设有螺纹杆18,且螺纹杆18的两端皆延伸至螺纹套17的外部,螺纹杆18的一端安装有手柄19,螺纹杆18的另一端安装有支撑杆16,支撑杆16靠近圆木7的一侧安装有夹块头15;
使用时通过将圆木7放置在基座1的顶端,由挡块8对圆木7进行支撑,旋转手柄19,由手柄19驱动螺纹杆18旋转,在螺纹杆18和螺纹套17的螺纹配合下,螺纹杆18水平移动,由螺纹杆18带动支撑杆16和夹块头15移动,由夹块头15对圆木7进行夹持固定,实现了原木破筒机对圆木便捷的夹持固定,提高了圆木装夹的便利性;During use, the
行走架9的内部设有切割箱12,切割箱12与行走架9滑动连接,切割箱12的内部设有切割片13,切割箱12上方的行走架9内部安装有四组伸缩驱动件10,伸缩驱动件10起到动力驱动的作用,伸缩驱动件10的底端皆安装有推杆11,且推杆11的底端皆与切割箱12相连接,行走架9的外壁上安装有控制面板14,控制面板14的输出端与伸缩驱动件10和旋转驱动件6的输入端电性连接;The inside of the
使用时通过操作控制面板14打开伸缩驱动件10,在行走架9的支撑下,由伸缩驱动件10驱动推杆11往下移动,由推杆11带动切割箱12往下移动,由切割片13对圆木7进行切割加工,当切割完成后,伸缩驱动件10进行复位操作,来将切割片13进行提起,来方便下一段圆木7的切割加工,实现了原木破筒机便捷的操作控制,提高了原木破筒机操作时的便利性。During use, the
本申请实施例在使用时:首先通过将圆木7放置在基座1的顶端,由切割片13对圆木7进行切割加工,当切割完成后,操作控制面板14打开旋转驱动件6,由旋转驱动件6驱动齿轮4旋转,在齿轮4和齿条2的配合下,在基座1对齿条2的支撑下,旋转驱动件6带动行走座3水平移动,由行走座3驱动行走架9水平移动,行走轮5对行走座3进行滑动支撑,来对行走架9进行水平调节,由行走架9驱动切割片13移动,由切割片13对圆木7进行多段式破筒加工,之后通过将圆木7放置在基座1的顶端,由挡块8对圆木7进行支撑,旋转手柄19,由手柄19驱动螺纹杆18旋转,在螺纹杆18和螺纹套17的螺纹配合下,螺纹杆18水平移动,由螺纹杆18带动支撑杆16和夹块头15移动,由夹块头15对圆木7进行夹持固定,再通过操作控制面板14打开伸缩驱动件10,在行走架9的支撑下,由伸缩驱动件10驱动推杆11往下移动,由推杆11带动切割箱12往下移动,由切割片13对圆木7进行切割加工,当切割完成后,伸缩驱动件10进行复位操作,来将切割片13进行提起,来方便下一段圆木7的切割加工,来完成原木破筒机的使用工作。When the embodiment of the present application is in use: firstly, the
Claims (6)
Priority Applications (1)
| Application Number | Priority Date | Filing Date | Title |
|---|---|---|---|
| CN202222445623.2U CN218227039U (en) | 2022-09-15 | 2022-09-15 | Wood log barrel breaking machine for processing wood products |
Applications Claiming Priority (1)
| Application Number | Priority Date | Filing Date | Title |
|---|---|---|---|
| CN202222445623.2U CN218227039U (en) | 2022-09-15 | 2022-09-15 | Wood log barrel breaking machine for processing wood products |
Publications (1)
| Publication Number | Publication Date |
|---|---|
| CN218227039U true CN218227039U (en) | 2023-01-06 |
Family
ID=84663415
Family Applications (1)
| Application Number | Title | Priority Date | Filing Date |
|---|---|---|---|
| CN202222445623.2U Active CN218227039U (en) | 2022-09-15 | 2022-09-15 | Wood log barrel breaking machine for processing wood products |
Country Status (1)
| Country | Link |
|---|---|
| CN (1) | CN218227039U (en) |
-
2022
- 2022-09-15 CN CN202222445623.2U patent/CN218227039U/en active Active
Similar Documents
| Publication | Publication Date | Title |
|---|---|---|
| CN202462588U (en) | Environment-friendly energy-saving automatic fettling machine | |
| CN208437742U (en) | A kind of cutter device of building steel tube | |
| CN201693604U (en) | A quantitative bamboo tube cutting machine | |
| CN206551146U (en) | A kind of novel timber processes clamping device | |
| CN209648900U (en) | a cutting machine | |
| CN207641787U (en) | A kind of wood-based planet glue spreading apparatus uniform and stable for glue | |
| CN113001607A (en) | Manufacturing and processing method of light polycarbonate curtain wall plate | |
| CN218227039U (en) | Wood log barrel breaking machine for processing wood products | |
| CN113894574A (en) | Metal fixture with multiple clamping modes | |
| CN209615086U (en) | Burnishing device is used in a kind of processing of mahogany furniture | |
| CN204584415U (en) | A kind of full-automatic curtain wall material machining center | |
| CN210148330U (en) | Trimming device for plate production | |
| CN217802154U (en) | Clamping furniture processing saw bench | |
| CN117505150A (en) | Spraying device for toy processing | |
| CN213471575U (en) | Wooden product mold convenient to fix | |
| CN219027779U (en) | Cutting mechanism for building block production | |
| CN220331476U (en) | Log rotary cutting device for wood tableware processing | |
| CN218195750U (en) | Wood board edge cutting machine | |
| CN223545405U (en) | A cutting device for bamboo product manufacturing | |
| CN2931049Y (en) | Multifunctional pot digging machine | |
| CN220970947U (en) | Cutting machine is used in production of steel bedstead | |
| CN221774772U (en) | A wooden door production board fixing device | |
| CN118769331B (en) | A redwood board equidistant cutting device and cutting method for furniture production | |
| CN112060221B (en) | Bamboo furniture raw materials processing is with cutting and stoving hardening device | |
| CN219769505U (en) | Novel flower-cutting machine |
Legal Events
| Date | Code | Title | Description |
|---|---|---|---|
| GR01 | Patent grant | ||
| GR01 | Patent grant | ||
| TR01 | Transfer of patent right | ||
| TR01 | Transfer of patent right |
Effective date of registration: 20250331 Address after: 434000 Jianghan Road, Yanjiang Industrial Park, Jiangling County, Jingzhou City, Hubei Province Patentee after: Jingzhou yuanniu Wood Industry Co.,Ltd. Country or region after: China Address before: No. 12, Gongye Road, Songkou Town, Qingliu County, Sanming City, Fujian Province, 365307 Patentee before: Fujian Qingliu Senda Wood Industry Co.,Ltd. Country or region before: China |
