CN218222604U - Garbage disposal device for construction site - Google Patents
Garbage disposal device for construction site Download PDFInfo
- Publication number
- CN218222604U CN218222604U CN202221674251.4U CN202221674251U CN218222604U CN 218222604 U CN218222604 U CN 218222604U CN 202221674251 U CN202221674251 U CN 202221674251U CN 218222604 U CN218222604 U CN 218222604U
- Authority
- CN
- China
- Prior art keywords
- gear
- processing box
- construction site
- pulley
- fixedly connected
- Prior art date
- Legal status (The legal status is an assumption and is not a legal conclusion. Google has not performed a legal analysis and makes no representation as to the accuracy of the status listed.)
- Withdrawn - After Issue
Links
Images
Classifications
-
- Y—GENERAL TAGGING OF NEW TECHNOLOGICAL DEVELOPMENTS; GENERAL TAGGING OF CROSS-SECTIONAL TECHNOLOGIES SPANNING OVER SEVERAL SECTIONS OF THE IPC; TECHNICAL SUBJECTS COVERED BY FORMER USPC CROSS-REFERENCE ART COLLECTIONS [XRACs] AND DIGESTS
- Y02—TECHNOLOGIES OR APPLICATIONS FOR MITIGATION OR ADAPTATION AGAINST CLIMATE CHANGE
- Y02W—CLIMATE CHANGE MITIGATION TECHNOLOGIES RELATED TO WASTEWATER TREATMENT OR WASTE MANAGEMENT
- Y02W30/00—Technologies for solid waste management
- Y02W30/50—Reuse, recycling or recovery technologies
- Y02W30/58—Construction or demolition [C&D] waste
Landscapes
- Crushing And Pulverization Processes (AREA)
Abstract
本实用新型提供一种建设工程施工现场用垃圾处理装置,涉及垃圾处理领域。包括粉碎组件、下料辅助组件、处理箱以及连通在处理箱顶部的进料斗,所述粉碎组件包括转轴一、转轴二、皮带轮二、齿轮一、齿轮二、皮带轮一、传动皮带、粉碎辊,所述粉碎辊包括辊体、刀槽、刀片、固定片,所述下料辅助组件包括连杆、升降杆、连接板、活动板、导向套。本实用新型通过粉碎组件、下料辅助组件、处理箱、进料斗的设置,解决了现有建设工程施工现场用垃圾处理装置粉碎辊一体化设计导致的使用成本高以及进料斗处容易堵塞的问题。
The utility model provides a garbage treatment device for a construction site, which relates to the field of garbage treatment. It includes a crushing assembly, a feeding auxiliary assembly, a processing box, and a feed hopper connected to the top of the processing box. The crushing assembly includes a shaft 1, a shaft 2, a pulley 2, a gear 1, a gear 2, a pulley 1, a transmission belt, and a crushing roller. , the crushing roller includes a roller body, a knife groove, a blade, and a fixed piece, and the auxiliary blanking assembly includes a connecting rod, a lifting rod, a connecting plate, a movable plate, and a guide sleeve. The utility model solves the high cost of use and the easy blockage of the feeding hopper caused by the integrated design of the crushing roller of the garbage disposal device used in the construction site of the existing construction project through the setting of the crushing component, the auxiliary material feeding component, the processing box and the feeding hopper The problem.
Description
技术领域technical field
本实用新型提供一种建设工程施工现场用垃圾处理装置,涉及垃圾处理领域。The utility model provides a garbage treatment device for a construction site, which relates to the field of garbage treatment.
背景技术Background technique
建设工程是指为人类生活、生产提供物质技术基础的各类建筑物和工程设施的统称,是人类有组织、有目的、大规模的经济活动,按照自然属性可分为建筑工程、土木工程和机电工程三类。建筑垃圾是指建设、施工单位或个人对各类建筑物、构筑物、管网等进行建设、铺设或拆除、修缮过程中所产生的渣土、弃土、弃料、淤泥及其他废弃物。Construction engineering refers to the general designation of various buildings and engineering facilities that provide material and technical foundations for human life and production. It is an organized, purposeful, and large-scale economic activity of human beings. Three types of mechanical and electrical engineering. Construction waste refers to the dregs, spoils, waste materials, silt and other wastes generated during the construction, laying or demolition, and repair of various buildings, structures, and pipe networks by construction units or individuals.
公开号为CN214439431U的专利公开了一种新型建筑施工现场垃圾处理装置,包括箱体和传送带,所述箱体内设有粉碎辊,且箱体的一侧固定连接有固定板,固定板的上表面固定连接有电机,电机输出轴的一端与其中一个主动轴固定连接,所述箱体的两侧活动连接有两个从动轴,从动轴与传送带活动连接,且传送带的内部安装有多个磁铁,该实用新型能够对建筑垃圾进行粉碎,方便后期对建筑垃圾的分类处理。但是上述实用新型中的粉碎辊为一体结构,若粉碎辊上某处刀片发生破碎,则需要更换整个粉碎辊,使用成本较高。The patent with the publication number CN214439431U discloses a new construction site garbage treatment device, which includes a box body and a conveyor belt. The box body is provided with crushing rollers, and one side of the box body is fixedly connected with a fixing plate, and the upper side of the fixing plate The surface is fixedly connected with a motor, one end of the output shaft of the motor is fixedly connected with one of the driving shafts, and two driven shafts are movably connected on both sides of the box, and the driven shafts are movably connected with the conveyor belt, and the inside of the conveyor belt is equipped with multiple A magnet, the utility model can crush the construction waste, which is convenient for the classification and treatment of the construction waste in the later stage. However, the crushing roller in the above-mentioned utility model has an integrated structure. If a certain blade on the crushing roller is broken, the whole crushing roller needs to be replaced, and the use cost is relatively high.
公开号为CN216368352U的专利公开了一种建设工程用垃圾清理破碎装置,包括底座、破碎箱、第一电机,破碎箱的内部转动安装有第一破碎辊、第二破碎辊,底座的顶部安装有管道、第二电机、螺旋送料刀,底座的顶部铰接安装有储料箱,该实用新型能够对垃圾进行粉碎,并通过储料箱储存垃圾碎片,方便将垃圾碎片收集。但是上述实用新型容易出现垃圾在入料通道堵塞的情况。The patent with the publication number CN216368352U discloses a rubbish cleaning and crushing device for construction projects, which includes a base, a crushing box, and a first motor. The interior of the crushing box is equipped with a first crushing roller and a second crushing roller, and the top of the base is equipped with a The pipeline, the second motor, the screw feeding knife, and the top of the base are hingedly equipped with a storage box. The utility model can crush the garbage and store the garbage debris through the storage box to facilitate the collection of the garbage debris. But above-mentioned utility model is easy to occur the situation that rubbish is blocked in feeding channel.
实用新型内容Utility model content
为解决上述问题,本实用新型提供一种建设工程施工现场用垃圾处理装置,通过粉碎组件、下料辅助组件、处理箱、进料斗的设置,解决了现有建设工程施工现场用垃圾处理装置粉碎辊一体化设计导致的使用成本高以及进料斗处容易堵塞的问题。In order to solve the above problems, the utility model provides a garbage disposal device for the construction site of a construction project. Through the setting of the crushing component, the auxiliary blanking component, the treatment box and the feeding hopper, the waste disposal device for the construction site of the existing construction project is solved. The integrated design of the crushing roller results in high cost of use and the problem of easy blockage at the feed hopper.
本实用新型提供一种建设工程施工现场用垃圾处理装置,包括粉碎组件、下料辅助组件、处理箱以及连通在处理箱顶部的进料斗,所述粉碎组件包括对称设置在处理箱内的转轴一和转轴二,所述转轴一一端贯穿处理箱侧壁并同轴固接有皮带轮二、另一端贯穿处理箱侧壁并同轴固接有齿轮一,所述转轴二一端与处理箱内壁转动连接、另一端贯穿处理箱侧壁并同轴固接有齿轮二,所述齿轮一和齿轮二设置在同侧并相互啮合,所述处理箱靠近皮带轮二的一侧外壁转动连接有皮带轮一,所述皮带轮一与皮带轮二之间连接有传动皮带,所述转轴一、转轴二上均固接有粉碎辊,所述粉碎辊包括辊体,所述辊体上开有刀槽,所述刀槽内设有刀片,所述辊体两侧设有固定片,所述固定片分别与辊体侧壁和刀片侧壁固接,所述下料辅助组件包括对称设置的连杆,且两个连杆分别与齿轮一、齿轮二铰接,所述连杆远离齿轮一和齿轮二的一端铰接有升降杆,所述升降杆为U形,所述升降杆远离连杆的一端伸入进料斗内并固接有连接板,所述连接板的两侧连接有活动板,所述进料斗侧壁固接有导向套,所述升降杆与导向套滑动连接。The utility model provides a garbage treatment device for a construction site, which comprises a crushing assembly, a feeding auxiliary assembly, a processing box and a feeding hopper connected to the top of the processing box, and the crushing assembly includes a rotating shaft symmetrically arranged in the processing box One and the rotating shaft two, one end of the rotating shaft runs through the side wall of the processing box and is coaxially fixed with the pulley two, the other end runs through the side wall of the processing box and is fixedly connected with the gear one coaxially, the one end of the rotating shaft two is connected to the processing box The inner wall is rotatably connected, and the other end runs through the side wall of the processing box and is coaxially fixed with
优选的,所述粉碎组件还包括支撑架,所述支撑架固接在处理箱的外壁,所述支撑架上安装有伺服电机,所述伺服电机的输出轴与皮带轮一同轴固接。Preferably, the crushing assembly further includes a support frame fixed on the outer wall of the processing box, a servo motor is installed on the support frame, and the output shaft of the servo motor is coaxially fixed with the pulley.
优选的,所述固定片与辊体侧壁之间、固定片与刀片侧壁之间均通过设有固定螺母相固接。Preferably, fixing nuts are provided between the fixed piece and the side wall of the roller body, and between the fixed piece and the side wall of the blade.
优选的,所述连接板两侧开有凹槽,所述活动板铰接在凹槽内。Preferably, grooves are formed on both sides of the connecting plate, and the movable plate is hinged in the groove.
优选的,所述处理箱一侧铰接有侧门。Preferably, a side door is hinged on one side of the processing box.
优选的,所述处理箱内设有收集筐。Preferably, a collection basket is arranged inside the treatment box.
本实用新型的有益效果:The beneficial effects of the utility model:
本实用新型提供一种建设工程施工现场用垃圾处理装置,通过粉碎组件的设置,能够对建设工程施工现场的垃圾进行粉碎,尤其一些较大的建筑垃圾,粉碎后更方便运输和回收处理,通过下料辅助组件的设置,能够避免进料斗处出现堵塞的情况,从而使垃圾处理过程更加顺畅,效率更高,粉碎辊的刀片可拆卸,在粉碎辊长期使用受损后,只需更换受损处的刀片,无需整体更换,有利于节约使用成本,本实用新型解决了现有建设工程施工现场用垃圾处理装置粉碎辊一体化设计导致的使用成本高以及进料斗处容易堵塞的问题。The utility model provides a garbage treatment device for the construction site of a construction project. Through the setting of the crushing component, the garbage at the construction site of the construction project can be crushed, especially some larger construction wastes, which are more convenient for transportation and recycling after crushing. The setting of the feeding auxiliary component can avoid the clogging of the feeding hopper, so that the garbage disposal process is smoother and more efficient. The blade of the crushing roller is detachable. After the crushing roller is damaged for a long time, it only needs to be replaced. The blade at the damaged part does not need to be replaced as a whole, which is beneficial to save the use cost. The utility model solves the problems of high use cost and easy blockage of the feeding hopper caused by the integrated design of the crushing roller of the garbage disposal device at the construction site of the existing construction project.
附图说明Description of drawings
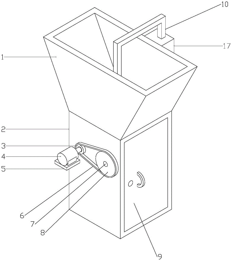
图1为本实用新型一种建设工程施工现场用垃圾处理装置的整体结构示意图。Figure 1 is a schematic diagram of the overall structure of a construction site garbage disposal device of the present invention.
图2为本实用新型一种建设工程施工现场用垃圾处理装置的剖面图。Fig. 2 is a cross-sectional view of a garbage disposal device for a construction site of a construction project according to the present invention.
图3为本实用新型一种建设工程施工现场用垃圾处理装置的局部放大图。Fig. 3 is a partially enlarged view of a garbage disposal device used on a construction site of a construction project according to the present invention.
图4为本实用新型一种建设工程施工现场用垃圾处理装置的粉碎辊结构示意图。Fig. 4 is a structural schematic diagram of a crushing roller of a garbage disposal device used in a construction site of a construction project according to the present invention.
图5为本实用新型一种建设工程施工现场用垃圾处理装置的后视图。Fig. 5 is a rear view of a garbage disposal device for a construction site of a construction project according to the present invention.
(1、进料斗;2、处理箱;3、皮带轮一;4、伺服电机;5、支撑架;6、传动皮带;7、转轴一;8、皮带轮二;9、侧门;10、升降杆;11、活动板;12、转轴二;13、收集筐;14、粉碎辊;141、刀片;142、固定片;143、辊体;144、固定螺母;15、连接板;16、凹槽;17、导向套;18、连杆;19、齿轮一;20、齿轮二)(1. Feed hopper; 2. Processing box; 3. Pulley 1; 4. Servo motor; 5. Support frame; 6. Drive belt; 7. Shaft 1; 8. Pulley 2; 9. Side door; 10. Lifting rod ; 17. Guide sleeve; 18. Connecting rod; 19. Gear one; 20. Gear two)
具体实施方式detailed description
下面将结合附图,对本实用新型的优选实施例进行详细的描述。The preferred embodiments of the present utility model will be described in detail below in conjunction with the accompanying drawings.
如图1至图5所示,本实用新型提供一种建设工程施工现场用垃圾处理装置,包括粉碎组件、下料辅助组件、处理箱2以及连通在处理箱2顶部的进料斗1,所述粉碎组件包括对称设置在处理箱2内的转轴一7和转轴二12,所述转轴一7一端贯穿处理箱2侧壁并同轴固接有皮带轮二8、另一端贯穿处理箱2侧壁并同轴固接有齿轮一19,所述转轴二12一端与处理箱2内壁转动连接、另一端贯穿处理箱2侧壁并同轴固接有齿轮二20,所述齿轮一19和齿轮二20设置在同侧并相互啮合,具体地,齿轮一19和齿轮二20结构相同;所述处理箱2靠近皮带轮二8的一侧外壁转动连接有皮带轮一3,所述皮带轮一3与皮带轮二8之间连接有传动皮带6,所述转轴一7、转轴二12上均固接有粉碎辊14,具体地,皮带轮一3、皮带轮二8、传动皮带6之间形成带传动,皮带轮二8逆时针转动时,带动转轴一7逆时针转动,转轴一7带动齿轮一19转动,齿轮一19带动齿轮二20转动,齿轮二20带动转轴二12转动,从而使得转轴一7逆时针转动、转轴二12顺时针转动,转轴一7、转轴二12带动粉碎辊14转动,对从进料斗1进入的垃圾进行粉碎;所述粉碎辊14包括辊体143,所述辊体143上开有刀槽,所述刀槽内设有刀片141,所述辊体143两侧设有固定片142,所述固定片142分别与辊体143侧壁和刀片141侧壁固接,具体地,刀片141的截面为梯形,刀片141与刀槽滑动连接,刀片141与辊体143之间通过固定片142进行连接固定;所述下料辅助组件包括对称设置的连杆18,且两个连杆18分别与齿轮一19、齿轮二20铰接,所述连杆18远离齿轮一19和齿轮二20的一端铰接有升降杆10,所述升降杆10为U形,所述升降杆10远离连杆18的一端伸入进料斗1内并固接有连接板15,所述连接板15的两侧连接有活动板11,所述进料斗1侧壁固接有导向套17,所述升降杆10与导向套17滑动连接,具体地,导向套17对升降杆10的移动具有导向作用,使升降杆10只能上下移动,齿轮一19、齿轮二20转动时,通过连杆18带动升降杆10上下往复运动,升降杆10带动活动板11升降,活动板11下降时,会向下挤压垃圾,使卡在进料斗1的垃圾能够进入处理箱2内,活动板11上升时,也能够起到拨动垃圾的作用,有利于垃圾的下落。As shown in Fig. 1 to Fig. 5, the utility model provides a kind of garbage treatment device for the construction site, including a crushing assembly, a feeding auxiliary assembly, a
本实用新型中所述粉碎组件还包括支撑架5,所述支撑架5固接在处理箱2的外壁,所述支撑架5上安装有伺服电机4,所述伺服电机4的输出轴与皮带轮一3同轴固接。具体地,通过伺服电机4能够带动皮带轮一3转动,为粉碎组件提供驱动力。The crushing assembly described in the utility model also includes a
本实用新型中所述固定片142与辊体143侧壁之间、固定片142与刀片141侧壁之间均通过设有固定螺母144相固接。具体地,固定片142的中心处与刀片141通过固定螺母144相固定,固定片142的两端与辊体143通过固定螺母144相固定,从而将刀片141与辊体143固定,当需要更换刀片141时,拆除固定螺母144,即可将刀片141与辊体143分离。In the utility model, between the
本实用新型中所述连接板15两侧开有凹槽16,所述活动板11铰接在凹槽16内。具体地,活动板11通过与连接板15铰接从而能够上下摆动,同时凹槽16的上下两侧对活动板11的摆动范围进行限制,活动板11下降时,通过与垃圾之间的挤压,活动板11可以尽可能的张开,与垃圾的接触面积较大,可以更好的向下挤压垃圾,而活动板11上升时,活动板11又会向下转动,避免将垃圾带出。In the utility model, there are
本实用新型中所述处理箱2一侧铰接有侧门9。One side of the
本实用新型中所述处理箱2内设有收集筐13。In the utility model, the
工作原理:本实用新型在使用时,在对建设工程施工现场垃圾进行处理时,首先启动伺服电机4,伺服电机4带动皮带轮一3逆时针转动,皮带轮一3通过传动皮带6带动皮带轮二8逆时针转动,皮带轮二8带动转轴一7逆时针转动,转轴一7带动齿轮一19逆时针转动,齿轮一19带动齿轮二20顺时针转动,齿轮二20带动转轴二12顺时针转动,从而使得转轴一7、转轴二12同步转动且方向相反,转轴一7、转轴二12带动粉碎辊14转动,对从进料斗1进入的垃圾进行粉碎,粉碎后的垃圾掉入收集筐13内进行集中存储,处理完后,打开侧门9可将收集筐13取出,对垃圾进行后续的处理;在粉碎垃圾的过程中,齿轮一19、齿轮二20转动时还会通过连杆18带动升降杆10不断的升降,升降杆10带动活动板11升降,活动板11下降时,会向下挤压垃圾,使卡在进料斗1的垃圾能够进入处理箱2内,活动板11上升时,也能够起到拨动垃圾的作用,有利于垃圾的下落,此外,活动板11在凹槽16内能够进行一定范围的转动,活动板11下降时,通过与垃圾之间的挤压,活动板11可以尽可能的张开,从而与垃圾的接触面积较大,而活动板11上升时,活动板11又可以向下转动,避免将垃圾带出。粉碎辊14长期时候后发生损坏时,首先将粉碎辊14拆卸,然后将受损的刀片141两侧的固定螺母144拆卸掉,将刀片141推出刀槽,换上新的刀片141即可。Working principle: when the utility model is in use, when processing the garbage at the construction site, first start the
以上对本实用新型及其实施方式进行了描述,这种描述没有限制性,附图中所示的也只是本实用新型的实施方式之一,实际的结构并不局限于此。总而言之如果本领域的普通技术人员受其启示,在不脱离本实用新型创造宗旨的情况下,不经创造性的设计出与该技术方案相似的结构方式及实施例,均应属于本实用新型的保护范围。The utility model and its implementations have been described above. This description is not restrictive, and what is shown in the drawings is only one of the implementations of the utility model, and the actual structure is not limited thereto. All in all, if a person of ordinary skill in the art is inspired by it, without departing from the purpose of the utility model, without creatively designing a structural method and embodiment similar to the technical solution, it shall be protected by the utility model scope.
Claims (6)
Priority Applications (1)
| Application Number | Priority Date | Filing Date | Title |
|---|---|---|---|
| CN202221674251.4U CN218222604U (en) | 2022-06-30 | 2022-06-30 | Garbage disposal device for construction site |
Applications Claiming Priority (1)
| Application Number | Priority Date | Filing Date | Title |
|---|---|---|---|
| CN202221674251.4U CN218222604U (en) | 2022-06-30 | 2022-06-30 | Garbage disposal device for construction site |
Publications (1)
| Publication Number | Publication Date |
|---|---|
| CN218222604U true CN218222604U (en) | 2023-01-06 |
Family
ID=84673543
Family Applications (1)
| Application Number | Title | Priority Date | Filing Date |
|---|---|---|---|
| CN202221674251.4U Withdrawn - After Issue CN218222604U (en) | 2022-06-30 | 2022-06-30 | Garbage disposal device for construction site |
Country Status (1)
| Country | Link |
|---|---|
| CN (1) | CN218222604U (en) |
Cited By (1)
| Publication number | Priority date | Publication date | Assignee | Title |
|---|---|---|---|---|
| CN117732839A (en) * | 2023-12-19 | 2024-03-22 | 南通光合生物技术股份有限公司 | Solid waste treatment device with conveying function |
-
2022
- 2022-06-30 CN CN202221674251.4U patent/CN218222604U/en not_active Withdrawn - After Issue
Cited By (2)
| Publication number | Priority date | Publication date | Assignee | Title |
|---|---|---|---|---|
| CN117732839A (en) * | 2023-12-19 | 2024-03-22 | 南通光合生物技术股份有限公司 | Solid waste treatment device with conveying function |
| CN117732839B (en) * | 2023-12-19 | 2024-10-25 | 南通光合生物技术股份有限公司 | Solid waste treatment device with conveying function |
Similar Documents
| Publication | Publication Date | Title |
|---|---|---|
| CN112482334A (en) | River course floating garbage clearance gate | |
| CN212142793U (en) | A device for treating solid wood furniture waste | |
| CN108579870B (en) | An environmental protection and energy saving solid waste treatment device | |
| CN112387378A (en) | Garbage crushing device for environment-friendly recycling bin | |
| CN218222604U (en) | Garbage disposal device for construction site | |
| CN211757528U (en) | A solid-liquid separation device for domestic waste | |
| CN117797925A (en) | Kitchen waste treatment smashing device convenient to replace and use method thereof | |
| CN114769284B (en) | Construction waste vibrating crushing and reforming integrated equipment | |
| CN113198601B (en) | Building rubbish breaker for building engineering | |
| CN210613846U (en) | Environment-friendly rapid treatment device for construction waste | |
| CN216261279U (en) | Civil engineering waste material processing apparatus | |
| CN216756576U (en) | Highway bridge precast beam board concrete waste processing apparatus | |
| CN213854836U (en) | A construction waste disposal device | |
| CN112387357B (en) | Antiwind anti-sticking dies double-cutter head garbage disposer | |
| CN221641472U (en) | Recovery unit is used in plastics production | |
| CN207287666U (en) | It is a kind of can fast-crushing rubbish device for pulverizing rubbish | |
| CN222446655U (en) | Construction waste crushing device | |
| CN221232916U (en) | Plastic waste treatment equipment | |
| CN219482918U (en) | A solid waste crushing device | |
| CN219703852U (en) | An architectural model laser machine with self-cleaning function | |
| CN221016442U (en) | Medical care waste recycling device | |
| CN221674483U (en) | Crusher with multistage crushing structure | |
| CN221661524U (en) | Aerated block waste recycling device | |
| CN223276312U (en) | Waste recycling device for building material manufacturing | |
| CN218359568U (en) | Mechanism is retrieved in clearance |
Legal Events
| Date | Code | Title | Description |
|---|---|---|---|
| GR01 | Patent grant | ||
| GR01 | Patent grant | ||
| AV01 | Patent right actively abandoned | ||
| AV01 | Patent right actively abandoned | ||
| AV01 | Patent right actively abandoned |
Granted publication date: 20230106 Effective date of abandoning: 20250613 |
|
| AV01 | Patent right actively abandoned |
Granted publication date: 20230106 Effective date of abandoning: 20250613 |
