CN218219281U - Novel adhesive pressing machine - Google Patents
Novel adhesive pressing machine Download PDFInfo
- Publication number
- CN218219281U CN218219281U CN202221496633.2U CN202221496633U CN218219281U CN 218219281 U CN218219281 U CN 218219281U CN 202221496633 U CN202221496633 U CN 202221496633U CN 218219281 U CN218219281 U CN 218219281U
- Authority
- CN
- China
- Prior art keywords
- fixedly connected
- suction nozzle
- gas
- fan
- air pump
- Prior art date
- Legal status (The legal status is an assumption and is not a legal conclusion. Google has not performed a legal analysis and makes no representation as to the accuracy of the status listed.)
- Active
Links
- 238000003825 pressing Methods 0.000 title claims description 22
- 239000000853 adhesive Substances 0.000 title claims description 13
- 230000001070 adhesive effect Effects 0.000 title claims description 13
- 238000000465 moulding Methods 0.000 claims abstract description 19
- 239000000796 flavoring agent Substances 0.000 claims abstract description 14
- 235000019634 flavors Nutrition 0.000 claims abstract description 14
- 238000000746 purification Methods 0.000 claims abstract description 8
- 238000005452 bending Methods 0.000 claims description 21
- 239000003292 glue Substances 0.000 claims description 14
- 239000007789 gas Substances 0.000 abstract description 23
- 239000000567 combustion gas Substances 0.000 abstract description 6
- 230000000694 effects Effects 0.000 abstract description 6
- 238000001914 filtration Methods 0.000 abstract description 5
- 238000001727 in vivo Methods 0.000 abstract description 2
- 230000036541 health Effects 0.000 description 4
- 238000000034 method Methods 0.000 description 4
- 230000008569 process Effects 0.000 description 4
- 239000000126 substance Substances 0.000 description 4
- 239000002390 adhesive tape Substances 0.000 description 3
- 238000007789 sealing Methods 0.000 description 3
- 238000004519 manufacturing process Methods 0.000 description 2
- 230000001681 protective effect Effects 0.000 description 2
- 230000009471 action Effects 0.000 description 1
- 230000004075 alteration Effects 0.000 description 1
- 230000001877 deodorizing effect Effects 0.000 description 1
- 239000002085 irritant Substances 0.000 description 1
- 231100000021 irritant Toxicity 0.000 description 1
- 230000000622 irritating effect Effects 0.000 description 1
- 230000004048 modification Effects 0.000 description 1
- 238000012986 modification Methods 0.000 description 1
- 230000008439 repair process Effects 0.000 description 1
- 238000006467 substitution reaction Methods 0.000 description 1
- 230000001360 synchronised effect Effects 0.000 description 1
Images
Landscapes
- Treating Waste Gases (AREA)
Abstract
The utility model relates to a moulding press technical field discloses a novel moulding press, comprises a workbench, the top fixedly connected with moulding press body of workstation, the top of workstation is provided with removes the flavor case, a side fixedly connected with suction nozzle that removes the flavor case, the inner wall fixedly connected with of suction nozzle is sealed to be filled up, remove the inner wall fixedly connected with air pump of flavor case, the one end fixedly connected with intake pipe of air pump. The utility model has the advantages of it is following and effect: the suction nozzle is close to the moulding wheel, makes the suction nozzle inhale gas fast, and the gas that has pungent smell gets into from the intake pipe, discharges from the outlet duct again, and the staff starts the fan, and the fan operation is bled, with the outlet duct combustion gas, takes out the exhaust duct and discharges, and the combustion gas gets into in the filter box, is carried out filtration purification by the filter box, removes the flavor with gas, has avoided the staff directly to have pungent gas to inhale in vivo, has protected staff's healthy.
Description
Technical Field
The utility model relates to a moulding press technical field, in particular to novel moulding press.
Background
The glue pressing machine is a machine which is divided into a protective clothing glue pressing machine, a tent glue pressing machine and an outdoor clothing glue pressing machine, is used for pressing a waterproof adhesive tape at the edge of a seam of a pressed object, and is widely used in repair or manufacture.
In the prior art, chinese patent publication No. CN213045491U discloses a glue pressing machine for producing protective clothing, which comprises a glue pressing machine main body and a control panel, wherein a bracket is fixedly mounted on the right side of the bottom of the glue pressing machine main body, a telescopic device is fixedly mounted on the top end of the glue pressing machine main body, the telescopic device comprises a pedal plate and a ground shaft, a connecting rod is fixedly connected to the right side of the top end of the pedal plate, the height of the convenient adjusting device during use is provided, and the convenience effect of the device during production is increased.
But this utility model discloses an when the in-service use, the moulding press need heat the sticky tape at the during operation, and the sticky tape can produce great smell after being heated, inhales or gaseous entering staff's eyes as the staff in, has brought the health hidden danger for the staff, makes operational environment comparatively uncomfortable, consequently needs to improve.
SUMMERY OF THE UTILITY MODEL
The utility model aims at providing a novel adhesive pressing machine has and has avoided the staff directly will have the irritative gas and inhale into physically, has protected the healthy effect of staff.
The above technical purpose of the present invention can be achieved by the following technical solutions: the utility model provides a novel adhesive pressing machine, comprises a workbench, the top fixedly connected with adhesive pressing machine body of workstation, the top of workstation is provided with removes the flavor case, remove a side fixedly connected with suction nozzle of flavor case, the inner wall fixedly connected with of suction nozzle is sealed fills up, the inner wall fixedly connected with air pump that removes the flavor case, the one end fixedly connected with intake pipe of air pump, the other end fixedly connected with outlet duct of air pump, the inside that sealed pad extends to the suction nozzle is run through to the intake pipe, the one end fixedly connected with process chamber that removes the flavor case, the inside of process chamber is provided with the fan, the outlet duct extend to the inside of process chamber and with fan fixed connection, the bottom of fan is provided with exhaust duct, exhaust duct extends to the surface of process chamber, exhaust duct's bottom fixedly connected with filter cartridge.
Through adopting above-mentioned technical scheme, when the work of moulding press body made the sticky tape produce the smell, the staff starts the air pump, air pump work produces suction, the suction nozzle is close to the moulding press wheel, make the suction nozzle inhale gas fast, the gas that has pungent smell gets into from the intake pipe, discharge from the outlet duct again, the staff starts the fan, the fan operation is bled, with the outlet duct combustion gas, it discharges to take out exhaust duct, the combustion gas gets into in the filter cartridge, the filter cartridge sets up the bottom at the workstation, do not influence staff's normal work during the exhaust, carry out filtration purification by the filter cartridge, remove gaseous smell, it is internal to have the pungent gas inspiration directly to have avoided the staff, staff's healthy has been protected.
The utility model discloses a further set up to: the inner wall fixedly connected with of filter cartridge purifies the core, the air outlet has been seted up to filter cartridge's bottom.
Through adopting above-mentioned technical scheme, purify the core and carry out filtration purification with gas, reduce harmful substance's residue, discharge from the air outlet.
The utility model discloses a further set up to: the bottom fixedly connected with slide rail of moulding press body, the inner wall sliding connection of slide rail has the slider, the bottom sliding connection of slider has the slide bar.
Through adopting above-mentioned technical scheme, staff's accessible slide bar drives the slider in the slide rail, and the position apart from the moulding wheel is adjusted to the horizontal slip of suction nozzle.
The utility model discloses a further set up to: the top of workstation has seted up the spout, exhaust duct's surface and spout sliding connection.
Through adopting above-mentioned technical scheme, when the suction nozzle was adjusted, exhaust duct slided in the spout in step, the staff's of being convenient for operation.
The utility model discloses a further set up to: the outer surface of the sliding rod is rotatably connected with a bending rod, and the inner part of the bending rod is rotatably connected with a rotating shaft.
Through adopting above-mentioned technical scheme, the slide bar can rotate in the inside of bending the pole, and the pole that bends can carry out the bending and adjust under the effect of pivot.
The utility model discloses a further set up to: one end of the bending rod is fixedly connected with a connecting rod, and one end of the connecting rod is fixedly connected with the treatment cavity.
Through adopting above-mentioned technical scheme to make the connecting rod drive the treatment chamber and carry out position control, the staff of being convenient for more adjusts the position of suction nozzle, improves the flexibility and the convenience of device.
The utility model has the advantages that:
1. the utility model discloses, through the workstation, the moulding press body, remove the flavor case, the suction nozzle, sealed pad, the air pump, an air inlet pipe, the outlet duct, the treatment chamber, the fan, cooperation setting between exhaust duct and the filter cartridge, can make this device when using, when moulding press body work makes the sticky tape produce the smell, the staff starts the air pump, air pump work produces suction, the suction nozzle is close to the moulding press wheel, make the suction nozzle inhale gas fast, the gas that has pungent smell gets into from the intake pipe, discharge from the outlet duct again, the staff starts the fan, the fan operation is bled, with the outlet duct combustion gas, take into the exhaust duct discharge, the combustion gas gets into in the filter cartridge, the filter cartridge sets up the bottom at the workstation, do not influence staff's normal work during the exhaust, carry out filter purification by the filter cartridge, remove the flavor with gas, avoided the staff directly will have pungent gas to inhale in vivo, staff's health has been protected.
2. The utility model discloses, through purifying the core, the air outlet, a slide rail, the slider, the slide bar, the spout, the pole of bending, cooperation setting between pivot and the connecting rod, can make this device when using, purify the core and carry out filtration purification with the gas, reduce harmful substance's remaining, discharge from the air outlet, staff's accessible slide bar drives the slider in the slide rail, the horizontal slip, adjust the position of suction nozzle apart from the moulding wheel, when the suction nozzle is adjusted, exhaust duct is synchronous slip in the spout, the staff's of being convenient for operation, the slide bar can rotate in the inside of the pole of bending, the pole of bending is under the effect of pivot, can carry out crooked regulation, thereby make the connecting rod drive the treatment chamber and carry out position control, the staff's of being convenient for adjustment suction nozzle position more, improve device's flexibility and convenience.
Drawings
In order to more clearly illustrate the technical solutions in the embodiments of the present invention, the drawings needed to be used in the description of the embodiments will be briefly described below, and it is obvious that the drawings in the following description are only some embodiments of the present invention, and it is obvious for those skilled in the art to obtain other drawings without creative efforts.
FIG. 1 is a schematic view of the present invention;
FIG. 2 is an enlarged schematic view of the structure of the present invention at A in FIG. 1;
FIG. 3 is a schematic view of the structure of the odor removal box of the present invention;
fig. 4 is a schematic view of the slide rail structure of the present invention.
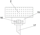
In the figure, 1, a workbench; 2. a glue press body; 3. a deodorizing box; 4. a suction nozzle; 5. a gasket; 6. an air pump; 7. an air inlet pipe; 8. an air outlet pipe; 9. a processing chamber; 10. a fan; 11. an exhaust duct; 12. a filter cartridge; 13. a purification core; 14. an air outlet; 15. a slide rail; 16. a slider; 17. a slide bar; 18. a chute; 19. bending the rod; 20. a rotating shaft; 21. a connecting rod.
Detailed Description
The technical solution of the present invention will be clearly and completely described below with reference to the specific embodiments. It is obvious that the described embodiments are only some of the embodiments of the present invention, and not all of them. Based on the embodiments of the present invention, all other embodiments obtained by a person skilled in the art without making creative efforts belong to the protection scope of the present invention.
Referring to fig. 1-4, a novel adhesive pressing machine comprises a workbench 1, a adhesive pressing machine body 2 is fixedly connected to the top of the workbench 1, an odor removing box 3 is arranged on the top of the workbench 1, a suction nozzle 4 is fixedly connected to one side surface of the odor removing box 3, a sealing gasket 5 is fixedly connected to the inner wall of the suction nozzle 4, an air pump 6 is fixedly connected to the inner wall of the odor removing box 3, an air inlet pipe 7 is fixedly connected to one end of the air pump 6, an air outlet pipe 8 is fixedly connected to the other end of the air pump 6, the air inlet pipe 7 penetrates through the sealing gasket 5 and extends to the inside of the suction nozzle 4, a processing chamber 9 is fixedly connected to one end of the odor removing box 3, a fan 10 is arranged inside the processing chamber 9, the air outlet pipe 8 extends to the inside of the processing chamber 9 and is fixedly connected with the fan 10, an exhaust pipeline 11 is arranged at the bottom of the fan 10, the exhaust pipeline 11 extends to the outer surface of the processing chamber 9, and a filter box 12 is fixedly connected to the bottom of the exhaust pipeline 11, when the adhesive tape produces odor due to the work of the adhesive pressing machine body 2, a worker starts the air pump 6, the air pump 6 produces suction force due to the work, the suction nozzle 4 is close to the adhesive pressing wheel, so that the suction nozzle 4 quickly sucks air, the air with the pungent odor enters from the air inlet pipe 7 and is discharged from the air outlet pipe 8, the worker starts the fan 10, the fan 10 operates to suck air, the air discharged from the air outlet pipe 8 is sucked into the exhaust pipeline 11 and is discharged, the discharged air enters the filter box 12, the filter box 12 is arranged at the bottom of the workbench 1, the normal work of the worker is not influenced during the exhaust, the air is filtered and purified by the filter box 12, the odor is removed, the worker is prevented from directly sucking the pungent air into the body, the health of the worker is protected, the purifying core 13 is fixedly connected to the inner wall of the filter box 12, the air outlet 14 is formed in the bottom of the filter box 12, purifying core 13 carries out filtration purification with the gas, reduce harmful substance's residue, discharge from air outlet 14, the bottom fixedly connected with slide rail 15 of moulding press body 2, the inner wall sliding connection of slide rail 15 has slider 16, the bottom sliding connection of slider 16 has slide bar 17, staff's accessible slide bar 17 drives slider 16 in slide rail 15, the side-to-side slip, adjust the position of suction nozzle 4 apart from the moulding press wheel, spout 18 has been seted up at the top of workstation 1, exhaust duct 11's surface and spout 18 sliding connection, when suction nozzle 4 is adjusted, exhaust duct 11 slides in spout 18 in step, be convenient for staff's operation, slide bar 17's surface rotation is connected with bending rod 19, bending rod 19's inside rotation is connected with pivot 20, slide bar 17 can rotate in bending rod 19's inside, bending rod 19 is under the effect of pivot 20, can carry out the bending adjustment, bending rod 19's one end fixedly connected with connecting rod 21, the one end and the processing chamber 9 fixed connection of connecting rod 21, thereby make connecting rod 21 drive processing chamber 9 carry out the position adjustment, be convenient for more, the staff's adjustment 4's position improves the flexibility and the convenience of device.
In the utility model, through the matching arrangement between the workbench 1, the adhesive pressing machine body 2, the odor removing box 3, the suction nozzle 4, the sealing gasket 5, the air pump 6, the air inlet pipe 7, the air outlet pipe 8, the processing cavity 9, the fan 10, the exhaust duct 11 and the filter box 12, when the device is used, when the adhesive pressing machine body 2 works to cause the adhesive tape to generate odor, the worker starts the air pump 6, the air pump 6 works to generate suction force, the suction nozzle 4 is close to the adhesive pressing wheel, the suction nozzle 4 rapidly sucks the gas, the gas with pungent odor enters from the air inlet pipe 7 and then is discharged from the air outlet pipe 8, the worker starts the fan 10, the fan 10 runs to pump air, the gas discharged from the air outlet pipe 8 is pumped into the exhaust duct 11 to be discharged, the discharged gas enters the filter box 12, the filter box 12 is arranged at the bottom of the workbench 1, the normal work of the worker is not affected during the exhaust, the filter box 12 filters and purifies the gas to remove the smell, so that the situation that the worker directly sucks irritant gas into the body is avoided, the health of the worker is protected, when the device is used, the gas is filtered and purified by the purifying core 13 through the purifying core 13, the air outlet 14, the slide rail 15, the slide block 16, the slide rod 17, the slide groove 18, the bending rod 19, the rotating shaft 20 and the connecting rod 21 which are matched, the residual of harmful substances is reduced, the gas is discharged from the air outlet 14, the worker can drive the slide block 16 to slide left and right in the slide rail 15 through the slide rod 17 to adjust the position of the suction nozzle 4 away from the rubber wheel, when the suction nozzle 4 is adjusted, the exhaust pipeline 11 synchronously slides in the slide groove 18 to facilitate the operation of the worker, the slide rod 17 can rotate inside the bending rod 19, and the bending rod 19 can be bent and adjusted under the action of the rotating shaft 20, thereby make connecting rod 21 drive the treatment chamber 9 and carry out position control, the staff of being more convenient for adjusts the position of suction nozzle 4, improves the flexibility and the convenience of device.
Although embodiments of the present invention have been shown and described, it will be appreciated by those skilled in the art that various changes, modifications, substitutions and alterations can be made in these embodiments without departing from the principles and spirit of the invention, the scope of which is defined in the appended claims and their equivalents.
Claims (6)
1. The utility model provides a novel adhesive pressing machine, includes workstation (1), its characterized in that: top fixedly connected with moulding press body (2) of workstation (1), the top of workstation (1) is provided with removes flavor box (3), a side fixedly connected with suction nozzle (4) of removing flavor box (3), the sealed pad (5) of inner wall fixedly connected with of suction nozzle (4), the inner wall fixedly connected with air pump (6) of removing flavor box (3), the one end fixedly connected with intake pipe (7) of air pump (6), the other end fixedly connected with outlet duct (8) of air pump (6), intake pipe (7) run through sealed inside that fills up (5) and extend to suction nozzle (4), the one end fixedly connected with treatment chamber (9) of removing flavor box (3), the inside of treatment chamber (9) is provided with fan (10), outlet duct (8) extend to the inside of treatment chamber (9) and with fan (10) fixed connection, the bottom of fan (10) is provided with exhaust duct (11), exhaust duct (11) extend to the surface of treatment chamber (9), the bottom fixedly connected with filter box (12) of exhaust duct (11).
2. The novel glue press according to claim 1, characterized in that: the inner wall of the filter box (12) is fixedly connected with a purification core (13), and the bottom of the filter box (12) is provided with an air outlet (14).
3. The novel glue press according to claim 1, characterized in that: the bottom fixedly connected with slide rail (15) of moulding press body (2), the inner wall sliding connection of slide rail (15) has slider (16), the bottom sliding connection of slider (16) has slide bar (17).
4. The novel glue press according to claim 1, characterized in that: the top of the workbench (1) is provided with a sliding groove (18), and the outer surface of the exhaust pipeline (11) is in sliding connection with the sliding groove (18).
5. The novel glue press according to claim 3, characterized in that: the outer surface of the sliding rod (17) is rotatably connected with a bending rod (19), and the inner part of the bending rod (19) is rotatably connected with a rotating shaft (20).
6. The novel glue press according to claim 5, characterized in that: one end of the bending rod (19) is fixedly connected with a connecting rod (21), and one end of the connecting rod (21) is fixedly connected with the treatment cavity (9).
Priority Applications (1)
| Application Number | Priority Date | Filing Date | Title |
|---|---|---|---|
| CN202221496633.2U CN218219281U (en) | 2022-06-15 | 2022-06-15 | Novel adhesive pressing machine |
Applications Claiming Priority (1)
| Application Number | Priority Date | Filing Date | Title |
|---|---|---|---|
| CN202221496633.2U CN218219281U (en) | 2022-06-15 | 2022-06-15 | Novel adhesive pressing machine |
Publications (1)
| Publication Number | Publication Date |
|---|---|
| CN218219281U true CN218219281U (en) | 2023-01-06 |
Family
ID=84672116
Family Applications (1)
| Application Number | Title | Priority Date | Filing Date |
|---|---|---|---|
| CN202221496633.2U Active CN218219281U (en) | 2022-06-15 | 2022-06-15 | Novel adhesive pressing machine |
Country Status (1)
| Country | Link |
|---|---|
| CN (1) | CN218219281U (en) |
-
2022
- 2022-06-15 CN CN202221496633.2U patent/CN218219281U/en active Active
Similar Documents
| Publication | Publication Date | Title |
|---|---|---|
| CN208660070U (en) | A kind of division of respiratory disease atomizer | |
| CN118370888B (en) | A gastrointestinal fluid decompression device for gastrointestinal surgical care | |
| CN218219281U (en) | Novel adhesive pressing machine | |
| CN208929352U (en) | A cutting device for protective casing for automobile production | |
| CN204734739U (en) | Vomitus processing apparatus of gastroenterology dept | |
| CN219399460U (en) | Dust removal filter equipment of carbon fiber production | |
| CN212597830U (en) | A plastic processing waste gas extraction device | |
| CN212594763U (en) | Portable mould processing dust collector | |
| CN208859670U (en) | A kind of adjustable smoke exhaust ventilator of air inlet | |
| CN112157712A (en) | Perforating device is used in production of anesthesia respirator | |
| CN221179490U (en) | Positioning device for clothing processing | |
| CN217015829U (en) | Waste gas direction filter equipment is used in wooden furniture lacquer production | |
| CN220047710U (en) | Environment-friendly treatment device for medicament reaction pungent smell | |
| CN208435451U (en) | A kind of stone carving dust catcher | |
| CN216605748U (en) | Purification device for sole paint spraying production | |
| CN220916796U (en) | Device for preventing nail powder dust from scattering | |
| CN217909751U (en) | Exhaust-gas treatment equipment is used in butter production | |
| CN216640052U (en) | A cutting device for mask production | |
| CN219786531U (en) | New energy automobile aluminum alloy motor casing structure of bleeding | |
| CN216604477U (en) | Anesthesia waste gas pumping and purifying equipment for anesthesia room | |
| CN219214179U (en) | Electric extrusion device for traditional Chinese medicine decocting machine | |
| CN220758545U (en) | Waste gas treatment device for precoated sand production | |
| CN212165046U (en) | Structure is tailor with banding to purification gauze mask production | |
| CN213830480U (en) | Novel flavouring extrusion device | |
| CN219922406U (en) | Welding fume purifier for welding tower crane |
Legal Events
| Date | Code | Title | Description |
|---|---|---|---|
| GR01 | Patent grant | ||
| GR01 | Patent grant |