CN218198430U - Stable transfer cart for barreled chemical reagents - Google Patents
Stable transfer cart for barreled chemical reagents Download PDFInfo
- Publication number
- CN218198430U CN218198430U CN202222722324.9U CN202222722324U CN218198430U CN 218198430 U CN218198430 U CN 218198430U CN 202222722324 U CN202222722324 U CN 202222722324U CN 218198430 U CN218198430 U CN 218198430U
- Authority
- CN
- China
- Prior art keywords
- shallow
- rod
- push rod
- barreled
- fixedly connected
- Prior art date
- Legal status (The legal status is an assumption and is not a legal conclusion. Google has not performed a legal analysis and makes no representation as to the accuracy of the status listed.)
- Active
Links
- 239000003153 chemical reaction reagent Substances 0.000 title claims abstract description 56
- 238000000034 method Methods 0.000 description 6
- 238000010586 diagram Methods 0.000 description 4
- 238000012986 modification Methods 0.000 description 2
- 230000004048 modification Effects 0.000 description 2
- 230000009286 beneficial effect Effects 0.000 description 1
- 238000009434 installation Methods 0.000 description 1
- 238000004806 packaging method and process Methods 0.000 description 1
Images
Landscapes
- Handcart (AREA)
Abstract
本实用新型涉及化学试剂技术领域,尤其为一种桶装化学试剂稳固式转移推车,包括转移推车、支撑杆和推杆,所述转移推车底端前后两端均固定连接有连接块,所述连接块内侧转动连接有支撑杆,所述支撑杆顶端固定连接有胶垫,所述胶垫与桶装化学试剂滑动连接,所述支撑杆内侧滑动连接有顶杆,所述顶杆与连接块滑动连接,所述顶杆右端固定连接有延伸推架,所述延伸推架内侧上下两端均滑动连接有导向杆,所述导向杆与转移推车固定连接,通过设置的支撑杆、胶垫、顶杆、连接块和延伸推架,在使用时,当桶装化学试剂提起后,能够通过支撑杆对桶装化学试剂底端进行支撑,提高桶装化学试剂在转移使的稳固能力,防止在颠簸路面转移时桶装化学试剂掉落。
The utility model relates to the technical field of chemical reagents, in particular to a barreled chemical reagent stable transfer trolley, comprising a transfer trolley, a support rod and a push rod, and the front and rear ends of the bottom end of the transfer trolley are fixedly connected with connecting blocks , the inner side of the connecting block is rotatably connected with a support rod, the top of the support rod is fixedly connected with a rubber pad, the rubber pad is slidingly connected with the barreled chemical reagent, the inner side of the support rod is slidingly connected with a push rod, and the push rod Slidingly connected with the connecting block, the right end of the push rod is fixedly connected with an extension push frame, and the upper and lower ends of the inner side of the extension push frame are slidably connected with guide rods, and the guide rods are fixedly connected with the transfer trolley. , rubber pad, ejector rod, connection block and extension push frame, when in use, when the barreled chemical reagent is lifted, the bottom end of the barreled chemical reagent can be supported by the support rod to improve the stability of the barreled chemical reagent during transfer Ability to prevent barreled chemical reagents from falling when transferring on bumpy roads.
Description
技术领域technical field
本实用新型涉及化学试剂技术领域,具体为一种桶装化学试剂稳固式转移推车。The utility model relates to the technical field of chemical reagents, in particular to a barreled chemical reagent stable transfer trolley.
背景技术Background technique
化学试剂在贮存、运输和销售过程中会受到温度、光辐照、空气和水份等外在因素的影响,因此要采用合理的包装,适当的贮存条件和运输方式,保证化学试剂在贮存、运输和销售过程中不变质,对一些对贮存和运输有特殊要求的应按特殊要求办理。Chemical reagents will be affected by external factors such as temperature, light irradiation, air and moisture during storage, transportation and sales. Therefore, reasonable packaging, appropriate storage conditions and transportation methods should be adopted to ensure that chemical reagents are stored, It will not deteriorate during transportation and sales, and some special requirements for storage and transportation should be handled according to special requirements.
桶装化学试剂稳固式转移推车在对桶装化学试剂进行转移时,都是直接夹持住桶装化学试剂上端,在转移桶装化学试剂的时候,稳固性不够高,遇到晃动的路面会使桶装化学试剂稳固式转移推车产生颠簸,使桶装化学试剂在转移的过程中掉落,在转移的过程中不能对桶装化学试剂的桶进行支撑。The barreled chemical reagent stable transfer trolley directly clamps the upper end of the barreled chemical reagent when transferring the barreled chemical reagent. When transferring the barreled chemical reagent, the stability is not high enough, and it encounters shaking roads The stable transfer trolley of the barreled chemical reagents will be bumped, causing the barreled chemical reagents to fall during the transfer process, and the barrel of the barreled chemical reagents cannot be supported during the transfer process.
实用新型内容Utility model content
本实用新型的目的在于提供一种桶装化学试剂稳固式转移推车,以解决上述背景技术中提出在转移的过程中不能对桶装化学试剂的桶进行支撑的问题。The purpose of this utility model is to provide a barreled chemical reagent stable transfer trolley to solve the problem in the above-mentioned background technology that the barrel of the barreled chemical reagent cannot be supported during the transfer process.
为实现上述目的,本实用新型提供如下技术方案:In order to achieve the above object, the utility model provides the following technical solutions:
一种桶装化学试剂稳固式转移推车,包括转移推车、支撑杆和推杆,所述转移推车底端前后两端均固定连接有连接块,所述连接块内侧转动连接有支撑杆,所述支撑杆顶端固定连接有胶垫,所述胶垫与桶装化学试剂滑动连接,所述支撑杆内侧滑动连接有顶杆,所述顶杆与连接块滑动连接,所述顶杆右端固定连接有延伸推架,所述延伸推架内侧上下两端均滑动连接有导向杆,所述导向杆与转移推车固定连接。A barreled chemical reagent stable transfer trolley, including a transfer trolley, a support rod and a push rod, the bottom end of the transfer trolley is fixedly connected with connecting blocks at both ends, and the inner side of the connection block is rotatably connected with a support rod , the top of the support rod is fixedly connected with a rubber pad, the rubber pad is slidably connected with the barreled chemical reagent, the inner side of the support rod is slidably connected with a push rod, the push rod is slidably connected with the connecting block, and the right end of the push rod An extension push frame is fixedly connected, and guide rods are slidably connected to the upper and lower ends of the inner side of the extension push frame, and the guide rods are fixedly connected to the transfer trolley.
优选的,所述转移推车右端前后两端均固定连接有连接板,所述连接板远离转移推车中心的一端外侧转动连接有推杆,所述推杆左下端设有胶辊,所述胶辊与转移推车转动连接,所述推杆底端滑动连接有托板,所述托板底端固定连接有限位架,所述限位架与推杆滑动连接,所述限位架靠近转移推车中心的一端下侧固定连接有限位块,所述限位块与转移推车滑动连接,所述限位架靠近转移推车中心的一端上侧转动连接有转动块,所述转动块外侧转动连接有拉杆,所述拉杆与转移推车转动连接。Preferably, the front and rear ends of the right end of the transfer trolley are fixedly connected with a connecting plate, and the outer end of the connecting plate away from the center of the transfer trolley is rotatably connected with a push rod, and the lower left end of the push rod is provided with a rubber roller. The rubber roller is connected to the transfer trolley in rotation, the bottom end of the push rod is slidably connected to a supporting plate, the bottom end of the supporting plate is fixedly connected to a limit frame, the limit frame is slidably connected to the push rod, and the limit frame is close to The lower side of one end of the center of the transfer trolley is fixedly connected with a limit block, and the limit block is slidably connected with the transfer trolley, and the upper side of the end of the limit frame close to the center of the transfer trolley is rotatably connected with a rotating block, and the rotating block The outside is rotatably connected with a pull rod, and the pull rod is rotatably connected with the transfer trolley.
优选的,所述推杆的最大转动角度为七十五度,且推杆与限位架滑动连接。Preferably, the maximum rotation angle of the push rod is 75 degrees, and the push rod is slidably connected with the limit frame.
优选的,所述连接块内侧右端前侧转动连接有踏板,所述踏板与延伸推架滑动连接。Preferably, a pedal is rotatably connected to the front side of the inner right end of the connecting block, and the pedal is slidably connected to the extension push frame.
优选的,所述拉杆内侧设有滑槽,且拉杆位于转动块外侧。Preferably, a chute is provided inside the pull rod, and the pull rod is located outside the rotating block.
优选的,所述顶杆的上端面呈L状设置,且顶杆靠近转移推车中心的一端上下两端均设有凸起。Preferably, the upper end surface of the ejector rod is arranged in an L shape, and the upper and lower ends of the ejector rod near the center of the transfer trolley are provided with protrusions.
与现有技术相比,本实用新型的有益效果是:Compared with the prior art, the beneficial effects of the utility model are:
1、本实用新型中,通过设置的支撑杆、胶垫、顶杆、连接块和延伸推架,在使用时,当桶装化学试剂提起后,能够通过支撑杆对桶装化学试剂底端进行支撑,提高桶装化学试剂在转移使的稳固能力,防止在颠簸路面转移时桶装化学试剂掉落;1. In the utility model, through the set support rod, rubber pad, ejector rod, connecting block and extension push frame, when in use, when the barreled chemical reagent is lifted, the bottom end of the barreled chemical reagent can be lifted through the support rod. Support, improve the stability of the barreled chemical reagents during transfer, and prevent the barreled chemical reagents from falling when transferring on bumpy roads;
2、本实用新型中,通过设置的推杆胶辊、连接板、限位架、托板和拉杆,在使用时,能够使推杆带动胶辊推动放在地面上的桶装化学试剂,使桶装化学试剂能够整齐的码放在一起。2. In the utility model, through the set push rod rubber roller, connecting plate, limit frame, supporting plate and pull rod, when in use, the push rod can drive the rubber roller to push the barreled chemical reagent placed on the ground, so that The barreled chemical reagents can be neatly stacked together.
附图说明Description of drawings
图1为本实用新型整体结构示意图;Fig. 1 is a schematic diagram of the overall structure of the utility model;
图2为本实用新型推杆的整体结构示意图;Fig. 2 is the overall structure schematic diagram of the utility model push rod;
图3为本实用新型图1的A处结构示意图;Fig. 3 is a structural schematic diagram of A place of Fig. 1 of the utility model;
图4为本实用新型转动块的安装结构示意图。Fig. 4 is a schematic diagram of the installation structure of the rotating block of the present invention.
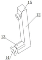
图中:1-转移推车、2-支撑杆、3-推杆、4-胶垫、5-顶杆、6-连接块、7-延伸推架、8-导向杆、9-踏板、10-胶辊、11-连接板、12-限位架、13-托板、14-限位块、15-转动块、16-拉杆。In the figure: 1-transfer trolley, 2-support rod, 3-push rod, 4-rubber pad, 5-ejector rod, 6-connecting block, 7-extended push frame, 8-guide rod, 9-pedal, 10 -rubber roller, 11-connecting plate, 12-limiting frame, 13-supporting plate, 14-limiting block, 15-rotating block, 16-pull rod.
具体实施方式detailed description
下面将结合本实用新型实施例中的附图,对本实用新型实施例中的技术方案进行清楚、完整地描述,显然,所描述的实施例仅仅是本实用新型一部分实施例,而不是全部的实施例。基于本实用新型中的实施例,本领域普通技术人员在没有做出创造性劳动前提下所获得的所有其他实施例,都属于本实用新型保护的范围。The technical solutions in the embodiments of the present invention will be clearly and completely described below in conjunction with the accompanying drawings in the embodiments of the present invention. Obviously, the described embodiments are only part of the embodiments of the present invention, not all of them. example. Based on the embodiments of the present utility model, all other embodiments obtained by persons of ordinary skill in the art without making creative efforts belong to the scope of protection of the present utility model.
请参阅图1-4,本实用新型提供一种技术方案:Please refer to Figure 1-4, the utility model provides a technical solution:
在使用该桶装化学试剂稳固式转移推车的过程中,具体的如图1-2中,包括转移推车1、支撑杆2和推杆3,转移推车1底端前后两端均固定连接有连接块6,连接块6内侧转动连接有支撑杆2,支撑杆2顶端固定连接有胶垫4,胶垫4与桶装化学试剂滑动连接,支撑杆2内侧滑动连接有顶杆5,顶杆5与连接块6滑动连接,顶杆5右端固定连接有延伸推架7,延伸推架7内侧上下两端均滑动连接有导向杆8,导向杆8与转移推车1固定连接,能够对桶装化学试剂进行支撑,防止桶装化学试剂在颠簸路段转移时掉落,连接块6内侧右端前侧转动连接有踏板9,踏板9与延伸推架7滑动连接,使踏板9能够辅助顶杆5推动支撑板3。In the process of using the barreled chemical reagent stable transfer trolley, as shown in Figure 1-2, it includes the transfer trolley 1, the
具体的如图1、3和4中,转移推车1右端前后两端均固定连接有连接板11,连接板11远离转移推车1中心的一端外侧转动连接有推杆3,推杆3左下端设有胶辊10,胶辊10与转移推车1转动连接,推杆3底端滑动连接有托板13,托板13底端固定连接有限位架12,限位架12与推杆3滑动连接,限位架12靠近转移推车1中心的一端下侧固定连接有限位块14,限位块14与转移推车1滑动连接,限位架12靠近转移推车1中心的一端上侧转动连接有转动块15,转动块15外侧转动连接有拉杆16,拉杆16与转移推车1转动连接,能够对放置好的桶装化学试剂进行推动,推杆3的最大转动角度为七十五度,且推杆3与限位架12滑动连接,使防止好的桶装化学试剂能够整齐码放,拉杆16内侧设有滑槽,且拉杆16位于转动块15外侧,能够使推杆3带动转动辊10推动放置在地面上的桶装化学试剂,桶装化学试剂能够整齐的码垛,顶杆5的上端面呈L状设置,且顶杆5靠近转移推车1中心的一端上下两端均设有凸起。Specifically as shown in Figures 1, 3 and 4, the front and rear ends of the right end of the transfer cart 1 are fixedly connected with a
工作流程:装置内所有用电器均为外接电源,在使用时,当转移推车1对桶装化学试剂进行搬运转移时,桶装化学试剂提起后,推动导向杆8外侧的延伸支架7,在推动延伸支架7的同时,用脚踩住踏板9,延伸支架7和踏板9同步推动顶杆5,使顶杆5推动支撑杆2,支撑杆2在连接块6内转动,支撑杆2上的胶垫4转动到桶装化学试剂底端,对桶装化学试剂进行支撑限位,防止桶装化学试剂在转移时出现掉落的情况,提高桶装化学试剂在转移推车1上的稳定性,到达桶装化学试剂的放置点后,拉动延伸推架7,使支撑杆2收进连接块6内,然后将桶装化学试剂从转移推车1上卸下,卸下后的桶装化学试剂可能码放不够整齐,向上拉动拉杆16,拉杆16能够通过转动块带动限位架12,限位架12能够通过限位块14在转移推车1前后两端上下移动,从而使限位架12上的托板13推动推杆3,推杆3在转移推车1上的连接板11上转动,推杆3带动胶辊10,使胶辊10推动卸下的桶装化学试剂,将桶装化学试剂能够整齐的码放在一起。Workflow: All electrical appliances in the device are externally connected to the power supply. When in use, when the transfer trolley 1 carries out the transfer of the barreled chemical reagents, after the barreled chemical reagents are lifted, the
尽管已经示出和描述了本实用新型的实施例,对于本领域的普通技术人员而言,可以理解在不脱离本实用新型的原理和精神的情况下可以对这些实施例进行多种变化、修改、替换和变型,本实用新型的范围由所附权利要求及其等同物限定。Although the embodiments of the present invention have been shown and described, those skilled in the art can understand that various changes and modifications can be made to these embodiments without departing from the principle and spirit of the present invention , replacements and modifications, the scope of the present utility model is defined by the appended claims and their equivalents.
Claims (6)
Priority Applications (1)
| Application Number | Priority Date | Filing Date | Title |
|---|---|---|---|
| CN202222722324.9U CN218198430U (en) | 2022-10-17 | 2022-10-17 | Stable transfer cart for barreled chemical reagents |
Applications Claiming Priority (1)
| Application Number | Priority Date | Filing Date | Title |
|---|---|---|---|
| CN202222722324.9U CN218198430U (en) | 2022-10-17 | 2022-10-17 | Stable transfer cart for barreled chemical reagents |
Publications (1)
| Publication Number | Publication Date |
|---|---|
| CN218198430U true CN218198430U (en) | 2023-01-03 |
Family
ID=84641250
Family Applications (1)
| Application Number | Title | Priority Date | Filing Date |
|---|---|---|---|
| CN202222722324.9U Active CN218198430U (en) | 2022-10-17 | 2022-10-17 | Stable transfer cart for barreled chemical reagents |
Country Status (1)
| Country | Link |
|---|---|
| CN (1) | CN218198430U (en) |
-
2022
- 2022-10-17 CN CN202222722324.9U patent/CN218198430U/en active Active
Similar Documents
| Publication | Publication Date | Title |
|---|---|---|
| WO2018035807A1 (en) | Material frame, and material transportation cart | |
| CN108675219A (en) | With the handling and loading mechanism from horizontal fork body structure | |
| CN207434365U (en) | A kind of production line produces automatic stacking device | |
| CN218198430U (en) | Stable transfer cart for barreled chemical reagents | |
| CN112110223A (en) | Intelligent container bulk grain rear unloading platform system | |
| CN107601352A (en) | A kind of carrying apparatus and there is its transportation robot | |
| CN201367042Y (en) | Automobile vacuum booster handling apparatus | |
| CN221624872U (en) | Material changing device and material changing production line for commercial display diaphragm | |
| CN216472067U (en) | A robot for cargo handling | |
| CN218988109U (en) | flip loading rack | |
| CN110816619A (en) | Carrying trolley | |
| CN219428167U (en) | Stackable semiconductor liquid crystal cargo carrying trolley | |
| CN218560001U (en) | Warehouse logistics goods transfer equipment | |
| CN204434236U (en) | A kind of ultra-thin flat glass case cradle-type turning device | |
| CN217260206U (en) | A transfer device for the production of electronic protective film | |
| CN221698796U (en) | Handling device is used in production of bubble membrane product | |
| CN221915585U (en) | A durian transfer device for cold chain transportation | |
| CN219361074U (en) | a transfer trolley | |
| CN221951753U (en) | Sorting equipment with adjustment function | |
| CN217864203U (en) | Transportation frame for transferring goods | |
| CN218805868U (en) | Slag micro powder treatment stacking and carrying device for goods | |
| CN210212196U (en) | Liftable liquid oxygen low temperature storage tank transportation tank wagon | |
| CN221273131U (en) | Glass plate transferring trolley | |
| CN221894126U (en) | A large glass flat platform | |
| CN218320622U (en) | Laser forklift unloading device |
Legal Events
| Date | Code | Title | Description |
|---|---|---|---|
| GR01 | Patent grant | ||
| GR01 | Patent grant | ||
| TR01 | Transfer of patent right |
Effective date of registration: 20241230 Address after: 201500 No. 69, Huaxian Road, Zhangyan Town, Jinshan District, Shanghai (Zhangyan economic Park) Patentee after: Shanghai Ranhu Industry and Trade Co.,Ltd. Country or region after: China Address before: No. 1, Floor 5, Unit 2, No. 9 Zhuhai Street, Xigang District, Dalian City, Liaoning Province, 116000 Patentee before: Dalian Huien Biotechnology Development Co.,Ltd. Country or region before: China |
|
| TR01 | Transfer of patent right |
