CN218196645U - 一种组装牢固的塑料外壳用注塑模具 - Google Patents

一种组装牢固的塑料外壳用注塑模具 Download PDF

Info

Publication number
CN218196645U
CN218196645U CN202222299893.7U CN202222299893U CN218196645U CN 218196645 U CN218196645 U CN 218196645U CN 202222299893 U CN202222299893 U CN 202222299893U CN 218196645 U CN218196645 U CN 218196645U
Authority
CN
China
Prior art keywords
base
fixedly connected
mold
upper mold
threaded rod
Prior art date
Legal status (The legal status is an assumption and is not a legal conclusion. Google has not performed a legal analysis and makes no representation as to the accuracy of the status listed.)
Expired - Fee Related
Application number
CN202222299893.7U
Other languages
English (en)
Inventor
陈锡富
刘杨
张炼
Current Assignee (The listed assignees may be inaccurate. Google has not performed a legal analysis and makes no representation or warranty as to the accuracy of the list.)
Shenzhen Hengshengfeng Mold Co ltd
Original Assignee
Shenzhen Hengshengfeng Mold Co ltd
Priority date (The priority date is an assumption and is not a legal conclusion. Google has not performed a legal analysis and makes no representation as to the accuracy of the date listed.)
Filing date
Publication date
Application filed by Shenzhen Hengshengfeng Mold Co ltd filed Critical Shenzhen Hengshengfeng Mold Co ltd
Priority to CN202222299893.7U priority Critical patent/CN218196645U/zh
Application granted granted Critical
Publication of CN218196645U publication Critical patent/CN218196645U/zh
Expired - Fee Related legal-status Critical Current
Anticipated expiration legal-status Critical

Links

Images

Landscapes

  • Moulds For Moulding Plastics Or The Like (AREA)
  • Injection Moulding Of Plastics Or The Like (AREA)

Abstract

本实用新型属于注塑模具技术领域,具体是一种组装牢固的塑料外壳用注塑模具,包括底座,所述底座上表面固定连接有架体,所述底座上固定连接有角码,所述角码另一侧固定连接于架体外壁,该一种组装牢固的塑料外壳用注塑模具通过设置的角码使得架体能够更加牢固地固定在底座上表面,设置的气缸输出端带动上模具进行下压,以配合后期的合模加工,通过设置的滑块呈T形,同时滑块与架体内壁的滑槽滑动连接,使得滑动得更加稳定与牢固,通过设置的螺纹杆贯穿上模具,手动拧动螺纹杆两端的限位环,与滑块之间相配合以实现对上模具的组装牢固,通过上模具顶部的注塑管配合后期的送料,完成加工,结构简单且易操作,节省了生产成本且牢固性高。

Description

一种组装牢固的塑料外壳用注塑模具
技术领域
本实用新型涉及注塑模具领域,具体讲是一种组装牢固的塑料外壳用注塑模具。
背景技术
工业生产上用以注塑、吹塑、挤出、压铸或锻压成型、冶炼、冲压等方法得到所需产品的各种模子和工具,简而言之,模具是用来制作成型物品的工具,这种工具由各种零件构成,不同的模具由不同的零件构成,它主要通过所成型材料的物理状态来进行生产。
现在的注塑模具在安装时,会出现安装不够牢固稳定的情况,容易造成安全隐患,增加了生产成本,同时,在合模的过程中,对于成型后的模具需要长时间的冷却,降低了生产效率,针对上述情况,我们推出了一种组装牢固的塑料外壳用注塑模具。
实用新型内容
本实用新型的目的在于提供一种组装牢固的塑料外壳用注塑模具,以解决上述背景技术中提出的问题。
本实用新型的技术方案是:包括底座,所述底座上表面固定连接有架体,所述底座上固定连接有角码,所述角码另一侧固定连接于架体外壁,所述角码沿着架体中轴线呈对称分布,所述架体内部设有上模具,所述上模具顶部固定连接有气缸,所述上模具内部有螺纹杆,且螺纹杆贯穿上模具两侧外壁,所述上模具内部开设有滑腔,所述螺纹杆设于滑腔内部,所述螺纹杆外表面固定连接有支板,所述支板另一端贯穿上模具,所述架体内壁开设有滑槽,所述滑槽底部固定连接有限位块,所述支板靠近滑槽的一侧设有滑块,所述滑块呈T形,所述滑块顶部与滑槽滑动连接,所述螺纹杆两端均螺纹连接有限位环,所述限位环面积大于滑腔面积,所述限位环内壁与上模具外壁相贴合,所述上模具顶部连通有注塑管。
进一步的,所述上模具底部四周固定连接有限位杆,所述下模具上表面开设有与限位杆插接的限位孔。
进一步的,所述基座内底部固定连接有阻尼器,所述阻尼器外部套设有减震弹簧,所述阻尼器另一端贯穿基座与下模具固定连接,所述阻尼器设置有若干个。
进一步的,所述下模具内部开设有冷凝槽,所述冷凝槽呈口型分布。
进一步的,所述上模具顶部固定连接有伸缩杆。
本实用新型通过改进在此提供一种组装牢固的塑料外壳用注塑模具,与现有技术相比,具有如下改进及优点:
其一:本实用新型通过设置的角码使得架体能够更加牢固地固定在底座上表面,通过设置的架体顶部为开口状,设置的气缸输出端带动上模具进行下压,以配合后期的合模加工,通过设置的滑块呈T形,同时滑块与架体内壁的滑槽滑动连接,使得滑动得更加稳定与牢固,通过设置的螺纹杆贯穿上模具,且螺纹杆设于上模具滑腔的内部,通过根据架体的面积,水平方向拨动螺纹杆移动,使得支板同步移动,调节支板的大小,当调整至合适位置时,将支板外壁的滑块插入架体内壁的滑槽内部,气缸远离上模具的一端固定连接有盖板,盖板面积覆盖架体顶部,手动拧动螺纹杆两端的限位环,与滑块之间相配合以实现对上模具的组装牢固,通过上模具顶部的注塑管配合后期的送料,完成加工,结构简单且易操作,节省了生产成本且牢固性高。
其二:本实用新型通过设置的基座以提高下模具放置的平稳性,通过基座两侧的开口内部的电动推杆输出端带动顶部的螺丝做高度调节,以适配不同高度的下模具,通过手动拧动两侧的螺母使得螺母在螺丝上下移,同时下移到合适位置时,螺母下表面与下模具上表面相贴合,大大提高了设备的灵活性,同时使得安装下模具时能够更加的牢固与稳定。
附图说明
下面结合附图和实施例对本实用新型作进一步解释:
图1是本实用新型主视内部结构示意图;
图2是本实用新型基座立体结构示意图;
图3是本实用新型冷凝槽俯视结构示意图;
图4是本实用新型螺纹杆俯视结构示意图;
图5是本实用新型滑块立体结构示意图。
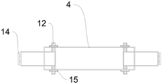
附图标记说明:1、基座;2、架体;3、气缸;4、上模具;5、下模具;6、电动推杆;7、螺母;8、冷凝槽;9、阻尼器;10、减震弹簧;11、限位杆;12、螺纹杆;13、滑槽;14、滑块;15、限位环;16、伸缩杆;17、盖板。
具体实施方式
下面将结合附图1至图4对本实用新型进行详细说明,对本实用新型实施例中的技术方案进行清楚、完整地描述,显然,所描述的实施例仅仅是本实用新型一部分实施例,而不是全部的实施例。基于本实用新型中的实施例,本领域普通技术人员在没有做出创造性劳动前提下所获得的所有其他实施例,都属于本实用新型保护的范围。
本实用新型通过改进在此提供一种组装牢固的塑料外壳用注塑模具,如图1-图4所示,包括底座,底座上表面固定连接有架体2,底座上固定连接有角码,角码另一侧固定连接于架体2外壁,角码沿着架体2中轴线呈对称分布,架体2内部设有上模具4,上模具4顶部固定连接有气缸3,上模具4内部有螺纹杆12,且螺纹杆12贯穿上模具4两侧外壁,上模具4内部开设有滑腔,螺纹杆12设于滑腔内部,螺纹杆12外表面固定连接有支板,支板另一端贯穿上模具4,架体2内壁开设有滑槽13,滑槽13底部固定连接有限位块,支板靠近滑槽13的一侧设有滑块14,滑块14呈T形,滑块14顶部与滑槽13滑动连接,螺纹杆12两端均螺纹连接有限位环15,限位环15面积大于滑腔面积,限位环15内壁与上模具4外壁相贴合,上模具4顶部连通有注塑管,通过设置的角码使得架体2能够更加牢固地固定在底座上表面,通过设置的架体2顶部为开口状,气缸3远离上模具4的一端固定连接有盖板17,盖板17面积大于架体2,且盖板17覆盖在架体2顶部,设置的气缸3输出端带动上模具4进行下压,以配合后期的合模加工,通过设置的滑块14呈T形,同时滑块14与架体2内壁的滑槽13滑动连接,使得滑动得更加稳定与牢固,通过设置的螺纹杆12贯穿上模具4,且螺纹杆12设于上模具4滑腔的内部,通过根据架体2的面积,水平方向拨动螺纹杆12移动,使得支板同步移动,调节支板的大小,当调整至合适位置时,将支板外壁的滑块14插入架体2内壁的滑槽13内部,手动拧动螺纹杆12两端的限位环15,与滑块14之间相配合以实现对上模具4的组装牢固,通过上模具4顶部的注塑管配合后期的送料,完成加工,结构简单且易操作,节省了生产成本且牢固性高。
底座上表面固定连接有基座1,基座1上表面设有下模具5,基座1两侧均开设有开口,基座1内部转动连接有电动推杆6,电动推杆6设于开口内部,电动推杆6顶部固定连接有螺丝,螺丝上螺纹连接有螺母7,螺母7沿着基座1中轴线呈对称分布,通过设置的基座1以提高下模具5放置的平稳性,通过基座1两侧的开口内部的电动推杆6输出端带动顶部的螺丝做高度调节,以适配不同高度的下模具5,通过手动拧动两侧的螺母7使得螺母7在螺丝上下移,同时下移到合适位置时,螺母7下表面与下模具5上表面相贴合,大大提高了设备的灵活性,同时使得安装下模具5时能够更加的牢固与稳定。
上模具4底部四周固定连接有限位杆11,下模具5上表面开设有与限位杆11插接的限位孔,通过设置的限位杆11能够有效在进行合模时起到定位作用,避免上模具4与下模具5之间出现细微偏差,同时限位杆11与限位孔插接,使得上模具4与下模具5进行合模时能够提高稳定性。
基座1内底部固定连接有阻尼器9,阻尼器9外部套设有减震弹簧10,阻尼器9另一端贯穿基座1与下模具5固定连接,阻尼器9设置有若干个,通过设置若干个阻尼器9贯穿基座1上表面,且阻尼器9与减震弹簧10之间相配合,使得能够对上模具4进行下压时,起到缓冲减震的效果,提高上模具4和下模具5受到挤压的平稳性。
下模具5内部开设有冷凝槽8,冷凝槽8呈口型分布,通过设置的冷凝槽8内部接通有导管,导管与外部水泵以及冷凝水箱相连通,同时冷凝槽8呈口型分布,使得能够对下模具5内部进行均匀且快速的冷却效果,大大提高了模具成型的时间,从而提高了生产效率。
上模具4顶部固定连接有伸缩杆16,伸缩杆16的另一端固定连接在盖板17底部,通过设置的伸缩杆16以提高气缸3带动上模具4下压时的稳定性,从而便于合模。
工作原理:首先,通过基座1两侧的开口内部的电动推杆6输出端带动顶部的螺丝做高度调节,以适配不同高度的下模具5,通过手动拧动两侧的螺母7使得螺母7在螺丝上下移,同时下移到合适位置时,螺母7下表面与下模具5上表面相贴合,大大提高了设备的灵活性,同时使得安装下模具5时能够更加的牢固与稳定,然后,通过设置的架体2顶部为开口状,设置的气缸3输出端带动上模具4进行下压,以配合后期的合模加工,通过设置的滑块14呈T形,同时滑块14与架体2内壁的滑槽13滑动连接,使得滑动得更加稳定与牢固,通过设置的螺纹杆12贯穿上模具4,且螺纹杆12设于上模具4滑腔的内部,通过根据架体2的面积,水平方向拨动螺纹杆12移动,使得支板同步移动,调节支板的大小,当调整至合适位置时,将支板外壁的滑块14插入架体2内壁的滑槽13内部,气缸3远离上模具4的一端固定连接有盖板17,盖板17面积覆盖架体2顶部,手动拧动螺纹杆12两端的限位环15,与滑块14之间相配合以实现对上模具4的组装牢固,通过上模具4顶部的注塑管配合后期的送料,完成加工,结构简单且易操作,节省了生产成本且牢固性高。
对所公开的实施例的上述说明,使本领域专业技术人员能够实现或使用本实用新型。对这些实施例的多种修改对本领域的专业技术人员来说将是显而易见的,本文中所定义的一般原理可以在不脱离本实用新型的精神或范围的情况下,在其它实施例中实现。因此,本实用新型将不会被限制于本文所示的这些实施例,而是要符合与本文所公开的原理和新颖特点相一致的最宽的范围。

Claims (6)

1.一种组装牢固的塑料外壳用注塑模具,其特征在于:包括底座,所述底座上表面固定连接有架体(2),所述底座上固定连接有角码,所述角码另一侧固定连接于架体(2)外壁,所述角码沿着架体(2)中轴线呈对称分布,所述架体(2)内部设有上模具(4),所述上模具(4)顶部固定连接有气缸(3),所述上模具(4)内部有螺纹杆(12),且螺纹杆(12)贯穿上模具(4)两侧外壁,所述上模具(4)内部开设有滑腔,所述螺纹杆(12)设于滑腔内部,所述螺纹杆(12)外表面固定连接有支板,所述支板另一端贯穿上模具(4),所述架体(2)内壁开设有滑槽(13),所述滑槽(13)底部固定连接有限位块,所述支板靠近滑槽(13)的一侧设有滑块(14),所述滑块(14)呈T形,所述滑块(14)顶部与滑槽(13)滑动连接,所述螺纹杆(12)两端均螺纹连接有限位环(15),所述限位环(15)面积大于滑腔面积,所述限位环(15)内壁与上模具(4)外壁相贴合,所述上模具(4)顶部连通有注塑管。
2.根据权利要求1所述的一种组装牢固的塑料外壳用注塑模具,其特征在于:所述底座上表面固定连接有基座(1),所述基座(1)上表面设有下模具(5),所述基座(1)两侧均开设有开口,所述基座(1)内部转动连接有电动推杆(6),所述电动推杆(6)设于开口内部,所述电动推杆(6)顶部固定连接有螺丝,所述螺丝上螺纹连接有螺母(7),所述螺母(7)沿着基座(1)中轴线呈对称分布。
3.根据权利要求2所述的一种组装牢固的塑料外壳用注塑模具,其特征在于:所述上模具(4)底部四周固定连接有限位杆(11),所述下模具(5)上表面开设有与限位杆(11)插接的限位孔。
4.根据权利要求2所述的一种组装牢固的塑料外壳用注塑模具,其特征在于:所述基座(1)内底部固定连接有阻尼器(9),所述阻尼器(9)外部套设有减震弹簧(10),所述阻尼器(9)另一端贯穿基座(1)与下模具(5)固定连接,所述阻尼器(9)设置有若干个。
5.根据权利要求2所述的一种组装牢固的塑料外壳用注塑模具,其特征在于:所述下模具(5)内部开设有冷凝槽(8),所述冷凝槽(8)呈口型分布。
6.根据权利要求1所述的一种组装牢固的塑料外壳用注塑模具,其特征在于:所述上模具(4)顶部固定连接有伸缩杆(16)。
CN202222299893.7U 2022-08-30 2022-08-30 一种组装牢固的塑料外壳用注塑模具 Expired - Fee Related CN218196645U (zh)

Priority Applications (1)

Application Number Priority Date Filing Date Title
CN202222299893.7U CN218196645U (zh) 2022-08-30 2022-08-30 一种组装牢固的塑料外壳用注塑模具

Applications Claiming Priority (1)

Application Number Priority Date Filing Date Title
CN202222299893.7U CN218196645U (zh) 2022-08-30 2022-08-30 一种组装牢固的塑料外壳用注塑模具

Publications (1)

Publication Number Publication Date
CN218196645U true CN218196645U (zh) 2023-01-03

Family

ID=84629438

Family Applications (1)

Application Number Title Priority Date Filing Date
CN202222299893.7U Expired - Fee Related CN218196645U (zh) 2022-08-30 2022-08-30 一种组装牢固的塑料外壳用注塑模具

Country Status (1)

Country Link
CN (1) CN218196645U (zh)

Similar Documents

Publication Publication Date Title
CN212042605U (zh) 一种方便使用的长寿型铸造模具
CN208410549U (zh) 一种高效散热的注塑模具
CN213733125U (zh) 一种具有散热功能的注塑模具
CN218196645U (zh) 一种组装牢固的塑料外壳用注塑模具
CN211915213U (zh) 一种便于拆装的铝型材模具
CN211542145U (zh) 一种高效的全自动气缸机壳脱模模具
CN207859418U (zh) 一种玩具车轮注塑模具
CN113103520B (zh) 一种便于取料的精密注塑模具
CN217831531U (zh) 一种设备结构用零件批量生产机械模具
CN215587821U (zh) 精密可调的封严环成型装置
CN209077753U (zh) 一种端子头接线片成型模具
CN221968737U (zh) 一种冷柜内胆的自动开模模具
CN221659949U (zh) 一种安装结构件
CN220497724U (zh) 一种热管散热器翅片加工用模具
CN208628411U (zh) 一种用于生产行星减速电机齿轮模具
CN210758770U (zh) 一种塑料瓶盖生产用薄壁塑料挤压模具
CN221701371U (zh) 一种便于更换操作的玻璃器皿成型模具
CN216100110U (zh) 一种模具高精度安装机构
CN221677866U (zh) 塑胶模具的定模限位底座
CN220862374U (zh) 一种带有挤压成型功能的模具
CN212241940U (zh) 一种塑料隔热型材注塑模具
CN218532550U (zh) 一种空调金属配件冲压机床
CN221756680U (zh) 一种汽车尾灯注塑模具
CN220742101U (zh) 一种led灯罩生产吹塑模具
CN221497057U (zh) 一种模坯为铝料刀口镶嵌用钢料的吹塑模具

Legal Events

Date Code Title Description
GR01 Patent grant
GR01 Patent grant
CF01 Termination of patent right due to non-payment of annual fee

Granted publication date: 20230103