CN218190913U - 带计量装置的智能环保筛分机 - Google Patents
带计量装置的智能环保筛分机 Download PDFInfo
- Publication number
- CN218190913U CN218190913U CN202222103872.3U CN202222103872U CN218190913U CN 218190913 U CN218190913 U CN 218190913U CN 202222103872 U CN202222103872 U CN 202222103872U CN 218190913 U CN218190913 U CN 218190913U
- Authority
- CN
- China
- Prior art keywords
- wall
- weighing
- box
- screening
- fixed
- Prior art date
- Legal status (The legal status is an assumption and is not a legal conclusion. Google has not performed a legal analysis and makes no representation as to the accuracy of the status listed.)
- Active
Links
- 238000012216 screening Methods 0.000 title claims abstract description 87
- 238000005303 weighing Methods 0.000 claims abstract description 77
- 239000000428 dust Substances 0.000 claims description 57
- 239000002245 particle Substances 0.000 claims description 8
- 230000001681 protective effect Effects 0.000 claims description 7
- 239000000463 material Substances 0.000 abstract description 32
- 230000007613 environmental effect Effects 0.000 abstract description 8
- 230000007306 turnover Effects 0.000 abstract description 5
- 238000007873 sieving Methods 0.000 abstract 1
- 239000004744 fabric Substances 0.000 description 6
- 238000013475 authorization Methods 0.000 description 2
- 238000001914 filtration Methods 0.000 description 2
- 239000008187 granular material Substances 0.000 description 2
- 239000013590 bulk material Substances 0.000 description 1
- 238000010276 construction Methods 0.000 description 1
- 238000010586 diagram Methods 0.000 description 1
- 239000013070 direct material Substances 0.000 description 1
- 230000000694 effects Effects 0.000 description 1
- 239000002994 raw material Substances 0.000 description 1
Images
Landscapes
- Combined Means For Separation Of Solids (AREA)
Abstract
本实用新型公开了带计量装置的智能环保筛分机,包括筛分箱,筛分箱顶部的外壁上通过螺栓固定有料斗,且料斗的内壁上通过轴承转动连接有转轴,转轴顶部的外壁上通过螺栓固定有称重板,称重板顶部的外壁上设置有第一压力传感器,且第一称重框顶部的外壁上设置有第一称重框,料斗一侧的外壁上通过螺栓固定有防护盒,且转轴位于防护盒内部的一端通过螺栓固定有齿轮。本实用新型第一重量传感器能够对第一称重框内部的未筛分的物料进行称重,第二重量传感器能够对第二称重框筛分后的物料进行称重,可以通过物料进出料重量差可以有效评估筛分效率,称重结束后,控制器能够开启液压缸,使液压缸推动齿板移动与齿轮啮合。
Description
技术领域
本实用新型涉及筛分机技术领域,具体涉及带计量装置的智能环保筛分机。
背景技术
碎散物料通过一层或数层筛面被分为不同粒级的过程称为筛分,筛分机是利用散粒物料与筛面的相对运动,使部分颗粒透过筛孔,将物料按颗粒大小分成不同级别的振动筛分机械设备。
筛分效率是筛子工作质量的一个指标,表示筛分作业进行的程度和筛分产品的质量。筛分效率通常用筛分时所得到的筛下产物的质量与原物料中所含小于筛孔尺寸的粒级的质量之比并用百分数来表示。理想的筛分效率是比筛孔小的颗粒都能透过筛孔,进人筛下,成为筛下物;而大于筛孔的颗粒则都留在筛上,成为筛上物。
如授权公告号为CN211160623U,授权公告日为2020.08.04的一种振动筛分机,包括:内部中空的筛分机本体,所述筛分机本体的侧面开口、内部自上而下依次设置有若干可拆卸筛板,所述筛分机本体外部上端设置有第一门板,所述第一门板通过若干第一连接件与所述筛分机本体连接,所述筛分机本体的侧面开口处设置有第二门板,所述第二门板通过若干第二连接件与所述筛分机本体连接;若干固定螺丝杆,所述若干固定螺丝杆自上而下依次穿过所述第一门板、所述筛分机本体的上表面、所述筛板以及所述筛分机本体的下表面;支撑机架,所述支撑机架安装于所述筛分机本体下方。
上述以及在现有技术中的筛分机,对物料筛分时,不方便直接对筛分前和筛分后的物料进行称重,还需在称重设备称重后倒入筛分箱,进一步的也导致不方便根据物料进出料重量差有效评估筛分效率,不能满足使用的需求。
实用新型内容
本实用新型的目的是提供带计量装置的智能环保筛分机,以解决现有技术中的上述不方便直接对筛分前和筛分后的物料进行称重的不足之处。
为了实现上述目的,本实用新型提供如下技术方案:带计量装置的智能环保筛分机,包括筛分箱,所述筛分箱顶部的外壁上通过螺栓固定有料斗,且料斗的内壁上通过轴承转动连接有转轴,所述转轴顶部的外壁上通过螺栓固定有称重板,所述称重板顶部的外壁上设置有第一重量传感器,且第一称重框顶部的外壁上设置有第一称重框,所述料斗一侧的外壁上通过螺栓固定有防护盒,且转轴位于防护盒内部的一端通过螺栓固定有齿轮,所述防护盒一侧的外壁上通过螺栓固定有液压缸,且液压缸的输出端上通过螺栓固定有齿板,所述齿板与齿轮互相啮合,所述筛分箱一侧的外壁上通过螺栓固定有称重座,且称重座的顶部设置有第二重量传感器,所述第二重量传感器的顶部设置有第二称重框,所述筛分箱一侧的外壁上分别通过螺栓固定有控制器和显示器,且显示器和液压缸通过导线与控制器呈电性连接,所述第一重量传感器和第二重量传感器均通过导线与显示器成电性连接。
进一步的,所述筛分箱顶部的外壁上通过螺栓固定有风机,且风机顶部的外壁上通过螺栓固定有除尘座,所述筛分箱一侧的外壁上通过螺栓固定有与除尘座相连接的除尘盒。
进一步的,所述除尘盒底部的外壁上开设有出风口,且除尘盒的内壁上通过螺栓固定有滤网。
进一步的,所述除尘座的内部插放有集尘盒,且集尘盒的内部开设有活动槽。
进一步的,所述活动槽的内部滑动连接有固定块,且除尘座的内部开设有固定槽,所述固定块插接在固定槽的内部。
进一步的,两个所述固定块的外壁上设置有弹簧,且固定块一侧的外壁上设置有推块。
进一步的,所述筛分箱的内壁上通过螺栓固定有筛网,且筛网底部的外壁上通过螺栓固定有震动电机,所述筛分箱底部的外壁上开设有小颗粒出口。
在上述技术方案中,本实用新型提供的带计量装置的智能环保筛分机,(1)通过设置的料斗、转轴、称重板、第一重量传感器、第一称重框、称重座、第二重量传感器和第二称重框、齿轮、液压缸、齿板和防护盒,第一重量传感器能够对第一称重框内部的未筛分的物料进行称重,第二重量传感器能够对第二称重框筛分后的物料进行称重,可以通过物料进出料重量差可以有效评估筛分效率;称重结束后,控制器能够开启液压缸,使液压缸推动齿板移动与齿轮啮合,能够使齿轮带动转轴、称重板、第一重量传感器和第一称重框翻转,能够将第一称重框内部的物料倒入到筛分箱的内部,非常的智能化,更加的方便;(2)通过设置的除尘座、风机、除尘盒、滤网、出风口和集尘盒,风机将筛分箱内部的灰尘抽入到除尘座的内部,经滤网的过滤后在排出,能够防止灰尘直接排出到空气中造成污染;(3)通过设置的固定块、固定槽、推块、弹簧和活动槽,推动推块带动固定块远离固定槽的内部,向除尘座的外部拉动除尘盒,能够对除尘盒从除尘座的内部拆掉将过滤掉的灰尘倒出,非常的实用。
附图说明
为了更清楚地说明本申请实施例或现有技术中的技术方案,下面将对实施例中所需要使用的附图作简单地介绍,显而易见地,下面描述中的附图仅仅是本实用新型中记载的一些实施例,对于本领域普通技术人员来讲,还可以根据这些附图获得其他的附图。
图1为本实用新型带计量装置的智能环保筛分机实施例提供的立体结构示意图。
图2为本实用新型带计量装置的智能环保筛分机实施例提供的内部侧视结构示意图。
图3为本实用新型带计量装置的智能环保筛分机实施例提供的防尘结构示意图。
图4为本实用新型带计量装置的智能环保筛分机实施例提供的集尘盒固定结构示意图。
附图标记说明:
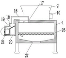
1筛分箱、2料斗、3转轴、4称重板、5第一重量传感器、6第一称重框、7齿轮、8液压缸、9齿板、10防护盒、11称重座、12第二重量传感器、13第二称重框、14控制器、15显示器、16除尘座、17风机、18除尘盒、19滤网、20出风口、21集尘盒、22固定块、23固定槽、24推块、25弹簧、26筛网、27小颗粒出口、28活动槽、29震动电机。
具体实施方式
为了使本领域的技术人员更好地理解本实用新型的技术方案,下面将结合附图对本实用新型作进一步的详细介绍。
如图1-4所示,本实用新型实施例提供的带计量装置的智能环保筛分机,包括筛分箱1,筛分箱1顶部的外壁上通过螺栓固定有料斗2,且料斗2的内壁上通过轴承转动连接有转轴3,转轴3顶部的外壁上通过螺栓固定有称重板4,称重板4顶部的外壁上设置有第一重量传感器5,且第一称重框6顶部的外壁上设置有第一称重框6,料斗2一侧的外壁上通过螺栓固定有防护盒10,且转轴3位于防护盒10内部的一端通过螺栓固定有齿轮7,防护盒10一侧的外壁上通过螺栓固定有液压缸8,且液压缸8的输出端上通过螺栓固定有齿板9,齿板9与齿轮7互相啮合,筛分箱1一侧的外壁上通过螺栓固定有称重座11,且称重座11的顶部设置有第二重量传感器12,第二重量传感器12的顶部设置有第二称重框13,筛分箱1一侧的外壁上分别通过螺栓固定有控制器14和显示器15,且显示器15和液压缸8通过导线与控制器14呈电性连接,第一重量传感器5和第二重量传感器12均通过导线与显示器15成电性连接,第一重量传感器5对第一称重框6内部未筛分的物料称重,通过显示器15显示第一重量传感器5的重量数据,第二重量传感器12能够对第二称重框13内部的筛分后的物料进行称重,通过显示器15显示出来物料筛分前后的重量数差可以有效评估筛分效率。
有益效果:第一重量传感器5能够对第一称重框6内部的未筛分的物料进行称重,第二重量传感器12能够对第二称重框13筛分后的物料进行称重,可以通过物料进出料重量差可以有效评估筛分效率,称重结束后,控制器14能够开启液压缸8,使液压缸8推动齿板9移动与齿轮7啮合,能够使齿轮7带动转轴3、称重板4、第一重量传感器5和第一称重框6翻转,能够将第一称重框6内部的物料倒入到筛分箱1的内部,非常的智能化,更加的方便。
本实用新型提供的另一个实施例中,如图1和图3所示的,筛分箱1顶部的外壁上通过螺栓固定有风机17,且风机17顶部的外壁上通过螺栓固定有除尘座16,筛分箱1一侧的外壁上通过螺栓固定有与除尘座16相连接的除尘盒18,风机17能够将筛分箱1内部的灰尘抽入到除尘盒18的内部经滤网19过滤后再排出。
本实用新型提供的另一个实施例中,如图3所示的,除尘盒18底部的外壁上开设有出风口20,且除尘盒18的内壁上通过螺栓固定有滤网19,滤网19能够对灰尘进行过滤。
本实用新型提供的另一个实施例中,如图3和图4所示的,除尘座16的内部插放有集尘盒21,且集尘盒21的内部开设有活动槽28,集尘盒21能够对滤网19过滤掉的灰尘进行统一收集。
本实用新型提供的另一个实施例中,如图3和图4所示的,活动槽28的内部滑动连接有固定块22,且除尘座16的内部开设有固定槽23,固定块22插接在固定槽23的内部,能够对除尘盒18进行固定。
本实用新型提供的另一个实施例中,如图3和图4所示的,两个固定块22的外壁上设置有弹簧25,且固定块22一侧的外壁上设置有推块24。
本实用新型提供的另一个实施例中,如图1、2和图3所示的,筛分箱1的内壁上通过螺栓固定有筛网26,且筛网26底部的外壁上通过螺栓固定有震动电机29,筛分箱1底部的外壁上开设有小颗粒出口27,震动电机29能够对筛网26产生震动,能够加快对物料的筛分。
工作原理:该带计量装置的智能环保筛分机使用时,将物料从料斗2倒入到第一称重框6的内部,第一重量传感器5对未筛分的物料称重,通过显示器15显示第一重量传感器5的重量数据,控制器14接收到显示器15显示的信号后启动液压缸8,使液压缸8带动齿板9移动与齿轮7啮合,能够使齿轮7带动转轴3、称重板4、第一重量传感器5和第一称重框6翻转,能够将第一称重框6内部的物料倒入到筛分箱1的内部,非常的智能化,物料下落至筛网26上,震动电机29对筛网26产生震动,能够对物料进行筛分,较小颗粒的物料通过小颗粒出口27下落,合格的物料顺着筛网26滑落至第二称重框13的内部,第二重量传感器12能够对第二称重框13内部的筛分后的物料进行称重,通过显示器15显示出来重量数,可以通过物料进出料重量差可以有效评估筛分效率,风机17将筛分过程中产生的灰尘抽入到除尘盒18的内部经滤网19的过滤后经出风口20排出,能够防止灰尘直接排出污染空气,过滤掉的灰尘顺着滤网19滑入到集尘盒21的内部,推动推块24带动固定块22远离固定槽23的内部,向除尘盒18的外部拉动集尘盒21,将集尘盒21内部的灰尘倒出即可。
以上只通过说明的方式描述了本实用新型的某些示范性实施例,毋庸置疑,对于本领域的普通技术人员,在不偏离本实用新型的精神和范围的情况下,可以用各种不同的方式对所描述的实施例进行修正。因此,上述附图和描述在本质上是说明性的,不应理解为对本实用新型权利要求保护范围的限制。
Claims (7)
1.带计量装置的智能环保筛分机,包括筛分箱(1),其特征在于,所述筛分箱(1)顶部的外壁上通过螺栓固定有料斗(2),且料斗(2)的内壁上通过轴承转动连接有转轴(3),所述转轴(3)顶部的外壁上通过螺栓固定有称重板(4),所述称重板(4)顶部的外壁上设置有第一重量传感器(5),且第一称重框(6)顶部的外壁上设置有第一称重框(6),所述料斗(2)一侧的外壁上通过螺栓固定有防护盒(10),且转轴(3)位于防护盒(10)内部的一端通过螺栓固定有齿轮(7),所述防护盒(10)一侧的外壁上通过螺栓固定有液压缸(8),且液压缸(8)的输出端上通过螺栓固定有齿板(9),所述齿板(9)与齿轮(7)互相啮合,所述筛分箱(1)一侧的外壁上通过螺栓固定有称重座(11),且称重座(11)的顶部设置有第二重量传感器(12),所述第二重量传感器(12)的顶部设置有第二称重框(13),所述筛分箱(1)一侧的外壁上分别通过螺栓固定有控制器(14)和显示器(15),且显示器(15)和液压缸(8)通过导线与控制器(14)呈电性连接,所述第一重量传感器(5)和第二重量传感器(12)均通过导线与显示器(15)成电性连接。
2.根据权利要求1所述的带计量装置的智能环保筛分机,其特征在于,所述筛分箱(1)顶部的外壁上通过螺栓固定有风机(17),且风机(17)顶部的外壁上通过螺栓固定有除尘座(16),所述筛分箱(1)一侧的外壁上通过螺栓固定有与除尘座(16)相连接的除尘盒(18)。
3.根据权利要求2所述的带计量装置的智能环保筛分机,其特征在于,所述除尘盒(18)底部的外壁上开设有出风口(20),且除尘盒(18)的内壁上通过螺栓固定有滤网(19)。
4.根据权利要求3所述的带计量装置的智能环保筛分机,其特征在于,所述除尘座(16)的内部插放有集尘盒(21),且集尘盒(21)的内部开设有活动槽(28)。
5.根据权利要求4所述的带计量装置的智能环保筛分机,其特征在于,所述活动槽(28)的内部滑动连接有固定块(22),且除尘座(16)的内部开设有固定槽(23),所述固定块(22)插接在固定槽(23)的内部。
6.根据权利要求5所述的带计量装置的智能环保筛分机,其特征在于,两个所述固定块(22)的外壁上设置有弹簧(25),且固定块(22)一侧的外壁上设置有推块(24)。
7.根据权利要求1所述的带计量装置的智能环保筛分机,其特征在于,所述筛分箱(1)的内壁上通过螺栓固定有筛网(26),且筛网(26)底部的外壁上通过螺栓固定有震动电机(29),所述筛分箱(1)底部的外壁上开设有小颗粒出口(27)。
Priority Applications (1)
| Application Number | Priority Date | Filing Date | Title |
|---|---|---|---|
| CN202222103872.3U CN218190913U (zh) | 2022-08-11 | 2022-08-11 | 带计量装置的智能环保筛分机 |
Applications Claiming Priority (1)
| Application Number | Priority Date | Filing Date | Title |
|---|---|---|---|
| CN202222103872.3U CN218190913U (zh) | 2022-08-11 | 2022-08-11 | 带计量装置的智能环保筛分机 |
Publications (1)
| Publication Number | Publication Date |
|---|---|
| CN218190913U true CN218190913U (zh) | 2023-01-03 |
Family
ID=84655216
Family Applications (1)
| Application Number | Title | Priority Date | Filing Date |
|---|---|---|---|
| CN202222103872.3U Active CN218190913U (zh) | 2022-08-11 | 2022-08-11 | 带计量装置的智能环保筛分机 |
Country Status (1)
| Country | Link |
|---|---|
| CN (1) | CN218190913U (zh) |
Cited By (1)
| Publication number | Priority date | Publication date | Assignee | Title |
|---|---|---|---|---|
| CN120307474A (zh) * | 2025-06-18 | 2025-07-15 | 赣州研创电子科技有限公司 | 一种介电陶瓷材料料浆制备加工处理装置 |
-
2022
- 2022-08-11 CN CN202222103872.3U patent/CN218190913U/zh active Active
Cited By (1)
| Publication number | Priority date | Publication date | Assignee | Title |
|---|---|---|---|---|
| CN120307474A (zh) * | 2025-06-18 | 2025-07-15 | 赣州研创电子科技有限公司 | 一种介电陶瓷材料料浆制备加工处理装置 |
Similar Documents
| Publication | Publication Date | Title |
|---|---|---|
| CN213467968U (zh) | 一种高效重晶石研磨机 | |
| CN218190913U (zh) | 带计量装置的智能环保筛分机 | |
| CN213913984U (zh) | 一种路桥施工用的物料破碎筛分装置 | |
| CN214718208U (zh) | 一种岩屑加工用滚筛 | |
| CN219663837U (zh) | 一种化工破碎机 | |
| CN220532204U (zh) | 一种细沙回收装置 | |
| CN215541270U (zh) | 一种建筑废弃物再生用破碎筛分一体装置 | |
| CN209549945U (zh) | 一种单层多级筛分的筛分机 | |
| CN217856371U (zh) | 粉末涂料用研磨设备的过滤装置 | |
| CN216181902U (zh) | 一种塑料颗粒生产用筛选装置 | |
| CN215277774U (zh) | 一种农业加工用物料收集粉碎装置 | |
| CN212702959U (zh) | 一种用于机制白砂生产的分级筛振进料装置 | |
| CN212362612U (zh) | 一种带除杂功能的颗粒烘干装置 | |
| CN113058849B (zh) | 一种咖啡豆粉碎用自动过滤称量设备 | |
| CN207951592U (zh) | 一种新型滚动式筛砂机 | |
| CN215197239U (zh) | 一种煤矿开采用的煤炭筛选装置 | |
| CN221537270U (zh) | 一种固废分离处理装置 | |
| CN219441833U (zh) | 一种西药生产用原料生产过滤系统 | |
| CN218531097U (zh) | 一种载带生产过程中废料收集装置 | |
| CN223209960U (zh) | 一种瓷土加工用除杂筛分装置 | |
| CN215315710U (zh) | 一种粉末冶金制粉装置 | |
| CN221208230U (zh) | 一种橡胶粉碎用多级粉碎机 | |
| CN221085751U (zh) | 一种宠物食品生产用抛光精细研磨设备 | |
| CN217341582U (zh) | 一种自动清洁防堵塞的铝型材生产用冷却球磨筛分机 | |
| CN218610367U (zh) | 一种大米深加工用碎米筛分装置 |
Legal Events
| Date | Code | Title | Description |
|---|---|---|---|
| GR01 | Patent grant | ||
| GR01 | Patent grant |