CN218180197U - Rotor dynamic balancing machine - Google Patents
Rotor dynamic balancing machine Download PDFInfo
- Publication number
- CN218180197U CN218180197U CN202222494323.3U CN202222494323U CN218180197U CN 218180197 U CN218180197 U CN 218180197U CN 202222494323 U CN202222494323 U CN 202222494323U CN 218180197 U CN218180197 U CN 218180197U
- Authority
- CN
- China
- Prior art keywords
- sets
- groups
- rotor
- balancing machine
- dynamic balancing
- Prior art date
- Legal status (The legal status is an assumption and is not a legal conclusion. Google has not performed a legal analysis and makes no representation as to the accuracy of the status listed.)
- Active
Links
- 239000004677 Nylon Substances 0.000 claims abstract description 9
- 229920001778 nylon Polymers 0.000 claims abstract description 9
- 238000009434 installation Methods 0.000 claims 1
- 230000000149 penetrating effect Effects 0.000 claims 1
- 238000003466 welding Methods 0.000 abstract description 6
- 230000009286 beneficial effect Effects 0.000 abstract description 2
- 239000000428 dust Substances 0.000 description 7
- 239000012535 impurity Substances 0.000 description 7
- 230000008901 benefit Effects 0.000 description 4
- 238000004140 cleaning Methods 0.000 description 3
- 230000001360 synchronised effect Effects 0.000 description 3
- 230000000694 effects Effects 0.000 description 2
- 238000007689 inspection Methods 0.000 description 2
- 238000000034 method Methods 0.000 description 2
- 230000004048 modification Effects 0.000 description 2
- 238000012986 modification Methods 0.000 description 2
- 241000883990 Flabellum Species 0.000 description 1
- 230000009471 action Effects 0.000 description 1
- 238000010009 beating Methods 0.000 description 1
- 230000005540 biological transmission Effects 0.000 description 1
- 238000010586 diagram Methods 0.000 description 1
- 238000001125 extrusion Methods 0.000 description 1
- 230000003993 interaction Effects 0.000 description 1
- 230000009191 jumping Effects 0.000 description 1
- 239000011133 lead Substances 0.000 description 1
- 238000004519 manufacturing process Methods 0.000 description 1
- 230000008569 process Effects 0.000 description 1
Images
Landscapes
- Testing Of Balance (AREA)
Abstract
The utility model discloses a rotor dynamic balancing machine, the on-line screen storage device comprises a base, the upper portion welding of base has two sets of mounting panels, and is two sets of the welding has two sets of guide arms between the mounting panel, and is two sets of the fixed cover of lateral wall of guide arm has connect the fixed plate, and is two sets of first slide and two sets of second slide have been cup jointed in the lateral wall slip of guide arm, and are two sets of V word groove has all been seted up on the upper portion of first slide, and is two sets of nylon block, four sets of are provided with the rotor on the upper portion of nylon block, and are two sets of first slide and two sets of the locating plate has all been welded to one side of second slide, and four sets of the equal screw thread in upper portion of locating plate runs through there is mounting bolt, built-in groove has been seted up on the upper portion of fixed plate. Has the beneficial effects that: the utility model discloses a rotatory pipe, through the rotatory pipe that sets up, possess the structure of tightening, can make belt and rotor in close contact with, bring a guarantee for the use of rotor dynamic balancing machine.
Description
Technical Field
The utility model relates to a rotor test technical field particularly, relates to a rotor dynamic balancing machine.
Background
The rotor is the rotator that is supported by the bearing, mostly is the main rotating part in power machinery and the working machine, and the rotor processing back that finishes needs to detect the key parameter of rotor, uses rotor dynamic balancing machine now more, accomplishes and beats and balanced inspection, and the actual use rotor dynamic balancing machine has advantages such as easy operation, stable in structure, detect accurate and long service life.
The prior art discloses the patent numbers as follows: CN203688158U is used for measuring the balanced dynamic balancing machine of rotor, drives the rotor rotation through the belt transmission of engine drive, with the test equipment that beats again, realizes the inspection of beating of rotor.
However, the existing rotor dynamic balancing machine needs to use a belt to drive the rotor, so that the rotor performs rotary motion, and has no tightening structure, when the cross section size of the rotor is small, the belt cannot be in close contact with the rotor, the rotor cannot be continuously driven to rotate under the condition, and hidden dangers are brought to the use of the rotor dynamic balancing machine.
An effective solution to the problems in the related art has not been proposed yet.
SUMMERY OF THE UTILITY MODEL
Technical problem to be solved
The utility model provides a not enough to prior art, the utility model provides a rotor dynamic balancing machine possesses the structure of tightening, can make belt and rotor in close contact with's advantage, and then solves the problem among the above-mentioned background art.
(II) technical scheme
Possess the structure of tightening for realizing the aforesaid, can make belt and rotor in close contact with's advantage, the utility model discloses a concrete technical scheme as follows:
the utility model provides a rotor dynamic balancing machine, includes the base, the upper portion welding of base has two sets of mounting panels, and is two sets of the welding has two sets of guide arms between the mounting panel, and is two sets of the fixed plate has been cup jointed to the lateral wall of guide arm, and is two sets of first slide and two sets of second slide, and are two sets of V word groove has all been seted up on the upper portion of first slide, and is two sets of nylon blocks, four sets of are all installed to the inside in V word groove the upper portion of nylon block is provided with the rotor, and is two sets of first slide and two sets of one side of second slide has all welded the locating plate, and four sets of the equal screw thread in upper portion of locating plate has run through mounting bolt, built-in groove has been seted up on the upper portion of fixed plate, the motor is installed to one side of fixed plate, and the output tip of motor runs through one side of fixed plate, rotatory flabellum is installed to the side of fixed plate, the output lateral wall of motor has cup jointed the belt, the inside in built-in groove is provided with two sets of rotatory pipe, and two sets of the inside ball socket has all run through the ball socket through the logical groove, two sets of the both ends of ball socket are provided with the ball socket inner wall of the ball socket.
Furthermore, the two groups of adjusting screws are matched with the four groups of mounting nuts through threads.
Further, the cross-sectional dimension of the openings of the ball sockets of the multiple groups is smaller than the maximum cross-sectional dimension of the balls of the multiple groups.
Further, the welding of the upper portion of base has filter screen plate, and one side of filter screen plate runs through there is the bearing, and the inside of bearing runs through there is the rotation axis to the fixed cover of lateral wall of rotation axis has connect the second gear, the fixed cover of output lateral wall of motor has connected first gear, the welding of one side of filter screen plate has filter screen cover.
Further, the first gear and the second gear are meshed with each other.
Furthermore, a jumping detector is mounted on the upper portion of the base.
Further, control panel and supply socket are installed to one side of base, control panel passes through electric wire and supply socket and motor electric connection.
Furthermore, four groups of supporting seats are welded on the lower portion of the base.
(III) advantageous effects
Compared with the prior art, the utility model provides a rotor dynamic balancing machine possesses following beneficial effect:
(1) The utility model discloses a rotating tube, in-service use rotor dynamic balancing machine, the operation workman moves the rotor with the hand, the portion of encirclement that the belt was run through to the one end that makes the rotor, keep away from two sets of adjusting screw each other again, drive two sets of rotating tube respectively and be synchronous motion, when the belt is tightened, utilize two sets of adjusting screw and four group's mounting nut screw-thread to mutually support, the operation workman is with the hand in the same direction as, counter-clockwise turning four group's mounting nut, when the both sides in close contact with of four group's mounting nut and fixed plate, the service position of two sets of rotating tubes is fixed, utilize control panel this moment, make the motor start during operation, the output of motor can drive the belt and remove, the belt drives two sets of rotating tubes rotatoryly, this in-process, the multiunit ball receives the frictional force effect, roll in the inside of multiunit ball socket respectively, because the surface of multiunit ball is smooth, can reduce the frictional resistance of two sets of rotating tubes and two sets of adjusting screw, through the rotating tube that sets up, possess the structure of tightening, can make belt and rotor in close contact with the rotor, bring a guarantee for the use of rotor dynamic balancing machine.
(2) The utility model discloses a rotating fan blade, according to the above-mentioned operation can be known, when the output of motor is rotatory, can drive first gear and be synchronous revolution, utilize first gear and second gear intermeshing, first gear can promote the second gear rotatory, when the rotation axis drives rotating fan blade and carries out rotary motion, the mobile air of production can move with the rotor towards the belt, can blow away the dust and the impurity on rotor and belt surface, avoid belt and rotor extrusion dust and impurity, lead to belt and rotor to damage, filter plate and filter screen cover are under the condition that does not hinder rotating fan blade to use, can avoid foreign object contact rotating fan blade, rotating fan blade through setting up, need not to install electronic cleaning equipment, just can clear away the dust and the impurity on rotor and belt surface, bring a guarantee for the protection work of rotor dynamic balancing machine rotor and belt.
Drawings
In order to more clearly illustrate the embodiments of the present invention or the technical solutions in the prior art, the drawings required to be used in the embodiments will be briefly described below, it is obvious that the drawings in the following description are only some embodiments of the present invention, and it is obvious for those skilled in the art that other drawings can be obtained according to the drawings without creative efforts.
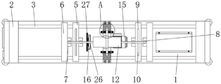
Fig. 1 is a schematic structural diagram of a rotor dynamic balancing machine provided by the present invention;
fig. 2 is a schematic cross-sectional view of a rotary pipe according to the present invention;
fig. 3 is a side view of the first gear according to the present invention;
fig. 4 is a perspective view of the adjusting screw according to the present invention;
fig. 5 is an enlarged view of a in fig. 1 according to the present invention.
In the figure:
1. a base; 2. mounting a plate; 3. a guide bar; 4. a fixing plate; 5. a first slide plate; 6. a second slide plate; 7. positioning a plate; 8. installing a bolt; 9. a V-shaped groove; 10. nylon blocks; 11. a built-in groove; 12. a rotor; 13. a belt; 14. rotating the tube; 15. a motor; 16. rotating the fan blades; 17. a limiting through groove; 18. adjusting the screw rod; 19. mounting a nut; 20. a ball socket; 21. a ball bearing; 22. a first gear; 23. a bearing; 24. a rotating shaft; 25. a second gear; 26. a filter screen cover; 27. a filter screen plate.
Detailed Description
To further illustrate the various embodiments, the present invention provides the accompanying drawings, which are part of the disclosure and which are primarily intended to illustrate embodiments and, together with the description, serve to explain the principles of operation of the embodiments, and, by reference to these drawings, those of ordinary skill in the art will understand the principles of the invention and its advantages, with reference to the drawings and figures, in which elements are not drawn to scale and like elements are generally designated by like reference numerals.
According to the utility model discloses an embodiment provides a rotor dynamic balancing machine.
The invention will now be further described with reference to the accompanying drawings and specific embodiments, as shown in figures 1-5, the rotor dynamic balancing machine according to the embodiment of the utility model comprises a base 1, two groups of mounting plates 2 are welded on the upper part of the base 1, two groups of guide rods 3 are welded between the two groups of mounting plates 2, and the side walls of the two groups of guide rods 3 are fixedly sleeved with a fixed plate 4, the side walls of the two groups of guide rods 3 are slidably sleeved with two groups of first sliding plates 5 and two groups of second sliding plates 6, the upper parts of the two groups of first sliding plates 5 are provided with V-shaped grooves 9, two groups of nylon blocks 10 are arranged in the two groups of V-shaped grooves 9, the upper parts of the four groups of nylon blocks 10 are provided with rotors 12, one sides of the two groups of first sliding plates 5 and the two groups of second sliding plates 6 are welded with positioning plates 7, and the upper parts of the four positioning plates 7 are all provided with mounting bolts 8 through threads, the upper part of the fixed plate 4 is provided with a built-in groove 11, one side of the fixed plate 4 is provided with a motor 15, the end part of the output end of the motor 15 penetrates through one side of the fixed plate 4, the side of the fixed plate 4 is provided with a rotating fan blade 16, the side wall of the output end of the motor 15 is sleeved with a belt 13, two groups of rotating pipes 14 are arranged inside the built-in groove 11, adjusting screws 18 penetrate through the two groups of rotating pipes 14, limiting through grooves 17 are formed in the two sides of the inner portion of the built-in groove 11, two ends of each group of adjusting screws 18 penetrate through the two groups of limiting through grooves 17 respectively, two groups of mounting nuts 19 are sleeved on the side walls of the two groups of adjusting screws 18, a plurality of groups of ball sockets 20 are formed in the inner walls of the two groups of rotating pipes 14, and balls 21 are arranged in the ball sockets 20, the rotating pipe 14 has a tightening structure, so that the belt 13 can be in close contact with the rotor 12, and the use of the rotor dynamic balancing machine is guaranteed.
In one embodiment, the two sets of adjustment screws 18 are threadably interfitted with the four sets of mounting nuts 19 to facilitate adjustment of the position of use of the four sets of mounting nuts 19.
In one embodiment, the cross-sectional dimension at the opening of the plurality of ball sockets 20 is smaller than the maximum cross-sectional dimension of the plurality of balls 21, thereby preventing the plurality of balls 21 from falling out of the plurality of ball sockets 20.
In one embodiment, the filter screen plate 27 is welded on the upper part of the base 1, the bearing 23 penetrates through one side of the filter screen plate 27, the rotating shaft 24 penetrates through the inside of the bearing 23, the second gear 25 is fixedly sleeved on the side wall of the rotating shaft 24, the first gear 22 is fixedly sleeved on the side wall of the output end of the motor 15, the filter screen cover 26 is welded on one side of the filter screen plate 27, through the arranged rotating fan blades 16, dust and impurities on the surfaces of the rotor 12 and the belt 13 can be removed without installing an electric cleaning device, and a guarantee is brought to the protection work of the rotor 12 and the belt 13 of the rotor dynamic balancing machine.
In one embodiment, the first gear 22 and the second gear 25 are intermeshed to facilitate urging the second gear 25 to rotate.
In one embodiment, a runout detector is mounted on the upper portion of the base 1, and the runout detector can detect the number of runouts of the rotor 12.
In one embodiment, a control panel and a power socket are installed on one side of the base 1, the control panel is electrically connected with the power socket and the motor 15 through wires, and the control panel can be implemented through simple programming by a person skilled in the art, which belongs to the common knowledge in the art, and the control panel is only used without modification, so that the detailed description of the control mode and the circuit connection is omitted.
In one embodiment, four sets of supporting seats are welded on the lower portion of the base 1, and the four sets of supporting seats play a role in supporting and fixing the rotor dynamic balancing machine.
The working principle is as follows:
when the rotor dynamic balancing machine is actually used, an operator moves the rotor 12 by hand to enable one end of the rotor 12 to penetrate through the surrounding part of the belt 13 and then to be away from the two groups of adjusting screw rods 18 to respectively drive the two groups of rotating pipes 14 to do synchronous motion, when the belt 13 is tightened, the two groups of adjusting screw rods 18 are matched with the four groups of mounting nuts 19 by screw threads, the operator rotates the four groups of mounting nuts 19 clockwise and anticlockwise by hand, when the four groups of mounting nuts 19 are tightly contacted with the two sides of the fixed plate 4, the using positions of the two groups of rotating pipes 14 are fixed, at the moment, the output end of the motor 15 drives the belt 13 to move by using a control panel, the belt 13 drives the two groups of rotating pipes 14 to rotate, in the process, the plurality of groups of balls 21 roll in the insides of the plurality of groups of ball sockets 20 under the action of friction force, because the surfaces of the plurality of groups of balls 21 are smooth, the friction resistance between the two sets of rotary pipes 14 and the two sets of adjusting screws 18 can be reduced, the rotary pipes 14 are provided with a tightening structure, the belt 13 can be in close contact with the rotor 12, a guarantee is provided for the use of the rotor dynamic balancing machine, meanwhile, according to the operation, when the output end of the motor 15 rotates, the first gear 22 is driven to synchronously rotate, the first gear 22 and the second gear 25 are meshed with each other, the first gear 22 can push the second gear 25 to rotate, when the rotating shaft 24 drives the rotary fan blades 16 to rotate, the generated flowing air can move towards the belt 13 and the rotor 12, dust and impurities on the surfaces of the rotor 12 and the belt 13 can be blown away, the belt 13 and the rotor 12 are prevented from extruding the dust and impurities, the belt 13 and the rotor 12 are prevented from being damaged, the filter screen plate 27 and the filter screen cover 26 can be prevented from contacting the rotary fan blades 16 under the condition that the rotary fan blades 16 are not hindered in use, through the arranged rotating fan blades 16, dust and impurities on the surfaces of the rotor 12 and the belt 13 can be removed without installing electric cleaning equipment, and a guarantee is brought to the protection work of the rotor 12 and the belt 13 of the rotor dynamic balancing machine.
In the present invention, unless otherwise explicitly specified or limited, the terms "mounted", "disposed", "connected", "fixed", "screwed" and the like are to be understood broadly, and may be, for example, a fixed connection, a detachable connection, or an integral body; can be mechanically or electrically connected; they may be directly connected or indirectly connected through an intermediate medium, and may be connected through the inside of two elements or in an interaction relationship between two elements, unless otherwise specifically defined, and the specific meaning of the above terms in the present invention will be understood by those skilled in the art according to specific situations.
The above description is only for the preferred embodiment of the present invention, and should not be taken as limiting the invention, and any modifications, equivalent replacements, improvements, etc. made within the spirit and principle of the present invention should be included in the protection scope of the present invention.
Claims (8)
1. The rotor dynamic balancing machine is characterized by comprising a base (1), wherein two groups of mounting plates (2) are welded on the upper portion of the base (1), two groups of guide rods (3) are welded between the two groups of mounting plates (2), a fixing plate (4) is fixedly sleeved on the side wall of each of the two groups of guide rods (3), two groups of first sliding plates (5) and two groups of second sliding plates (6) are slidably sleeved on the side wall of each of the two groups of guide rods (3), V-shaped grooves (9) are formed in the upper portions of the two groups of first sliding plates (5), two groups of nylon blocks (10) are arranged in the two groups of V-shaped grooves (9), rotors (12) are arranged on the upper portions of the four groups of nylon blocks (10), the positioning plates (7) are welded on one sides of the two groups of first sliding plates (5) and the two groups of second sliding plates (6), the four groups of positioning plates (7) are provided with mounting bolts (8) in a penetrating manner in the upper portions of the positioning plates (7), the built-in groove (11) is formed in the upper portion of the fixing plate (4), the motor (15) is installed on one side of the fixing plate (4), the end portion of the output end of the motor (15) penetrates through one side of the fixing plate (4), the rotating fan blades (16) are installed on the side of the fixing plate (4), the belt (13) is sleeved on the side wall of the output end of the motor (15), the two groups of rotating pipes (14) are arranged inside the built-in groove (11), and two sets of adjusting screw (18) have all been run through to the inside of rotatory pipe (14), spacing logical groove (17) have all been seted up to the inside both sides of built-in groove (11), and are two sets of adjusting screw (18) both ends are run through two sets of respectively spacing logical groove (17), and are two sets of adjusting screw (18)'s lateral wall has all cup jointed two sets of installation nut (19), and is two sets of multiunit ball socket (20) have been seted up to the inner wall of rotatory pipe (14), and the multiunit ball (21) all are provided with to the inside of ball socket (20).
2. A rotor balancing machine according to claim 1, characterized in that two sets of said adjusting screws (18) are threadedly engaged with four sets of said mounting nuts (19).
3. Rotor balancing machine according to claim 1, characterized in that the cross-section of the openings of the ball sockets (20) of a plurality of groups is smaller than the maximum cross-section of the balls (21) of a plurality of groups.
4. The rotor dynamic balancing machine according to claim 1, characterized in that a filter screen plate (27) is welded on the upper portion of the base (1), a bearing (23) penetrates through one side of the filter screen plate (27), a rotating shaft (24) penetrates through the inside of the bearing (23), a second gear (25) is fixedly sleeved on the side wall of the rotating shaft (24), a first gear (22) is fixedly sleeved on the side wall of the output end of the motor (15), and a filter screen cover (26) is welded on one side of the filter screen plate (27).
5. Rotor dynamic balancing machine according to claim 4, characterized in that the first gear wheel (22) and the second gear wheel (25) are mutually meshed.
6. The dynamic rotor balancing machine according to claim 1, characterized in that a runout detector is mounted on the upper part of the base (1).
7. The rotor dynamic balancing machine according to claim 1, characterized in that a control panel and a power socket are installed on one side of the base (1), and the control panel is electrically connected with the power socket and the motor (15) through wires.
8. The rotor dynamic balancing machine of claim 1, characterized in that four sets of supporting seats are welded to the lower part of the base (1).
Priority Applications (1)
| Application Number | Priority Date | Filing Date | Title |
|---|---|---|---|
| CN202222494323.3U CN218180197U (en) | 2022-09-20 | 2022-09-20 | Rotor dynamic balancing machine |
Applications Claiming Priority (1)
| Application Number | Priority Date | Filing Date | Title |
|---|---|---|---|
| CN202222494323.3U CN218180197U (en) | 2022-09-20 | 2022-09-20 | Rotor dynamic balancing machine |
Publications (1)
| Publication Number | Publication Date |
|---|---|
| CN218180197U true CN218180197U (en) | 2022-12-30 |
Family
ID=84626041
Family Applications (1)
| Application Number | Title | Priority Date | Filing Date |
|---|---|---|---|
| CN202222494323.3U Active CN218180197U (en) | 2022-09-20 | 2022-09-20 | Rotor dynamic balancing machine |
Country Status (1)
| Country | Link |
|---|---|
| CN (1) | CN218180197U (en) |
-
2022
- 2022-09-20 CN CN202222494323.3U patent/CN218180197U/en active Active
Similar Documents
| Publication | Publication Date | Title |
|---|---|---|
| CN114354745A (en) | Main shaft fatigue degree detection equipment for wind generating set | |
| CN218180197U (en) | Rotor dynamic balancing machine | |
| CN201535714U (en) | Tightness self-adjusting slewing mechanism for precise bearing performance detector | |
| CN117161718B (en) | Assembling machine for level meter mounting head | |
| CN119593964A (en) | Wind generating set monitored control system | |
| CN218828687U (en) | Power distribution cabinet capable of adjusting internal space | |
| CN219994890U (en) | Vibration monitoring sensor convenient to install | |
| CN219925221U (en) | Multi-angle clamping device for turbine blade | |
| CN109411154A (en) | A kind of roll-in thread feeding mechanism of bunch frame winch | |
| CN216284278U (en) | Transmission shaft test bed | |
| CN222105263U (en) | Photovoltaic module testing tool | |
| CN108847755A (en) | A device for manufacturing electric motor coils | |
| CN223157013U (en) | High-efficient upset check out test set of photovoltaic module | |
| CN220525331U (en) | Bearing fretting wear test fixture | |
| CN117167212B (en) | Online monitoring system based on wind generating set | |
| CN221860489U (en) | An electrical automation detection device for power distribution automation equipment | |
| CN220626076U (en) | Detection device for hardware production | |
| CN119982860B (en) | Planetary roller screw and detection method thereof | |
| CN221817266U (en) | A thread rolling machine for screw processing | |
| CN223581384U (en) | Bearing frame test platform | |
| CN223431431U (en) | Precise screw rod grinding and checking device | |
| CN222014397U (en) | Permanent magnet synchronous motor drive testing device | |
| CN223272172U (en) | A device for detecting the life of solid self-lubricating bearings | |
| CN221966966U (en) | Double-wire-cylinder wire cutting equipment and wire winding and arranging mechanism for same | |
| CN219510408U (en) | Nondestructive detection device in pressure pipeline |
Legal Events
| Date | Code | Title | Description |
|---|---|---|---|
| GR01 | Patent grant | ||
| GR01 | Patent grant |