CN218179497U - 一种聚丙烯pp颗粒生产用快速烘干装置 - Google Patents

一种聚丙烯pp颗粒生产用快速烘干装置 Download PDF

Info

Publication number
CN218179497U
CN218179497U CN202222385977.2U CN202222385977U CN218179497U CN 218179497 U CN218179497 U CN 218179497U CN 202222385977 U CN202222385977 U CN 202222385977U CN 218179497 U CN218179497 U CN 218179497U
Authority
CN
China
Prior art keywords
box
drying box
wall
drying
rotating shaft
Prior art date
Legal status (The legal status is an assumption and is not a legal conclusion. Google has not performed a legal analysis and makes no representation as to the accuracy of the status listed.)
Expired - Fee Related
Application number
CN202222385977.2U
Other languages
English (en)
Inventor
张现云
Current Assignee (The listed assignees may be inaccurate. Google has not performed a legal analysis and makes no representation or warranty as to the accuracy of the list.)
Sishui Bingdui Building Materials Co ltd
Original Assignee
Sishui Bingdui Building Materials Co ltd
Priority date (The priority date is an assumption and is not a legal conclusion. Google has not performed a legal analysis and makes no representation as to the accuracy of the date listed.)
Filing date
Publication date
Application filed by Sishui Bingdui Building Materials Co ltd filed Critical Sishui Bingdui Building Materials Co ltd
Priority to CN202222385977.2U priority Critical patent/CN218179497U/zh
Application granted granted Critical
Publication of CN218179497U publication Critical patent/CN218179497U/zh
Expired - Fee Related legal-status Critical Current
Anticipated expiration legal-status Critical

Links

Images

Classifications

    • YGENERAL TAGGING OF NEW TECHNOLOGICAL DEVELOPMENTS; GENERAL TAGGING OF CROSS-SECTIONAL TECHNOLOGIES SPANNING OVER SEVERAL SECTIONS OF THE IPC; TECHNICAL SUBJECTS COVERED BY FORMER USPC CROSS-REFERENCE ART COLLECTIONS [XRACs] AND DIGESTS
    • Y02TECHNOLOGIES OR APPLICATIONS FOR MITIGATION OR ADAPTATION AGAINST CLIMATE CHANGE
    • Y02WCLIMATE CHANGE MITIGATION TECHNOLOGIES RELATED TO WASTEWATER TREATMENT OR WASTE MANAGEMENT
    • Y02W30/00Technologies for solid waste management
    • Y02W30/50Reuse, recycling or recovery technologies
    • Y02W30/62Plastics recycling; Rubber recycling

Landscapes

  • Drying Of Solid Materials (AREA)

Abstract

本实用新型公开了一种聚丙烯PP颗粒生产用快速烘干装置,涉及烘干装置技术领域,包括烘干箱,所述烘干箱的底端焊接有导料盒,所述导料盒底端的一侧开设有出料口,且导料盒内部的一端通过转轴安装有绞龙杆,所述绞龙杆的一端延伸至导料盒的一侧安装有从动链轮,所述烘干箱底端的前后两端分别焊接有多个支撑腿,且烘干箱的一侧安装有驱动电机,所述驱动电机的输出端安装旋转轴。本实用新型通过使用风机将无法自然下落而留存的物料吹送至导料盒中,保证物料能够全部输送出来,同时使用绞龙杆对物料进行输送,能够保证物料以合适的速率进行输送,避免其因速度过大造成飞溅,方便使用者对物料进行收集。

Description

一种聚丙烯PP颗粒生产用快速烘干装置
技术领域
本实用新型涉及塑料烘干机技术领域,具体为一种聚丙烯PP颗粒生产用快速烘干装置。
背景技术
在聚丙烯PP颗粒的生产过程中,需要使用烘干装置对其进行烘干处理,现有技术中,一般会采用卧式的烘干机,将PP颗粒送入后通入热风,并不断地搅拌,增大其与热风的接触面积以达到快速烘干的目的。
经过检索,中国专利授权公告号CN215063417U,公告日2021年12月07日,公开了一种卧式烘干搅拌筛选装置,文中提出“所述出料口设置于所述第二烘干仓的底部,所述出料口上设置有出料阀门,所述出料口和所述筛选口与所述二次烘干腔相连通,所述出料口内设置有所述第二筛选板”;
该装置的出料方式是依靠重力将内部的物料送出,其出料速率不够均匀,初始时塑料出料较快,物料容易飞溅,同时由于装置呈卧式,其内部容易残留一定数量的物料难以取出,鉴于此,深入研究,遂有本案产生。
实用新型内容
本实用新型的目的在于提供一种聚丙烯PP颗粒生产用快速烘干装置,以解决上述背景技术中提出的物料的取出不完全且速率不均匀不便收集的问题。
为实现上述目的,本实用新型提供如下技术方案:一种聚丙烯PP颗粒生产用快速烘干装置,包括烘干箱,所述烘干箱的底端焊接有导料盒,所述导料盒底端的一侧开设有出料口,且导料盒内部的一端通过转轴安装有绞龙杆,所述绞龙杆的一端延伸至导料盒的一侧安装有从动链轮,所述烘干箱底端的前后两端分别焊接有多个支撑腿,且烘干箱的一侧安装有驱动电机,所述驱动电机的输出端安装旋转轴,且旋转轴的一端贯穿至烘干箱的一侧安装有主动链轮,所述从动链轮和主动链轮的外壁套设有链条,所述烘干箱内部的旋转轴外壁安装有多个搅拌桨,所述烘干箱底端和导料盒顶端的内壁嵌入有固定板,且固定板的顶端竖向贯穿有通槽,所述导料盒的一侧安装有风机,且风机的输出端通过管道与烘干箱内部一侧的底端相连通,所述烘干箱的一侧安装有进料斗,且进料斗的输出端延伸至烘干箱的内部,所述烘干箱顶端的一侧安装有排气管,所述烘干箱顶端的另一侧安装有进气管,且进气管的底端延伸至烘干箱的内部。
优选的,所述烘干箱内部的左右两侧之间焊接有导气管,所述导气管的外壁与进气管的底端相连通,且导气管的外壁开设有多个布气孔。
优选的,所述布气孔每组共设置有十六个,且布气孔在导气管的外壁呈等间距分布。
优选的,所述通槽内部的一端开设有空腔,所述固定板一端的内部安装有伺服电机,且伺服电机的输出端安装有旋转杆,所述旋转杆的一端通过转轴与空腔内部的一端相连接,所述旋转杆的外壁安装有移动板,且移动板的一端顶部安装有遮挡板。
优选的,所述遮挡板的长度大于通槽的长度,且遮挡板的宽度等于通槽的宽度。
优选的,所述旋转杆的外壁设置有外螺纹,且移动板的内壁设置有与其相匹配的内螺纹。
优选的,所述空腔内部的两侧均开设有导槽,所述移动板的两侧均安装有导块,且移动板通过导块和导槽之间的滑动配合与空腔之间构成滑动连接。
与现有技术相比,本实用新型的有益效果是:
通过启动风机并移动遮挡板取消对通槽的封堵,使其物料在风力和重力的作用下全部从烘干箱被导送至导料盒处,同时旋转轴的旋转会带动主动链轮转动,通过主动链轮、链条和从动链轮的传动致使绞龙杆不断旋转,物料被绞龙杆输送至出料口处自然落下,出料速率均匀,方便收集,也不会轻易飞溅。
附图说明
图1为本实用新型的正视剖面结构示意图;
图2为本实用新型的局部侧视剖面结构示意图;
图3为本实用新型的固定板处侧视结构示意图;
图4为本实用新型的图1中A处放大结构示意图。
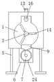
图中:1、烘干箱;2、驱动电机;3、旋转轴;4、风机;5、支撑腿;6、导料盒;7、绞龙杆;8、从动链轮;9、固定板;10、链条;11、主动链轮;12、进料斗;13、进气管;14、搅拌桨;15、布气孔;16、导气管;17、排气管;18、伺服电机;19、旋转杆;20、空腔;21、移动板;22、遮挡板;23、通槽;24、出料口。
具体实施方式
下面将结合本实用新型实施例中的附图,对本实用新型实施例中的技术方案进行清楚、完整地描述,显然,所描述的实施例仅仅是本实用新型一部分实施例,而不是全部的实施例。基于本实用新型中的实施例,本领域普通技术人员在没有做出创造性劳动前提下所获得的所有其他实施例,都属于本实用新型保护的范围。
实施例:请参阅图1-4,一种聚丙烯PP颗粒生产用快速烘干装置,包括烘干箱1,烘干箱1的底端焊接有导料盒6,导料盒6底端的一侧开设有出料口24,且导料盒6内部的一端通过转轴安装有绞龙杆7,绞龙杆7的一端延伸至导料盒6的一侧安装有从动链轮8,烘干箱1底端的前后两端分别焊接有多个支撑腿5,且烘干箱1的一侧安装有驱动电机2,驱动电机2的输出端安装旋转轴3,且旋转轴3的一端贯穿至烘干箱1的一侧安装有主动链轮11,从动链轮8和主动链轮11的外壁套设有链条10;
具体的,如图1和图2所示,旋转轴3的旋转会带动主动链轮11转动,通过主动链轮11、链条10和从动链轮8的传动致使绞龙杆7不断旋转,物料被绞龙杆7输送至出料口24处自然落下,出料速率均匀,方便收集,也不会轻易飞溅。
烘干箱1内部的旋转轴3外壁安装有多个搅拌桨14,烘干箱1底端和导料盒6顶端的内壁嵌入有固定板9,且固定板9的顶端竖向贯穿有通槽23;
通槽23内部的一端开设有空腔20,固定板9一端的内部安装有伺服电机18,且伺服电机18的输出端安装有旋转杆19,旋转杆19的一端通过转轴与空腔20内部的一端相连接,旋转杆19的外壁安装有移动板21,且移动板21的一端顶部安装有遮挡板22;
遮挡板22的长度大于通槽23的长度,且遮挡板22的宽度等于通槽23的宽度;
旋转杆19的外壁设置有外螺纹,且移动板21的内壁设置有与其相匹配的内螺纹;
空腔20内部的两侧均开设有导槽,移动板21的两侧均安装有导块,且移动板21通过导块和导槽之间的滑动配合与空腔20之间构成滑动连接;
具体的,如图1、图3和图4所示,烘干时,遮挡板22对通槽23进行封堵,物料留存在烘干箱1的内部,出料时,启动伺服电机18使得旋转杆19旋转,致使移动板21在空腔20的导向下定向移动,并将遮挡板22带离通槽23,使得通槽23不再被封堵。
导料盒6的一侧安装有风机4,且风机4的输出端通过管道与烘干箱1内部一侧的底端相连通;
具体的,如图1所示,当有一部分物料留置在烘干箱1内部的底端无法横移,此时可以启动风机4,使其将这部分物料吹送至固定板9上方,保证物料能够全部离开烘干箱1被输送出来。
烘干箱1的一侧安装有进料斗12,且进料斗12的输出端延伸至烘干箱1的内部,烘干箱1顶端的一侧安装有排气管17,烘干箱1顶端的另一侧安装有进气管13,且进气管13的底端延伸至烘干箱1的内部;
烘干箱1内部的左右两侧之间焊接有导气管16,导气管16的外壁与进气管13的底端相连通,且导气管16的外壁开设有多个布气孔15;
布气孔15每组共设置有十六个,且布气孔15在导气管16的外壁呈等间距分布;
具体的,如图1和图2所示,通过向进气管13通入热空气,使其进入导气管16从各个位置的布气孔15流出与物料接触,帮助物料干燥。
工作原理:使用本装置时,首先将需要进行烘干的PP颗粒从进料斗12处加入,使其进入烘干箱1内部,此时遮挡板22对通槽23进行封堵,物料留存在烘干箱1的内部,随后向进气管13通入热空气,使其进入导气管16从各个位置的布气孔15流出与物料接触,帮助物料干燥,同时启动驱动电机2,致使驱动电机2带动旋转轴3进行旋转,使用搅拌桨14对物料进行翻动,保证各个位置的物料都能与热空气接触,提高干燥效率;
在干燥完成后,保持驱动电机2旋转,此时旋转轴3的旋转会带动主动链轮11转动,通过主动链轮11、链条10和从动链轮8的传动致使绞龙杆7不断旋转,此时启动伺服电机18使得旋转杆19旋转,致使移动板21在空腔20的导向下定向移动,并将遮挡板22带离通槽23,使得通槽23不再被封堵,物料能够通过通槽23进入导料盒6的内部,被绞龙杆7输送至出料口24处自然落下,出料速率均匀,方便收集,也不会轻易飞溅;
出料快完成时,会有一部分物料留置在烘干箱1内部的底端无法横移,此时可以启动风机4,使其将这部分物料吹送至固定板9上方,保证物料能够全部离开烘干箱1被输送出来。
对于本领域技术人员而言,显然本实用新型不限于上述示范性实施例的细节,而且在不背离本实用新型的精神或基本特征的情况下,能够以其他的具体形式实现本实用新型。因此,无论从哪一点来看,均应将实施例看作是示范性的,而且是非限制性的,本实用新型的范围由所附权利要求而不是上述说明限定,因此旨在将落在权利要求的等同要件的含义和范围内的所有变化囊括在本实用新型内。不应将权利要求中的任何附图标记视为限制所涉及的权利要求。

Claims (7)

1.一种聚丙烯PP颗粒生产用快速烘干装置,包括烘干箱(1),其特征在于:所述烘干箱(1)的底端焊接有导料盒(6),所述导料盒(6)底端的一侧开设有出料口(24),且导料盒(6)内部的一端通过转轴安装有绞龙杆(7),所述绞龙杆(7)的一端延伸至导料盒(6)的一侧安装有从动链轮(8),所述烘干箱(1)底端的前后两端分别焊接有多个支撑腿(5),且烘干箱(1)的一侧安装有驱动电机(2),所述驱动电机(2)的输出端安装旋转轴(3),且旋转轴(3)的一端贯穿至烘干箱(1)的一侧安装有主动链轮(11),所述从动链轮(8)和主动链轮(11)的外壁套设有链条(10),所述烘干箱(1)内部的旋转轴(3)外壁安装有多个搅拌桨(14),所述烘干箱(1)底端和导料盒(6)顶端的内壁嵌入有固定板(9),且固定板(9)的顶端竖向贯穿有通槽(23),所述导料盒(6)的一侧安装有风机(4),且风机(4)的输出端通过管道与烘干箱(1)内部一侧的底端相连通,所述烘干箱(1)的一侧安装有进料斗(12),且进料斗(12)的输出端延伸至烘干箱(1)的内部,所述烘干箱(1)顶端的一侧安装有排气管(17),所述烘干箱(1)顶端的另一侧安装有进气管(13),且进气管(13)的底端延伸至烘干箱(1)的内部。
2.根据权利要求1所述的一种聚丙烯PP颗粒生产用快速烘干装置,其特征在于:所述烘干箱(1)内部的左右两侧之间焊接有导气管(16),所述导气管(16)的外壁与进气管(13)的底端相连通,且导气管(16)的外壁开设有多个布气孔(15)。
3.根据权利要求2所述的一种聚丙烯PP颗粒生产用快速烘干装置,其特征在于:所述布气孔(15)每组共设置有十六个,且布气孔(15)在导气管(16)的外壁呈等间距分布。
4.根据权利要求1所述的一种聚丙烯PP颗粒生产用快速烘干装置,其特征在于:所述通槽(23)内部的一端开设有空腔(20),所述固定板(9)一端的内部安装有伺服电机(18),且伺服电机(18)的输出端安装有旋转杆(19),所述旋转杆(19)的一端通过转轴与空腔(20)内部的一端相连接,所述旋转杆(19)的外壁安装有移动板(21),且移动板(21)的一端顶部安装有遮挡板(22)。
5.根据权利要求4所述的一种聚丙烯PP颗粒生产用快速烘干装置,其特征在于:所述遮挡板(22)的长度大于通槽(23)的长度,且遮挡板(22)的宽度等于通槽(23)的宽度。
6.根据权利要求4所述的一种聚丙烯PP颗粒生产用快速烘干装置,其特征在于:所述旋转杆(19)的外壁设置有外螺纹,且移动板(21)的内壁设置有与其相匹配的内螺纹。
7.根据权利要求4所述的一种聚丙烯PP颗粒生产用快速烘干装置,其特征在于:所述空腔(20)内部的两侧均开设有导槽,所述移动板(21)的两侧均安装有导块,且移动板(21)通过导块和导槽之间的滑动配合与空腔(20)之间构成滑动连接。
CN202222385977.2U 2022-09-08 2022-09-08 一种聚丙烯pp颗粒生产用快速烘干装置 Expired - Fee Related CN218179497U (zh)

Priority Applications (1)

Application Number Priority Date Filing Date Title
CN202222385977.2U CN218179497U (zh) 2022-09-08 2022-09-08 一种聚丙烯pp颗粒生产用快速烘干装置

Applications Claiming Priority (1)

Application Number Priority Date Filing Date Title
CN202222385977.2U CN218179497U (zh) 2022-09-08 2022-09-08 一种聚丙烯pp颗粒生产用快速烘干装置

Publications (1)

Publication Number Publication Date
CN218179497U true CN218179497U (zh) 2022-12-30

Family

ID=84623086

Family Applications (1)

Application Number Title Priority Date Filing Date
CN202222385977.2U Expired - Fee Related CN218179497U (zh) 2022-09-08 2022-09-08 一种聚丙烯pp颗粒生产用快速烘干装置

Country Status (1)

Country Link
CN (1) CN218179497U (zh)

Similar Documents

Publication Publication Date Title
CN205505641U (zh) 一种带进料处理装置的化工糊状物料干燥设备
CN111947437A (zh) 一种化妆品生产原材料烘干装置
CN218179497U (zh) 一种聚丙烯pp颗粒生产用快速烘干装置
CN211626018U (zh) 一种蔬菜种植用种子干燥除尘装置
CN202511586U (zh) 旋耕式速干机
CN201801516U (zh) 地上自动晾茬机
CN114659349A (zh) 一种风干装置
CN114593577B (zh) 一种混流型移动式粮食烘干机
CN209471043U (zh) 一种基于电磁波的粮食水分检测装置
CN215176794U (zh) 一种废旧塑料快速烘干装置
CN214223632U (zh) 一种风干装置
CN211891585U (zh) 一种新型pe管件生产用上料设备
CN221593332U (zh) 一种有机肥料生产干燥装置
CN210862127U (zh) 一种微生物有机肥自动化控制烘干装置
CN211204830U (zh) 气流干燥机
CN207724610U (zh) 一种塑料颗粒搅拌装置
CN212179522U (zh) 高效式烘干机
CN206486418U (zh) 一种污泥干燥机
CN223326741U (zh) 一种聚丙烯干燥装置
CN218808244U (zh) 一种下料装置
CN218210599U (zh) 一种长条式螺栓烘干机
CN221881995U (zh) 一种腐植酸肥料造粒用烘干机装置
CN220398069U (zh) 旋风烘干装置
CN222143597U (zh) 一种复合肥的自动进料干燥装置
CN115283047B (zh) 一种碾米机

Legal Events

Date Code Title Description
GR01 Patent grant
GR01 Patent grant
CF01 Termination of patent right due to non-payment of annual fee
CF01 Termination of patent right due to non-payment of annual fee

Granted publication date: 20221230