CN218162316U - Flexible photovoltaic support - Google Patents
Flexible photovoltaic support Download PDFInfo
- Publication number
- CN218162316U CN218162316U CN202222428110.0U CN202222428110U CN218162316U CN 218162316 U CN218162316 U CN 218162316U CN 202222428110 U CN202222428110 U CN 202222428110U CN 218162316 U CN218162316 U CN 218162316U
- Authority
- CN
- China
- Prior art keywords
- flexible
- rope
- steel wire
- positioning
- flexible steel
- Prior art date
- Legal status (The legal status is an assumption and is not a legal conclusion. Google has not performed a legal analysis and makes no representation as to the accuracy of the status listed.)
- Active
Links
Images
Classifications
-
- Y—GENERAL TAGGING OF NEW TECHNOLOGICAL DEVELOPMENTS; GENERAL TAGGING OF CROSS-SECTIONAL TECHNOLOGIES SPANNING OVER SEVERAL SECTIONS OF THE IPC; TECHNICAL SUBJECTS COVERED BY FORMER USPC CROSS-REFERENCE ART COLLECTIONS [XRACs] AND DIGESTS
- Y02—TECHNOLOGIES OR APPLICATIONS FOR MITIGATION OR ADAPTATION AGAINST CLIMATE CHANGE
- Y02E—REDUCTION OF GREENHOUSE GAS [GHG] EMISSIONS, RELATED TO ENERGY GENERATION, TRANSMISSION OR DISTRIBUTION
- Y02E10/00—Energy generation through renewable energy sources
- Y02E10/40—Solar thermal energy, e.g. solar towers
- Y02E10/47—Mountings or tracking
-
- Y—GENERAL TAGGING OF NEW TECHNOLOGICAL DEVELOPMENTS; GENERAL TAGGING OF CROSS-SECTIONAL TECHNOLOGIES SPANNING OVER SEVERAL SECTIONS OF THE IPC; TECHNICAL SUBJECTS COVERED BY FORMER USPC CROSS-REFERENCE ART COLLECTIONS [XRACs] AND DIGESTS
- Y02—TECHNOLOGIES OR APPLICATIONS FOR MITIGATION OR ADAPTATION AGAINST CLIMATE CHANGE
- Y02E—REDUCTION OF GREENHOUSE GAS [GHG] EMISSIONS, RELATED TO ENERGY GENERATION, TRANSMISSION OR DISTRIBUTION
- Y02E10/00—Energy generation through renewable energy sources
- Y02E10/50—Photovoltaic [PV] energy
Landscapes
- Photovoltaic Devices (AREA)
Abstract
本实用新型公开了一种柔性光伏支架,包括支撑架与柔性钢丝拉绳,所述支撑架的顶部转动安装有转动轴,所述转动轴固定连接于柔性绳定位板上,所述柔性钢丝拉绳的两端均贯穿柔性绳定位板并通过柔性绳锁紧机构锁紧安装于柔性钢丝拉绳;本实用通过调节螺杆安装在安装座内部的定位压板可在调节螺杆的转动调节下对绕线轮进行夹紧,实际使用时可通过设置定位齿的方式获得较为稳定的夹紧锁定定位效果,则在需要对柔性钢丝拉绳进行绷紧调节时可通过转动绕线轮的形式对柔性钢丝拉绳进行收放调整,再通过定位压板对转动绕线轮的位置进行定位,使得柔性钢丝拉绳维持合适的张紧度,以适配多组光伏电池板的安装。
The utility model discloses a flexible photovoltaic support, which comprises a support frame and a flexible steel wire pull rope. The top of the support frame is rotatably installed with a rotating shaft, and the rotating shaft is fixedly connected to a flexible rope positioning plate. The flexible steel wire pulls Both ends of the rope run through the flexible rope positioning plate and are locked and installed on the flexible steel wire pull rope through the flexible rope locking mechanism; the utility model installs the positioning pressure plate inside the mounting seat through the adjusting screw to adjust the winding under the rotation adjustment of the adjusting screw. The clamping wheel is clamped. In actual use, a relatively stable clamping and locking positioning effect can be obtained by setting the positioning teeth. When it is necessary to adjust the tension of the flexible steel wire rope, the flexible steel wire can be pulled by rotating the winding wheel. The rope is retracted and adjusted, and then the position of the rotating reel is positioned by the positioning platen, so that the flexible steel wire rope maintains an appropriate tension to adapt to the installation of multiple sets of photovoltaic panels.
Description
技术领域technical field
本实用新型涉及太阳能光伏支架技术领域,具体为一种柔性光伏支架。The utility model relates to the technical field of solar photovoltaic supports, in particular to a flexible photovoltaic support.
背景技术Background technique
太阳能光伏支架,是太阳能光伏发电系统中为了摆放、安装、固定太阳能面板设计的特殊的支架,一般材质有铝合金、碳钢及不锈钢;现有技术中的柔性光伏支架具有节约支架钢铁消耗等优势,然而在实际对柔性光伏支架进行架设安装时,柔性支架的柔性绳体其绷紧程度需要根据实际的光伏电池板安装方式进行调整,而常规的柔性支架结构关于绳体的绷紧程度调节较为不便,因此我们需要提出一种柔性光伏支架。Solar photovoltaic support is a special support designed for placing, installing and fixing solar panels in solar photovoltaic power generation systems. The general materials are aluminum alloy, carbon steel and stainless steel; the flexible photovoltaic support in the prior art has the advantages of saving support steel consumption, etc. Advantages, however, when actually erecting and installing the flexible photovoltaic support, the tension of the flexible rope body of the flexible support needs to be adjusted according to the actual photovoltaic panel installation method, while the conventional flexible support structure adjusts the tension of the rope body It is inconvenient, so we need to propose a flexible photovoltaic support.
实用新型内容Utility model content
本实用新型的目的在于提供一种柔性光伏支架,以解决上述背景技术中提出的问题。The purpose of this utility model is to provide a flexible photovoltaic support to solve the problems raised in the above-mentioned background technology.
为实现上述目的,本实用新型提供如下技术方案:In order to achieve the above object, the utility model provides the following technical solutions:
一种柔性光伏支架,包括支撑架与柔性钢丝拉绳,所述支撑架的顶部转动安装有转动轴,所述转动轴固定连接于柔性绳定位板上,所述柔性钢丝拉绳的两端均贯穿柔性绳定位板并通过柔性绳锁紧机构锁紧安装于柔性钢丝拉绳;A flexible photovoltaic support, including a support frame and a flexible steel wire stay rope, the top of the support frame is rotatably installed with a rotating shaft, and the rotating shaft is fixedly connected to a flexible rope positioning plate, and the two ends of the flexible steel wire stay rope are It goes through the flexible rope positioning plate and is locked and installed on the flexible steel wire pull rope through the flexible rope locking mechanism;
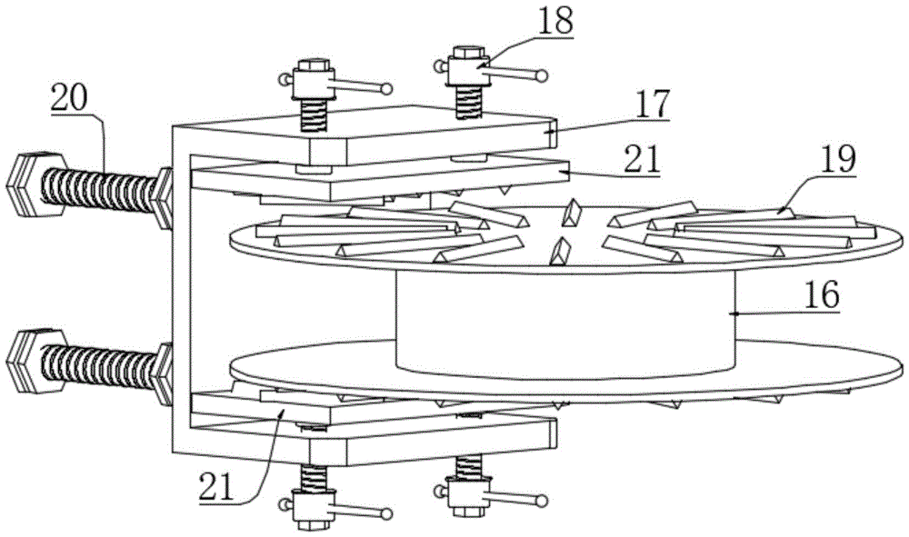
所述柔性绳锁紧机构包括柔性绳定位板侧部的安装座,所述安装座上转动安装有绕线轮,所述安装座上固定安装有与绕线轮呈对齐设置的固定座,所述固定座的顶部与底部螺纹安装有调节螺杆,所述固定座的内部通过调节螺杆安装有对绕线轮进行夹紧定位的定位压板,所述定位压板设置有两组且分别位于绕线轮的上下部。The flexible rope locking mechanism includes a mounting seat on the side of the flexible rope positioning plate, a reel is rotatably installed on the mounting seat, and a fixing seat aligned with the reel is fixedly installed on the mounting seat, so The top and bottom of the fixed seat are threaded with adjusting screws, and the inside of the fixed seat is equipped with a positioning plate for clamping and positioning the reel through the adjusting screw. upper and lower parts.
优选的,所述柔性绳定位板上设置有至少两组柔性钢丝拉绳,所述柔性钢丝拉绳设置有若干组固定块。Preferably, at least two groups of flexible steel wire stay ropes are arranged on the flexible rope positioning plate, and several groups of fixing blocks are arranged on the flexible steel wire stay ropes.
优选的,所述柔性钢丝拉绳通过固定块对光伏电池板进行安装,所述固定块固定连接于光伏电池板的外壳四角处。Preferably, the flexible steel wire stay rope is used to install the photovoltaic cell panel through a fixing block, and the fixing block is fixedly connected to the four corners of the housing of the photovoltaic cell panel.
优选的,所述支撑架的顶部固定连接有轮座,所述轮座上转动安装有被动皮带轮,所述转动轴固定连接于被动皮带轮的轮轴。Preferably, a wheel seat is fixedly connected to the top of the support frame, a driven pulley is rotatably mounted on the wheel seat, and the rotating shaft is fixedly connected to the wheel shaft of the driven pulley.
优选的,支撑架的顶部安装有角度调节电机,所述角度调节电机的输出轴上安装有主动皮带轮,所述主动皮带轮与被动皮带轮通过同步皮带传动安装。Preferably, an angle adjustment motor is installed on the top of the support frame, a driving pulley is installed on the output shaft of the angle adjustment motor, and the driving pulley and the driven pulley are installed through a synchronous belt transmission.
优选的,所述柔性绳定位板的两端开设有用于柔性钢丝拉绳贯穿的贯穿孔,所述柔性绳定位板上与贯穿孔对齐的位置设置有用于柔性钢丝拉绳贯穿定位的定位筒。Preferably, the two ends of the flexible rope positioning plate are provided with through holes for flexible steel wire stays to pass through, and the positions on the flexible rope positioning plate aligned with the through holes are provided with positioning cylinders for the flexible steel wire stays to be penetrated and positioned.
优选的,所述安装座通过安装螺栓固定安装于柔性绳定位板的侧部,所述固定座通过安装螺栓固定安装于安装座上。Preferably, the mounting base is fixedly mounted on the side of the flexible rope positioning plate through mounting bolts, and the mounting base is fixedly mounted on the mounting base through mounting bolts.
优选的,所述固定座的上下部均开设有用于调节螺杆安装的螺纹通孔,所述调节螺杆设置为带有外六角头的螺杆。Preferably, the upper and lower parts of the fixing seat are provided with threaded through holes for the installation of the adjusting screw, and the adjusting screw is set as a screw with an outer hexagonal head.
优选的,所述调节螺杆螺纹贯穿固定座的上部和下部,所述调节螺杆的螺杆端部转动连接于定位压板。Preferably, the thread of the adjusting screw runs through the upper and lower parts of the fixing seat, and the screw end of the adjusting screw is rotatably connected to the positioning platen.
优选的,所述绕线轮的两侧面均设置有定位齿,所述定位压板上靠近绕线轮的侧面上同样设置有与绕线轮对应的定位齿。Preferably, positioning teeth are provided on both sides of the winding wheel, and positioning teeth corresponding to the winding wheel are also provided on the side of the positioning pressing plate close to the winding wheel.
与现有技术相比,本实用新型的有益效果是:Compared with the prior art, the beneficial effects of the utility model are:
通过柔性绳定位板、绕线轮、安装座与定位压板等结构的设计,安装在柔性绳定位板两端的安装座对绕线轮进行固定安装,绕线轮对用于光伏电池板安装的柔性钢丝拉绳进行绷紧绕设,通过调节螺杆安装在安装座内部的定位压板可在调节螺杆的转动调节下对绕线轮进行夹紧,实际使用时可通过设置定位齿的方式获得较为稳定的夹紧锁定定位效果,则在需要对柔性钢丝拉绳进行绷紧调节时可通过转动绕线轮的形式对柔性钢丝拉绳进行收放调整,再通过定位压板对转动绕线轮的位置进行定位,使得柔性钢丝拉绳维持合适的张紧度,以适配多组光伏电池板的安装。Through the design of the structure of the flexible rope positioning plate, winding wheel, mounting seat and positioning pressure plate, the mounting seats installed at both ends of the flexible rope positioning plate fix the winding wheel, and the winding wheel pair is used for the installation of photovoltaic panels. The steel wire rope is wound tightly, and the positioning platen installed inside the mounting seat through the adjusting screw can clamp the winding wheel under the rotation adjustment of the adjusting screw. In actual use, a relatively stable positioning can be obtained by setting the positioning teeth. Clamping and locking positioning effect, when it is necessary to adjust the tension of the flexible steel wire pull rope, the flexible steel wire pull rope can be retracted and adjusted by rotating the reel, and then the position of the rotating reel can be positioned by the positioning platen , so that the flexible steel wire rope maintains an appropriate tension to adapt to the installation of multiple sets of photovoltaic panels.
本实用新型的其它特征和优点将在随后的说明书中阐述,并且,部分地从说明书中变得显而易见,或者通过实施本实用新型而了解。本实用新型的目的和其他优点可通过在说明书以及附图中所指出的结构来实现和获得。Other features and advantages of the present invention will be set forth in the following description, and, in part, will be apparent from the description, or can be learned by practicing the present invention. The objectives and other advantages of the utility model can be realized and obtained by the structures pointed out in the description and accompanying drawings.
附图说明Description of drawings
图1为本实用新型的俯视结构示意图;Fig. 1 is the top view structural representation of the utility model;
图2为本实用新型图1的部分结构示意图;Fig. 2 is a partial structural schematic diagram of Fig. 1 of the utility model;
图3为本实用新型图1中A处的放大结构示意图;Fig. 3 is the enlarged structural schematic diagram of A place in Fig. 1 of the utility model;
图4为本实用新型中柔性绳锁紧机构的部分结构示意图。Fig. 4 is a partial structural schematic diagram of the flexible rope locking mechanism in the present invention.
图中:1、支撑架;2、柔性钢丝拉绳;3、光伏电池板;4、固定块;5、柔性绳定位板;6、主动皮带轮;7、被动皮带轮;8、角度调节电机;9、转动轴;10、柔性绳锁紧机构;11、轮座;12、安装螺栓;13、同步皮带;14、定位筒;15、安装座;16、绕线轮;17、固定座;18、调节螺杆;19、定位齿;20、定位压板。In the figure: 1. Support frame; 2. Flexible steel wire pull rope; 3. Photovoltaic panel; 4. Fixed block; 5. Flexible rope positioning plate; 6. Driving pulley; 7. Passive pulley; 8. Angle adjustment motor; 9 , rotating shaft; 10, flexible rope locking mechanism; 11, wheel base; 12, mounting bolts; 13, synchronous belt; 14, positioning cylinder; 15, mounting seat; 16, winding wheel; 17, fixed seat; 18, Adjusting screw rod; 19, positioning teeth; 20, positioning pressure plate.
具体实施方式detailed description
在不同附图中以相同标号来标示相同或类似组件;另外请了解文中诸如“第一”、“第二”、“第三”、“上”、“下”、“前”、“后”、“内”、“外”、“端”、“部”、“段”、“宽度”、“厚度”、“区”等等及类似用语仅便于看图者参考图中构造以及仅用于帮助描述本实用新型而已,并非是对本实用新型的限定。The same or similar components are marked with the same reference numerals in different drawings; , "inner", "outer", "end", "portion", "section", "width", "thickness", "area", etc. It is only used to help describe the utility model, but not to limit the utility model.
下面将结合本实用新型实施例中的附图,对本实用新型实施例中的技术方案进行清楚、完整地描述,显然,所描述的实施例仅仅是本实用新型一部分实施例,而不是全部的实施例。基于本实用新型中的实施例,本领域普通技术人员在没有做出创造性劳动前提下所获得的所有其他实施例,都属于本实用新型保护的范围。The technical solutions in the embodiments of the present invention will be clearly and completely described below in conjunction with the accompanying drawings in the embodiments of the present invention. Obviously, the described embodiments are only part of the embodiments of the present invention, not all of them. example. Based on the embodiments of the present utility model, all other embodiments obtained by persons of ordinary skill in the art without making creative efforts belong to the scope of protection of the present utility model.
请参阅图1-4,本实用新型提供的实施例:Please refer to Fig. 1-4, the embodiment provided by the utility model:
一种柔性光伏支架,包括支撑架1与柔性钢丝拉绳2,所述支撑架1的顶部转动安装有转动轴9,所述转动轴9固定连接于柔性绳定位板5上,所述柔性钢丝拉绳2的两端均贯穿柔性绳定位板5并通过柔性绳锁紧机构10锁紧安装于柔性钢丝拉绳2;A flexible photovoltaic support, including a support frame 1 and a flexible steel wire pull
所述柔性绳锁紧机构10包括柔性绳定位板5侧部的安装座15,所述安装座15上转动安装有绕线轮16,所述安装座15上固定安装有与绕线轮16呈对齐设置的固定座17,所述固定座17的顶部与底部螺纹安装有调节螺杆18,所述固定座17的内部通过调节螺杆18安装有对绕线轮16进行夹紧定位的定位压板21,所述定位压板21设置有两组且分别位于绕线轮16的上下部。The flexible
所述柔性绳定位板5上设置有至少两组柔性钢丝拉绳2,所述柔性钢丝拉绳2设置有若干组固定块4;所述柔性钢丝拉绳2通过固定块4对光伏电池板3进行安装,所述固定块4固定连接于光伏电池板3的外壳四角处。The flexible
所述支撑架1的顶部固定连接有轮座11,所述轮座11上转动安装有被动皮带轮7,所述转动轴9固定连接于被动皮带轮7的轮轴;支撑架1的顶部安装有角度调节电机8,所述角度调节电机8的输出轴上安装有主动皮带轮6,所述主动皮带轮6与被动皮带轮7通过同步皮带13传动安装。The top of the support frame 1 is fixedly connected with a
具体使用时,通过柔性绳定位板5、绕线轮16、安装座15与定位压板20等结构的设计,安装在柔性绳定位板5两端的安装座15对绕线轮16进行固定安装,绕线轮16对用于光伏电池板3安装的柔性钢丝拉绳2进行绷紧绕设,通过调节螺杆18安装在安装座15内部的定位压板20可在调节螺杆18的转动调节下对绕线轮16进行夹紧,实际使用时可通过设置定位齿19的方式获得较为稳定的夹紧锁定定位效果,则在需要对柔性钢丝拉绳2进行绷紧调节时可通过转动绕线轮16的形式对柔性钢丝拉绳2进行收放调整,再通过定位压板20对转动绕线轮16的位置进行定位,使得柔性钢丝拉绳2维持合适的张紧度,以适配多组光伏电池板3的安装。During specific use, through the design of structures such as the flexible
所述柔性绳定位板5的两端开设有用于柔性钢丝拉绳2贯穿的贯穿孔,所述柔性绳定位板5上与贯穿孔对齐的位置设置有用于柔性钢丝拉绳2贯穿定位的定位筒14;所述安装座15通过安装螺栓12固定安装于柔性绳定位板5的侧部,所述固定座17通过安装螺栓12固定安装于安装座15上。The two ends of the flexible
所述固定座17的上下部均开设有用于调节螺杆18安装的螺纹通孔,所述调节螺杆18设置为带有外六角头的螺杆;所述调节螺杆18螺纹贯穿固定座17的上部和下部,所述调节螺杆18的螺杆端部转动连接于定位压板20;所述绕线轮16的两侧面均设置有定位齿19,所述定位压板20上靠近绕线轮16的侧面上同样设置有与绕线轮16对应的定位齿19;绕线轮16和定位压板20上定位齿19的配合如图4所示。The upper and lower parts of the fixed
本申请文件的控制方式是通过控制器来自动控制,控制器的控制电路通过本领域的技术人员简单编程即可实现,属于本领域的公知常识,并且本申请文件主要用来保护结构和形状及其结合,所以本申请文件不再详细解释控制方式和电路连接,该装置通过内置电源或者外置电源进行供电。The control method of this application document is automatically controlled by a controller, and the control circuit of the controller can be realized through simple programming by those skilled in the art, which belongs to the common knowledge in this field, and this application document is mainly used to protect the structure and shape and Therefore, this application document does not explain the control method and circuit connection in detail, and the device is powered by a built-in power supply or an external power supply.
尽管已经示出和描述了本实用新型的实施例,对于本领域的普通技术人员而言,可以理解在不脱离本实用新型的原理和精神的情况下可以对这些实施例进行多种变化、修改、替换和变型,本实用新型的范围由所附权利要求及其等同物限定。Although the embodiments of the present invention have been shown and described, those skilled in the art can understand that various changes and modifications can be made to these embodiments without departing from the principle and spirit of the present invention , replacements and modifications, the scope of the present utility model is defined by the appended claims and their equivalents.
Claims (10)
Priority Applications (1)
| Application Number | Priority Date | Filing Date | Title |
|---|---|---|---|
| CN202222428110.0U CN218162316U (en) | 2022-09-14 | 2022-09-14 | Flexible photovoltaic support |
Applications Claiming Priority (1)
| Application Number | Priority Date | Filing Date | Title |
|---|---|---|---|
| CN202222428110.0U CN218162316U (en) | 2022-09-14 | 2022-09-14 | Flexible photovoltaic support |
Publications (1)
| Publication Number | Publication Date |
|---|---|
| CN218162316U true CN218162316U (en) | 2022-12-27 |
Family
ID=84560376
Family Applications (1)
| Application Number | Title | Priority Date | Filing Date |
|---|---|---|---|
| CN202222428110.0U Active CN218162316U (en) | 2022-09-14 | 2022-09-14 | Flexible photovoltaic support |
Country Status (1)
| Country | Link |
|---|---|
| CN (1) | CN218162316U (en) |
Cited By (4)
| Publication number | Priority date | Publication date | Assignee | Title |
|---|---|---|---|---|
| CN116398585A (en) * | 2023-05-06 | 2023-07-07 | 中国电建集团贵州电力设计研究院有限公司 | Stay cord preloading device of flexible photovoltaic support |
| CN116582060A (en) * | 2023-07-14 | 2023-08-11 | 江苏龙腾工程设计股份有限公司 | A photovoltaic flexible support and its installation method |
| CN116692708A (en) * | 2023-05-31 | 2023-09-05 | 江苏中信博新能源科技股份有限公司 | Steel strand tensioning equipment |
| CN117833781A (en) * | 2024-01-16 | 2024-04-05 | 徐州日托新材料科技有限公司 | Flexible photovoltaic bracket |
-
2022
- 2022-09-14 CN CN202222428110.0U patent/CN218162316U/en active Active
Cited By (5)
| Publication number | Priority date | Publication date | Assignee | Title |
|---|---|---|---|---|
| CN116398585A (en) * | 2023-05-06 | 2023-07-07 | 中国电建集团贵州电力设计研究院有限公司 | Stay cord preloading device of flexible photovoltaic support |
| CN116692708A (en) * | 2023-05-31 | 2023-09-05 | 江苏中信博新能源科技股份有限公司 | Steel strand tensioning equipment |
| CN116582060A (en) * | 2023-07-14 | 2023-08-11 | 江苏龙腾工程设计股份有限公司 | A photovoltaic flexible support and its installation method |
| CN116582060B (en) * | 2023-07-14 | 2023-10-03 | 江苏龙腾工程设计股份有限公司 | Photovoltaic flexible support and installation method thereof |
| CN117833781A (en) * | 2024-01-16 | 2024-04-05 | 徐州日托新材料科技有限公司 | Flexible photovoltaic bracket |
Similar Documents
| Publication | Publication Date | Title |
|---|---|---|
| CN218162316U (en) | Flexible photovoltaic support | |
| CN219175594U (en) | Assembled aluminum plate curtain wall | |
| CN221842484U (en) | Energy-saving device for nitrogen generator | |
| CN219960453U (en) | Support of auxiliary maintenance photovoltaic power station | |
| CN207069977U (en) | A kind of solar panel fixed mount easy to use | |
| CN216923451U (en) | Power plant equipment maintains and maintains strutting arrangement with high-efficient dismouting type pipeline | |
| CN221553180U (en) | Civil photovoltaic power generation board base support | |
| CN220598719U (en) | Steel construction connecting device with adjustable function for construction | |
| CN221886370U (en) | Flat-top solar panel installing support | |
| CN222107857U (en) | A special-shaped photovoltaic glass component for buildings | |
| CN218845939U (en) | Stage mechanical lighting safety assembly | |
| CN220601141U (en) | Monitoring device convenient to change | |
| CN220475664U (en) | But angle regulation's photovoltaic power generation board mounting bracket | |
| CN221240289U (en) | Solar energy monitoring device | |
| CN221240301U (en) | Rotatable solar photovoltaic panel | |
| CN222073020U (en) | Photovoltaic panel mounting base without bolt installation | |
| CN222296424U (en) | Auxiliary transportation bracket for fan blades | |
| CN217486421U (en) | Regulating and controlling mechanism and solar photovoltaic support | |
| CN220354137U (en) | Floor fan convenient for fan blade replacement | |
| CN222269267U (en) | Dual-axis servo position-changing tightening mechanism | |
| CN221227448U (en) | Photovoltaic is with adjusting support | |
| CN213843977U (en) | Computer CPU subassembly fixed knot constructs | |
| CN219606680U (en) | Self-starting camera with low energy consumption | |
| CN220586209U (en) | Fixed bolster for solar energy | |
| CN218771892U (en) | Fixed ground support device of solar energy |
Legal Events
| Date | Code | Title | Description |
|---|---|---|---|
| GR01 | Patent grant | ||
| GR01 | Patent grant | ||
| PE01 | Entry into force of the registration of the contract for pledge of patent right | ||
| PE01 | Entry into force of the registration of the contract for pledge of patent right |
Denomination of utility model: A flexible photovoltaic bracket Effective date of registration: 20231211 Granted publication date: 20221227 Pledgee: Guanggu Branch of Wuhan Rural Commercial Bank Co.,Ltd. Pledgor: Huachuang Tiansheng (Wuhan) Technology Co.,Ltd. Registration number: Y2023980070699 |
|
| PC01 | Cancellation of the registration of the contract for pledge of patent right | ||
| PC01 | Cancellation of the registration of the contract for pledge of patent right |
Granted publication date: 20221227 Pledgee: Guanggu Branch of Wuhan Rural Commercial Bank Co.,Ltd. Pledgor: Huachuang Tiansheng (Wuhan) Technology Co., Ltd Registration number: Y2023980070699 |
