CN218135920U - 一种盾构机零部件加工用焊接装置 - Google Patents

一种盾构机零部件加工用焊接装置 Download PDF

Info

Publication number
CN218135920U
CN218135920U CN202222253188.3U CN202222253188U CN218135920U CN 218135920 U CN218135920 U CN 218135920U CN 202222253188 U CN202222253188 U CN 202222253188U CN 218135920 U CN218135920 U CN 218135920U
Authority
CN
China
Prior art keywords
welding
support
welding device
hydraulic cylinder
inner top
Prior art date
Legal status (The legal status is an assumption and is not a legal conclusion. Google has not performed a legal analysis and makes no representation as to the accuracy of the status listed.)
Active
Application number
CN202222253188.3U
Other languages
English (en)
Inventor
谭新磊
Current Assignee (The listed assignees may be inaccurate. Google has not performed a legal analysis and makes no representation or warranty as to the accuracy of the list.)
Cai Xiaochao
Original Assignee
Wugang Jingcheng Machinery Co ltd
Priority date (The priority date is an assumption and is not a legal conclusion. Google has not performed a legal analysis and makes no representation as to the accuracy of the date listed.)
Filing date
Publication date
Application filed by Wugang Jingcheng Machinery Co ltd filed Critical Wugang Jingcheng Machinery Co ltd
Priority to CN202222253188.3U priority Critical patent/CN218135920U/zh
Application granted granted Critical
Publication of CN218135920U publication Critical patent/CN218135920U/zh
Active legal-status Critical Current
Anticipated expiration legal-status Critical

Links

Images

Landscapes

  • Butt Welding And Welding Of Specific Article (AREA)

Abstract

本实用新型提供一种盾构机零部件加工用焊接装置。盾构机零部件加工用焊接装置,包括:焊接机器人和支撑机构;所述支撑机构包括设于所述焊接机器人下方的夹具,所述夹具内夹持有工件,所述夹具的下方设有两个支撑台,所述支撑台上安装有两个支撑板,所述支撑板上设有夹持组件,所述夹具通过夹持组件夹持在相应的支撑板上,所述支撑板的下方设有翻转组件。本实用新型提供的盾构机零部件加工用焊接装置通过设置焊接机器人、夹具、支撑台、支撑板、翻转组件和夹持组件,能够方便的对夹持在夹具内的工件进行翻面,方便对工件的两面进行焊接,节省大量的时间和人力,进而方便焊接作业,提高作业效率。

Description

一种盾构机零部件加工用焊接装置
技术领域
本实用新型涉及焊接技术领域,尤其涉及一种盾构机零部件加工用焊接装置。
背景技术
盾构机作为重大的工程机械装备,已广泛应用于地铁隧道、公路隧道及城市管网隧道的掘进施工,盾构机是集机、电、液为一体的高新技术产品,其制造过程也较复杂,特别是盾构机的主要钢结构零部件,尺寸大,体积大、重量大,常采用焊接制造,由于焊接工作量大、焊接工人技术水平参差不齐,造成产品焊接生产周期长、生产效率低、焊接质量难以得到稳定保障。
现有授权公告号CN203316925U的文件公开了一种盾构机钢结构零部件自动焊接装置,包括焊接机器人、工件夹具、龙门架、自动焊接控制系统,,采用机器人焊接技术,焊接效率高,焊接质量可靠,大大节省了人力成本,而且还具有容易制造、安装方便的优点。
但是该方案仍有不足之处,盾构机的主要钢结构零部件的正反面均需要进行焊接,但是该方案所采用的工件夹具并不具有自动翻转功能,因此需要使用行车或其他大型吊具将零部件进行翻面,并重新进行固定,因此需要耗费大量时间和人力。
因此,有必要提供一种盾构机零部件加工用焊接装置解决上述技术问题。
实用新型内容
本实用新型解决的技术问题是提供一种盾构机零部件加工用焊接装置能够方便的对工件进行翻面,节省时间,提高作业效率。
为解决上述技术问题,本实用新型提供的盾构机零部件加工用焊接装置,包括:焊接机器人和支撑机构,焊接机器人可以为多个;所述支撑机构包括设于所述焊接机器人下方的夹具,夹具为环形,所述夹具的中间夹持有工件,所述夹具的下方设有两个支撑台,所述支撑台上安装有两个支撑板,支撑板能够进行九十度的垂直翻转,所述支撑板上设有夹持组件,所述夹具通过夹持组件夹持在相应的支撑板上,所述支撑板通过下方的翻转组件进行翻转角度控制。
优选的,所述翻转组件包括安装在所述支撑板底部的多级液压缸,多级液压缸可以为多个,两个所述支撑台之间安装有转动座,所述多级液压缸的底端与所述转动座连接。
优选的,所述支撑台的顶部设有多个支撑柱,多个支撑座均匀设置在支撑台的顶部。
优选的,所述夹持组件包括内顶部件和外撑部件,所述内顶部件有多个内顶液压缸组成,所述外撑部件由多个外撑液压缸组成,内顶液压缸与外撑液压缸一一对应并呈环形阵列分布,将夹具固定在内顶液压缸与外撑液压缸之间。
优选的,所述内顶液压缸的一端安装有内顶板,所述外撑液压缸的一端安装有外撑板,内顶板和外撑板用于增大内顶液压缸、外撑液压缸的输出轴与夹具之间摩擦力,防止打滑。
优选的,所述夹具内设有支撑环和活动环,支撑环与夹具采用焊接方式连接,支撑环和活动环之间通过多个螺栓连接,所述支撑环和所述活动环的内侧均设有多个卡块,工件固定夹持在上下两层的多个卡块之间。
优选的,所述焊接机器人安装在安装板的底部,所述安装板通过电动推杆与行走架连接,电动推杆通过电驱机构能够在行走架的下方横向移动,所述行走架在两个轨道上移动。
与相关技术相比较,本实用新型提供的盾构机零部件加工用焊接装置具有如下有益效果:
(1)、通过设置焊接机器人、夹具、支撑台、支撑板、翻转组件和夹持组件,能够方便的对夹持在夹具内的工件进行翻面,方便对工件的两面进行焊接,节省大量的时间和人力,进而方便焊接作业,提高作业效率。
(2)、通过设置包括多级液压缸和转动座的翻转组件,能够方便驱动支撑座翻转。
(3)、通过设置支撑台的顶部设有多个支撑柱,能够对支撑板起到支撑和限位作用。
(4)、通过设置多个内顶液压缸与外撑液压缸组成的夹持组件,能够方便固定夹具。
(5)、通过设置支撑环、活动环和卡块,能够方便固定工件。
(6)、通过设置安装板、电动推杆、行走架和轨道,能够方便驱动焊接机器人移动和升降。
附图说明
图1为本实用新型提供的盾构机零部件加工用焊接装置的结构示意图;
图2为图1所示的盾构机零部件加工用焊接装置中翻转组件的结构示意图;
图3为图1所示的盾构机零部件加工用焊接装置中夹持组件的结构示意图;
图4为图1所示的盾构机零部件加工用焊接装置中夹具的结构示意图;
图5为图1所示的盾构机零部件加工用焊接装置中焊接机器人的安装示意图。
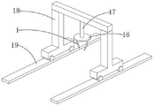
图中标号:1、焊接机器人,2、夹具,3、工件,4、支撑台,5、支撑板,6、多级液压缸,7、转动座,8、支撑柱,9、内顶液压缸,10、外撑液压缸,11、内顶板,12、外撑板,13、支撑环,14、活动环,15、卡块,16、安装板,17、电动推杆,18、行走架,19、轨道。
具体实施方式
下面结合附图和实施方式对本实用新型作进一步说明。
请结合参阅图1-5,在本实用新型的实施例中,盾构机零部件加工用焊接装置包括:焊接机器人1和支撑机构,焊接机器人1可以为多个;所述支撑机构包括设于所述焊接机器人1下方的夹具2,夹具2为环形,所述夹具2的中间夹持有工件3,所述夹具2的下方设有两个支撑台4,所述支撑台4上安装有两个支撑板5,支撑板5能够进行九十度的垂直翻转,所述支撑板5上设有夹持组件,所述夹具2通过夹持组件夹持在相应的支撑板5上,所述支撑板5通过下方的翻转组件进行翻转角度控制,两个支撑板5翻转九十度后的水平距离与夹具2的高度相等,使用时,工件3通过上方的焊接机器人1进行自动焊接,一面焊接完成后,焊接机器人1回到安全位置,通过翻转组件驱动两个支撑板5翻转呈垂直状态,闲置支撑板5上的夹持组件启动并将夹具2夹住,原来支撑板5上的夹持组件松开对夹具2的夹持,即将夹具2以及工件3交换至另一个支撑板5上并进行翻面,然后启动翻转组件将支撑板5恢复至水平,然后焊接机器人1即可对工件3的另一面进行焊接。
通过设置焊接机器人1、夹具2、支撑台4、支撑板5、翻转组件和夹持组件,能够方便的对夹持在夹具2内的工件3进行翻面,方便对工件3的两面进行焊接,节省大量的时间和人力,进而方便焊接作业,提高作业效率。
实施例2:
如图2所示,所述翻转组件包括安装在所述支撑板5底部的多级液压缸6,多级液压缸6的输出轴与支撑板5转动连接,多级液压缸6可以为多个,两个所述支撑台4之间安装有转动座7,所述多级液压缸6的底端与所述转动座7连接,使用时,多级液压缸6启动使输出轴伸长,进而使支撑板5的一侧升高,于是支撑板5翻转,与此同时,多级液压缸6绕着转动座7转动。
通过设置包括多级液压缸6和转动座7的翻转组件,能够方便驱动支撑座5翻转。
实施例3:
如图2所示,所述支撑台4的顶部设有多个支撑柱8,多个支撑柱8均匀设置在支撑台4的顶部,使用时,当支撑板5水平时,支撑柱8对支撑板5进行支撑和限位,防止支撑板5恢复到水平状态时翻转过度。
通过设置支撑台4的顶部设有多个支撑柱8,能够对支撑板5起到支撑和限位作用。
实施例4:
如图3所示,所述夹持组件包括内顶部件和外撑部件,所述内顶部件有多个内顶液压缸9组成,所述外撑部件由多个外撑液压缸10组成,内顶液压缸9与外撑液压缸10一一对应并呈环形阵列分布,内顶液压缸9与外撑液压缸10形成一个环形的夹持空间,将夹具2固定在内顶液压缸9与外撑液压缸10之间的夹持空间内,所述内顶液压缸9的一端安装有内顶板11,所述外撑液压缸10的一端安装有外撑板12,内顶板11和外撑板12用于增大内顶液压缸9、外撑液压缸10的输出轴与夹具2之间摩擦力,防止打滑,使用时,夹具2置于内顶液压缸9与外撑液压缸10之间,同步启动内顶液压缸9和外撑液压缸10,使内顶板11和外撑板12从两侧将夹具2进行夹持和固定。
通过设置多个内顶液压缸9与外撑液压缸10组成的夹持组件,能够方便固定夹具2。
实施例5:
如图4所示,所述夹具2内设有支撑环13和活动环14,支撑环13与夹具2采用焊接方式连接,支撑环13和活动环14之间通过多个螺栓连接,所述支撑环和所述活动环14的内侧均设有多个卡块15,工件3固定夹持在上下两层的多个卡块15之间,使用时,将工件放置在支撑环13上,在将活动环14置于工件上方,使用螺栓将支撑环13和活动环14连接固定,使工件3固定在支撑环13和活动环14之间,夹持时,工件需要焊接部位应避开卡块15位置。
通过设置支撑环13、活动环14和卡块15,能够方便固定工件3。
实施例6:
如图5所示,所述焊接机器人1安装在安装板16的底部,所述安装板16通过电动推杆17与行走架18连接,电动推杆17通过电驱机构能够在行走架18的下方横向移动,电驱机构可以采用电动机带动丝杆传动的方式,在此不做赘述,所述行走架18在两个轨道19上移动,使用时,焊接机器人1通过电动推杆17可升降高度,通过行走架18能够进行移动。
通过设置安装板16、电动推杆17、行走架18和轨道19,能够方便驱动焊接机器人1移动和升降。
本实用新型提供的盾构机零部件加工用焊接装置的工作原理如下:
首先,电动推杆17、多级液压缸6、内顶液压缸9与外撑液压缸10均通过控制器进行控制;
工件3通过上方的焊接机器人1进行自动焊接,一面焊接完成后,焊接机器人1通过电动推杆17可升降高度,通过行走架18能够进行移动,进而使焊接机器人1回到安全位置;
多级液压缸6启动使输出轴伸长,进而使支撑板5的一侧升高,于是支撑板5翻转,与此同时,多级液压缸6绕着转动座7转动,两个支撑板5翻转呈垂直状态,闲置支撑板5上的夹持组件启动并将夹具2夹住,原来支撑板5上的夹持组件松开对夹具2的夹持,即将夹具2以及工件3交换至另一个支撑板5上并进行翻面,然后启动多级液压缸6将支撑板5恢复至水平,使支撑板5搭在支撑柱8上,然后焊接机器人1移动至工件3上方,即可对工件3的另一面进行焊接。
以上所述仅为本实用新型的较佳实施例而已,并不用以限制本实用新型,凡在本实用新型的精神和原则之内所作的任何修改、等同替换和改进等,均应包含在本实用新型的保护范围之内。

Claims (7)

1.一种盾构机零部件加工用焊接装置,其特征在于,包括:焊接机器人和支撑机构;所述支撑机构包括设于所述焊接机器人下方的夹具,所述夹具内夹持有工件,所述夹具的下方设有两个支撑台,所述支撑台上安装有两个支撑板,所述支撑板上设有夹持组件,所述夹具通过夹持组件夹持在相应的支撑板上,所述支撑板的下方设有翻转组件。
2.根据权利要求1所述的盾构机零部件加工用焊接装置,其特征在于,所述翻转组件包括安装在所述支撑板底部的多级液压缸,两个所述支撑台之间安装有转动座,所述多级液压缸的底端与所述转动座连接。
3.根据权利要求1所述的盾构机零部件加工用焊接装置,其特征在于,所述支撑台的顶部设有多个支撑柱,多个支撑座均匀设置。
4.根据权利要求1所述的盾构机零部件加工用焊接装置,其特征在于,所述夹持组件包括内顶部件和外撑部件,所述内顶部件有多个内顶液压缸组成,所述外撑部件由多个外撑液压缸组成。
5.根据权利要求4所述的盾构机零部件加工用焊接装置,其特征在于,所述内顶液压缸的一端安装有内顶板,所述外撑液压缸的一端安装有外撑板。
6.根据权利要求1所述的盾构机零部件加工用焊接装置,其特征在于,所述夹具内设有支撑环和活动环,所述支撑环和所述活动环的内侧均设有多个卡块。
7.根据权利要求1所述的盾构机零部件加工用焊接装置,其特征在于,所述焊接机器人安装在安装板的底部,所述安装板通过电动推杆与行走架连接,所述行走架在两个轨道上移动。
CN202222253188.3U 2022-08-26 2022-08-26 一种盾构机零部件加工用焊接装置 Active CN218135920U (zh)

Priority Applications (1)

Application Number Priority Date Filing Date Title
CN202222253188.3U CN218135920U (zh) 2022-08-26 2022-08-26 一种盾构机零部件加工用焊接装置

Applications Claiming Priority (1)

Application Number Priority Date Filing Date Title
CN202222253188.3U CN218135920U (zh) 2022-08-26 2022-08-26 一种盾构机零部件加工用焊接装置

Publications (1)

Publication Number Publication Date
CN218135920U true CN218135920U (zh) 2022-12-27

Family

ID=84554252

Family Applications (1)

Application Number Title Priority Date Filing Date
CN202222253188.3U Active CN218135920U (zh) 2022-08-26 2022-08-26 一种盾构机零部件加工用焊接装置

Country Status (1)

Country Link
CN (1) CN218135920U (zh)

Cited By (1)

* Cited by examiner, † Cited by third party
Publication number Priority date Publication date Assignee Title
CN116690090A (zh) * 2023-08-04 2023-09-05 潍柴新能源商用车有限公司 一种柴油工程自卸车驾驶室翻转焊接工装

Cited By (2)

* Cited by examiner, † Cited by third party
Publication number Priority date Publication date Assignee Title
CN116690090A (zh) * 2023-08-04 2023-09-05 潍柴新能源商用车有限公司 一种柴油工程自卸车驾驶室翻转焊接工装
CN116690090B (zh) * 2023-08-04 2023-10-13 潍柴新能源商用车有限公司 一种柴油工程自卸车驾驶室翻转焊接工装

Similar Documents

Publication Publication Date Title
CN202910525U (zh) 一种用于机械夹持长钢结构件的翻转装置
CN105537645A (zh) 一种柱形零件自动钻孔装置
CN210286476U (zh) 海上大型风电叶片吊具
CN205342324U (zh) 一种焊接夹具翻转机构
CN218135920U (zh) 一种盾构机零部件加工用焊接装置
CN108838954A (zh) 一种新型多功能机械设备检修台装置及其检修方法
CN213384520U (zh) 一种报废汽车拆解用翻转装置
CN209936907U (zh) 一种电池极片焊接测试机的夹取机构
CN209939776U (zh) 一种翻转机
CN207086611U (zh) 压力头移动式液压校直机
CN103659262B (zh) 双边式装配变位机
CN113953753A (zh) 一种泵车臂架底板与侧板组对拼点工装
CN210677490U (zh) 焊接机器人底座
CN217913325U (zh) 一种汽车后桥的焊接装置
CN204504632U (zh) 一种高效可靠的瓷砖模具的包边焊接装置
CN109605110B (zh) 一种用于数控机床上下料的工业机器人
CN207087164U (zh) 一种全自动焊接生产线
CN207129916U (zh) 一种具有自锁夹爪的搬砖机
CN211102397U (zh) 一种焊件全方位变位焊机
CN215548802U (zh) 机器人装配立卧转换机构
CN211804537U (zh) 一种用于风力发电机舱的机器人焊接系统
CN218253548U (zh) 一种支撑稳定的点焊机器人
CN209598048U (zh) 一种可翻转的中转台
CN207807009U (zh) 一种汽车焊装夹具压臂
CN219340818U (zh) 一种重载传动架的90度翻转装置

Legal Events

Date Code Title Description
GR01 Patent grant
GR01 Patent grant
TR01 Transfer of patent right

Effective date of registration: 20240725

Address after: No. 198 Meixiang Road, Dongpo District, Meishan City, Sichuan Province 620000

Patentee after: Li Ming

Country or region after: China

Address before: 200 meters south of the southeast of the intersection of Chuangye Road and Zeyuan Road, Wugang City, Pingdingshan City, 462500 Henan Province

Patentee before: Wugang Jingcheng Machinery Co.,Ltd.

Country or region before: China

TR01 Transfer of patent right
TR01 Transfer of patent right

Effective date of registration: 20241212

Address after: 511496, Room 201, Second Floor, Building 6, Lemanyuan, Jinxiu Garden West Area, Junxin Road, Zhongcun Town, Panyu District, Guangzhou City, Guangdong Province, China

Patentee after: Cai Xiaochao

Country or region after: China

Address before: No. 198 Meixiang Road, Dongpo District, Meishan City, Sichuan Province 620000

Patentee before: Li Ming

Country or region before: China

TR01 Transfer of patent right