CN218133626U - Maintenance box for agricultural machine - Google Patents
Maintenance box for agricultural machine Download PDFInfo
- Publication number
- CN218133626U CN218133626U CN202222255697.XU CN202222255697U CN218133626U CN 218133626 U CN218133626 U CN 218133626U CN 202222255697 U CN202222255697 U CN 202222255697U CN 218133626 U CN218133626 U CN 218133626U
- Authority
- CN
- China
- Prior art keywords
- case
- lead screw
- maintenance
- maintenance box
- box
- Prior art date
- Legal status (The legal status is an assumption and is not a legal conclusion. Google has not performed a legal analysis and makes no representation as to the accuracy of the status listed.)
- Active
Links
- 238000012423 maintenance Methods 0.000 title claims abstract description 58
- 238000004140 cleaning Methods 0.000 claims description 36
- 239000003973 paint Substances 0.000 claims description 30
- XLYOFNOQVPJJNP-UHFFFAOYSA-N water Substances O XLYOFNOQVPJJNP-UHFFFAOYSA-N 0.000 claims description 30
- 239000007788 liquid Substances 0.000 claims description 21
- 239000007921 spray Substances 0.000 claims description 21
- 238000000151 deposition Methods 0.000 claims description 17
- 230000001050 lubricating effect Effects 0.000 claims description 15
- 238000003860 storage Methods 0.000 claims description 14
- 238000003756 stirring Methods 0.000 claims description 8
- 238000005406 washing Methods 0.000 claims description 8
- 238000007599 discharging Methods 0.000 claims description 7
- 238000001035 drying Methods 0.000 claims description 5
- 238000004321 preservation Methods 0.000 claims description 3
- 238000003466 welding Methods 0.000 claims description 2
- 238000005516 engineering process Methods 0.000 description 9
- 238000005192 partition Methods 0.000 description 4
- 238000009423 ventilation Methods 0.000 description 3
- 238000001914 filtration Methods 0.000 description 2
- 238000000034 method Methods 0.000 description 2
- 239000000203 mixture Substances 0.000 description 2
- 239000002689 soil Substances 0.000 description 2
- 230000006978 adaptation Effects 0.000 description 1
- 230000009286 beneficial effect Effects 0.000 description 1
- 238000010276 construction Methods 0.000 description 1
- 238000010586 diagram Methods 0.000 description 1
- 238000007689 inspection Methods 0.000 description 1
- 238000009434 installation Methods 0.000 description 1
- 238000009413 insulation Methods 0.000 description 1
- JEIPFZHSYJVQDO-UHFFFAOYSA-N iron(III) oxide Inorganic materials O=[Fe]O[Fe]=O JEIPFZHSYJVQDO-UHFFFAOYSA-N 0.000 description 1
- 239000004922 lacquer Substances 0.000 description 1
- 239000000314 lubricant Substances 0.000 description 1
- 238000002156 mixing Methods 0.000 description 1
- 238000012986 modification Methods 0.000 description 1
- 230000004048 modification Effects 0.000 description 1
- 230000002035 prolonged effect Effects 0.000 description 1
Images
Landscapes
- Details Or Accessories Of Spraying Plant Or Apparatus (AREA)
Abstract
The utility model discloses a maintenance case for agricultural machine relates to the agricultural machine field, including wasing the case and wasing the structure, its characterized in that: the inboard block that washs the case has the chamber door, and the right side of wasing the case is connected with the outlet pipe, wash the left side of case and install maintenance case main part, the left side of maintenance case main part is installed and is deposited the case. The utility model discloses a curb plate that sets up, the grip block, first lead screw, the second lead screw and place the board, open the chamber door of wasing the case, place agricultural machine on placing the board, twist soon this moment and twist first lead screw and second lead screw, it removes to drive nut piece and grip block through the screw thread when making it rotate, four grip blocks move to machinery, thereby it is fixed to carry out the centre gripping to machinery, then, according to the size of machinery, adjust the interval of two curb plates, make two curb plates, the size phase-match of front bezel and machinery, be convenient for wash not unidimensional machinery.
Description
Technical Field
The utility model relates to the field of agricultural machinery, specifically be a maintenance box for agricultural machinery.
Background
Agricultural machines include agricultural power machines, farmland construction machines, soil cultivation machines and the like, and after the agricultural machines are used, the agricultural machines need to be maintained in time so as to prolong the service life of the agricultural machines and reduce the damage of the machines.
The patent document with the prior art publication number CN212883755U provides a maintenance device for agricultural machinery, which integrally adopts the principle of drying after cleaning, so that soil on machinery can be effectively cleaned, and the machinery can be kept dry after being cleaned, rust can not be generated, and the service life of the machinery is prolonged, but the patent of CN212883755U can clean agricultural machinery when in use, but the cleaning structure size is fixed, and cannot be adjusted, so that the maintenance device cannot adapt to agricultural machinery with different sizes, and therefore a maintenance box for agricultural machinery is urgently needed.
SUMMERY OF THE UTILITY MODEL
Based on this, the utility model aims at providing a maintenance box for agricultural machine to solve current maintenance box and can wash agricultural machine, nevertheless wash the structure size fixed, can't adjust, lead to unable agricultural machine to unidimensional adaptation, current maintenance box can't spray paint the maintenance and the problem that present maintenance box did not have the function of ventilating and depositing to the apparatus after the use.
In order to achieve the above object, the utility model provides a following technical scheme: the utility model provides a maintenance box for agricultural machine, is including wasing the case and wasing the structure, its characterized in that: the inboard block of wasing the case has the chamber door, and the right side of wasing the case is connected with the outlet pipe, wash the left side of case and install maintenance case main part, the left side of maintenance case main part is installed and is deposited the case.
Electric putter is installed to the inboard of washing case, first motor is installed in electric putter's left side, the output of first motor is fixed with places the board, the inboard swing joint who places the board has first lead screw, the below of first lead screw is provided with the second lead screw, and the outer wall swing joint of first lead screw has the nut piece, the top of nut piece is fixed with the grip block, the lubricated liquid case is installed to the inboard of maintenance case main part, and the inner wall of maintenance case main part installs drying equipment, be provided with the paint cylinder in the maintenance case main part, the bottom of lubricated liquid case is connected with the discharging pipe, the bottom of discharging pipe is connected with the burette, the second motor is installed on the top of paint cylinder, and the bottom of paint cylinder is connected with the connecting pipe, the output of second motor is fixed with the stirring frame, the spray gun is installed to the bottom of connecting pipe.
The inner wall of depositing the case is fixed with the baffle, and the inboard of depositing the case is provided with out the fan housing, the air-blower is installed to the front end that goes out the fan housing, the inboard movable mounting of maintenance case main part has the rotor plate.
Preferably, wash the structure and include water tank, inlet tube, shower nozzle, curb plate, cleaning brush and front bezel, and the inboard of wasing the case is provided with the shower nozzle, and the inner wall of wasing the case is fixed with the front bezel, the top of shower nozzle is connected with the inlet tube, the left side of inlet tube is provided with the water tank, the both sides swing joint of front bezel has the curb plate, the inner wall of curb plate, front bezel all is connected with the cleaning brush.
Preferably, the top of water tank is provided with the water inlet, install the water pump on the inlet tube, the shower nozzle runs through to the inboard of washing the case, curb plate and washing case pass through mounting panel fixed connection, and the quantity of curb plate is two.
Preferably, first lead screw, second lead screw and place the board and all rotate through the bearing and be connected, and the nut piece passes through screw thread swing joint with first lead screw, second lead screw, the inner wall of grip block is provided with the friction pad, and the quantity of grip block is two sets of, first motor passes through connecting plate fixed connection with electric putter.
Preferably, the rotating plate is rotatably connected with the maintenance box main body through a rotating shaft, the lubricating liquid box, the paint cylinder and the maintenance box main body are fixedly connected through bolts, the stirring frame is provided with a feeding groove, the inner wall of the maintenance box main body is fixedly provided with a clamping frame matched with the connecting pipe, and the connecting pipe is provided with an electromagnetic valve.
Preferably, the inboard of depositing case, maintenance case main part all blocks and has the chamber door, the baffle welding is at the inner wall of depositing the case, it runs through to the inboard of depositing the case to go out the fan housing.
Preferably, the air-blower passes through mounting bracket fixed connection with depositing the case, and the air-blower passes through connecting cover swing joint with the play fan housing, the inner wall of depositing the case is provided with the heat preservation.
Compared with the prior art, the beneficial effects of the utility model are that:
1. the utility model discloses a curb plate, grip block, first lead screw, second lead screw and the board of placing that set up open the chamber door of washing case, place agricultural machine on placing the board, twist soon at this moment and twist first lead screw and second lead screw, drive nut piece and grip block through the screw thread and move when making it rotate, four grip blocks move to machinery to carry out centre gripping to machinery fixedly, then, according to the size of machinery, adjust the interval of two curb plates, make two curb plates, front bezel and size phase-match of machinery, be convenient for wash the machinery of different sizes;
2. the utility model discloses a paint cylinder that sets up, the agitator, spray gun and rotor plate, machinery after the washing takes out and places on the rotor plate in the maintenance case main part, inspection machinery, seek the place that needs the benefit lacquer, then workman's one hand fixed machinery is on the rotor plate, the spray gun is taken to the other hand, the second motor operation this moment, the inside technique of second motor is prior art, the second motor drives the agitator and rotates, make the agitator mix the paint vehicle in the paint cylinder, make the fully mixed paint vehicle enter into the spray gun through the connecting pipe, thereby be controlled by the workman, make the paint vehicle spray to mechanical, maintain the mechanical outer wall, if need add lubricating liquid, then can use the burette, lubricating liquid in the lubricating liquid case flows through the discharging pipe, thereby drip through the burette on machinery, realize the interpolation of lubricating liquid;
3. the utility model discloses a case, baffle, play wind cover and air-blower of depositing that set up, the maintenance is accomplished machinery then can take out the back, places on depositing the inboard baffle of case, places the back, and is closed with the chamber door, then controls the air-blower operation, and the air-blower inside technology is prior art, and with outside air current process filtration back during the air-blower operation, carry to going out the wind cover through the connecting housing to finally enter into through going out the wind cover and deposit in the case, realize the ventilation of depositing the case, the agricultural machine's of being convenient for save.
Drawings
FIG. 1 is an overall structure diagram of the present invention;
FIG. 2 is a schematic view of the front cross-section structure of the present invention;
FIG. 3 is a schematic view of the structure of the cleaning tank of the present invention;
fig. 4 is a schematic view of a front plate of the present invention;
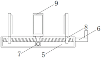
fig. 5 is a schematic structural view of the placing plate of the present invention;
FIG. 6 is a schematic view of a paint canister of the present invention;
fig. 7 is a schematic view of the blower of the present invention.
In the figure: 1. a cleaning tank; 2. a box door; 3. a water outlet pipe; 4. cleaning the structure; 401. a water tank; 402. a water inlet pipe; 403. a spray head; 404. a side plate; 405. a cleaning brush; 406. a front plate; 5. placing the plate; 6. a first lead screw; 7. a second lead screw; 8. a nut block; 9. a clamping plate; 10. a first motor; 11. an electric push rod; 12. maintaining the box main body; 13. a lubricant tank; 14. a discharge pipe; 15. a dropper; 16. a rotating plate; 17. a drying device; 18. a second motor; 19. a paint cartridge; 20. a stirring frame; 21. a connecting pipe; 22. a spray gun; 23. a storage box; 24. a partition plate; 25. an air outlet cover; 26. a blower.
Detailed Description
The technical solution in the embodiments of the present invention will be clearly and completely described below with reference to the drawings in the embodiments of the present invention. The embodiments described below with reference to the drawings are exemplary only for the purpose of explaining the present invention, and should not be construed as limiting the present invention.
The following describes an embodiment of the present invention according to its overall structure.
Referring to fig. 3-5, a maintenance box for agricultural machinery comprises a cleaning box 1 and a cleaning structure 4, and is characterized in that: the inner side of the cleaning box 1 is clamped with a box door 2, the right side of the cleaning box 1 is connected with a water outlet pipe 3, the left side of the cleaning box 1 is provided with a maintenance box main body 12, the left side of the maintenance box main body 12 is provided with a storage box 23, the cleaning structure 4 comprises a water tank 401, a water inlet pipe 402, a spray nozzle 403, side plates 404, cleaning brushes 405 and a front plate 406, the inner side of the cleaning box 1 is provided with the spray nozzle 403, the inner wall of the cleaning box 1 is fixed with the front plate 406, the top end of the spray nozzle 403 is connected with the water inlet pipe 402, the left side of the water inlet pipe 402 is provided with the water tank 401, the two sides of the front plate 406 are movably connected with the side plates 404, the inner walls of the side plates 404 and the front plate 406 are both connected with the cleaning brushes 405, the top end of the water tank 401 is provided with a water inlet, the water pump 402 is installed on the water inlet pipe 403, the spray nozzle penetrates through the inner side of the cleaning box 1, the side plates 404 and the cleaning box 1 are fixedly connected with the mounting plates 404, and the number of the two side plates 404, opening a box door 2 of a cleaning box 1, placing an agricultural machine on a placing plate 5, screwing a first screw rod 6 and a second screw rod 7 at the moment to drive a nut block 8 and clamping plates 9 to move through threads when the agricultural machine rotates, moving the four clamping plates 9 to the machine so as to clamp and fix the machine, then adjusting the distance between the two side plates 404 according to the size of the machine to enable the two side plates 404 and a front plate 406 to be matched with the size of the machine so as to be convenient for cleaning the machines with different sizes, finally controlling an electric push rod 11 to operate, wherein the internal technology of the electric push rod 11 is the prior art, driving a first motor 10 to move upwards through a connecting plate after the electric push rod 11 operates, the internal technology of the first motor 10 is the prior art, driving the placing plate 5 and the machine at an output end to move upwards to enable the machine to enter the inner sides of the side plates 404 and the front plate 406, and operating the first motor 10 at the moment, the placing plate 5 is driven to rotate mechanically, so that the mechanical rotation is carried out, the mechanical rotation is enabled to be in contact with the cleaning brushes 405 on the inner walls of the side plates 404 and the front plate 406, the cleaning is carried out, meanwhile, water in the water tank 401 is sprayed out through the water inlet pipe 402 and the spray head 403, the machine is washed, and therefore the complete cleaning of the machine is achieved.
Referring to fig. 2 and 6, in a maintenance box for agricultural machinery, an electric push rod 11 is installed on the inner side of a cleaning box 1, a first motor 10 is installed on the left side of the electric push rod 11, a placing plate 5 is fixed on the output end of the first motor 10, a first lead screw 6 is movably connected on the inner side of the placing plate 5, a second lead screw 7 is arranged below the first lead screw 6, a nut block 8 is movably connected on the outer wall of the first lead screw 6, a clamping plate 9 is fixed on the top end of the nut block 8, a lubricating liquid box 13 is installed on the inner side of a maintenance box main body 12, a drying device 17 is installed on the inner wall of the maintenance box main body 12, a paint cylinder 19 is arranged on the maintenance box main body 12, a discharge pipe 14 is connected on the bottom end of the lubricating liquid box 13, a dropper 15 is connected on the bottom end of the discharge pipe 14, a second motor 18 is installed on the top end of the paint cylinder 19, a connecting pipe 21 is connected on the bottom end of the paint cylinder 19, a stirring frame 20 is fixed on the output end of the second motor 18, a spray gun 22 is arranged at the bottom end of the connecting pipe 21, the first screw rod 6, the second screw rod 7 and the placing plate 5 are rotatably connected through a bearing, the nut block 8 is movably connected with the first screw rod 6 and the second screw rod 7 through threads, the inner wall of the clamping plate 9 is provided with friction pads, the number of the clamping plates 9 is two, the first motor 10 is fixedly connected with the electric push rod 11 through a connecting plate, the rotating plate 16 is rotatably connected with the maintenance box main body 12 through a rotating shaft, the lubricating liquid box 13, the paint cylinder 19 is fixedly connected with the maintenance box main body 12 through bolts, the stirring frame 20 is provided with a feeding groove, the inner wall of the maintenance box main body 12 is fixedly provided with a clamping frame matched with the connecting pipe 21, the connecting pipe 21 is provided with an electromagnetic valve, the cleaned machine is taken out and placed on the rotating plate 16 in the maintenance box main body 12, the machine is inspected, and places needing paint repair are searched, then the worker fixes the machinery on the rotor plate 16 with one hand, spray gun 22 is taken to the other hand, second motor 18 moves this moment, the inside technology of second motor 18 is prior art, second motor 18 drives stirring frame 20 and rotates, make stirring frame 20 mix the paint vehicle in paint cylinder 19, make the paint vehicle of intensive mixing enter into spray gun 22 through connecting pipe 21, thereby be controlled by the workman, make the paint vehicle spray to on the machinery, maintain the machinery outer wall, if need add the lubricating liquid, then can use burette 15, the lubricating liquid in the lubricating liquid case 13 flows out through discharging pipe 14, thereby drip on the machinery through burette 15, realize the interpolation of lubricating liquid.
Referring to fig. 2 and 7, a partition 24 is fixed on an inner wall of a storage box 23, an air outlet cover 25 is arranged on an inner side of the storage box 23, an air blower 26 is installed at the front end of the air outlet cover 25, a rotating plate 16 is movably installed on an inner side of a maintenance box main body 12, a box door 2 is clamped on inner sides of the storage box 23 and the maintenance box main body 12, the partition 24 is welded on the inner wall of the storage box 23, the air outlet cover 25 penetrates through the inner side of the storage box 23, the air blower 26 is fixedly connected with the storage box 23 through an installation frame, the air blower 26 is movably connected with the air outlet cover 25 through a connecting cover, a heat insulation layer is arranged on the inner wall of the storage box 23, the machine after maintenance is taken out, the machine is placed on the partition 24 on the inner side of the storage box 23, the box door 2 is closed after placement, the operation of the air blower 26 is controlled, the technology inside the air blower 26 is the prior art, the air blower 26 filters external air flow, then is conveyed into the air outlet cover 25 through the connecting cover, and finally enters the storage box 23 through the air outlet cover 25, ventilation of the storage box 23 is realized, and the agricultural machine is convenient for storage.
The working principle is as follows: when the agricultural machinery cleaning box is used, the box door 2 of the cleaning box 1 is opened, the agricultural machinery is placed on the placing plate 5, the first screw rod 6 and the second screw rod 7 are screwed at the moment, the screw block 8 and the clamping plates 9 are driven to move through threads when the agricultural machinery cleaning box rotates, the four clamping plates 9 move towards the machinery so as to clamp and fix the machinery, then the distance between the two side plates 404 is adjusted according to the size of the machinery, the two side plates 404 and the front plate 406 are matched with the size of the machinery so as to clean the machinery with different sizes, finally the electric push rod 11 is controlled to operate, the internal technology of the electric push rod 11 is the prior art, after the electric push rod 11 operates, the first motor 10 is driven to move upwards through the connecting plate, the internal technology of the first motor 10 is the prior art, the placing plate 5 and the machinery at the output end are driven to move upwards, the machinery enters the inner sides of the side plates 404 and the front plate 406, and the first motor 10 operates at the moment, the placing plate 5 and the machine are driven to rotate, so that the machine is in contact with cleaning brushes 405 on the inner walls of a side plate 404 and a front plate 406 when rotating, so that the machine is cleaned, meanwhile, water in a water tank 401 is sprayed out through a water inlet pipe 402 and a spray head 403, the machine is washed completely, the cleaned machine is taken out and placed on a rotating plate 16 in a curing box main body 12, the machine is checked, a place needing paint repair is searched, then a worker fixes the machine on the rotating plate 16 with one hand and takes a spray gun 22 with the other hand, at the moment, a second motor 18 operates, the internal technology of the second motor 18 is the prior art, the second motor 18 drives an agitating frame 20 to rotate, so that the agitating frame 20 mixes paint in a paint cylinder 19, so that the fully mixed paint enters the spray gun 22 through a connecting pipe 21 and is controlled by the worker, so that the paint is sprayed on the machine, maintain the machinery outer wall, if need add lubricated liquid, then can use burette 15, the lubricated liquid in the lubricated liquid case 13 flows out through discharging pipe 14, thereby drip on machinery through burette 15, realize the interpolation of lubricated liquid, the machinery of maintenance completion then can take out the back, place on depositing the baffle 24 of case 23 inboard, place the back, with chamber door 2 closure, then control air-blower 26 operation, air-blower 26 internal technology is prior art, air-blower 26 operation is with outside air current after through filtering, carry to going out wind cover 25 through the connecting cover, and finally enter into through going out wind cover 25 and deposit in the case 23, realize depositing the ventilation of case 23, be convenient for agricultural machine's preservation. Those not described in detail in this specification are within the skill of the art.
The terms "central," "longitudinal," "lateral," "front," "rear," "left," "right," "vertical," "horizontal," "top," "bottom," "inner," "outer," and the like refer to orientations or positional relationships illustrated in the drawings, and are used merely to simplify the description of the present disclosure, rather than to indicate or imply that the device or element so referred to must have a particular orientation, be constructed and operated in a particular orientation, and are not to be construed as limiting the scope of the present disclosure.
Although the present invention has been described in detail with reference to the foregoing embodiments, it will be apparent to those skilled in the art that modifications may be made to the embodiments or portions thereof without departing from the spirit and scope of the invention.
Claims (7)
1. The utility model provides a maintenance case for agricultural machine, is including wasing case (1) and washing structure (4), its characterized in that: a box door (2) is clamped on the inner side of the cleaning box (1), a water outlet pipe (3) is connected to the right side of the cleaning box (1), a maintenance box main body (12) is installed on the left side of the cleaning box (1), and a storage box (23) is installed on the left side of the maintenance box main body (12);
an electric push rod (11) is installed on the inner side of the cleaning box (1), a first motor (10) is installed on the left side of the electric push rod (11), a placing plate (5) is fixed to the output end of the first motor (10), a first lead screw (6) is movably connected to the inner side of the placing plate (5), a second lead screw (7) is arranged below the first lead screw (6), a nut block (8) is movably connected to the outer wall of the first lead screw (6), a clamping plate (9) is fixed to the top end of the nut block (8), a lubricating liquid box (13) is installed on the inner side of the maintenance box main body (12), drying equipment (17) is installed on the inner wall of the maintenance box main body (12), a paint barrel (19) is arranged on the maintenance box main body (12), a discharging pipe (14) is connected to the bottom end of the lubricating liquid box (13), a dropper (15) is connected to the bottom end of the discharging pipe (14), a second motor (18) is installed to the top end of the paint barrel (19), a connecting pipe (21) is connected to the bottom end of the paint barrel (19), a connecting pipe (21) is fixed to the second motor (18), and a connecting pipe (22) is installed to the output end of a spray gun (20);
deposit the inner wall of case (23) and be fixed with baffle (24), and the inboard of depositing case (23) is provided with out fan housing (25), air-blower (26) are installed to the front end that goes out fan housing (25), the inboard movable mounting of maintenance box main part (12) has rotor plate (16).
2. An agricultural machine maintenance box according to claim 1, wherein: wash structure (4) including water tank (401), inlet tube (402), shower nozzle (403), curb plate (404), cleaning brush (405) and front bezel (406), and the inboard of wasing case (1) is provided with shower nozzle (403), and the inner wall of wasing case (1) is fixed with front bezel (406), the top of shower nozzle (403) is connected with inlet tube (402), the left side of inlet tube (402) is provided with water tank (401), the both sides swing joint of front bezel (406) has curb plate (404), the inner wall of curb plate (404), front bezel (406) all is connected with cleaning brush (405).
3. A maintenance box for an agricultural machine according to claim 2, wherein: the top of water tank (401) is provided with the water inlet, install the water pump on inlet tube (402), shower nozzle (403) run through to the inboard of washing case (1), curb plate (404) and washing case (1) pass through mounting panel fixed connection, and the quantity of curb plate (404) is two.
4. An agricultural machine maintenance box according to claim 1, wherein: the first lead screw (6), the second lead screw (7) and the placing plate (5) are rotatably connected through bearings, the nut blocks (8) are movably connected with the first lead screw (6) and the second lead screw (7) through threads, friction pads are arranged on the inner wall of the clamping plate (9), the clamping plates (9) are two in number, and the first motor (10) is fixedly connected with the electric push rod (11) through a connecting plate.
5. An agricultural machine maintenance box according to claim 1, wherein: the rotating plate (16) is connected with the maintenance box main body (12) in a rotating mode through a rotating shaft, the lubricating liquid box (13), the paint cylinder (19) and the maintenance box main body (12) are fixedly connected through bolts, a feeding groove is formed in the stirring frame (20), a clamping frame matched with the connecting pipe (21) is fixed to the inner wall of the maintenance box main body (12), and the electromagnetic valve is installed on the connecting pipe (21).
6. An agricultural machine maintenance box according to claim 1, wherein: deposit case (23), the inboard of curing box main part (12) all blocks and have chamber door (2), baffle (24) welding is at the inner wall of depositing case (23), it runs through to the inboard of depositing case (23) to go out fan housing (25).
7. An agricultural machine maintenance box according to claim 1, wherein: air-blower (26) with deposit case (23) and pass through mounting bracket fixed connection, and air-blower (26) and play fan housing (25) through connecting cover swing joint, the inner wall of depositing case (23) is provided with the heat preservation.
Priority Applications (1)
| Application Number | Priority Date | Filing Date | Title |
|---|---|---|---|
| CN202222255697.XU CN218133626U (en) | 2022-08-26 | 2022-08-26 | Maintenance box for agricultural machine |
Applications Claiming Priority (1)
| Application Number | Priority Date | Filing Date | Title |
|---|---|---|---|
| CN202222255697.XU CN218133626U (en) | 2022-08-26 | 2022-08-26 | Maintenance box for agricultural machine |
Publications (1)
| Publication Number | Publication Date |
|---|---|
| CN218133626U true CN218133626U (en) | 2022-12-27 |
Family
ID=84555641
Family Applications (1)
| Application Number | Title | Priority Date | Filing Date |
|---|---|---|---|
| CN202222255697.XU Active CN218133626U (en) | 2022-08-26 | 2022-08-26 | Maintenance box for agricultural machine |
Country Status (1)
| Country | Link |
|---|---|
| CN (1) | CN218133626U (en) |
-
2022
- 2022-08-26 CN CN202222255697.XU patent/CN218133626U/en active Active
Similar Documents
| Publication | Publication Date | Title |
|---|---|---|
| CN112246552B (en) | A pipeline inner wall anticorrosive treatment equipment for pipeline processing | |
| CN104889095A (en) | Multifunctional cleaning mechanism, cleaning technology and modular combined type cleaning working station | |
| CN110420901A (en) | Cleaning device is used in a kind of production of auto parts and components | |
| CN218133626U (en) | Maintenance box for agricultural machine | |
| CN208798657U (en) | Salt device on a kind of bacon | |
| CN215390272U (en) | Spraying device for packaging | |
| CN212184603U (en) | Cleaning and cooling device in livestock breeding shed | |
| CN112755654A (en) | Automatic cleaning device for filter screen of primary filter of process air conditioner | |
| CN217615493U (en) | Spraying type industrial robot | |
| CN217251115U (en) | Pneumatic cleaning machine for cleaning printing ink | |
| CN223475678U (en) | Automatic cleaning device for glue spraying robot | |
| CN221453576U (en) | Poultry animal doctor instrument cleaning equipment | |
| CN217559964U (en) | Air-conditioning box with self-purification function | |
| CN223556694U (en) | Oil tea fruit mechanized preprocessing device | |
| CN113083573A (en) | Paint spraying device is used in automobile parts processing | |
| CN215742119U (en) | Online self-cleaning filter device | |
| CN220125675U (en) | Formaldehyde scavenger apparatus for producing | |
| CN217512386U (en) | Filter screen belt cleaning device for powder coating retrieves | |
| CN219674452U (en) | Air conditioner condensate water treatment device | |
| CN221360625U (en) | Spraying device for processing paper barrel | |
| CN222795192U (en) | Water purification device convenient to maintain | |
| CN223530950U (en) | A cleaning device for air conditioner parts production | |
| CN221183365U (en) | An anti-corrosion spraying device for steel structure | |
| CN219942010U (en) | Precision filter with filter element easy to replace | |
| CN219173249U (en) | Thermostatic unit equipment of flow spraying line |
Legal Events
| Date | Code | Title | Description |
|---|---|---|---|
| GR01 | Patent grant | ||
| GR01 | Patent grant |