CN218124155U - 一种铺设室内高处电缆的牵引装置 - Google Patents

一种铺设室内高处电缆的牵引装置 Download PDF

Info

Publication number
CN218124155U
CN218124155U CN202222191474.1U CN202222191474U CN218124155U CN 218124155 U CN218124155 U CN 218124155U CN 202222191474 U CN202222191474 U CN 202222191474U CN 218124155 U CN218124155 U CN 218124155U
Authority
CN
China
Prior art keywords
support column
fixed pulley
laying
base
rod
Prior art date
Legal status (The legal status is an assumption and is not a legal conclusion. Google has not performed a legal analysis and makes no representation as to the accuracy of the status listed.)
Expired - Fee Related
Application number
CN202222191474.1U
Other languages
English (en)
Inventor
孙成杰
Current Assignee (The listed assignees may be inaccurate. Google has not performed a legal analysis and makes no representation or warranty as to the accuracy of the list.)
Individual
Original Assignee
Individual
Priority date (The priority date is an assumption and is not a legal conclusion. Google has not performed a legal analysis and makes no representation as to the accuracy of the date listed.)
Filing date
Publication date
Application filed by Individual filed Critical Individual
Priority to CN202222191474.1U priority Critical patent/CN218124155U/zh
Application granted granted Critical
Publication of CN218124155U publication Critical patent/CN218124155U/zh
Expired - Fee Related legal-status Critical Current
Anticipated expiration legal-status Critical

Links

Images

Landscapes

  • Devices Affording Protection Of Roads Or Walls For Sound Insulation (AREA)

Abstract

本实用新型涉及一种铺设室内高处电缆的牵引装置,包括底座,底座上固定有卷扬机,底座上连接有支撑柱,支撑柱的顶部具有用于与室内的顶部横梁抵顶贴合接触的防倾部,所述支撑柱的侧壁下部固定有第一定滑轮,支撑柱的侧壁上部活动装配有第二定滑轮,第二定滑轮在支撑柱上沿上下方向位置可调,所述支撑柱上还设有用于将第二定滑轮锁紧在支撑柱上的第一锁紧结构,所述卷扬机的拉绳自第一定滑轮的底部绕过后向上延伸、并在绕过第二定滑轮后水平向前伸出、以用于与顶梁线槽内的电缆固定连接。结构简单,安全性高,实用性强。

Description

一种铺设室内高处电缆的牵引装置
技术领域
本实用新型涉及电力施工领域,具体是涉及一种铺设室内高处电缆的牵引装置。
背景技术
在针对室内高处电缆铺设时,现有技术中常常通过工人攀爬脚手架,登高后将室外的绕线盘上的电缆自室外向室内逐步向内拉拽,放置在室内的顶梁线槽内。如在地下车库、走廊等作业场景下,工人需要重复循环的爬高下低,将电缆逐步的沿顶梁线槽向后拉拽,电缆铺设过程复杂,铺设过程中需要付出较多的劳动力,才能完成单根电缆的铺设,而即使一般会采取多人同时顺次作业的形式,也会增加铺设人工成本,铺设效率低、浪费人力,同时由于在高处铺设,很容易出现安全隐患。
实用新型内容
本实用新型的目的在于提供一种铺设室内高处电缆的牵引装置,以解决现有技术中的室内高处电缆铺设效率低、浪费人力、安全隐患大的问题。
为了解决上述问题,本实用新型所涉及的铺设室内高处电缆的牵引装置采用以下技术方案:
铺设室内高处电缆的牵引装置,包括底座,底座上固定有卷扬机,底座上连接有支撑柱,支撑柱的顶部具有用于与室内的顶部横梁抵顶贴合接触的防倾部,所述支撑柱的侧壁下部固定有第一定滑轮,支撑柱的侧壁上部活动装配有第二定滑轮,第二定滑轮在支撑柱上沿上下方向位置可调,所述支撑柱上还设有用于将第二定滑轮锁紧在支撑柱上的第一锁紧结构,所述卷扬机的拉绳自第一定滑轮的底部绕过后向上延伸、并在绕过第二定滑轮后水平向前伸出、以用于与顶梁线槽内的电缆固定连接。
进一步的,所述支撑柱由两根支杆上下导向插套构成,两根支杆之间连接有用于在将支撑杆定高后将两根支杆相对锁止的第二锁紧结构。
进一步的,所述第二锁紧结构包括布置在其中一个支杆的杆身上的锁孔,还包括设置在另一个支杆上的若干个调节孔,各个调节孔沿支杆轴向间隔均布,还包括穿装在锁孔和其中一个调节孔中的锁紧杆。
进一步的,所述支撑柱的底端与所述底座铰接装配,铰接轴线水平延伸,所述支撑柱与底座之间还连接有用于将支撑柱保持在竖直姿态的保持结构。
进一步的,所述保持结构包括设置在支撑柱的后侧的支撑杆,支撑杆上布置有限位杆,所述底座上铰接有加强杆,所述加强杆的另一端设有用于与所述限位杆可拆连接的保持孔。
进一步的,所述加强杆有两根,沿左右方向对称布置。
进一步的,所述第一锁紧结构包括连接在第二定滑轮上的卡箍和连接在卡箍上的锁紧件,所述卡箍箍设在所述支撑柱上。
进一步的,所述底座的底部设有行走轮。
本实用新型的有益效果如下:相比于现有技术,本实用新型所设计的铺设室内高处电缆的牵引装置,在实际的使用过程中,将支撑柱抵靠在顶部横梁抵顶贴合,将第二定滑轮的上下高度调整至与顶梁线槽等高调整后,将卷扬机的拉绳穿过第一定滑轮和第二定滑轮之后,水平向前延伸至顶梁线槽内,将支撑柱的顶部与顶梁贴合,将拉绳布置于顶梁线槽的等高位置处,然后启动卷扬机工作,能够在顶梁线槽的尾端直接将电缆拉拽至顶梁线槽中,单人即可操作,极大的节省了人力物力,提高铺设效率,同时工人在地面上即可完成全部操作,结构简单,安全性高,实用性强。
同时,将支撑柱的顶部与顶梁贴合,将拉绳布置于顶梁线槽的等高位置处,这样能够有效避免支撑柱受拉绳反向作用力拉拽导致的倾覆,而且将支撑柱的顶部布置防轻部,可以省去对底座的固定和防倾结构布置,仅通过室内的顶部环境即可完成对支撑柱的防倾布置,稳定性更佳。
附图说明
为了更清楚地说明本实用新型实施例的技术方案,下面将对实施例中所需要使用的附图作简单地介绍:
图1为本实用新型的铺设室内高处电缆的牵引装置的具体实施例结构示意图;
图2为图1的支撑部中部位置的俯视图;
图3为图1中装置的使用状态图。
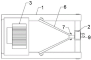
附图标记说明:1-底座;2-支撑柱;3-卷扬机;4-拉绳;5-行走轮;6-加强杆;7-限位杆;8-支杆;9-第一定滑轮;10-第二定滑轮;11-防倾部;12-卡箍;13-调节孔;14-锁孔;15-顶梁线槽;16-顶部横梁。
具体实施方式
为了使本实用新型的技术目的、技术方案和有益效果更加清楚,下面结合附图和具体实施例对本实用新型的技术方案作出进一步的说明。应当理解,此处所描述的具体实施例仅用以解释本实用新型,并不用于限定本实用新型,即所描述的实施例仅仅是本实用新型一部分实施例,而不是全部的实施例。通常在此处附图中描述和示出的本实用新型实施例的组件可以以各种不同的配置来布置和设计。
本实用新型所涉及的铺设室内高处电缆的牵引装置的具体实施例,如图1至图3所示,铺设室内高处电缆的牵引装置包括底座1、支撑柱2、卷扬机3等,其中底座1为其他所有零部件的基础载体,本实施例中,底座1为矩形框架结构,采用多个钢管拼焊形成,当然,在其他实施例中,底座1也可以采用其他的结构形式,本领域技术人员可以根据实际需要任意设计,如采用钢板结构、座装结构以及块状结构、箱式结构等。
定义底座1的长边沿前后方向延伸,底座1的底部布置有行走轮5,能够将底座1在地面上自由行走,方便移动。底座1的上端面后侧固定有卷扬机3,卷扬机3上布置有拉绳4,卷扬机3的结构和型号不做具体限定,本领域技术人员可以根据实际的操作需要任意选取。
在底座1的上端面后侧上连接有支撑柱2,本实施例中的支撑柱2的底部与底座1之间通过铰接装配,铰接轴线沿左右方向延伸,这样设置能够使支撑柱2绕铰接轴线向下朝向底座1折叠,能够满足大部分的室内作业空间的通过性,针对狭小的门洞或者通道均能有效通过。而为了保证该装置在工作时,支撑柱2能够相对底座1的角度相对固定,支撑柱2与底座1之间还连接有用于将支撑柱2保持在竖直姿态的保持结构,本实施例中的保持结构包括设置在支撑柱2的后侧的支撑杆,支撑杆上布置有限位杆7,所述底座1上铰接有加强杆6,所述加强杆6的另一端设有用于与所述限位杆7可拆连接的保持孔。加强杆6有两根,沿左右方向对称布置。两根加强杆6的设置能够同时又能够避免支撑柱2左右晃动,进一步的保证其稳定性。
在运输过程中保持结构解锁,加强杆6下摆至底座1上,然后将支撑柱2折叠,降低整体的装置的高度,方便装置通过门洞和狭窄通道;在使用时,将支撑柱2撑起,将加强杆6上摆倾斜至另一端与限位杆7对应的位置,将保持孔套在限位杆7上,然后通过螺栓紧固,即可将支撑柱2、底座1和加强杆6形成稳定的三角形支撑结构。
支撑柱2的侧壁下部固定有第一定滑轮9,支撑柱2的侧壁上部活动装配有第二定滑轮10,第二定滑轮10在支撑柱2上沿上下方向位置可调,支撑柱2上还设有用于将第二定滑轮10锁紧在支撑柱2上的第一锁紧结构,具体的是支撑柱2由两根支杆8上下导向插套构成,两根支杆8之间连接有用于在将支撑杆定高后将两根支杆8相对锁止的第二锁紧结构,第一定滑轮9和第二定滑轮10分设在两根支杆8上。第二锁紧结构包括布置在其中一个支杆8的杆身上的锁孔14,还包括设置在另一个支杆8上的若干个调节孔13,各个调节孔13沿支杆8轴向间隔均布,还包括穿装在锁孔14和其中一个调节孔13中的锁紧杆。
而同时,为了实现第二定滑轮10的上方位置的调节,第一锁紧结构包括连接在第二定滑轮10上的卡箍12和连接在卡箍12上的锁紧件,卡箍12箍设在所述支撑柱2上,本实施例中,锁紧件为螺栓,当然在其他实施例中,可可以采用粘带、钢丝绳等方式紧固。
支撑柱2的顶部具有用于与室内的顶部横梁16抵顶贴合接触的防倾部11,本实施例中,防轻部由支撑柱2的上端前侧壁构成,能够将支撑柱2的顶部撑在顶部的横梁后侧。
在绕线时,卷扬机3的拉绳4自第一定滑轮9的底部绕过后向上延伸、并在绕过第二定滑轮10后水平向前伸出、以用于与顶梁线槽15内的电缆固定连接。
实际使用时,由于拉绳4自沿着支撑柱2的底部向上延伸,并在第二定滑轮10处向前水平延伸,在拉拽电缆时,通过防倾部11处为支点,第二定滑轮10处收到的拉绳4的反作用力能够较好的被防倾部11与顶部横梁16的抵接作用力抵消,避免整体装置受拉而倾覆,保证其支撑稳定性。
根据不同的使用场景,当顶部横梁16的高度不一时,工人选择调整支撑柱2的上下高度,满足合适的放置位置,当顶部横梁16与顶梁线槽15的间距不一时,工人选择调整第二定滑轮10的高度位置满足第二定滑轮10的引导位置和引导方向,可选择性多,适应性强。
当然,在其他实施例中,支撑柱2可以采用单杆结构;防倾部11的高度调整可以采用两根支杆8在外侧导向滑移装配的形式代替插套配合。
在其他实施例中,第一锁紧结构可以设计为套环和紧定钉的形式,通过紧定钉将套管固定在支撑柱2的任意高度位置,实现对第二定滑轮10的位置固定。
在其他实施例中,支撑柱2的保持结构可以采用顶推液压缸的形式、或者是采用在支撑柱2的前侧连接拉绳拉拽的形式代替。
最后所应说明的是:上述实施例仅用于说明而非限制本实用新型的技术方案,任何对本实用新型进行的等同替换及不脱离本实用新型精神和范围的修改或局部替换,其均应涵盖在本实用新型权利要求保护的范围之内。

Claims (8)

1.铺设室内高处电缆的牵引装置,其特征在于,包括底座,底座上固定有卷扬机,底座上连接有支撑柱,支撑柱的顶部具有用于与室内的顶部横梁抵顶贴合接触的防倾部,所述支撑柱的侧壁下部固定有第一定滑轮,支撑柱的侧壁上部活动装配有第二定滑轮,第二定滑轮在支撑柱上沿上下方向位置可调,所述支撑柱上还设有用于将第二定滑轮锁紧在支撑柱上的第一锁紧结构,所述卷扬机的拉绳自第一定滑轮的底部绕过后向上延伸、并在绕过第二定滑轮后水平向前伸出、以用于与顶梁线槽内的电缆固定连接。
2.根据权利要求1所述的铺设室内高处电缆的牵引装置,其特征在于,所述支撑柱由两根支杆上下导向插套构成,两根支杆之间连接有用于在将支撑杆定高后将两根支杆相对锁止的第二锁紧结构。
3.根据权利要求2所述的铺设室内高处电缆的牵引装置,其特征在于,所述第二锁紧结构包括布置在其中一个支杆的杆身上的锁孔,还包括设置在另一个支杆上的若干个调节孔,各个调节孔沿支杆轴向间隔均布,还包括穿装在锁孔和其中一个调节孔中的锁紧杆。
4.根据权利要求1-3任一项所述的铺设室内高处电缆的牵引装置,其特征在于,所述支撑柱的底端与所述底座铰接装配,铰接轴线水平延伸,所述支撑柱与底座之间还连接有用于将支撑柱保持在竖直姿态的保持结构。
5.根据权利要求4所述的铺设室内高处电缆的牵引装置,其特征在于,所述保持结构包括设置在支撑柱的后侧的支撑杆,支撑杆上布置有限位杆,所述底座上铰接有加强杆,所述加强杆的另一端设有用于与所述限位杆可拆连接的保持孔。
6.根据权利要求5所述的铺设室内高处电缆的牵引装置,其特征在于,所述加强杆有两根,沿左右方向对称布置。
7.根据权利要求1-3任一项所述的铺设室内高处电缆的牵引装置,其特征在于,所述第一锁紧结构包括连接在第二定滑轮上的卡箍和连接在卡箍上的锁紧件,所述卡箍箍设在所述支撑柱上。
8.根据权利要求1-3任一项所述的铺设室内高处电缆的牵引装置,其特征在于,所述底座的底部设有行走轮。
CN202222191474.1U 2022-08-19 2022-08-19 一种铺设室内高处电缆的牵引装置 Expired - Fee Related CN218124155U (zh)

Priority Applications (1)

Application Number Priority Date Filing Date Title
CN202222191474.1U CN218124155U (zh) 2022-08-19 2022-08-19 一种铺设室内高处电缆的牵引装置

Applications Claiming Priority (1)

Application Number Priority Date Filing Date Title
CN202222191474.1U CN218124155U (zh) 2022-08-19 2022-08-19 一种铺设室内高处电缆的牵引装置

Publications (1)

Publication Number Publication Date
CN218124155U true CN218124155U (zh) 2022-12-23

Family

ID=84524614

Family Applications (1)

Application Number Title Priority Date Filing Date
CN202222191474.1U Expired - Fee Related CN218124155U (zh) 2022-08-19 2022-08-19 一种铺设室内高处电缆的牵引装置

Country Status (1)

Country Link
CN (1) CN218124155U (zh)

Similar Documents

Publication Publication Date Title
US9701520B2 (en) Hoisting platform system
CN104695752B (zh) 快速抢修塔系统及其架设方法
CN205688774U (zh) 一种电动桥式脚手架
US3977139A (en) Tower having raising and lowering means
LU508054B1 (en) Through-Type Transverse Slide Rail Construction Basket for External Wall Construction of Building
CN218124155U (zh) 一种铺设室内高处电缆的牵引装置
JP2012002030A (ja) 法面用仮設足場及びその設置方法
CN206987509U (zh) 供电线路电杆栽杆装置
JP3950800B2 (ja) つり足場
CN204609435U (zh) 抢修塔辅助起升塔
CN207960496U (zh) 便于安装钻具的自起吊式卧式钻机
CN216889746U (zh) 用于配电线路杆塔作业的全地形绝缘塔及其倒装起吊装置
CN113931431B (zh) 一种室外作业用建筑吊篮
JP2005146772A (ja) 屋根支持構造体ユニットおよび大空間屋根構造物並びにこれらの施工法
CN209797276U (zh) 一种便捷式吊运装置
JP2879316B2 (ja) 建柱用ポール
CN223824568U (zh) 一种可调节式前支架后拉结吊篮
CN207048286U (zh) 可移动伸缩悬挑操作平台
JPH08338127A (ja) 内組足場構造
CN205687456U (zh) 一种便携式高压线路拉线盘投放装置
CN210286649U (zh) 一种导架爬升式工作平台提升机构
CN220504477U (zh) 一种易于安装且适用范围广的悬挑脚手架
JPH0813775A (ja) 外装仕上げ用パネルの狭空間施工方法及び装置
CN214835263U (zh) 电缆立杆的辅助架设装置
CN210483199U (zh) 一种临时电源用活动电力杆塔

Legal Events

Date Code Title Description
GR01 Patent grant
GR01 Patent grant
CF01 Termination of patent right due to non-payment of annual fee
CF01 Termination of patent right due to non-payment of annual fee

Granted publication date: 20221223