CN218106393U - Stomach tube for neonate - Google Patents
Stomach tube for neonate Download PDFInfo
- Publication number
- CN218106393U CN218106393U CN202221363644.3U CN202221363644U CN218106393U CN 218106393 U CN218106393 U CN 218106393U CN 202221363644 U CN202221363644 U CN 202221363644U CN 218106393 U CN218106393 U CN 218106393U
- Authority
- CN
- China
- Prior art keywords
- gastric tube
- holes
- stomach
- net
- gastric
- Prior art date
- Legal status (The legal status is an assumption and is not a legal conclusion. Google has not performed a legal analysis and makes no representation as to the accuracy of the status listed.)
- Active
Links
- 210000002784 stomach Anatomy 0.000 title abstract description 12
- 230000002496 gastric effect Effects 0.000 claims abstract description 36
- 239000000463 material Substances 0.000 claims description 11
- 229920003023 plastic Polymers 0.000 claims description 4
- 239000004033 plastic Substances 0.000 claims description 4
- 229920001296 polysiloxane Polymers 0.000 claims description 4
- 229920002635 polyurethane Polymers 0.000 claims description 4
- 239000004814 polyurethane Substances 0.000 claims description 4
- 239000008267 milk Substances 0.000 abstract description 9
- 210000004080 milk Anatomy 0.000 abstract description 9
- 235000013336 milk Nutrition 0.000 abstract description 9
- 239000007788 liquid Substances 0.000 abstract description 6
- 210000001156 gastric mucosa Anatomy 0.000 abstract description 5
- 238000002347 injection Methods 0.000 abstract description 5
- 239000007924 injection Substances 0.000 abstract description 5
- 208000012671 Gastrointestinal haemorrhages Diseases 0.000 abstract description 4
- 208000030304 gastrointestinal bleeding Diseases 0.000 abstract description 4
- 230000009286 beneficial effect Effects 0.000 abstract 1
- 230000006837 decompression Effects 0.000 description 4
- 230000000694 effects Effects 0.000 description 3
- 235000013305 food Nutrition 0.000 description 3
- 210000003736 gastrointestinal content Anatomy 0.000 description 3
- 235000016709 nutrition Nutrition 0.000 description 2
- 230000035764 nutrition Effects 0.000 description 2
- 239000011148 porous material Substances 0.000 description 2
- 239000000243 solution Substances 0.000 description 2
- 238000006467 substitution reaction Methods 0.000 description 2
- 206010017788 Gastric haemorrhage Diseases 0.000 description 1
- 230000005856 abnormality Effects 0.000 description 1
- 201000010099 disease Diseases 0.000 description 1
- 208000037265 diseases, disorders, signs and symptoms Diseases 0.000 description 1
- 210000001035 gastrointestinal tract Anatomy 0.000 description 1
- 238000003780 insertion Methods 0.000 description 1
- 230000037431 insertion Effects 0.000 description 1
- 230000007774 longterm Effects 0.000 description 1
- 238000000034 method Methods 0.000 description 1
- 238000000465 moulding Methods 0.000 description 1
- 231100000252 nontoxic Toxicity 0.000 description 1
- 230000003000 nontoxic effect Effects 0.000 description 1
- 230000002028 premature Effects 0.000 description 1
- 238000005086 pumping Methods 0.000 description 1
- 230000029058 respiratory gaseous exchange Effects 0.000 description 1
- 230000009747 swallowing Effects 0.000 description 1
- 230000009967 tasteless effect Effects 0.000 description 1
- XLYOFNOQVPJJNP-UHFFFAOYSA-N water Substances O XLYOFNOQVPJJNP-UHFFFAOYSA-N 0.000 description 1
Images
Landscapes
- Infusion, Injection, And Reservoir Apparatuses (AREA)
Abstract
本实用新型涉及医疗器械领域,公开了一种新生儿胃管,其包括本体和网兜,本体的第一端开口,第二端封闭,靠近本体的第二端位置开设有至少八个孔洞,孔洞沿管壁前后间隔设置,孔洞外侧罩设有网兜,网兜上开设有间隔设置的网格,网格孔径小于孔洞孔径。本实用新型的有益效果为:大幅增加了奶液的注入速度和抽吸胃内容物时的效率,起到在胃管负压抽吸时缓解局部压力过高的问题,保护新生儿胃黏膜,更好、更快的对胃内的液体和气体进行引流,减少消化道出血的发生。
The utility model relates to the field of medical devices and discloses a gastric tube for newborns, which includes a body and a net bag. The first end of the body is open, the second end is closed, and at least eight holes are opened near the second end of the body. It is arranged at intervals along the front and back of the pipe wall, and the outside of the hole is covered with net pockets, and grids arranged at intervals are arranged on the net pockets, and the aperture diameter of the mesh is smaller than that of the holes. The beneficial effects of the utility model are: the injection speed of the milk liquid and the efficiency of sucking the contents of the stomach are greatly increased, the problem of excessive local pressure is alleviated during the negative pressure suction of the gastric tube, and the gastric mucosa of the newborn is protected. Better and faster drainage of liquid and gas in the stomach, reducing the occurrence of gastrointestinal bleeding.
Description
技术领域technical field
本实用新型涉及医疗器械领域,特别是涉及一种新生儿胃管。The utility model relates to the field of medical instruments, in particular to a neonatal stomach tube.
背景技术Background technique
胃管是一种在特殊情况下帮助不能吞咽的患者输送必要的水分和食物的医疗器材,新生儿胃管鼻饲法主要针对吸吮、吞咽能力低下的早产儿,以及因各种疾病不能进食的新生儿,需要呼吸机辅助呼吸的新生儿除了需要胃管提供肠内营养外还需要使用胃管进行胃肠减压,一些消化道畸形的新生儿也要长期留置胃管,以进行胃肠减压。Gastric tube is a medical device that helps patients who cannot swallow to deliver necessary water and food under special circumstances. Neonatal gastric tube nasal feeding is mainly used for premature infants with poor sucking and swallowing ability, and newborns who cannot eat due to various diseases. Infants, newborns who need ventilator-assisted breathing need a gastric tube for gastrointestinal decompression in addition to providing enteral nutrition, and some newborns with digestive tract abnormalities also need a long-term indwelling gastric tube for gastrointestinal decompression .
现有技术中的胃管头部是封闭的,在胃管侧壁上开设有三个孔,以便提供肠内营养和进行肠胃减压,但是,由于胃管的开口数量少,因此在进行肠胃减压时回抽胃内容物时效果欠佳,并且在间断或持续回抽胃内容物时由于胃管开孔少导致局部压力大,容易引起胃黏膜损伤,甚至导致胃出血的情况发生,严重影响新生儿的身体健康。因此,亟需一种新型的新生儿胃管,以解决上述问题。The head of the gastric tube in the prior art is closed, and three holes are provided on the side wall of the gastric tube to provide enteral nutrition and carry out gastrointestinal decompression. The effect of withdrawing gastric contents during pressure is not good, and when withdrawing gastric contents intermittently or continuously, the local pressure is high due to the small opening of the gastric tube, which is likely to cause gastric mucosal damage and even gastric bleeding, which seriously affects The health of newborns. Therefore, need badly a kind of novel neonatal stomach tube, to solve the above problems.
实用新型内容Utility model content
本申请的目的是提供一种新生儿胃管,该胃管能够快速抽吸胃内容物,减压效果好,并且能够防止局部负压过高损伤胃黏膜。The purpose of this application is to provide a gastric tube for newborns, which can quickly suck the contents of the stomach, has a good decompression effect, and can prevent the gastric mucosa from being damaged by excessive local negative pressure.
本申请的目的是通过如下技术方案实现的:The purpose of this application is achieved through the following technical solutions:
一种新生儿胃管,包括:本体和网兜,所述本体的第一端开口,所述本体的第一端用于连接注射器或负压吸引器,所述本体的第二端封闭,所述本体靠近所述本体的第二端位置开设有至少八个孔洞,所述孔洞沿所述本体的管壁前后间隔设置,所述网兜罩设于所述本体的第二端,且所述网兜盖合于全部的所述孔洞上,所述网兜开设有间隔设置的网格,所述网格的孔径小于所述孔洞的孔径。A gastric tube for newborns, comprising: a body and a net bag, the first end of the body is open, the first end of the body is used to connect a syringe or a negative pressure suction device, the second end of the body is closed, the The body is provided with at least eight holes near the second end of the body, and the holes are arranged at intervals along the tube wall of the body. The net bag cover is arranged at the second end of the body, and the net bag cover For all the holes, the mesh bag is provided with grids arranged at intervals, and the apertures of the grids are smaller than the apertures of the holes.
本申请的一些实施例中,所述孔洞的数量为8个~10个。In some embodiments of the present application, the number of the holes is 8-10.
本申请的一些实施例中,所述本体的第二端与最远的所述孔洞之间的距离为4cm~5cm。In some embodiments of the present application, the distance between the second end of the body and the farthest hole is 4cm-5cm.
本申请的一些实施例中,所述网格的孔径为所述孔洞的孔径的一半。In some embodiments of the present application, the pore diameter of the grid is half of the pore diameter of the hole.
本申请的一些实施例中,所述本体的第一端设有盖子,所述盖子盖合于所述本体的第一端开口。In some embodiments of the present application, the first end of the body is provided with a cover, and the cover covers the opening of the first end of the body.
本申请的一些实施例中,所述本体为聚氨酯材料或硅胶材料。In some embodiments of the present application, the body is made of polyurethane material or silicone material.
本申请的一些实施例中,所述网兜为塑料材料。In some embodiments of the present application, the net bag is made of plastic material.
本申请的一些实施例中,所述本体的中间位置设有刻度。In some embodiments of the present application, a scale is provided at the middle position of the body.
本申请的新生儿胃管,通过本体的第一端开口注入新生儿所需的奶液或吸出胃内容物,本体的第二端设置至少八个孔洞,大幅增加了奶液的注入速度和抽吸胃内容物时的效率,同时带有网格的网兜罩设在孔洞上在不会导致奶液堵塞的前提下,能够起到在胃管负压抽吸时缓解局部压力过高的问题,保护新生儿胃黏膜,更好、更快的对胃内的液体和气体进行引流,减少消化道出血的发生。The newborn gastric tube of the present application injects the milk required by the newborn or sucks out the stomach contents through the opening of the first end of the main body, and at least eight holes are set at the second end of the main body, which greatly increases the milk injection speed and suction. The efficiency of sucking the contents of the stomach, and the mesh bag with a mesh cover on the hole can relieve the problem of excessive local pressure during negative pressure suction of the gastric tube without causing milk blockage. Protect the gastric mucosa of newborns, drain the liquid and gas in the stomach better and faster, and reduce the occurrence of gastrointestinal bleeding.
附图说明Description of drawings
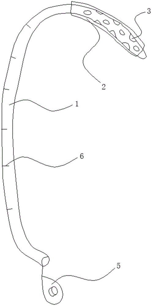
图1是本申请的新生儿胃管的结构示意图;Fig. 1 is the structural representation of the neonatal gastric tube of the present application;
图2是本申请的网兜的结构示意图。Fig. 2 is the structural representation of the net bag of the present application.
图中,1、本体;2、网兜;3、孔洞;4、网格;5、盖子;6、刻度。In the figure, 1. body; 2. net bag; 3. hole; 4. grid; 5. cover; 6. scale.
具体实施方式detailed description
下面结合附图和实施例,对本实用新型的具体实施方式作进一步详细描述。以下实施例用于说明本实用新型,但不用来限制本实用新型的范围。Below in conjunction with accompanying drawing and embodiment, the specific embodiment of the utility model is described in further detail. The following examples are used to illustrate the utility model, but not to limit the scope of the utility model.
在本申请的描述中,应当理解的是,本申请中采用的术语“上”、“下”、“左”、“右”、“前”、“后”等指示方位或位置关系基于附图所示的方位或位置关系,仅是为了便于描述本实用新型和简化描述,而不是指示或暗示所指的装置或元件必须具有特定的方位、以特定的方位构造和操作,因此不能理解为对本实用新型的限制。此外,术语“第一”、“第二”仅用于描述目的,而不能理解为指示或暗示相对重要性。In the description of the present application, it should be understood that the terms "upper", "lower", "left", "right", "front", "rear", etc. used in the present application indicate orientation or positional relationship based on the drawings The orientation or positional relationship shown is only for the convenience of describing the present utility model and simplifying the description, and does not indicate or imply that the referred device or element must have a specific orientation, be constructed and operated in a specific orientation, and therefore cannot be construed as a reference to the present invention. Utility model restrictions. In addition, the terms "first" and "second" are used for descriptive purposes only, and should not be understood as indicating or implying relative importance.
如图1、2所示,本申请实施例提出一种新生儿胃管,包括:本体1和网兜2,所述本体1的第一端开口,所述本体1的第一端用于连接注射器或负压吸引器,所述本体1的第二端封闭,所述本体1靠近所述本体1的第二端位置开设有至少八个孔洞3,所述孔洞3沿所述本体1的管壁前后间隔设置,所述网兜2罩设于所述本体1的第二端,且所述网兜2盖合于全部的所述孔洞3上,所述网兜2开设有间隔设置的网格4,所述网格4的孔径小于所述孔洞3的孔径。As shown in Figures 1 and 2, the embodiment of the present application proposes a neonatal gastric tube, including: a
基于上述技术方案,通过本体1的第一端开口注入新生儿所需的奶液或吸出胃内容物,本体1的第二端设置至少八个孔洞3,大幅增加了奶液的注入速度和抽吸胃内容物时的效率,同时带有网格4的网兜2罩设在孔洞3上在不会导致奶液堵塞的前提下,能够起到在胃管负压抽吸时缓解局部压力过高的问题,保护新生儿胃黏膜,更好、更快的对胃内的液体和气体进行引流,减少消化道出血的发生。Based on the above technical solution, the milk required by the newborn is injected through the opening of the first end of the
本申请的一些实施例中,如图1所示,所述孔洞3的数量为8个~10个。孔洞3的数量优选为8个,该数量的孔洞3在保证注入和抽吸的效率的同时避免胃管前端开口过多,加工不便的问题。In some embodiments of the present application, as shown in FIG. 1 , the number of
具体地,如图1所示,所述本体1的第二端与最远的所述孔洞3之间的距离为4cm~5cm。4cm~5cm的距离能够保证8~10个孔洞3能够均匀间隔地设置在本体1的外侧壁上,提高胃管的使用效果。Specifically, as shown in FIG. 1 , the distance between the second end of the
本申请的一些实施例中,如图1、2所示,所述网格4的孔径为所述孔洞3的孔径的一半。这样的网格4的孔径使得新生儿的食物更不会被网兜2堵塞,保证了食物输送和容物抽吸的同时防止局部压力过高。In some embodiments of the present application, as shown in FIGS. 1 and 2 , the aperture diameter of the grid 4 is half of the aperture diameter of the
本申请的一些实施例中,如图1所示,所述本体1的第一端设有盖子5,所述盖子5盖合于所述本体1的第一端开口。盖子5能够盖合于本体1的第一端,在需要连接注射器或负压吸引器时打开盖子5,连接注射器或负压吸引器即可,不需要鼻饲时可以盖紧盖子5,防止异物进入。In some embodiments of the present application, as shown in FIG. 1 , a
本申请的一些实施例中,所述本体1为聚氨酯材料或硅胶材料。聚氨酯和硅胶均具有良好的延展性,成型容易,且无毒无味,强度适中,是胃管的优良材料选择。In some embodiments of the present application, the
本申请的一些实施例中,所述网兜2为塑料材料。塑料易于获取,成型容易,成本低廉,可作为网兜2的材料进行制作。In some embodiments of the present application, the
本申请的一些实施例中,如图1所示,所述本体1的中间位置设有刻度6。刻度6可以帮助医护人员清楚地知道胃管的插入深度,便于医护人员进行操作。In some embodiments of the present application, as shown in FIG. 1 , a
综上,本申请的新生儿胃管,通过本体1的第一端开口注入新生儿所需的奶液或吸出胃内容物,本体1的第二端设置至少八个孔洞3,大幅增加了奶液的注入速度和抽吸胃内容物时的效率,同时带有网格4的网兜2罩设在孔洞3上在不会导致奶液堵塞的前提下,能够起到在胃管负压抽吸时缓解局部压力过高的问题,保护新生儿胃黏膜,更好、更快的对胃内的液体和气体进行引流,减少消化道出血的发生。To sum up, the newborn gastric tube of the present application injects the milk required by the newborn or sucks out the stomach contents through the opening of the first end of the
以上仅是本申请的优选实施方式,应当指出,对于本技术领域的普通技术人员来说,在不脱离本申请技术原理的前提下,还可以做出若干改进和替换,这些改进和替换也应视为本申请的保护范围。The above are only the preferred embodiments of the present application. It should be pointed out that for those of ordinary skill in the art, some improvements and substitutions can be made without departing from the technical principles of the present application. These improvements and substitutions should also be It is regarded as the scope of protection of this application.
Claims (8)
Priority Applications (1)
| Application Number | Priority Date | Filing Date | Title |
|---|---|---|---|
| CN202221363644.3U CN218106393U (en) | 2022-06-01 | 2022-06-01 | Stomach tube for neonate |
Applications Claiming Priority (1)
| Application Number | Priority Date | Filing Date | Title |
|---|---|---|---|
| CN202221363644.3U CN218106393U (en) | 2022-06-01 | 2022-06-01 | Stomach tube for neonate |
Publications (1)
| Publication Number | Publication Date |
|---|---|
| CN218106393U true CN218106393U (en) | 2022-12-23 |
Family
ID=84514726
Family Applications (1)
| Application Number | Title | Priority Date | Filing Date |
|---|---|---|---|
| CN202221363644.3U Active CN218106393U (en) | 2022-06-01 | 2022-06-01 | Stomach tube for neonate |
Country Status (1)
| Country | Link |
|---|---|
| CN (1) | CN218106393U (en) |
-
2022
- 2022-06-01 CN CN202221363644.3U patent/CN218106393U/en active Active
Similar Documents
| Publication | Publication Date | Title |
|---|---|---|
| CN105031794B (en) | Tracheal catheter with pharyngeal suction tube | |
| CN204890871U (en) | Take endotracheal tube of pharyngeal attraction pipe | |
| CN202052182U (en) | Gastrointestinal casing | |
| CN218106393U (en) | Stomach tube for neonate | |
| CN211301214U (en) | a nasogastric tube | |
| CN217339434U (en) | Self-propelled disposable jejunum tube | |
| CN108309358A (en) | Nipple type detection device | |
| CN203598248U (en) | Self-feeding type jejunum nutrition tube | |
| CN209137399U (en) | A kind of double function pipes of Vomica drainage jejunal nutrition | |
| CN213553851U (en) | Double-cavity stomach tube with negative pressure suction function for neonates | |
| CN212282500U (en) | An integrated anti-reflux single-lumen gastrojejunal tube | |
| CN216908659U (en) | A gastrointestinal decompression nasogastric feeding tube | |
| CN215022593U (en) | Stomach and intestine feeding pipe | |
| CN214910723U (en) | Special stomach tube with surface anesthesia function | |
| CN217548666U (en) | Stomach tube assembly for nasopharyngeal carcinoma radiotherapy patient | |
| CN210205390U (en) | Stomach tube for digestive system department | |
| CN206045157U (en) | For the stomach tube of gastrointestinal tract postoperative patient | |
| CN210145110U (en) | Visual stomach tube implantation system | |
| CN209967336U (en) | Novel children trachea cannula | |
| CN222341611U (en) | A sputum suction and nutrition integrated gastric tube | |
| CN209548008U (en) | Pacifier detection device | |
| CN217040783U (en) | Intestinal catheters through gastric fistula | |
| CN216855370U (en) | Medical catheter | |
| CN213284457U (en) | Jejunum nutrient canal with combination of porous drainage and gastrointestinal decompression | |
| CN219878709U (en) | Anti-reflux stomach tube |
Legal Events
| Date | Code | Title | Description |
|---|---|---|---|
| GR01 | Patent grant | ||
| GR01 | Patent grant |
