CN218099586U - An outfield detector for an air traffic control transponder - Google Patents
An outfield detector for an air traffic control transponder Download PDFInfo
- Publication number
- CN218099586U CN218099586U CN202222050883.XU CN202222050883U CN218099586U CN 218099586 U CN218099586 U CN 218099586U CN 202222050883 U CN202222050883 U CN 202222050883U CN 218099586 U CN218099586 U CN 218099586U
- Authority
- CN
- China
- Prior art keywords
- detector
- main body
- piece
- block
- detector main
- Prior art date
- Legal status (The legal status is an assumption and is not a legal conclusion. Google has not performed a legal analysis and makes no representation as to the accuracy of the status listed.)
- Active
Links
Images
Landscapes
- Geophysics And Detection Of Objects (AREA)
Abstract
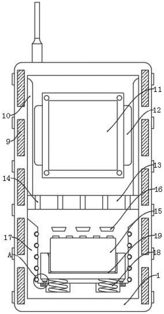
本实用新型公开了一种空管应答机外场检测仪,涉及应答机外场检测用辅助装置技术领域,为解决现有的空管应答机外场检测仪在使用时常常由于操作面板操作不够方便而导致误操作概率增加的问题。活动盖块,其设置在检测仪主体的一侧,并且活动盖块一侧的上端设置有铭牌放置块,并且铭牌放置块下方设置有面板,而且面板与检测仪主体通过卡槽固定连接;接收天线,其设置在检测仪主体一侧的上端,并且检测仪主体的两侧均设置有防护外方块,而且防护外方块与检测仪主体粘贴连接,并且防护外方块设置有两个以上。
The utility model discloses an outfield detector of an air traffic control transponder, which relates to the technical field of auxiliary devices for outfield detection of an air traffic control transponder. The problem of increased probability of misuse. The movable cover block is arranged on one side of the main body of the detector, and the upper end of one side of the movable cover block is provided with a nameplate placement block, and a panel is arranged under the nameplate placement block, and the panel is fixedly connected with the main body of the detector through a card slot; receiving The antenna is arranged on the upper end of one side of the main body of the detector, and both sides of the main body of the detector are provided with protective outer squares, and the outer protective squares are glued and connected to the main body of the detector, and there are more than two protective outer squares.
Description
技术领域technical field
本实用新型涉及应答机外场检测用辅助装置技术领域,具体为一种空管应答机外场检测仪。The utility model relates to the technical field of auxiliary devices for outfield detection of transponders, in particular to an outfield detector for air traffic control transponders.
背景技术Background technique
YDKL-1A空管应答机外场检查仪是军用空管二次雷达应答机系统外场检查的专用设备。该设备在用于外场地面检查时,不需卸下应答机,通过对应答机发出询问信号,并接收应答机的应答信号,把接收到的应答信号解译成相应的飞机代码或飞机高度信息,可准确、快速地判断应答机工作是否正常。该检查仪操作方便、简单,可由机内可充电电池供电,也可用外接+27V电源供电,有自检功能,是应答机外场维护的一种主要工具。YDKL-1A air traffic control transponder field inspection instrument is a special equipment for field inspection of military air traffic control secondary radar transponder system. When the device is used for field ground inspection, it does not need to remove the transponder. By sending an inquiry signal to the transponder and receiving the response signal from the transponder, the received response signal is interpreted into the corresponding aircraft code or aircraft altitude information. , can accurately and quickly judge whether the transponder is working normally. The inspection instrument is easy to operate and can be powered by a rechargeable battery inside the machine or an external +27V power supply. It has a self-check function and is a major tool for field maintenance of transponders.
中国专利授权公告号CN207884634U,授权公告日2018年9月18日,一种空管应答机外场检查仪,包括检查仪主体、正面设置有箱门的仪器防护箱,所述检查仪主体的顶部设置有通信接头和无线收发天线,所述检查仪主体置于所述仪器防护箱内,所述检查仪主体与所述仪器防护箱的内壁之间挤压有若干箱体顶压减震垫,所述箱门的内侧面设置有用于压在所述检查仪主体正面的箱门顶压减震垫,将检查仪主体封装在仪器防护箱内,且检查仪主体与仪器防护箱内壁之间检查仪主体、检查仪主体与箱门内侧之间均设置有顶压减震垫,能够降低检查仪因撞击而损坏的风险;在仪器防护箱的顶部和底部分别设置有提手和万向支撑轮,可将其放置在地面,推动其移动,不用将其抱起,移动更加方便,而且可减小受到撞击的风险。Chinese Patent Authorization Announcement No. CN207884634U, authorized announcement date September 18, 2018, a field inspection instrument for air traffic control transponders, including the main body of the inspection instrument and an instrument protection box with a door on the front, the top of the main body of the inspection instrument is set There are communication connectors and wireless transceiver antennas, the main body of the inspection instrument is placed in the instrument protection box, and several box pressure shock absorbing pads are squeezed between the main body of the inspection instrument and the inner wall of the instrument protection box. The inner surface of the box door is provided with a box door top pressure shock absorber for pressing on the front of the main body of the tester, the main body of the tester is packaged in the instrument protection box, and the tester is installed between the main body of the tester and the inner wall of the instrument protection box. The main body, the main body of the inspection instrument and the inner side of the box door are all equipped with top pressure shock absorbing pads, which can reduce the risk of damage to the inspection instrument due to impact; there are handles and universal support wheels on the top and bottom of the instrument protection box respectively. It can be placed on the ground and pushed to move without having to pick it up, which makes it easier to move and reduces the risk of being hit.
现有的空管应答机外场检测仪在使用时常常由于操作面板操作不够方便而导致误操作概率增加的问题,对此我们提出一种空管应答机外场检测仪。The existing air traffic control transponder field detector often has the problem of increasing the probability of misoperation due to the inconvenient operation of the operation panel. To this end, we propose an air traffic control transponder field detector.
实用新型内容Utility model content
本实用新型的目的在于提供一种空管应答机外场检测仪,以解决上述背景技术中提出现有的空管应答机外场检测仪在使用时常常由于操作面板操作不够方便而导致误操作概率增加的问题。The purpose of this utility model is to provide an air traffic control transponder field detector to solve the problem that the existing air traffic control transponder field detector proposed in the background technology often increases the probability of misoperation due to the inconvenient operation of the operation panel. The problem.
为实现上述目的,本实用新型提供如下技术方案:一种空管应答机外场检测仪,包括检测仪主体,In order to achieve the above purpose, the utility model provides the following technical solutions: an outfield detector for an air traffic control transponder, including a detector main body,
活动盖块,其设置在检测仪主体的一侧,并且活动盖块一侧的上端设置有铭牌放置块,并且铭牌放置块下方设置有面板,而且面板与检测仪主体通过卡槽固定连接;The movable cover block is arranged on one side of the main body of the detector, and the upper end of one side of the movable cover block is provided with a nameplate placement block, and a panel is arranged under the nameplate placement block, and the panel is fixedly connected to the main body of the detector through a card slot;
接收天线,其设置在检测仪主体一侧的上端,并且检测仪主体的两侧均设置有防护外方块,而且防护外方块与检测仪主体粘贴连接,并且防护外方块设置有两个以上。The receiving antenna is arranged on the upper end of one side of the main body of the tester, and both sides of the main body of the tester are provided with protective outer squares, and the protective outer squares are glued and connected to the main body of the tester, and there are more than two protective outer squares.
优选的,所述检测仪主体一侧的中间位置处设置有控制开关,所述检测仪主体内部的中间位置处设置有分隔横板,且分隔横板与检测仪主体焊接连接,所述分隔横板的一端设置有预留竖槽,且预留竖槽设置有两个以上。Preferably, a control switch is provided at a middle position on one side of the main body of the detector, a partition horizontal plate is provided at a middle position inside the main body of the detector, and the partition horizontal plate is welded to the main body of the detector, and the partition horizontal plate One end of the board is provided with a reserved vertical slot, and there are more than two reserved vertical slots.
优选的,所述分隔横板上方的两侧均设置有防护内垫,且防护内垫与分隔横板和检测仪主体均粘贴连接,所述分隔横板的上方设置有微波收发组件,且微波收发组件与检测仪主体固定连接,所述微波收发组件的一侧设置有印制板。Preferably, protective inner pads are provided on both sides above the partition horizontal plate, and the protective inner pads are glued and connected to the partition horizontal plate and the main body of the detector. A microwave transceiver component is arranged above the partition horizontal plate, and the microwave The transceiver assembly is fixedly connected with the main body of the detector, and a printed board is arranged on one side of the microwave transceiver assembly.
优选的,所述检测仪主体内部的下端设置有限位U型块,所述限位U型块的内部设置有放置块,且放置块与限位U型块通过缓冲弹簧固定连接,所述限位U型块的内部设置有下端设置有防护软垫,所述检测仪主体内部的两端均设置有抗冲击内块。Preferably, the lower end of the main body of the detector is provided with a limit U-shaped block, and the inside of the limit U-shaped block is provided with a placement block, and the placement block and the limit U-shaped block are fixedly connected by a buffer spring. The lower end of the U-shaped block is provided with a protective cushion, and both ends of the main body of the detector are provided with impact-resistant inner blocks.
优选的,所述防护软垫的上方设置有电源主控块,所述电源主控块的上方设置有限位软块,且限位软块与检测仪主体粘贴连接,所述限位软块设置有两个以上。Preferably, a power main control block is arranged above the protective soft pad, and a limit soft block is arranged above the power main control block, and the limit soft block is pasted and connected with the main body of the detector, and the limit soft block is set There are more than two.
优选的,所述限位U型块的内壁设置有滑动滚球块,且滑动滚球块与限位U型块通过卡槽转动连接,所述放置块下方的两端均设置有固定梯块,所述固定梯块的下端设置有下方铁块,所述下方铁块的下方设置有吸附磁块,且吸附磁块与限位U型块通过卡槽固定连接。Preferably, the inner wall of the limiting U-shaped block is provided with a sliding rolling ball block, and the sliding rolling ball block and the limiting U-shaped block are rotatably connected through a card slot, and fixed ladder blocks are provided at both ends below the placing block , The lower end of the fixed ladder block is provided with a lower iron block, and an adsorption magnetic block is arranged under the lower iron block, and the adsorption magnetic block is fixedly connected with the limiting U-shaped block through a slot.
与现有技术相比,本实用新型的有益效果是:Compared with the prior art, the beneficial effects of the utility model are:
1.该种空管应答机外场检测仪与现有的应答机外场检测用辅助装置相比,配备了面板和接收天线,面板功能简单,操作、显示直观,采用防误插接口设计和必要的安全防护措施,避免误插和误操作,接收天线的设计便于设备进行接收信号,解决了现有的空管应答机外场检测仪在使用时常常由于操作面板操作不够方便而导致误操作概率增加的问题。1. Compared with the existing auxiliary devices for field detection of transponders, this kind of air traffic control transponder field detector is equipped with a panel and receiving antenna. Safety protection measures to avoid mis-insertion and misoperation, the design of the receiving antenna is convenient for the equipment to receive signals, and solves the problem that the existing air traffic control transponder field detector often increases the probability of misoperation due to the inconvenient operation of the operation panel. question.
2.该种空管应答机外场检测仪与现有的应答机外场检测用辅助装置相比,配备了抗冲击内块和防护内垫,抗冲击内块可以有效减少外部环境对设备内部受损概率增加,防护内垫的设计有效减少了设备碰撞的概率,解决了现有的空管应答机外场检测仪在使用时常常由于对设备防护不够高而导致设备受损概率增加的问题2. Compared with the existing auxiliary devices for the field detection of transponders, this kind of air traffic control transponder field detector is equipped with an anti-shock inner block and a protective inner pad. The anti-shock inner block can effectively reduce the damage of the external environment to the interior of the equipment. The probability is increased, and the design of the protective inner pad effectively reduces the probability of equipment collision, and solves the problem that the existing air traffic control transponder field detector often increases the probability of equipment damage due to insufficient protection of equipment during use
3.该种空管应答机外场检测仪与现有的应答机外场检测用辅助装置相比,设备采用一体化便携式机箱结构设计,体积、重量轻,符合转场使用的要求,可解决部队机务人员日常维护工作的实际问题,解决了现有的空管应答机外场检测仪在使用时常常由于维护起来不够方便而导致工作人员维修难度增加的问题。3. Compared with the existing auxiliary devices for field detection of transponders, this kind of air traffic control transponder field detection instrument adopts an integrated portable chassis structure design, which is light in size and weight, meets the requirements of transition use, and can solve military maintenance problems. The practical problem of personnel's daily maintenance work solves the problem that the existing air traffic control transponder field detector is often used due to inconvenient maintenance and increases the difficulty of maintenance by staff.
附图说明Description of drawings
图1为本实用新型的整体结构立体图;Fig. 1 is a perspective view of the overall structure of the utility model;
图2为本实用新型的整体结构剖视图;Fig. 2 is a sectional view of the overall structure of the utility model;
图3为本实用新型图2的A区局部放大图。Fig. 3 is a partially enlarged view of area A of Fig. 2 of the present invention.
图中:1、检测仪主体;2、铭牌放置块;3、面板;4、控制开关;5、防护外方块;6、活动盖块;7、接收天线;8、吸附磁块;9、抗冲击内块;10、防护内垫;11、印制板;12、微波收发组件;13、分隔横板;14、预留竖槽;15、电源主控块;16、限位软块;17、限位U型块;18、缓冲弹簧;19、防护软垫;20、滑动滚球块;21、放置块;22、固定梯块;23、下方铁块。In the figure: 1. Main body of the detector; 2. Nameplate placement block; 3. Panel; 4. Control switch; 5. Protective outer block; 6. Movable cover block; 7. Receiving antenna; Impact inner block; 10. Protective inner pad; 11. Printed board; 12. Microwave transceiver components; 13. Separation horizontal plate; 14. Reserved vertical slot; 15. Main control block of power supply; 1. Limiting U-shaped block; 18. Buffer spring; 19. Protective cushion; 20. Sliding ball block; 21. Placement block; 22. Fixed ladder block; 23. Lower iron block.
具体实施方式detailed description
下面将结合本实用新型实施例中的附图,对本实用新型实施例中的技术方案进行清楚、完整地描述,显然,所描述的实施例仅仅是本实用新型一部分实施例,而不是全部的实施例。The technical solutions in the embodiments of the present invention will be clearly and completely described below in conjunction with the accompanying drawings in the embodiments of the present invention. Obviously, the described embodiments are only part of the embodiments of the present invention, not all of them. example.
请参阅图1-3,本实用新型提供的一种实施例:一种空管应答机外场检测仪,包括检测仪主体1,Please refer to Fig. 1-3, an embodiment provided by the utility model: an outfield detector of an air traffic control transponder, including a detector main body 1,
活动盖块6,其设置在检测仪主体1的一侧,并且活动盖块6一侧的上端设置有铭牌放置块2,并且铭牌放置块2下方设置有面板3,而且面板3与检测仪主体1通过卡槽固定连接;The movable cover block 6 is arranged on one side of the detector main body 1, and the upper end of the movable cover block 6 side is provided with a nameplate placement block 2, and a panel 3 is arranged below the nameplate placement block 2, and the panel 3 is connected with the detector main body 1 Fixed connection through the card slot;
接收天线7,其设置在检测仪主体1一侧的上端,并且检测仪主体1的两侧均设置有防护外方块5,而且防护外方块5与检测仪主体1粘贴连接,并且防护外方块5设置有两个以上。The receiving antenna 7 is arranged on the upper end of one side of the detector main body 1, and both sides of the detector main body 1 are provided with a protective
请参阅图1和图2,检测仪主体1一侧的中间位置处设置有控制开关4,检测仪主体1内部的中间位置处设置有分隔横板13,且分隔横板13与检测仪主体1焊接连接,让分隔横板13与检测仪主体1的连接更加牢固,分隔横板13的一端设置有预留竖槽14,且预留竖槽14设置有两个以上,分隔横板13上方的两侧均设置有防护内垫10,且防护内垫10与分隔横板13和检测仪主体1均粘贴连接,让防护内垫10与分隔横板13和检测仪主体1的连接更加牢固,分隔横板13的上方设置有微波收发组件12,且微波收发组件12与检测仪主体1固定连接,微波收发组件12的一侧设置有印制板11,检测仪主体1内部的下端设置有限位U型块17,限位U型块17的内部设置有放置块21,且放置块21与限位U型块17通过缓冲弹簧18固定连接,让放置块21与限位U型块17的连接更加牢固,限位U型块17的内部设置有下端设置有防护软垫19,检测仪主体1内部的两端均设置有抗冲击内块9,防护软垫19的上方设置有电源主控块15,电源主控块15的上方设置有限位软块16,且限位软块16与检测仪主体1粘贴连接,让限位软块16与检测仪主体1的连接更加牢固,限位软块16设置有两个以上;Please refer to Fig. 1 and Fig. 2, a control switch 4 is provided at the middle position on one side of the tester main body 1, and a partition horizontal plate 13 is provided at the middle position inside the tester main body 1, and the separation horizontal plate 13 and the tester main body 1 The welding connection makes the connection between the separating horizontal plate 13 and the detector main body 1 more firm. One end of the separating horizontal plate 13 is provided with a reserved vertical groove 14, and more than two reserved vertical grooves 14 are provided. Both sides are provided with protective inner pads 10, and the protective inner pads 10 are pasted and connected with the partition horizontal plate 13 and the detector main body 1, so that the connection between the protective inner pad 10, the partition horizontal plate 13 and the detector main body 1 is more firm, and the separation A microwave transceiver assembly 12 is arranged on the top of the horizontal plate 13, and the microwave transceiver assembly 12 is fixedly connected with the detector main body 1. A printed board 11 is arranged on one side of the microwave transceiver assembly 12, and a limit U is arranged at the lower end of the detector main body 1.
请参阅图3,限位U型块17的内壁设置有滑动滚球块20,且滑动滚球块20与限位U型块17通过卡槽转动连接,让滑动滚球块20与限位U型块17的连接更加牢固,放置块21下方的两端均设置有固定梯块22,固定梯块22的下端设置有下方铁块23,下方铁块23的下方设置有吸附磁块8,且吸附磁块8与限位U型块17通过卡槽固定连接,让吸附磁块8与限位U型块17的连接更加牢固。Please refer to Fig. 3 , the inner wall of the limiting
工作原理:使用时先将该种空管应答机外场检测仪移动需要使用的位置处,当设备在进行使用时,此时通过检测仪主体1内部的抗冲击内块9可以有效减少设备受到冲击时的冲击力,而通过防护内垫10可以有效减少内部设备与检测仪主体1之间碰撞的概率,当工作人员在对该种空管应答机外场检测仪进行操作时,此时通过面板3可以有效减少工作人员在对设备操作时的难度,有效减少工作人员在进行操作时误操作的概率,由于该种设备为一体结构,此时可以减少工作人员对该种设备进行维修时的难度。Working principle: when in use, first move the outfield detector of the air traffic control transponder to the position where it needs to be used. When the device is in use, the shock-resistant inner block 9 inside the main body 1 of the detector can effectively reduce the impact on the device The impact force during the time, and the probability of collision between the internal equipment and the main body 1 of the detector can be effectively reduced through the protective inner pad 10. It can effectively reduce the difficulty of the staff when operating the equipment, and effectively reduce the probability of misuse by the staff during operation. Since the equipment is integrated, it can reduce the difficulty of the staff when maintaining the equipment.
对于本领域技术人员而言,显然本实用新型不限于上述示范性实施例的细节,而且在不背离本实用新型的精神或基本特征的情况下,能够以其他的具体形式实现本实用新型。因此,无论从哪一点来看,均应将实施例看作是示范性的,而且是非限制性的,本实用新型的范围由所附权利要求而不是上述说明限定,因此旨在将落在权利要求的等同要件的含义和范围内的所有变化囊括在本实用新型内。不应将权利要求中的任何附图标记视为限制所涉及的权利要求。It is obvious to those skilled in the art that the present invention is not limited to the details of the above-mentioned exemplary embodiments, and that the present invention can be implemented in other specific forms without departing from the spirit or essential features of the present invention. Therefore, no matter from all points of view, the embodiments should be regarded as exemplary and non-restrictive, and the scope of the present invention is defined by the appended claims rather than the above description, so it is intended to fall within the scope of the claims All changes within the meaning and range of equivalents of the required elements are included in the present invention. Any reference sign in a claim should not be construed as limiting the claim concerned.
Claims (6)
Priority Applications (1)
| Application Number | Priority Date | Filing Date | Title |
|---|---|---|---|
| CN202222050883.XU CN218099586U (en) | 2022-08-04 | 2022-08-04 | An outfield detector for an air traffic control transponder |
Applications Claiming Priority (1)
| Application Number | Priority Date | Filing Date | Title |
|---|---|---|---|
| CN202222050883.XU CN218099586U (en) | 2022-08-04 | 2022-08-04 | An outfield detector for an air traffic control transponder |
Publications (1)
| Publication Number | Publication Date |
|---|---|
| CN218099586U true CN218099586U (en) | 2022-12-20 |
Family
ID=84486369
Family Applications (1)
| Application Number | Title | Priority Date | Filing Date |
|---|---|---|---|
| CN202222050883.XU Active CN218099586U (en) | 2022-08-04 | 2022-08-04 | An outfield detector for an air traffic control transponder |
Country Status (1)
| Country | Link |
|---|---|
| CN (1) | CN218099586U (en) |
-
2022
- 2022-08-04 CN CN202222050883.XU patent/CN218099586U/en active Active
Similar Documents
| Publication | Publication Date | Title |
|---|---|---|
| CN218099586U (en) | An outfield detector for an air traffic control transponder | |
| CN211336471U (en) | A anticollision protection mechanism for surveying and mapping unmanned aerial vehicle | |
| CN211179896U (en) | A filter automatic withstand voltage test equipment | |
| CN202163441U (en) | Mine car with lighting device | |
| CN210680751U (en) | Railway signal lamp fixing base | |
| CN215646852U (en) | Internet of things data acquisition controller with high safety | |
| CN112751586B (en) | Radio frequency communication system for aircraft | |
| CN108297811B (en) | Intelligent Vehicle Fault Diagnosis System | |
| CN212060388U (en) | High strength smart electric meter with anticollision performance | |
| CN218349798U (en) | New energy vehicle fault detection equipment | |
| CN216848615U (en) | Novel portable display structure | |
| CN210557933U (en) | Suction nozzle equipment | |
| CN216382370U (en) | LED lamp tube double-end alternate safety test analysis device | |
| CN217349065U (en) | Transport packaging box with good protection effect for uninterruptible power supply | |
| CN220650053U (en) | Scram mode triggers frock | |
| CN219164304U (en) | Wireless charger of smart mobile phone | |
| CN215554142U (en) | Unmanned aerial vehicle flight stabilising arrangement | |
| CN110778244B (en) | Multifunctional financial electronic device | |
| CN221376827U (en) | Anti-collision balance foot for weighing luggage | |
| CN219064698U (en) | Intelligent rapid temperature measuring device for power transmission line | |
| CN207985173U (en) | A kind of good unmanned plane undercarriage of cushion performance | |
| CN218270403U (en) | Good removal target car of security | |
| CN220273338U (en) | Antidetonation dust protected outdoor power supply | |
| CN217404997U (en) | Anti-collision protection device for license plate recognizer | |
| CN214251271U (en) | Infrared temperature measuring device for temperature control patrol power distribution cabinet |
Legal Events
| Date | Code | Title | Description |
|---|---|---|---|
| GR01 | Patent grant | ||
| GR01 | Patent grant | ||
| TR01 | Transfer of patent right |
Effective date of registration: 20251125 Address after: 137216 Jilin City, Jilin Province, Shuangji Street, Jilin Economic and Technological Development Zone, No. 20 Patentee after: JILIN AVIATION MAINTENANCE LLC Country or region after: China Address before: 210001 No.4 Biaoying Road, Qinhuai District, Nanjing City, Jiangsu Province Patentee before: Nanjing Mengyi Instrument Technology Co.,Ltd. Country or region before: China |
|
| TR01 | Transfer of patent right |
